|
|
(21), (22) Заявка: 2006112101/28, 13.04.2006
(24) Дата начала отсчета срока действия патента:
13.04.2006
(43) Дата публикации заявки: 20.10.2007
(46) Опубликовано: 20.08.2008
(56) Список документов, цитированных в отчете о поиске:
RU 2125250 C1, 20.01.1999. SU 1062533 A, 23.12.1983. GB 983931 A, 24.02.1965. SU 1076860 А, 28.02.1984. JP 8122094 А, 17.05.1996. БИРЮКОВА В.Г. Экспресс-методы и средства контроля природных средств и веществ на основе комбинированных оптических и ленгмюровских эффектов: Автореф. – Тамбов, 2004, с.10, рис.5.
Адрес для переписки:
249038, Калужская обл., г. Обнинск, ул.Победы, 4, ГУ “НПО “Тайфун”, генеральному директору А.Д. Орлянскому
|
(72) Автор(ы):
Алленов Михаил Иванович (RU), Иванов Владимир Николаевич (RU), Третьяков Николай Дмитриевич (RU)
(73) Патентообладатель(и):
ГОСУДАРСТВЕННОЕ УЧРЕЖДЕНИЕ “НАУЧНО-ПРОИЗВОДСТВЕННОЕ ОБЪЕДИНЕНИЕ “ТАЙФУН” (RU)
|
(54) УСТРОЙСТВО РАСПОЗНАВАНИЯ ФОРМ ОБЛАЧНОСТИ
(57) Реферат:
Изобретение относится к устройствам, предназначенным для распознавания форм и количества облачности по ее пространственно-временной структуре излучения в инфракрасной области. Техническим результатом от реализации данного изобретения является повышение быстродействия устройства и возможность регистрации полусферического с перестраиваемым разрешением изображения поля излучения облачности для ее распознавания по пространственной структуре. Устройство распознавания форм облачности содержит радиометр, сканирующую систему, систему регистрации и обработки данных (блок регистрации). Сканирующая система выполнена в виде вращающегося вокруг оптической оси по образующей конуса зеркала с изменяющимся углом между оптической осью и его плоскостью (зенитным углом) и проецирующее на приемное устройство радиометра полусферическое с перестраиваемым угловым разрешением изображение поля излучения облачности, при этом зеркало выполнено с возможностью работы в следующем режиме: осуществляют полное круговое сканирование по азимутальному углу при заданном значении зенитного угла, поэтапно изменяют значение зенитного угла и проводят полное круговое сканирование по азимутальному углу при каждом из вновь установленных значений зенитного угла. 2 ил.
Изобретение относится к устройствам, предназначенным для распознавания форм и количества облачности по ее пространственно-временной структуре собственного (теплового) излучения в инфракрасной (ИК) области. Оно может быть использовано для определения фоновых помех, обусловленных облачными неоднородностями, для селекции объектов оптико-электронными системами видения различного назначения, а также как адаптивная к изменчивым метеорологическим условиям система поиска термальных источников, водоемов, животных, малоразмерных очагов пожаров, терпящих бедствие людей в водных бассейнах, обнаружения различных загрязнений, например, нефтепродуктов на водной поверхности. Т.е. изобретение может использоваться для решения широкого спектра задач в метеорологии, навигации, физике атмосферы, экологии и других научно-технических направлениях.
Наиболее близким к заявленному устройству из известных аналогов является сканирующий радиометр высокого пространственного разрешения на область спектра 1,4-13 мкм, опубликованный в книге М.И.Алленова, В.Г.Бирюкова, В.Н.Иванова «Распознавание природных сред, веществ и их загрязнений». – СПб.: Гидрометеоиздат, 2004. – 268 с. (см. стр.149-150). Этот радиометр обладает весьма высокими параметрами по пространственному разрешению и пороговой чувствительности, но имеет существенный недостаток. В нем сканирование пространства по азимуту осуществляется при помощи вращающейся платформы со скоростью 30°/сек, на которой размещен массивный радиометр. Сканирование по зенитному углу осуществляется вокруг оптической оси радиометра через зенит при помощи встроенного сканирующего зеркала. При таком сканировании половина склона остается нерабочей – бесполезной.
Кроме того, одновременное весьма медленное сканирование по азимутальному и зенитному углам не позволяет получить информацию о полусферическом изображении облачного поля из-за ее движения и турбулентных процессов, т.е. изображение поля собственного излучения облачности сильно искажается и ее пространственная структура будет отличаться от реальной. По характеристикам такого поля не представляется возможным распознать реальную форму облачности. Поэтому радиометр использовался только для получения одномерных характеристик облачных полей.
Аналогичный комплекс аппаратуры приведен в книге А.М.Алленова, М.И.Алленова, В.Н.Иванова, В.Н.Соловьева «Стохастическая структура излучения облачности». – СПб.: Гидрометеоиздат, 2000. – 175 с. (см. стр.70-78). Он имеет тот же недостаток, что и первый аналог, а именно сканирование поля при помощи сканирующей платформы осуществляется весьма медленно. Максимальная скорость сканирования не превышает 30° сек-1, т.е. при помощи такого комплекса также не представляется возможным получить полусферическое изображение поля собственного излучения облачности, которое реально отображало бы ее пространственную структуру. Такой комплекс применялся для параметризации состояния фонов по многим осредненным одномерным и двумерным реализациям (сечениям) фонового поля и, как правило, для его описания требовались значительные периоды времени: часы, дни, иногда недели и более.
В предлагаемом изобретении этот недостаток исключен при помощи установки сканирующей системы, выполненной в виде вращающегося вокруг оптической оси по образующей конуса зеркала с изменяющимся углом между оптической осью и его плоскостью и проецирующее на приемное устройство радиометра полусферическое с перестраиваемым (от единиц минут до единиц градусов) угловым разрешением изображение поля собственного излучения облачности.
Техническим результатом предложенного решения является повышение быстродействия устройства и возможность регистрации полусферического с перестраиваемым разрешением изображения поля собственного излучения облачности для ее распознавания по пространственной структуре.
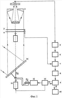
Распознавание форм облачности осуществляется как днем, так и ночью автоматически по набору статистических характеристик поля собственного излучения форм облачности, которые параметризованы и опубликованы в печати в виде моделей (см. монографию: А.М.Алленов, М.И.Алленов, В.Н.Иванов, В.Н.Соловьев «Стохастическая структура излучения облачности». – СПб.: Гидрометеоиздат, 2000. – 175 с.) на основе визуальной международной метеорологической классификации форм облачности, идентифицированных с пространственной структурой собственного (теплового) излучения этих форм. Блок-схема устройства приведена на фиг.1.
Оно содержит приемник излучения 1, который находится в фокусе объектива 2. Перед объективом установлена маска модулятора 3 и далее модулятор 4 с таким же числом лопастей. Промодулированный сигнал с приемника 1 поступает на предусилитель 5, масштабный усилитель 6, синхронный детектор 7, фильтр нижних частот 8 и далее на вход аналого-цифрового преобразователя (АЦП) 9 и плату сопряжения с персональным компьютером 10.
Управление шаговыми двигателями 11 и 12 производится компьютером 10: круговое сканирование облачного поля по азимутальному углу при помощи зеркала 14 осуществляется двигателем 11, а изменение зенитного угла при помощи того же зеркала 14 осуществляется двигателем 12. Обмен командами на управление двигателями производится через цифровые входы (выходы) платы сопряжения (например, ЛА70М4-9) и блок управления 13.
На фиг.2 изображена блок-схема управления сканирующим зеркалом 14. Оно обеспечивает полный оборот вокруг своей оси, т.е. полное круговое сканирование по углу за доли секунды. За это время регистрируется N значений энергетической яркости облачного поля (например, 1440) через интервалы, соответствующие мгновенному полю зрения прибора. После завершения записи данных поступает сигнал на шаговый двигатель 12 (фиг.1) и зеркало по заданной программе меняет угол наклона  (от десятков минут до единиц градусов) на следующий шаг, цикл повторяется. После следующего оборота угол меняется еще на  . Через заданное количество шагов (строк), например 17, шаговый двигатель 12 возвращает сканирующее зеркало 14 в исходное начальное положение. Если по такому изображению форма облачности надежно не определена, цикл повторяется и записывается следующий кадр. Таким образом, для оптимизации измерений получаем набор матриц, где по горизонтали N значений, а по вертикали М (заданное нами количество строк). Каждое из M·N значений представляет собой конкретную область – изображение в ИК-области на небесной сфере, либо часть полусферического изображения облачного поля, либо полное изображение полусферы, если это необходимо для процедуры распознавания форм облачности.
Процедура распознавания форм облачности сводится к определению статистических характеристик полей собственного излучения облачности в режиме реального времени и осуществляется следующим образом. Отсчеты, относящиеся к одному направлению, группируются в ряд с интервалами квантования i, i=1, 2, 3, …, N. Пусть – энергетическая яркость (ЭЯ), соответствующая i-му отсчету, где j – номер ряда (строки), иногда его называют реализацией, представляющей сечение облачности по азимутальному углу, j=1, 2, 3, …, М.
Для этого ряда известным способом с использованием, например, программы «Statistika V5.5a» определяются средние значения j:

дисперсии :

нормированные автокорреляционные функции Rj(k):

нормированные спектральные плотности Gj( ):

где – волновое число, =0, 1, 2, …, F; W(k) – корреляционное окно с точкой отсечения l;
нормированные взаимно корреляционные функции между реализациями (сечениями):

где m, n – номера рядов;
плотность распределения Pj(k) определяется путем деления числа наблюдений, попадающих в k-й разряд, на общее число наблюдений N, используются и другие статистические характеристики.
Методы представления стохастически изменяющегося во времени и пространстве поля собственного излучения облачности набором статистических характеристик широко утвердились в практике и используются во многих научно-технических приложениях для параметризации стохастических полей и процессов. По параметризованным данным конкретных форм облачности и ее количества (балла облачности) осуществляется распознавание и может проводиться наблюдение по эволюции облачных полей.
Предлагаемое устройство создано в виде действующего макета, апробировано в натурных условиях, получены результаты, подтверждающие положительное техническое решение.
Формула изобретения
Устройство распознавания форм облачности, содержащее радиометр, сканирующую систему, систему регистрации и обработки данных (блок регистрации), отличающееся тем, что сканирующая система выполнена в виде вращающегося вокруг оптической оси по образующей конуса зеркала с изменяющимся углом между оптической осью и его плоскостью (зенитным углом) и проецирующее на приемное устройство радиометра полусферическое с перестраиваемым угловым разрешением изображение поля излучения облачности, при этом зеркало выполнено с возможностью работы в следующем режиме: осуществляют полное круговое сканирование по азимутальному углу при заданном значении зенитного угла, поэтапно изменяют значение зенитного угла и проводят полное круговое сканирование по азимутальному углу при каждом из вновь установленных значений зенитного угла.
РИСУНКИ
|
|