|
|
(21), (22) Заявка: 2006136951/11, 18.10.2006
(24) Дата начала отсчета срока действия патента:
18.10.2006
(46) Опубликовано: 20.08.2008
(56) Список документов, цитированных в отчете о поиске:
SU 1325224 А1, 23.07.1987. US 4014411 А, 29.03.1977. SU 1483126 А1, 30.05.1989. US 3747711 А, 24.07.1973. US 4553643 А, 19.11.1985.
Адрес для переписки:
362040, РСО-Алания, г. Владикавказ, ул. Кирова, 37, Горский ГАУ, патентный отдел
|
(72) Автор(ы):
Мамити Герас Ильич (RU), Мельников Александр Сергеевич (BY), Льянов Марат Савкузович (RU), Маринин Михаил Генадьевич (RU)
(73) Патентообладатель(и):
Горский государственный аграрный университет (ГГАУ) (RU)
|
(54) ДИСКОВЫЙ ТОРМОЗ
(57) Реферат:
Изобретение относится к машиностроению, в частности к тормозным системам колесных машин. Дисковой тормоз содержит корпус, установленную на нем скобу, охватывающую тормозной диск, ходовой винт, соединенный с тормозным рычагом, две колодки с фрикционными накладками и гайку, установленную с возможностью возвратно-поступательного движения. Ходовой винт, соединенный с тормозным рычагом, выполнен с дополнительным участком с резьбой противоположного направления. Гайка сопряжена с дополнительным участком ходового винта, соединенного с тормозным рычагом. Подвижная колодка закреплена на гайке. Скоба установлена на корпусе с возможностью перемещения параллельно оси вращения диска. Корпус выполнен в виде двух сегментов, жестко связанных между собой и охватывающих тормозной диск, при этом каждый сегмент снабжен соответствующим форме колодок с накладками отверстием для размещения последних с возможностью перемещения параллельно оси вращения диска. Ходовой винт, соединенный с тормозным рычагом, выполнен составным из цилиндра и вала, имеющих наружные резьбы противоположных направлений большего и меньшего диаметров. В полости между цилиндром с резьбой одного направления и валом с резьбой другого направления расположена гайка с внутренней резьбой, сопряженная с валом ходового винта, соединенного с тормозным рычагом, цилиндр которого сопряжен с внутренней резьбой скобы. Достигается повышение долговечности, работоспособности, а также снижение металлоемкости тормоза за счет уменьшения габаритных размеров, предохранения скобы от скручивания, ходового винта от изгиба, а трущихся поверхностей накладок от перекоса. 4 з.п. ф-лы, 1 ил.
Изобретение относится к области машиностроения и может быть использовано в тормозных системах различных колесных машин, преимущественно мотоциклов.
Известен дисковый тормоз с неподвижной скобой, в котором колодки с фрикционными накладками прижимаются к подвижному в осевом направлении тормозному диску при помощи рычага с винтом /1/. Недостатком этого тормоза является нежесткое крепление диска, что вызывает его биение и непроизводительные затраты энергии при перемещении диска в шлицевом сопряжении и, как следствие, большой износ накладок со стороны нажимного винта.
Известен также дисково-колодочный тормоз, содержащий корпус, установленную на нем скобу, охватывающую тормозной диск, ходовой винт с тормозным рычагом, две колодки с фрикционными накладками, одна из которых жестко закреплена на одном конце скобы, а другая подвижно установлена на другом конце скобы, в котором выполнено сквозное отверстие с резьбовым участком, сопряженным с ходовым винтом, причем, он снабжен гайкой, установленной в сквозном отверстии скобы с возможностью возвратно-поступательного движения, ходовой винт выполнен с дополнительным участком с резьбой противоположного направления, гайка сопряжена с дополнительным участком ходового винта, подвижная колодка закреплена на гайке, а скоба установлена на корпусе с возможностью перемещения параллельно оси вращения диска /2/. Основным недостатком этого тормоза является сложное нагружение скобы, нежесткое крепление консольно установленных тормозных колодок, что может вызвать отказ в работе тормоза из-за скручиваная скобы и изгиба ходового винта, а также перекоса трущихся поверхностей фрикционных накладок.
В качестве прототипа выбран дисковый тормоз, содержащий корпус, установленную на нем скобу, охватывающую тормозной диск, ходовой винт с тормозным рычагом, две колодки с фрикционными накладками, одна из которых жестко закреплена на одном конце скобы, а другая подвижно установлена на другом конце скобы, в котором выполнено сквозное отверстие с резьбовым участком, сопряженным с ходовым винтом, и гайку, установленную в сквозном отверстии скобы с возможностью возвратно-поступательного движения, ходовой винт выполнен с дополнительным участком с резьбой противоположного направления, гайка сопряжена с дополнительным участком ходового винта, подвижная колодка закреплена на гайке, а скоба установлена на корпусе с возможностью перемещения параллельно оси вращения диска, корпус выполнен в виде двух сегментов, жестко связанных между собой и охватывающих тормозной диск, каждый сегмент снабжен соответствующим форме колодок с накладками отверстием для размещения последних с возможностью перемещения параллельно оси вращения диска /3/.
Недостатком прототипа является относительно большой габаритный размер по ширине дискового тормоза, вызванный конструктивным исполнением ходового винта, в котором два участка резьбы противоположных направлений размещены последовательно по длине винта, что затрудняет предохранение тормоза от ударов, а также приводит к увеличению его металлоемкости.
Задачей изобретения является повышение долговечности, работоспособности и снижение металлоемкости тормоза путем уменьшения габаритного размера по ширине тормоза за счет конструктивного исполнения ходового винта, в котором два участка резьбы противоположных направлений размещены параллельно на разных диаметрах (большем и меньшем) ходового винта, что значительно сокращает длину последнего.
Согласно предлагаемому изобретению в дисковом тормозе, содержащем корпус, установленную на нем скобу, охватывающую тормозной диск, ходовой винт с тормозным рычагом, две колодки с фрикционными накладками, одна из которых закреплена на одном конце скобы, а другая подвижно установлена на другом конце скобы, в котором выполнено сквозное отверстие с резьбовым участком, сопряженным с ходовым винтом, и гайку, установленную с возможностью возвратно-поступательного движения, ходовой винт выполнен с дополнительным участком с резьбой противоположного направления, гайка сопряжена с дополнительным участком ходового винта, подвижная колодка закреплена на гайке, а скоба установлена на корпусе с возможностью перемещения параллельно оси вращения диска, корпус выполнен в виде двух сегментов, жестко связанных между собой и охватывающих тормозной диск, каждый сегмент снабжен соответствующим форме колодок с накладками отверстием для размещения последних с возможностью перемещаться параллельно оси вращения диска, ходовой винт выполнен составным из цилиндра и вала, имеющих нагружные резьбы противоположных направлений большего и меньшего диаметров, причем в полости между цилиндром с резьбой одного направления и валом с резьбой другого направления расположена гайка с внутренней резьбой, сопряженная с валом ходового винта, цилиндр которого сопряжен с внутренней резьбой скобы. Левая колодка прикреплена через промежуточную втулку к скобе, причем высота втулки выбрана с учетом допустимого износа фрикционной накладки. Расстояние между скобой и левым сегментом корпуса соответствует допустимому износу фрикционной накладки. Расстояние между скобой и кронштейном больше или равно расстоянию между скобой и левым сегментом корпуса ( ). Между скобой и кронштейном с одной стороны и скобой и корпусом с другой имеются уплотнения. Левая колодка закреплена на скобе винтом.
Сущность. Выполнение ходового винта составным из цилиндра и вала, имеющих наружные резьбы противоположных направлений большего и меньшего диаметра, позволяет разместить резьбы параллельно, одну над другой, и тем самым значительно сократить длину ходового винта, что в свою очередь приведет к уменьшению габаритного размера по ширине тормоза, а следовательно, и к уменьшению металлоемкости и предохранению от возможных повреждений, влияющих на долговечность и работоспособность тормозного механизма. Кроме того, параллельное, на разных диаметрах ходового винта, размещение (одно в другом) участков резьбы противоположных направлений, по сравнению с винтом одного направления (возможная альтернатива), в значительной степени увеличивает долговечность и работоспособность тормоза за счет того, что любому повороту ходового винта соответствует двойное (суммарное) перемещение колодок (скобы и гайки) навстречу друг другу. Следовательно, для торможения потребуется вдвое меньший поворот ходового винта (рычага), что вдвое увеличивает быстродействие винтовой передачи, уменьшает износ трущихся поверхностей последней. Это имеет особое, первостепенное значение для переднего тормоза мотоцикла, где возможности поворота рычага ходового винта существенно ограничены ходом рукоятки тормозного привода (размерами кисти руки человека).
Наличие между левой колодкой и скобой промежуточной втулки, высота которой выбрана с учетом допустимого износа фрикционной накладки, позволяет обеспечить работоспособность тормозного механизма (возможность перемещения скобы вправо) в заданных пределах.
Соответствие расстояния между скобой и левым сегментом корпуса допустимому износу накладок позволяет ограничивать величину износа накладок в пределах допустимого.
Превышение или равенство зазора (расстояния) между скобой и кронштейном величине обеспечивает работоспособность тормоза (возможность перемещения скобы вправо).
Наличие между скобой и кронштейном с одной стороны и скобой и корпусом с другой уплотнений позволяет обеспечить пылевлагозащиту винтовых передач тормоза.
Сущность изобретения поясняется чертежом, на котором изображена схема дискового тормоза.
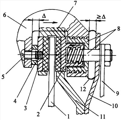
Тормоз состоит из диска 1, корпуса 11, выполненного в виде двух сегментов, жестко связанных между собой и охватывающих диск 1, тормозных колодок 2 и 3 с накладками, размещенных в отверстиях сегментов, выполненных под размеры колодок, причем колодка 3 закреплена винтом 5 на скобе 6, которая установлена подвижно 7 относительно корпуса 11 и может перемещаться вдоль оси вращения диска 1. Между колодкой 3 и скобой 6 установлена втулка 4, высота которого меньше или равна допустимому износу фрикционной накладки колодки. Скоба 6 предохранена от поворота на корпусе 11 благодаря соединению 7. Винт 8 установлен на корпусе 11 так, что зазоры между колодками 2, 3 и диском 1 примерно одинаковы и составляют 0,05-0,1 мм. На конец винта 8 надет тормозной рычаг 9, закрепленный на винте 8 гайкой и связанный с возвратной пружиной (не показана). Свободный (нерезьбовой) конец винта 8 поддерживается съемным кронштейном 10. Расстояние между скобой 6 и кронштейном 10 больше или равно . Винт 8 имеет правую и левую резьбы, находящиеся в зацеплении со скобой 6 и гайкой 2, которая выполнена заодно с правой тормозной колодкой. Гайка 2 установлена в корпусе 11 с возможностью возвратно-поступательного движения и с фиксацией от поворота. Пылевлагозащита винтовых передач (ходовой винт-скоба, ходовой винт гайка) осуществляется уплотнением 12 и уплотнением, установленным между скобой и корпусом (не показано).
Тормоз работает следующим образом.
При воздействии на рычаг 9 последний перемещается, преодолевая сопротивление связанной с ним возвратной пружины, поворачивая винт 8 в резьбе скобы 6, перемещая ее и вместе с ней левую колодку 3 вправо, прижимая последнюю к вращающемуся диску 1 и одновременно с этим, так как резьбы винта 8 имеют противоположные направления, происходит встречное перемещение гайки и вместе с ней правой колодки 2 и ее прижатие к диску 1. Возникающие при этом силы трения воспринимаются корпусом 11, в сегментах которого размещены колодки 2 и 3, предохраняя тем самым скобу 6 от скручивания и винт 8 от изгиба. Так как резьбы винта 8 имеют одинаковый шаг, колодки 2 и 3 при повороте тормозного рычага 9 одновременно устремляются навстречу одна другой (стрелками показаны направления взаимного перемещения скобы 6 и гайки 2), проходя равные расстояния, создавая одинаковые нагрузки на диск 1 с обеих сторон и производя торможение. Это обеспечивает равномерный износ накладок колодок 2 и 3. Расстояния между скобой 6 и сегментом корпуса 11 с одной стороны и скобой 6 и кронштейном 10 с другой обеспечивают работоспособность тормозного механизма, позволяя перемещаться скобе вправо в процессе работы и износа фрикционных накладок, и одновременно ограничивают износ фрикционных накладок допустимой величиной.
Для регулирования зазора между накладками колодок 2 и 3 и диском 1 по мере износа используется шлицевое соединение рычага 9 с винтом 8 или специальное устройство.
Источники информации
1. Мотоцикл 4-х колесный «Ямаха УМР-80».
2. А.С. СССР №1325224, кл. F16D 55/00. «Дисково-колодочный тормоз Мамити», бюл. №27, 1987.
3. Патент Республики Беларусь, №4640, кл. F16D 55/00. «Дисковый тормоз», бюл. №1, 2000 – прототип.
Формула изобретения
1. Дисковой тормоз, содержащий корпус, установленную на нем скобу, охватывающую тормозной диск, ходовой винт, соединенный с тормозным рычагом, две колодки с фрикционными накладками, одна из которых закреплена на одном конце скобы, а другая подвижно установлена на другом конце скобы, в котором выполнено сквозное отверстие с резьбовым участком, сопряженным с ходовым винтом, и гайку, установленную с возможностью возвратно-поступательного движения, ходовой винт, соединенный с тормозным рычагом, выполнен с дополнительным участком с резьбой противоположного направления, гайка сопряжена с дополнительным участком ходового винта, соединенного с тормозным рычагом, при этом подвижная колодка закреплена на гайке, а скоба установлена на корпусе с возможностью перемещения параллельно оси вращения диска, корпус выполнен в виде двух сегментов, жестко связанных между собой и охватывающих тормозной диск, каждый сегмент снабжен соответствующим форме колодок с накладками отверстием для размещения последних с возможностью перемещения параллельно оси вращения диска, отличающийся тем, что ходовой винт, соединенный с тормозным рычагом, выполнен составным из цилиндра и вала, имеющих наружные резьбы противоположных направлений большего и меньшего диаметров, причем в полости между цилиндром с резьбой одного направления и валом с резьбой другого направления расположена гайка с внутренней резьбой, сопряженная с валом ходового винта, соединенного с тормозным рычагом, цилиндр которого сопряжен с внутренней резьбой скобы.
2. Тормоз по п.1, отличающийся тем, что левая колодка прикреплена через промежуточную втулку к скобе, причем высота втулки выбрана с учетом допустимого износа фрикционной накладки.
3. Тормоз по п.1, отличающийся тем, что расстояние между скобой и левым сегментом корпуса соответствует допустимому износу фрикционной накладки.
4. Тормоз по п.1 или 3, отличающийся тем, что расстояние между скобой и кронштейном больше или равно расстоянию между скобой и левым сегментом корпуса.
5. Тормоз по п.1, отличающийся тем, что между скобой и кронштейном с одной стороны и скобой и корпусом с другой стороны имеются уплотнения.
РИСУНКИ
|
|