|
|
(21), (22) Заявка: 2006117677/06, 23.05.2006
(24) Дата начала отсчета срока действия патента:
23.05.2006
(43) Дата публикации заявки: 10.12.2007
(46) Опубликовано: 20.08.2008
(56) Список документов, цитированных в отчете о поиске:
RU 2062360 C1, 20.06.1996. RU 8420 U1, 16.11.1998. SU 642516 A, 15.01.1979. RU 57393 U1, 10.10.2006. CH 557472 A, 31.12.1974. DE 550388 A, 14.05.1932.
Адрес для переписки:
125438, Москва, ул. Онежская, 8/10, ООО НПО “Новотехника”
|
(72) Автор(ы):
Чумаченко Борис Николаевич (RU), Акбердин Альберт Мидхатович (RU), Белоконь Владимир Сергеевич (RU), Киктенко Сергей Григорьевич (RU), Кочетков Михаил Михайлович (RU), Квасов Геннадий Григорьевич (RU), Филин Николай Александрович (RU)
(73) Патентообладатель(и):
Общество с ограниченной ответственностью НАУЧНО-ПРОИЗВОДСТВЕННОЕ ОБЪЕДИНЕНИЕ “Новотехника” (RU)
|
(54) ШНЕКОЦЕНТРОБЕЖНЫЙ НАСОС
(57) Реферат:
Изобретение относится к области насосостроения. Шнекоцентробежный насос содержит установленные в корпус 1 на валу 2 центробежное колесо 3 двустороннего входа и два предвключенных шнека (Ш) 4 и 5. Ш 4, 5 имеют встречно направленные винтовые лопасти 6 и цилиндрический наружный входной участок 7, переходящий в участок 8 с плавно уменьшающимся к выходу наружным диаметром. Ш 4, 5 заключены в профилированные втулки 9. Подшипники (П) скольжения двусторонне расположены. Каждый П выполнен в виде закрепленной на валу 2 втулки, входящей во вкладыш с образованием гидростатической полости, соединенной с выходом насоса через гидроциклон. Разгрузочный узел в виде барабана расположен за П, а торцевые уплотнения – с двух сторон вала. Каждый Ш 4, 5 выполнен с шагом винтовых лопастей, плавно увеличивающимся к выходу. Центробежное колесо 3 с каждой стороны состоит из осерадиального колеса (ОК). Число лопаток ОК выполнено переменным. Угол установки лопастей Ш 4, 5 увеличивается от входа к выходу. Изобретение характеризуется диапазонами величин отношений наружных диаметров выхода к входу Ш 4, 5, густоты решетки Ш 4, 5 на входе и выходе и на входном осевом участке ОК, углов установки лопаток на входном осевом участке ОК и Ш и числом лопаток ОК на его осевом, диагональном и радиальном участках. Изобретение направлено на увеличение времени безотказной работы насоса. 1 з.п. ф-лы, 11 ил.
Изобретение относится к области насосостроения и предназначено для использования в насосах для перекачивания жидкости.
Известен шнекоцентробежный насос, содержащий корпус, установленные в корпусе на валу центробежное колесо двустороннего входа и два предвключенных шнека с встречно направленными друг к другу винтовыми лопастями, двусторонне расположенные подшипниковые узлы, расположенный с одной стороны разгрузочный узел, два торцевых уплотнения (А.Г.Гумеров и др. «Центробежные насосы в системах сбора, подготовки и магистрального транспорта нефти» под общей редакцией А.Г.Гумерова, М.: Недра, 1989, с.63).
Недостатком известного шнекоцентробежного насоса является недостаточное время его безотказной работы вследствие высоких пульсаций давлений в шнеке и центробежном колесе и достаточно высоких утечек из-за конструкции используемого торцевого уплотнения.
Известен шнекоцентробежный насос, содержащий корпус, установленные в корпусе на валу центробежное колесо двустороннего входа и два предвключенных шнека с встречно направленными друг к другу винтовыми лопастями и цилиндрическим входным участком, переходящим в участок с плавно уменьшающимся к выходу наружным диаметром, шнеки заключены в профилированные втулки, двусторонне расположенные подшипники скольжения с гидростатическими полостями, соединенными гидравлически с выходом насоса, расположенный с одной стороны за подшипниковым узлом разгрузочный узел, выполненный в виде закрепленного на валу барабана с образованием кольцевого зазора, гидравлически соединенного с выходом насоса, и торцевое уплотнение, расположенное с одной стороны вала (патент РФ №2062360, МПК F04D 1/04, 1966, ближайший аналог).
Недостатком известного шнекоцентробежного насоса является недостаточное время его безотказной работы вследствие высоких пульсаций давлений в шнеке и центробежном колесе и достаточно высоких утечек из-за конструкции используемого торцевого уплотнения, а также попадания твердых механических частиц в подшипник скольжения, ухудшающих его работу вследствие недостаточной эффективности при отборе чистой фракции через канал 58, так как крупные частицы уносятся вместе с основным потоком жидкости.
Технический результат, на достижение которого направлено заявленное изобретение, заключается в увеличении времени безотказной работы шнекоцентробежного насоса.
Для достижения указанного выше технического результата в шнекоцентробежном насосе, содержащем корпус с двумя входами и выходом, установленные в корпусе на валу центробежное колесо двустороннего входа и два предвключенных шнека с встречно направленными друг к другу винтовыми лопастями и цилиндрическим наружным входным участком, переходящим в участок с плавно уменьшающимся к выходу наружным диаметром, шнеки заключены в профилированные втулки, двусторонне расположенные подшипники скольжения, каждый из которых выполнен в виде закрепленной на валу втулки, входящей во вкладыш с образованием гидростатической полости, соединенной гидравлически с выходом насоса, расположенный за подшипником скольжения разгрузочный узел, выполненный в виде закрепленного на валу барабана с образованием кольцевого зазора с неподвижной втулкой, гидравлически соединенного с выходом насоса, торцевое уплотнение, расположенное с одной стороны вала, согласно изобретению насос снабжен вторым торцевым уплотнением, расположенным с другой стороны вала, гидравлическое соединение гидростатических полостей с выходом насоса выполнено через гидроциклон, каждое из торцевых уплотнений, расположенных с двух сторон, выполнено в виде закрепленной на валу обоймы, в направляющей канавке которой установлено вращающееся уплотнительное кольцо, поджатую аксиально-подвижную втулку, в направляющей канавке которой установлено неподвижное кольцо, прижатое к вращающемуся уплотнительному кольцу пружиной, и крышка, в пазу которой установлена пружина для поджатия аксиально-подвижной втулки, каждый шнек выполнен с шагом винтовых лопастей, плавно увеличивающимся к выходу, и с отношением наружного диаметра выхода шнека Dвых.ш. к наружному диаметру входа шнека Ввх.ш., составляющим Dвых.ш./Dвх.ш.=0,75-0,9, угол установки лопастей шнека плавно увеличивается от 9-15° на входе до 15-25° на выходе, густота решетки равна 1-1,5 на входном участке шнека и 1,5-4 на выходном участке шнека, центробежное колесо с каждой стороны состоит из осерадиального колеса с основным и покрывным дисками и расположенными между ними плавно изогнутыми лопатками, и наружный диаметр его входного осевого участка равен наружному диаметру выхода шнека, а угол установки лопаток на входном осевом участке осерадиального колеса равен углу установки лопастей шнека на выходе, густота решетки на входном осевом участке осерадиального колеса равна 1-1,5, число лопаток осерадиального колеса выполнено переменным и составляет на входном осевом участке z1=3-6, на диагональном участке z2=(3-6)z1, на выходном радиальном участке z3=(1-8)z2.
Гидравлическое соединение гидростатических полостей с выходом насоса через гидроциклон позволяет очищать подаваемую жидкость в гидростатические полости и увеличивать ресурс работы подшипников скольжения.
Снабжение насоса вторым торцевым уплотнением, расположенным с другой стороны вала, и выполнение каждого уплотнения в виде закрепленной на валу обоймы, в направляющей канавке которой установлено вращающееся уплотнительное кольцо, установка в направляющей канавке поджатой аксиально-подвижной втулки, неподвижного кольца, прижатого к вращающемуся уплотнительному кольцу пружиной, и установка в пазу крышки пружины для поджатия аксиально-подвижной втулки обеспечивает уменьшение утечек жидкости, приводящее к увеличению времени безотказной работы.
Выполнение каждого шнека с шагом винтовых лопастей, плавно увеличивающимся к выходу и с отношением наружного диаметра выхода шнека Dвых.ш. к наружному диаметру входа шнека Dвх.ш., составляющим Dвых.ш./Dвх.ш.=0,75-0,9, плавное увеличение угла установки лопастей шнека от 9-15° на входе до 15-25° на выходе, густота решетки, равная 1-1,5 на входном участке шнека и 1,5-4 на выходном участке шнека, выполнение центробежного колеса с каждой стороны из осерадиального колеса с основным и покрывным дисками и расположенными между ними плавно изогнутыми лопатками и наружного диаметра его входного осевого участка, равного наружному диаметру выхода шнека, а угла установки лопаток на входном осевом участке осерадиального колеса, равного углу установки лопастей шнека на выходе, густоте решетки на входном осевом участке осерадиального колеса, равной 1-1,5, выполнение числа лопаток осерадиального колеса переменным и составляющим на входном осевом участке z1=3-6, на диагональном участке z2=(3-6)z1, на выходном радиальном участке z3=(1-8)z2 обеспечивает уменьшение пульсаций давления за счет постепенного подвода энергии к перекачиваемой жидкости, приводящее к минимальным гидравлическим потерям, которые создают безотрывное течение и меньшие нагрузки на насос и увеличивают время безотказной работы.
В шнекоцентробежном насосе число лопастей шнека может быть выполнено переменным и составлять на входе 1-4 и на выходе 1-6, что обеспечивает дополнительное увеличение напора жидкости на выходе из шнека и расширяет возможности использования центробежных насосов с другими параметрами.
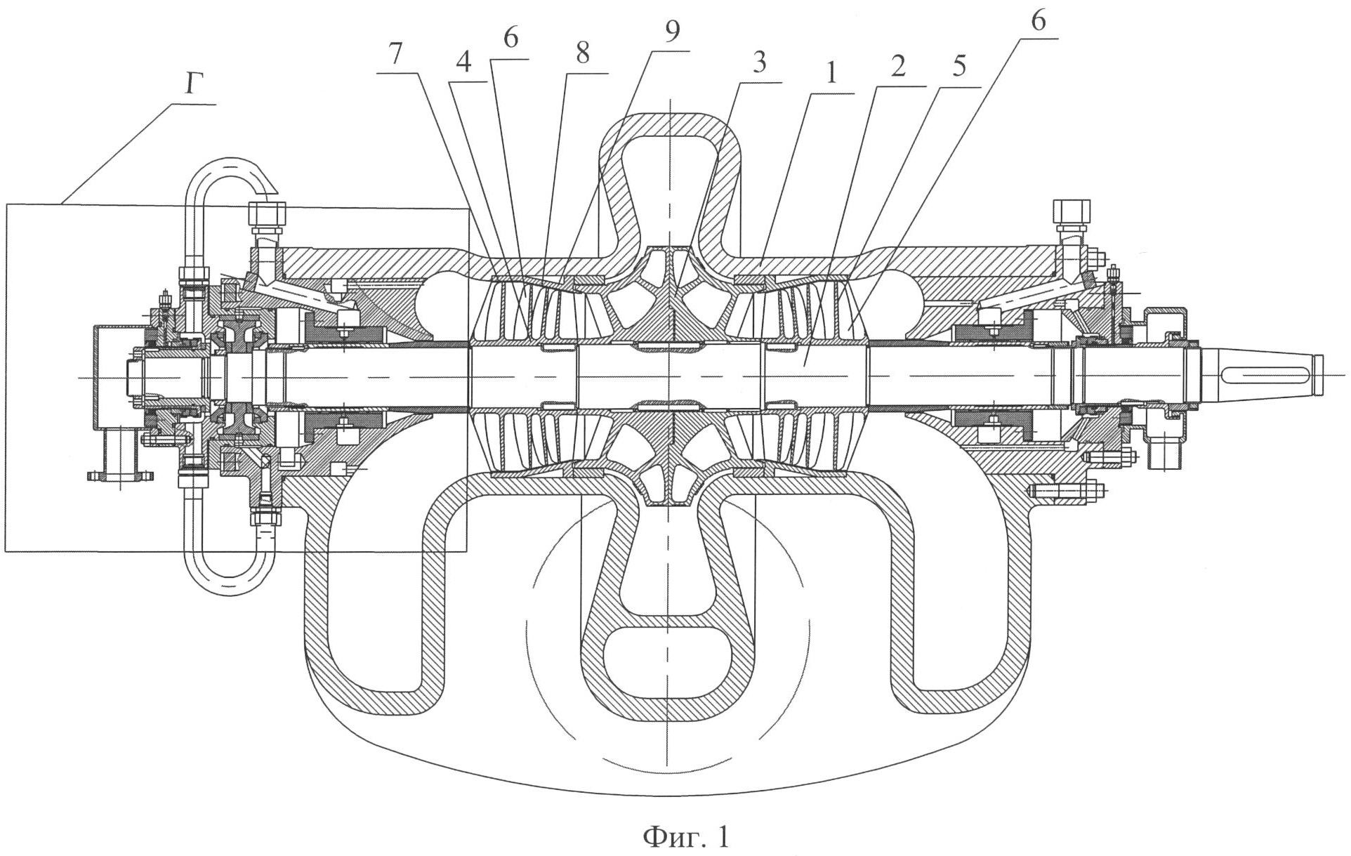
На фиг.1 изображен шнекоцентробежный насос в разрезе, на фиг.2 – центробежное колесо двустороннего входа; на фиг.3 – вид по стрелке А на фиг.2; на фиг.4 – вид с торца на центробежное колесо без покрывного диска; на фиг.5 – шнек в разрезе; на фиг.6 – вид по стрелке Б на фиг.5; на фиг.7 – вид по стрелке В на фиг.5; на фиг.8 – развертка шнека; на фиг.9 – узел Г на фиг 1 в увеличенном масштабе; на фиг.10 – поперечный разрез гидроциклона; на фиг.11 – общий вид шнекоцентробежного насоса с гидроциклонами.
Шнекоцентробежный насос содержит корпус 1, установленные в него на валу 2 центробежное колесо 3 двустороннего входа и два предвключенных шнека 4 и 5 с встречно направленными друг к другу винтовыми лопастями 6 с цилиндрическим наружным входным участком 7, переходящим в участок 8 с плавно уменьшающимся к выходу наружным диаметром. Шнеки 4 и 5 заключены в профилированные втулки 9. Двусторонне расположенные подшипники скольжения, каждый из которых выполнен в виде закрепленной на валу 2 втулки 1, входящей во вкладыш 11 с образованием гидростатической полости 12 в зазоре между ними, соединенной гидравлически патрубком 13 с выходом насоса через гидроциклон 31. Гидроциклон 31 (фиг.10) состоит из цилиндрического корпуса 32 с сужающимся конусом 33 внизу и подводного штуцера 34 для подвода неочищенной жидкости, закрепленного в верхней части корпуса 32. В нижней части корпуса 32 за сужающимся конусом 33 закреплен штуцер 35 отвода жидкости с увеличенным содержанием механических примесей. По оси симметрии цилиндрического корпуса 30 к верхней крышке прикреплена отводная труба 36 для отвода очищенной жидкости через штуцер 37 отвода очищенной среды.
На фиг.11 изображена схема подачи жидкости в гидроциклоны 31 и выхода очищенной и неочищенной жидкости из гидроциклонов 31. За подшипниковым узлом расположен разгрузочный узел, выполненный в виде закрепленного на валу 2 барабана 14 с образованием с неподвижной втулкой 15 кольцевого зазора 16, гидравлически соединенного через полость 30 патрубком 13 с выходом насоса. Торцевые уплотнения расположены с двух сторон вала 2. Каждое из торцевых уплотнений выполнено в виде закрепленной на валу 2 обоймы 17, в направляющей канавке которой установлено вращающееся уплотнительное кольцо 18, поджатая аксиально-подвижная втулка 19, в направляющей канавке которой установлено неподвижное уплотнительное кольцо 20, прижатое к вращающемуся уплотнительному кольцу 18, и крышки 21, в пазу которой установлена пружина 22 для поджатая аксиально-подвижной втулки 19.
Центробежное колесо 3 двустороннего входа с каждой стороны состоит из осерадиального колеса 23 с основным диском 24 и покрывным диском 25 и расположенными между ними плавно изогнутыми лопатками 26 и имеет входной осевой участок 27, диагональный участок 28 и выходной радиальный участок 29.
Шнеки 4 или 5 имеют шаг S винтовых лопастей 6, плавно увеличивающийся к выходу. Отношение наружного диаметра выхода шнека 4 или 5 Dвых.ш. к наружному диаметру входа шнека 4 или 5 Dвх.ш. составляет Dвых.ш./Dвх.ш.=0,75-0,9. Угол установки лопастей 6 шнека 4 или 5 плавно увеличивается от 9-15° на входе в шнек 4 или 5 до 15-25° на выходе из шнека. Густота решетки составляет 1-1,5. Наружный диаметр входного осевого участка 27 осерадиального колеса 23 равен наружному диаметру выхода шнека 4 или 5, а угол установки лопаток 26 на входном осевом участке 27 осерадиального колеса 23 равен углу установки винтовых лопастей 6 шнека 4 или 5 на выходе из шнека 4 или 5. Густота решетки осерадиального колеса 23 на входном осевом участке 27 составляет 1-1,5. Число лопаток 26 осерадиального колеса 23 выполнено переменным и составляет на входном осевом участке 27 z1=3-6, на диагональном участке 28 z2=(3-6)z1, на выходном радиальном участке 29 z3=(1-8)z2. Число лопастей 6 шнека 4 или 5 может быть выполнено переменным и составлять на входе 1-4 и на выходе 1-6. На фиг.5 изображен шнек с основной лопастью 6 и дополнительной лопастью 30.
Шнекоцентробежный насос работает следующим образом.
В исходном положении внутренняя полость насоса залита жидкостью (нефтью). Вал 2 вращается от привода (не показан) и приводит во вращение центробежное колесо 3 двустороннего входа. Жидкость начинает перекачиваться. Подшипники в начальный момент работают как подшипники скольжения, а затем вследствие подачи жидкости в гидростатическую полость 12 под давлением через патрубок 13 от выхода насоса через гидроциклон 31 работают как гидростатические подшипники. Неочищенная жидкость подается от выхода насоса в гидроциклон 31 через подводной штуцер 34, закручивается в кольцевой щели между корпусом 32 и отводной трубой 36. При этом на частицы механических примесей действует центробежная сила и они движутся к стенке. Достигнув стенки, механические частицы скользят по ней вниз и по конусу 33 через штуцер 35 отвода жидкости с увеличенным содержанием механических примесей поступают на вход насоса. Очищенная жидкость поступает по отводной трубе 36 через штуцер 37 отвода очищенной среды на подшипники скольжения.
В разгрузочный узел жидкость (нефть) под высоким давлением подается с выхода насоса через патрубок 13 в полость 30, а затем через зазор 16 между вращающимся барабаном 14 и неподвижной втулкой 15 поступает в полость разгрузочного узла.
Согласование параметров шнеков 4 и 5 и центробежного колеса 3 обеспечивает уменьшение пульсаций давления и вибрации в насосе. Шнек 4 или 5 должен создавать минимальный напор и обеспечить такое распределение скоростей и давлений, которые необходимы на входе в центробежное колесо 3 для обеспечения безотрывного течения.
Наружный цилиндрический входной участок 7 создает минимально необходимую величину напора для центробежного колеса 3 для создания безотрывного течения, а участок 8 с плавно уменьшающимся к выходу диаметром шнека 4 и 5 обепечивает минимальные гидравлические потери, увеличивая безотрывность течения. Шнеки 4 и 5 имеют шаг винтовых лопастей 6, плавно увеличивающийся к выходу. Закон изменения шага винтовых лопастей определяется расчетом трехмерного течения жидкости исходя из условия обеспечения требуемого напора на входе в центробежное колесо 3. Угол установки лопастей шнека плавно увеличивается на входе шнека от 9-15° до 15-25° на выходе шнека для обеспечения требуемого распределения скоростей и давлений на входе в центробежное колесо. Отношение диаметра выходного участка шнека Dвых.ш. к диаметру входа шнека Dвх.ш., составляющее Dвых.ш./Dвх.ш.=075-0,9, с плавно уменьшающимся диаметром шнека обеспечивает уменьшение пульсаций давления жидкости и вибрации в насосе.
Число лопастей шнеков 4 и 5 может быть выполнено переменным и составляет на входе 1-4 и на выходе – 1-6. Число лопастей увеличивается на выходе в зависимости от необходимости увеличения напора жидкости на выходе из шнеков 4 и 5. Исследования показали, что для улучшения энергетических характеристик центробежного колеса 3 двустороннего всасывания необходимо использовать осерадиальное колесо 23 и обеспечить постепенность подвода энергии к жидкости за счет оптимизации формы меридионального сечения, постепенно плавного увеличения изгиба лопатки по длине линии тока от входной кромки лопатки до выходной, а также оптимального распределения углов лопаток по радиусу. На входном осевом участке поток жидкости подходит к осерадиальному колесу 23 в осевом направлении и с малыми углами атаки входит в межлопаточные каналы. Назначение входного осевого участка 27 – обеспечение высоких антикавитационных свойств насоса и плавного натекания потока на лопатки 26 с целью создания равномерной структуры потока на диагональном участке 28. На диагональном участке 28 происходит плавный перевод потока жидкости из осевого направления в радиальное. За счет специально выполненного профилирования меридионального сечения осерадиального колеса 23 и оптимального распределения углов установки лопаток обеспечиваются малые градиенты давления в меридианальном сечении осерадиального колеса 23, что дает возможность перевести поток из осевого направления в радиальное с минимальными гидравлическими потерями. На выходном радиальном участке 29 происходит максимальное увеличение энергии жидкости для создания напора и за счет большого числа лопаток 26 на этом участке обеспечивается оптимальная гидродинамическая нагруженность в межлопастных каналах.
Формула изобретения
1. Шнекоцентробежный насос, содержащий корпус с двумя входами и выходом, установленные в корпусе на валу центробежное колесо двустороннего входа и два предвключенных шнека с встречно направленными друг к другу винтовыми лопастями и цилиндрическим наружным входным участком, переходящим в участок с плавно уменьшающимся к выходу наружным диаметром, шнеки заключены в профилированные втулки, двусторонне расположенные подшипники скольжения, каждый из которых выполнен в виде закрепленной на валу втулки, входящей во вкладыш с образованием гидростатической полости, соединенной гидравлически через гидроциклон с выходом насоса, расположенный за подшипником скольжения разгрузочный узел, выполненный в виде закрепленного на валу барабана с образованием кольцевого зазора с неподвижной втулкой, гидравлически соединенного с выходом насоса, торцевые уплотнения расположены с двух сторон вала, каждое из уплотнений выполнено в виде закрепленной на валу обоймы, в направляющей канавке которой установлено вращающееся уплотнительное кольцо, поджатую аксиально-подвижную втулку, в направляющей канавке которой установлено неподвижное кольцо, прижатое к вращающемуся уплотнительному кольцу пружиной, и крышка, в пазу которой установлена пружина для поджатия аксиально-подвижной втулки, каждый шнек выполнен с шагом винтовых лопастей, плавно увеличивающимся к выходу и с отношением наружного диаметра выхода шнека Dвых.ш. к наружному диаметру входа шнека Dвх.ш., составляющим Dвых.ш./ Dвх.ш.=0,75-0,9, угол установки лопастей шнека плавно увеличивается от 9-15° на входе до 15-25° на выходе, густота решетки равна 1-1,5 на входном участке шнека и на выходном участке шнека 1,5-4, центробежное колесо с каждой стороны состоит из осерадиального колеса с основным и покрывным дисками и расположенными между ними плавно изогнутыми лопатками и наружный диаметр его входного осевого участка равен наружному диаметру выхода шнека, а угол установки лопаток на входном осевом участке осерадиального колеса равен углу установки лопастей шнека на выходе, густота решетки на входном осевом участке осерадиального колеса равна 1-1,5, число лопаток осерадиального колеса выполнено переменным и составляет на входном осевом участке z1=3-6, на диагональном участке Z2=(3-6)Z1, на выходном радиальном участке z3=(1-8)z2.
2. Насос по п.1, отличающийся тем, что число лопастей шнека выполнено переменным и составляет на входе 1-4 и на выходе 3-12.
РИСУНКИ
|
|