|
|
(21), (22) Заявка: 2003132422/06, 05.11.2003
(24) Дата начала отсчета срока действия патента:
05.11.2003
(30) Конвенционный приоритет:
06.11.2002 US 10/288,301
(43) Дата публикации заявки: 20.05.2005
(46) Опубликовано: 20.08.2008
(56) Список документов, цитированных в отчете о поиске:
US 5248240 А, 28.09.1993. SU 939790 A1, 30.06.1982. SU 964197 A1, 07.10.1982. US 2421890, 10.06.1947. GB 1488766 А, 12.10.1977.
Адрес для переписки:
129010, Москва, ул. Б.Спасская, 25, стр.3, ООО “Юридическая фирма Городисский и Партнеры”, пат.пов. Г.Б. Егоровой, рег.№ 513
|
(72) Автор(ы):
ЛЭТРОП Норман Дуглас (US), БРАУН Дэниел Марк (US), ШЭРРОУ Эдвард Джон (US), СЕГРЕТО Кристин (US), ХОФЕР Дуглас Карл (US)
(73) Патентообладатель(и):
ДЖЕНЕРАЛ ЭЛЕКТРИК КОМПАНИ (US)
|
(54) УСТРОЙСТВО ДЛЯ СОЕДИНЕНИЯ ТРАЕКТОРИЙ ПОТОКОВ АКСИАЛЬНО СОЕДИНЕННЫХ ТУРБИН ДРУГ С ДРУГОМ (ВАРИАНТЫ)
(57) Реферат:
Изобретение относится к турбинам, в частности к устройству для соединения в виде диффузора. Валы (134, 136) турбин (110, 112), расположенных выше и ниже по ходу потока, соединены друг с другом посредством соединения (138). В промежуточной полости (130) между турбинами, расположенными выше и ниже по ходу потока, предусмотрен диффузор (150), предназначенный для регенерации кинетической энергии, а также для сведения к минимуму или устранения вентиляционных потерь и потерь из-за быстрого вращения, которые возникают вследствие того, что соединение открыто в направлении траектории потока вдоль турбин. Радиальный впускной канал (145) обеспечивает дополнительную подачу текучей среды в промежуточную полость, при этом осуществляется поворот подаваемой текучей среды в аксиальном и окружном направлениях для соединения ее с потоком, выходящим из турбины, расположенной выше по ходу потока, для образования объединенного потока, проходящего в турбину, расположенную ниже по ходу потока. Изобретение обеспечивает уменьшение потерь, вызываемых перемешиванием дополнительного потока текучей среды, поступающего в полость между турбинами, расположенными выше и ниже по ходу потока. 3 н. и 9 з.п. ф-лы, 3 ил.
Настоящее изобретение относится к турбинам, аксиально соединенным друг с другом вдоль их траектории потока, и, в частности, относится к устройству для соединения в виде диффузора, образованного между аксиально соединенными турбинами, и вдоль траектории потока аксиально соединенных турбин для уменьшения потери энергии при крупномасштабном турбулентном перемешивании при регенерации энергии за счет диффузии потока пара.
Турбины иногда соединяют путем соединения их валов роторов, а также их траекторий потоков друг с другом. Например, две аксиальные паровые турбины могут быть соединены аксиально друг с другом так, что поток пара, выходящий из последней ступени первой или расположенной выше по ходу потока турбины, будет поступать в первую ступень второй или расположенной ниже по ходу потока турбины. Как правило, полость, которая также образует часть траектории потока, находится между турбинами. Поскольку вращающийся вал и соединение открыты в направлении траектории потока, быстрое вращение вала приводит к уносу текучей среды и выталкиванию текучей среды обратно на траекторию потока. Это представляет собой явление, которое часто называют вентиляционными потерями и которое может вызвать существенные потери энергии из-за турбулентного перемешивания в полости. Соединения между валами также образуют выступающую поверхность по отношению к потоку, проходящему вдоль траектории потока от одной турбины к другой турбине через полость, что приводит к потерям из-за разделения потока. Другие потери энергии также возникают в аксиально соединенных турбинах. Например, выходная кольцевая полость турбины, расположенной выше по ходу потока, как правило, имеет диаметр и/или высоту, отличающиеся от соответствующих размеров входной кольцевой полости турбины, расположенной ниже по ходу потока. Поскольку поток не может быстро изменить направление от одной кольцевой полости до другой, поток, как правило, будет сталкиваться с другими поверхностями полости, что приводит к потерям, возникающим в результате этого. Кроме того, дополнительный пар может поступать на траекторию потока, например в полость, до того, как пар поступит в турбину, расположенную ниже по ходу потока. Этот промежуточный впуск пара вызывает возмущение на траектории потока пара в зоне перехода между турбинами, расположенными выше и ниже по ходу потока.
Предшествующие попытки, предпринимаемые с целью уменьшения потерь, возникающих из-за вращающегося вала, включали выполнение по существу цилиндрического соединяющего кожуха, расположенного над крышкой и имеющего ось, совпадающую с осью вращения турбин. Несмотря на то что такое решение позволяет уменьшить некоторые из потерь, вызванных вращающимся валом и соединением, оно не учитывает все механизмы, вызывающие потери, указанные выше. Цилиндрический кожух позволяет уменьшить потери в полости, но сам вызывает потери энергии и не обеспечивает использования энергии из траектории потока (US 5248240, F01D 9/04, 1993).
В соответствии с предпочтительным вариантом осуществления настоящего изобретения создано устройство для обеспечения перехода потока из турбины, расположенной выше по ходу потока, в турбину, расположенную ниже по ходу потока, и для распределения с уменьшенными потерями, вызываемыми перемешиванием дополнительного потока текучей среды, поступающего в полость между турбинами, расположенными выше и ниже по ходу потока. Для этого предусмотрен диффузор на траектории потока между расположенными выше и ниже по ходу потока турбинами. Внутренняя стенка диффузора или соединяющий кожух определяет внутренний диаметр траектории потока в переходной зоне между турбинами, расположенными выше и ниже по ходу потока, и проходит между последней ступенью турбины, расположенной выше по ходу потока, и начальной ступенью турбины, расположенной ниже по ходу потока. Соединяющий кожух предпочтительно выполнен в виде секции, имеющей форму усеченного конуса и расположенной вокруг оси, совпадающей с осью вращения турбины. Таким образом, соединяющий кожух размещен над соединением, соединяющим валы роторов, с тем, чтобы по существу свести к минимуму или предотвратить вентиляционные потери и разделение потока из-за наличия выступающих поверхностей, с которыми в противном случае сталкивался бы поток текучей среды, проходящий по траектории потока.
Диффузор также имеет наружную стенку диффузора, которая частично определяет наружную границу траектории потока между турбинами, расположенными выше и ниже по ходу потока. Подобно внутреннему кожуху соединения наружная стенка диффузора предпочтительно образована из секции, имеющей форму усеченного конуса и расположенной вокруг оси, и предпочтительно отлита как часть наружного корпуса, общего для обеих турбин. Диффузор, расположенный между выходной кольцевой полостью и входной кольцевой полостью турбин, расположенных соответственно выше и ниже по ходу потока, направляет поток текучей среды (пара) в процессе его диффузии. Следовательно, диффузор обеспечивает наличие плавного перехода между двумя турбинами, который позволяет устранить потери энергии, связанные с вращающимся валом и соединением и несоосностью между входной и выходной кольцевыми полостями двух турбин, при одновременном увеличении использования энергии регенерации за счет использовании диффузора.
Может быть обеспечена подача дополнительного потока текучей среды в полость на траектории потока через впускной канал, находящийся между турбинами, расположенными выше и ниже по ходу потока. Впускной канал выполнен с такой конфигурацией, чтобы изменить направление потока, в основном, с радиального направления на направление потока, имеющее как аксиальную, так и направленную по окружности составляющие. Когда дополнительный подаваемый поток поступает на траекторию потока, выходящего из турбины, расположенной выше по ходу потока, скорости и направления потоков таковы, что они обеспечивают уменьшение потерь, вызываемых перемешиванием.
В соответствии с предпочтительным вариантом осуществления настоящего изобретения создано устройство для соединения траекторий потоков аксиально соединенных турбин друг с другом, содержащее первую и вторую турбины, аксиально соединенные друг с другом вдоль траектории потока, при этом поток текучей среды, проходящий вдоль первого участка траектории потока вдоль первой турбины, выходит из первой турбины и поступает на второй участок траектории потока вдоль второй турбины, причем турбины имеют соответствующие валы роторов и соединение между первым и вторым валами роторов, предназначенное для соединения турбин друг с другом, внутренний кожух, проходящий между последней ступенью первой турбины и первой ступенью второй турбины и проходящий вокруг соединения между валами роторов, и расположенный над соединением между валами роторов, чтобы обеспечить изоляцию соединения между валами роторов от траектории потока и обеспечить по существу плавный переход потока текучей среды от первого участка траектории потока в первой турбине ко второму участку траектории потока во второй турбине.
Согласно изобретению первая и вторая турбины имеют соответственно выходную и входную кольцевые полости на траектории потока, при этом кольцевые полости отличаются друг от друга по одному из размеров, включающих диаметр и высоту, причем кожух образует секцию, имеющую форму усеченного конуса, вокруг общей оси роторов первой и второй турбин для обеспечения перехода потока текучей среды между выходной кольцевой полостью и входной кольцевой полостью.
При этом входная кольцевая полость имеет больший диаметр по сравнению с диаметром выходной кольцевой полости.
Устройство согласно изобретению включает наружную стенку, образующую наружную границу траектории потока между первой и второй турбинами, при этом внутренний кожух и наружная стенка образуют диффузор между первой и второй турбинами и вокруг соединения и полость, размещенную между первой и второй турбинами и образующую часть траектории потока, при этом, по меньшей мере, один канал для впуска потока текучей среды предусмотрен для введения текучей среды между первой и второй турбинами и в полость.
В соответствии с дополнительным предпочтительным вариантом осуществления настоящего изобретения создано устройство для соединения траекторий потоков аксиально соединенных турбин друг с другом, содержащее первую и вторую турбины, аксиально соединенные друг с другом и имеющие траекторию потока, при этом поток текучей среды, проходящий вдоль первого участка траектории потока, выходит из первой турбины и поступает на второй участок траектории потока во второй турбине, при этом турбины имеют соответствующие валы роторов и соединение между первым и вторым валами роторов, предназначенное для соединения турбин друг с другом, наружную стенку, проходящую между последней ступенью первой турбины и первой ступенью второй турбины и вокруг траектории потока между первой и второй турбинами и расположенную над траекторией потока между первой и второй турбинами, чтобы обеспечить по существу плавный переход потока текучей среды от первого участка траектории потока в первой турбине ко второму участку траектории потока во второй турбине.
Предпочтительно, наружная стенка образует часть литого наружного корпуса турбин.
В соответствии с еще одним предпочтительным вариантом осуществления настоящего изобретения создано устройство для соединения траекторий потоков аксиально соединенных турбин друг с другом, содержащее первую и вторую турбины, аксиально соединенные друг с другом вдоль траектории потока, при этом поток текучей среды, проходящий вдоль первого участка траектории потока вдоль первой турбины, выходит из первой турбины через выходную кольцевую полость и поступает на второй участок траектории потока через входную кольцевую полость второй турбины, причем турбины имеют соответствующие валы роторов и соединение между первым и вторым валами роторов, предназначенное для соединения турбин друг с другом, участки кольцевой стенки, проходящие от зоны, расположенной рядом с выходной кольцевой полостью первой турбины и радиально снаружи по отношению к соединению между валами роторов, образующие диффузор, предназначенный для обеспечения прохода потока текучей среды между выходной и входной кольцевыми полостями и для обеспечения, по существу, плавного перехода потока текучей среды с первого участка траектории потока в первой турбине на второй участок траектории потока во второй турбине.
Участки стенки включают внутренний кожух, проходящий от зоны, расположенной рядом с закруглением хвостовых частей рабочих лопаток турбины, образующих последнюю ступень первой турбины, до внутреннего бандажа, образующего часть первой ступени второй турбины, при этом кожух образует поверхность вращения вокруг общей оси роторов первой и второй турбин для обеспечения перехода потока текучей среды между выходной кольцевой полостью и входной кольцевой полостью.
Предпочтительно, кожух расположен над соединением и опирается на вторую турбину.
На фиг.1 изображено сечение верхней части пары турбин, соединенных друг с другом, которое иллюстрирует соединение и траекторию потока между турбинами в соответствии с известным уровнем техники.
На фиг.2 изображено аналогичное фиг.1 сечение и соединяющий кожух согласно известному уровню техники.
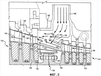
На фиг.3 изображено аналогичное фиг.1 сечение и соединяющий кожух в соответствии с предпочтительным вариантом осуществления настоящего изобретения.
На фиг.1 показаны первая и вторая турбины, а именно первая или расположенная выше по ходу потока турбина, обозначенная в целом ссылочным номером 10, и расположенная ниже по ходу потока турбина, обозначенная в целом ссылочным номером 12, которые аксиально соединены друг с другом вдоль их траекторий потоков и путем соединения валов их роторов друг с другом. Первая турбина 10 имеет множество аксиально расположенных на определенном расстоянии друг от друга рабочих колес 14, на которых размещены рабочие лопатки 16, которые вместе с диафрагмами 18, на которых установлены перегородки 20, образуют множество ступеней первой турбины. Аналогичным образом, вторая турбина 12 содержит множество аксиально расположенных на определенном расстоянии друг от друга рабочих колес 22, на которых размещены рабочие лопатки 24, которые вместе с диафрагмами 26, несущими перегородки 28, образуют множество ступеней второй турбины. Предпочтительно, несущая энергию текучая среда, например пар, проходит в основном в аксиальном направлении мимо различных ступеней турбины 10, расположенной выше по ходу потока, вдоль первого участка траектории потока, обозначенного стрелкой 27, через промежуточную полость 30 и по второму участку траектории потока, обозначенному стрелкой 29, состоящему из различных ступеней турбины 12, расположенной ниже по ходу потока. Таким образом, участки 27 и 29 траектории потока и промежуточная полость 30 образуют траекторию потока через соединенные турбины. Кроме того, отдельные валы 34 и 36 роторов соответствующих первой и второй турбин 10 и 12 соединены друг с другом с помощью соединения, обозначенного в целом ссылочным номером 38. Соединение включает фланцы 40 на концах валов соответствующих роторов с болтами 41, соединяющими фланцы и, следовательно, валы друг с другом. Кроме того, в общем наружном корпусе 42 выполнена пара радиальных каналов 45 для подачи текучей среды (пара) (проиллюстрирован только один), которые предназначены для подачи в промежуточную полость 30 дополнительной текучей среды (пара), которая должна соединиться с текучей средой на траектории потока.
Как указано выше, вращающиеся валы 34 и 36 роторов и соединение 38 открыты в направлении траектории потока внутри промежуточной полости 30, в результате чего возникают вентиляционные потери из-за турбулентного перемешивания и потери из-за разделения потока вследствие соударения с выступающими поверхностями на соединении 38 и других деталях.
Попытка уменьшить указанные потери, которая была предпринята в соответствии с известным уровнем техники, проиллюстрирована на фиг.2. На фиг.2 видно, что цилиндрический кожух 46, имеющий ось, совпадающую с осью вращения валов 34 и 36 роторов, расположен непосредственно над соединением 38. Кожух 46 имеет выступающие в радиальном направлении, придающие жесткость ребра 48 на его наружной поверхности. Несмотря на то что данная конструкция позволяет до некоторой степени уменьшить потери, вызываемые быстрым вращением валов и соединением, потери остаются существенными, и цилиндрический кожух не позволяет решить проблему уменьшения других потерь вдоль траектории потока.
На фиг.3 показан предпочтительный вариант осуществления настоящего изобретения, на которой элементы, аналогичные элементам на фиг.1 и 2, обозначены аналогичными ссылочными номерами с добавлением впереди цифры 1. На этой фигуре показана турбина 110, расположенная выше по ходу потока и имеющая расположенные на определенном расстоянии друг от друга в аксиальном направлении рабочие колеса 114, на которых размещены рабочие лопатки 116, которые вместе с диафрагмами, несущими перегородки 120, образуют отдельные ступени турбины, аксиально расположенные на определенном расстоянии друг от друга. Колеса 114 образуют часть вала 134 ротора. Аналогичным образом, вторая или расположенная ниже по ходу потока турбина 112 имеет рабочие колеса 122, на которых размещены рабочие лопатки 124, которые вместе с диафрагмами 126, несущими перегородки 128, образуют отдельные ступени турбины, аксиально расположенные на определенном расстоянии друг от друга. Рабочие колеса 122 размещены на валу 136 второго ротора. Первая и вторая турбины 110 и 112 имеют соответствующие участки 127 и 129 траектории потока, образующие вместе с полостью 130 траекторию потока через турбину.
Валы 134 и 136 роторов соединены друг с другом с помощью соединения 138, аналогично тому, как это выполнено в устройстве по известному уровню техники, путем использования фланцев 140 и ряда расположенных на определенном расстоянии друг от друга в окружном направлении болтов 141, обеспечивающих крепление фланцев друг к другу. Таким же образом, как и в устройстве по известному уровню техники, в общем наружном корпусе 142 выполнен один и предпочтительно два радиальных канала 145 для впуска текучей среды или пара, предназначенных для подачи в промежуточную полость 130 текучей среды (пара), которая должна соединиться с текучей средой (паром), выходящей из выходной кольцевой полости 147 турбины 110, расположенной выше по ходу потока, и проходящей во входную кольцевую полость 149 турбины 112, расположенной ниже по ходу потока.
В соответствии с предпочтительным вариантом осуществления настоящего изобретения создан диффузор, который обозначен, в целом, ссылочным номером 150 и образует часть промежуточной полости 130 между соответствующими первой и второй турбинами 110 и 112. Предпочтительно, диффузор 150 обеспечивает использование кинетической энергии текучей среды (пара), выходящей из турбины 110, расположенной выше по ходу потока, перед проходом этой текучей среды в турбину 112, расположенную ниже по ходу потока. Для образования диффузора 150, а также для сведения к минимуму или устранения как вентиляционных потерь, так и потерь, вызванных быстрым вращением, предусмотрен внутренний кожух 152 в виде секции, имеющей форму усеченного конуса и ось, совпадающую с осью вращения соединенных валов 134 и 136 роторов. Внутренний кожух 152 образует внутреннюю границу траектории потока, выходящего из выходной кольцевой полости 147 турбины 110, расположенной выше по ходу потока, и проходящего во входную кольцевую полость 149 турбины 112, расположенной ниже по ходу потока. Таким образом, внутренний кожух 152 проходит от зоны, расположенной рядом с закруглениями хвостовых частей рабочих лопаток, образующих последнюю ступень турбины 110, расположенной выше по ходу потока, до внутреннего бандажа первой ступени турбины, расположенной ниже по ходу потока. Кожух 152 опирается на внутренний корпус турбины 112, расположенной ниже по ходу потока. Таким образом, траектория потока через промежуточную полость 130 по существу изолирована от соединения 138 между валами.
Диффузор 150 также образован наружной стенкой 154, которая образует проходящую по существу в аксиальном направлении и в направлении по ходу потока выступающую часть турбины 110, расположенной выше по ходу потока. Внутренняя поверхность 156 наружной стенки 154 частично определяет верхнюю границу потока, выходящего из турбины 110, расположенной выше по ходу потока. Таким образом, внутренний кожух 152 и стенка 156 образуют кольцевой канал вокруг траектории потока, площадь поперечного сечения которого увеличивается в направлении по ходу потока в сторону турбины 112, расположенной ниже по ходу потока.
Впускные каналы 145, количество которых предпочтительно равно двум, обеспечивают подачу текучей среды (пара) в радиальном направлении в промежуточную полость 130. Впускные каналы 145 образуют часть наружного корпуса 142, общего для обеих турбин, расположенных выше и ниже по ходу потока. Впускные каналы 145 выполнены с такой конфигурацией, что они обеспечивают поворот направленного, в основном, радиально внутрь потока, когда он сталкивается с наружной поверхностью 158 наружной стенки 154 и происходит поворот указанного потока в аксиальном и окружном направлениях перед тем, как поток поступит в промежуточную полость 130. Таким образом, в той зоне, где траектория входящего потока пересекается с траекторией потока, проходящего в аксиальном направлении из турбины, расположенной выше по ходу потока, скорость потока снижается в достаточной степени, так что потери, вызываемые перемешиванием, уменьшаются.
Согласно предпочтительному варианту осуществления изобретения потери, вызываемые быстрым вращением, и вентиляционные потери существенно уменьшаются или устраняются. Более того, траектория потока между выходной кольцевой полостью турбины, расположенной выше по ходу потока, и входной кольцевой полостью турбины, расположенной ниже по ходу потока, обеспечивает плавный переход потока между ними несмотря на различия по высоте и/или диаметрам соответствующих выходной и входной кольцевых полостей 147 и 149.
Несмотря на то что изобретение было описано в связи с предпочтительным вариантом осуществления следует понимать, что изобретение не может быть ограничено этим вариантом осуществления, а напротив, предназначено для охватывания различных модификаций и эквивалентных конструкций, находящихся в пределах сущности и объема приложенной формулы изобретения.
ПЕРЕЧЕНЬ ЭЛЕМЕНТОВ
Расположенная выше по ходу потока турбина 10,
Расположенные ниже по ходу потока турбины 12, 112
Рабочие колеса 14, 22, 114, 122
Рабочие лопатки 16, 24, 116, 124
Диафрагмы 18, 26, 118, 126
Перегородки 20, 28, 120, 128
Участки 27, 29, 127, 129
Промежуточная полость 30
Валы 34, 36, 134, 136 роторов
Соединения 38, 138
Фланцы 40, 140
Болты 41, 141
Наружные корпуса 42, 142
Впускные каналы 45, 145
Цилиндрический кожух 46
Ребра 48
Расположенная выше по ходу потока турбина 110
Полость 130
Выходная кольцевая полость 147
Входная кольцевая полость 149
Диффузор 150
Внутренний кожух 152
Наружная стенка 154
Внутренняя поверхность 156 стенки
Наружная поверхность 158 стенки
Формула изобретения
1. Устройство для соединения траекторий потоков аксиально соединенных турбин друг с другом, содержащее первую и вторую турбины (10, 12), аксиально соединенные друг с другом вдоль траектории потока, при этом поток текучей среды, проходящий вдоль первого участка (127) траектории потока вдоль первой турбины, выходит из первой турбины и поступает на второй участок (129) траектории потока вдоль второй турбины, причем турбины имеют соответствующие валы (134, 136) роторов и соединение (138) между первым и вторым валами роторов, предназначенное для соединения турбин друг с другом, внутренний кожух (152), проходящий между последней ступенью первой турбины и первой ступенью второй турбины и проходящий вокруг соединения между валами роторов, и расположенный над соединением между валами роторов, чтобы обеспечить изоляцию соединения между валами роторов от траектории потока и обеспечить по существу плавный переход потока текучей среды от первого участка траектории потока в первой турбине ко второму участку траектории потока во второй турбине.
2. Устройство по п.1, в котором первая и вторая турбины имеют соответственно выходную и входную кольцевые полости (147, 149) на траектории потока, при этом кольцевые полости отличаются друг от друга по одному из размеров, включающих диаметр и высоту, причем кожух образует секцию, имеющую форму усеченного конуса, вокруг общей оси роторов первой и второй турбин для обеспечения перехода потока текучей среды между выходной кольцевой полостью и входной кольцевой полостью.
3. Устройство по п.2, в котором входная кольцевая полость (149) имеет больший диаметр по сравнению с диаметром выходной кольцевой полости.
4. Устройство по п.1, включающее наружную стенку (154), образующую наружную границу траектории потока между первой и второй турбинами, при этом внутренний кожух и наружная стенка образуют диффузор (150) между первой и второй турбинами и вокруг соединения.
5. Устройство по п.1, включающее полость (130), размещенную между первой и второй турбинами и образующую часть траектории потока, при этом, по меньшей мере, один канал (145) для впуска потока текучей среды предусмотрен для введения текучей среды между первой и второй турбинами и в полость.
6. Устройство для соединения траекторий потоков аксиально соединенных турбин друг с другом, содержащее первую и вторую турбины (110, 112), аксиально соединенные друг с другом и имеющие траекторию потока, при этом поток текучей среды, проходящий вдоль первого участка (127) траектории потока, выходит из первой турбины и поступает на второй участок (129) траектории потока во второй турбине, при этом турбины имеют соответствующие валы (134, 136) роторов и соединение (138) между первым и вторым валами роторов, предназначенное для соединения турбин друг с другом, наружную стенку (154), проходящую между последней ступенью первой турбины и первой ступенью второй турбины и вокруг траектории потока между первой и второй турбинами и расположенную над траекторией потока между первой и второй турбинами, чтобы обеспечить по существу плавный переход потока текучей среды от первого участка траектории потока в первой турбине ко второму участку траектории потока во второй турбине.
7. Устройство по п.6, в котором первая и вторая турбины имеют соответственно выходную и входную кольцевые полости (147, 149) на траектории потока, при этом кольцевые полости отличаются друг от друга по одному из размеров, включающих диаметр и высоту, причем наружная стенка образует секцию, имеющую форму усеченного конуса, вокруг общей оси роторов первой и второй турбин для обеспечения перехода потока текучей среды между выходной кольцевой полостью и входной кольцевой полостью.
8. Устройство по п.6, в котором наружная стенка (154) образует часть литого наружного корпуса (142) турбин.
9. Устройство по п.6, имеющее полость (130), размещенную между первой и второй турбинами и образующую часть траектории потока, при этом, по меньшей мере, один канал (145) для впуска потока текучей среды предусмотрен для введения текучей среды между первой и второй турбинами и в полость.
10. Устройство для соединения траекторий потоков аксиально соединенных турбин друг с другом, содержащее
первую и вторую турбины, аксиально соединенные друг с другом вдоль траектории потока, при этом поток текучей среды, проходящий вдоль первого участка траектории потока вдоль первой турбины, выходит из первой турбины через выходную кольцевую полость и поступает на второй участок траектории потока через входную кольцевую полость второй турбины, причем турбины имеют соответствующие валы роторов и соединение между первым и вторым валами роторов, предназначенное для соединения турбин друг с другом, участки кольцевой стенки, проходящие от зоны, расположенной рядом с выходной кольцевой полостью первой турбины и радиально снаружи по отношению к соединению между валами роторов, образующие диффузор, предназначенный для обеспечения прохода потока текучей среды между выходной и входной кольцевыми полостями и для обеспечения по существу плавного перехода потока текучей среды с первого участка траектории потока в первой турбине на второй участок траектории потока во второй турбине.
11. Устройство по п.10, в котором участки стенки включают внутренний кожух, проходящий от зоны, расположенной рядом с закруглением хвостовых частей рабочих лопаток турбины, образующих последнюю ступень первой турбины, до внутреннего бандажа, образующего часть первой ступени второй турбины, при этом кожух образует поверхность вращения вокруг общей оси роторов первой и второй турбин для обеспечения перехода потока текучей среды между выходной кольцевой полостью и входной кольцевой полостью.
12. Устройство по п.11, в котором кожух расположен над соединением и опирается на вторую турбину.
РИСУНКИ
|
|