|
|
(21), (22) Заявка: 2006123346/03, 03.07.2006
(24) Дата начала отсчета срока действия патента:
03.07.2006
(43) Дата публикации заявки: 10.01.2008
(46) Опубликовано: 20.08.2008
(56) Список документов, цитированных в отчете о поиске:
Насосы погружные винтовые сдвоенного типа, Ливгидромаш, 2005, www.bolshe.ru/unit/40/books/7834, с.1-2. SU 1015113 А, 30.04.1983. RU 2101471 C1, 10.01.1998. RU 2016235 C1, 15.07.1994. RU 2099508 C1, 20.12.1997. SU 1078128 A, 07.03.1984.
Адрес для переписки:
443110, г.Самара, ул. Ново-Садовая, 38, кв.154, ООО “НЦИ”, В.Ф. Нагайцеву
|
(72) Автор(ы):
Нуртдинов Наиль Минрахманович (RU), Власов Игорь Эдуардович (RU), Панчиков Валерий Николаевич (RU)
(73) Патентообладатель(и):
Нуртдинов Наиль Минрахманович (RU), Власов Игорь Эдуардович (RU), Панчиков Валерий Николаевич (RU)
|
(54) СПОСОБ ОПТИМИЗАЦИИ ДОБЫЧИ НЕФТИ
(57) Реферат:
Изобретение относится к области добычи нефтяных залежей из подземных глубинных скважин и в большей степени распространяется на оборудование, с помощью которого производится подъем жидкости на поверхность земли. Обеспечивает упрощение технологических операций и удешевление оборудования, необходимого для перекачивания жидкости. Сущность изобретения: способ заключается в установке и приведении в действие непосредственно в скважине насоса, подающего через трубопровод к поверхности земли жидкостный продукт. Согласно изобретению как минимум два поршневых насоса, штоки которых взаимодействуют с парой эксцентричных толкателей, установлены параллельно на поворотном валу. Причем поршни насосов находятся в противофазах рабочих циклов движений. Одновременно рабочие полости насосов соединены отводами трубопровода с баком, снабженным гидроприводной жидкостью. К верхней части бака подсоединены трубопроводы, которые с другой стороны соединены с гидроприводными клапанами, а от них через трубопроводы осуществляют соединение с рабочими полостями насосов. Для подачи гидроприводной жидкости через трубопроводы используют гидроприводные клапаны с равномерным давлением гидроприводной жидкости в приемные полости насоса, в крышке которого установлен шток, соединенный жестко с мембраной рабочей полости, снабженной со стороны корпуса выпускным трубопроводом и приемным трубопроводом с гидроприводными клапанами. Ими регулируют режимы всасывания и выброса нефти. Причем бак с гидроприводной жидкостью в совокупности с трубопроводом обеспечивают компенсационные потери гидроприводной жидкости в полостях насоса в камерах, сопрягаемых со штоком. Осевой ход манжеты к перепускным отверстиям трубопроводов соответствует возвратно-поступательным осевым перемещениям поршня, установленным на штоке. 1 ил.
Изобретение относится к области добычи нефтяных залежей из подземных глубинных скважин и в большей степени распространяется на оборудование, с помощью которого производится подъем жидкости на поверхность земли.
К недостаткам известного технического решения относятся сложность и дороговизна, при изготовлении и монтаже оборудования, а также недолговечность систем перекачивающих устройств, применяемых ЛИВГИДРОМАШ.
Задачей технического решения следует считать упрощение технологических операций и удешевление оборудования, необходимого для перекачивания жидких сред.
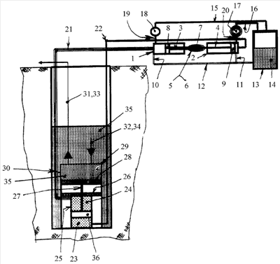
Поставленная задача достигается тем, что способ оптимизации добычи нефти, состоящий в установке и приведении в действие непосредственно в скважине насоса, подающего через трубопровод к поверхности земли жидкостный продукт, отличающийся тем, что как минимум два поршневых насоса (1 и 2) штоки (3 и 4) которых взаимодействуют с парой эксцентричных толкателей (5 и 6), установленных параллельно на поворотном валу (7), причем поршни (8 и 9) насосов (1 и 2) находятся в противофазах рабочих циклов движений, одновременно рабочие полости насосов соединены отводами (10 и 11) трубопровода (12) с баком (13), снабженным гидроприводной жидкостью (14), к верхней части бака (13) подсоединены трубопроводы (15 и 16), которые с другой стороны подсоединены с гидроприводными клапанами (17 и 18), а от них, через трубопроводы (19 и 20) осуществляют подсоединение к рабочим полостям насосов (1 и 2), причем для подачи гидроприводной жидкости (14) через трубопроводы (21 и 22) используют нормативные гидроприводные клапаны (18 и 17) с равномерным давлением гидроприводной жидкости в приемные полости (23 и 24) насоса (25), в крышке (26) которого установлен шток (27), соединенный жестко с мембраной (28) рабочей полости (29), снабженной со стороны корпуса (30) выпускным трубопроводом (31) и приемным трубопроводом (32) с гидроприводными клапанами (33) и (34), которыми регулируют режимы всасывания и выброса нефти, причем бак (13) с гидроприводной жидкостью (14) в совокупности с трубопроводом (12) обеспечивают компенсационные потери гидроприводной жидкости в полостях насоса (25) в камерах (24 и 23), сопрягаемых со штоком (36), осевой ход манжеты (28) к перепускным отверстиям трубопроводов (31 и 32) соответствует возвратно-поступательным осевым перемещениям поршня (36), установленным на штоке (27).
На чертеже представлена схема расположения пневмогидромеханического оборудования по способу оптимизации добычи нефти.
Описание способа оптимизации добычи нефти.
Способ оптимизации добычи нефти, состоящий в установке и приведении в действие непосредственно в скважине насоса, подающего через трубопровод к поверхности земли жидкостный продукт, отличающийся тем, что:
– два поршневых насоса (1 и 2), штоки (3 и 4) которых взаимодействуют с парой эксцентричных толкателей (5 и 6), устанавливают параллельно на поворотном валу (7);
– поршни (8 и 9) насосов (1 и 2) находятся в противофазах рабочих циклов движений;
– рабочие полости насосов (1 и 2) соединены отводами (10 и 11) трубопровода (12) с баком (13), снабженным гидроприводной жидкостью (14);
– к верхней части бака (13) подсоединены трубопроводы (15 и 16), которые с другой стороны соединяют с гидроприводными клапанами (17 и 18), а от них, через трубопроводы (19 и 20), осуществляют подсоединение к рабочим полостям насосов (1 и 2);
– для подачи гидроприводной жидкости (14) через трубопроводы (21 и 22) используют нормативные гидроприводные клапаны (18 и 17) с равномерным давлением гидроприводной жидкости в приемные полости (23 и 24) насоса (25), в крышке (26) которого установлен шток (27), соединенный жестко с мембраной (28) рабочей полости (29), снабженной со стороны корпуса (30) выпускным трубопроводом (31) и приемным трубопроводом (32) с гидроприводными клапанами (33) и (34), которыми регулируют режимы всасывания и выброса нефти;
– гидроприводной жидкостью (14) бака (13) в совокупности с трубопроводом (12) обеспечивают компенсационные потери гидроприводной жидкости в полостях насоса (25) в камерах (24 и 23), сопрягаемых со штоком (36);
– осевой ход манжеты (28) к перепускным отверстиям трубопроводов (31 и 32) соответствует возвратно-поступательным осевым перемещениям поршня (36), установленным на штоке (27).
Пример выполнения способа оптимизации добычи нефти.
Способ оптимизации добычи нефти, состоящий в установке и приведении в действие непосредственно в скважине насоса, подающего через трубопровод к поверхности земли жидкостный продукт, выполняют таким образом, что:
– два поршневых насоса (1 и 2), штоки (3 и 4) которых взаимодействуют с парой эксцентричных толкателей (5 и 6), устанавливают параллельно на поворотном валу (7);
– поршни (8 и 9) насосов (1 и 2) находятся в противофазах рабочих циклов движений;
– рабочие полости насосов (1 и 2) соединены отводами (10 и 11) трубопровода (12) с баком (13), снабженным гидроприводной жидкостью (14);
– к верхней части бака (13) подсоединены трубопроводы (15 и 16), которые с другой стороны соединяют с гидроприводными клапанами (17 и 18), а от них, через трубопроводы (19 и 20) осуществляют подсоединение к рабочим полостям насосов (1 и 2);
– для подачи гидроприводной жидкости (14) через трубопроводы (21 и (22) используют нормативное гидроприводные клапаны (18 и 17) с равномерным давлением гидроприводной жидкости в приемные полости (23 и 24) насоса (25), в крышке (26) которого установлен шток (27), соединенный жестко с мембраной (28) рабочей полости (29), снабженной со стороны корпуса (30) выпускным трубопроводом (31) и приемным трубопроводом (32) с гидроприводными клапанами (33) и (34), которыми регулируют режимы всасывания и выброса нефти;
– гидроприводной жидкостью (14) бака (13) в совокупности с трубопроводом (12) обеспечивают компенсационные потери гидроприводной жидкости в полостях насоса (25) в камерах (24 и 23), сопрягаемых со штоком (36);
– осевой ход манжеты (28) к перепускным отверстиям трубопроводов (31 и 32) соответствует возвратно-поступательным осевым перемещениям поршня (36), установленным на штоке (27).
Промышленная полезность нового технического решения заключается в повышении производительности перекачивания нефти с одновременным снижением цены на изготовление и установку технологического оборудования, как на поверхности скважины, так и на запланированной глубине скважины для осуществления забора нефти.
Экономическая эффективность нового технического решения заключается в значительной экономии денежных средств, идущих на изготовление перекачивающего оборудования и установку, а также на подготовку персонала, обеспечивающего работу оборудования, имеющего незначительную металлоемкость.
Формула изобретения
Способ оптимизации добычи нефти, состоящий в установке и приведении в действие непосредственно в скважине насоса, подающего через трубопровод к поверхности земли жидкостный продукт, отличающийся тем, что, как минимум, два поршневых насоса, штоки которых взаимодействуют с парой эксцентричных толкателей, установлены параллельно на поворотном валу, причем поршни насосов находятся в противофазах рабочих циклов движений, одновременно рабочие полости насосов соединены отводами трубопровода с баком, снабженным гидроприводной жидкостью, к верхней части бака подсоединены трубопроводы, которые с другой стороны соединены с гидроприводными клапанами, а от них через трубопроводы осуществляют соединение с рабочими полостями насосов, причем для подачи гидроприводной жидкости через трубопроводы используют нормативно гидроприводные клапаны с равномерным давлением гидроприводной жидкости в приемных полостях насоса, в крышке которого установлен шток, соединенный жестко с мембраной рабочей полости, снабженной со стороны корпуса выпускным трубопроводом и приемным трубопроводом с гидроприводными клапанами, которыми регулируют режимы всасывания и выброса нефти, причем бак с гидроприводной жидкостью в совокупности с трубопроводом обеспечивают компенсационные потери гидроприводной жидкости в полостях насоса в камерах, сопрягаемых со штоком, осевой ход манжеты к перепускным отверстиям трубопроводов соответствует возвратно-поступательным осевым перемещениям поршня, установленном на штоке.
РИСУНКИ
|
|