|
|
(21), (22) Заявка: 2007101441/03, 15.01.2007
(24) Дата начала отсчета срока действия патента:
15.01.2007
(46) Опубликовано: 20.08.2008
(56) Список документов, цитированных в отчете о поиске:
SU 1633865 A1, 10.04.1996. SU 1467149 A1, 23.03.1989. SU 1771504 A3, 23.10.1992. US 3720391 A, 13.03.1973. US 3539135 A, 10.11.1970.
Адрес для переписки:
656023, г.Барнаул, ул. Титова, 1, ООО “ИТА+”, директору А.П. Мажнику
|
(72) Автор(ы):
Мажник Анатолий Павлович (RU), Мажник Ефим Анатольевич (RU), Мажник Павел Анатольевич (RU)
(73) Патентообладатель(и):
Общество с ограниченной ответственностью “Инновации. Таланты. Активы. Плюс.” (RU)
|
(54) СТРОИТЕЛЬНАЯ КОНСТРУКЦИЯ
(57) Реферат:
Изобретение относится к области строительства пространственных сооружений, имеющих различные сводчатые конструкции: куполообразные, цилиндрические и т.д. В опорно-ограничительном контуре равномерно смонтированы тонкостенные элементы, между которыми размещены несущие вкладыши. Концы тонкостенных элементов зафиксированы в стыковочных элементах. Помимо этого, между тонкостенными элементами, в промежутках или их частях размещены вспомогательные элементы, а тонкостенные элементы и несущие вкладыши установлены с возможностью продольного перемещения относительно друг друга. Обжатие строительной конструкции осуществляется обвязкой. Технический результат изобретения заключается в повышении надежности сборки пространственных строительных конструкций. 3 з.п. ф-лы, 10 ил.
Изобретение относится к строительству, а именно к структурным элементам для жилищно-гражданских, промышленных и сельскохозяйственных зданий, большепролетных сферических и сводчатых сооружений, жилых переносных и иных зданий, павильонов, складов и других сооружений специального назначения.
Наиболее близким техническим решением является строительная конструкция, включающая опорно-ограничительный контур с равномерно (упорядоченно) расположенными в нем и охваченными обвязкой тонкостенными элементами с размещенными между ними несущими вкладышами (см. а.с. №1633865 от 14.08.85 г., кл. Е04В 1/348).
Недостатком строительной конструкции является трудоемкая и ненадежная (опасная) технология сборки сооружений, в особенности пространственных, например, различных сводчатых конструкций: куполообразных, цилиндрических, парусных, сомкнутых и т.д. Кроме того, она значительно усложняет технологию сборки строений, оформленных художественно архитектурно, с различно выполненным орнаментом.
Задачей настоящего изобретения является создание строительной конструкции лишенной указанных недостатков.
Поставленная задача решается следующим образом: строительная конструкция, включающая опорно-ограничительный контур с равномерно (упорядоченно) расположенными в нем и охваченными обвязкой тонкостенными элементами с размещенными между ними несущими вкладышами, в соответствии с изобретением дополнительно снабжена стыковочными элементами, в которых установлены с возможностью фиксации концы тонкостенных элементов; рабочие поверхности тонкостенных элементов и соответствующие им рабочие поверхности несущих вкладышей выполнены криволинейными, например, ступенчатыми; тонкостенные элементы и несущие вкладыши установлены с возможностью продольного установочного перемещения относительно друг друга; между тонкостенными элементами, в промежутках или их частях, размещены вспомогательные элементы, установленные с возможностью растяжения.
Технический результат выражается в снижении трудоемкости и повышении надежности технологии сборки различных пространственных сводчатых строительных сооружений. Кроме того, обеспечивается возможность сборки строительных конструкций, оформленных художественно архитектурно, с различным орнаментом.
Изобретение поясняется чертежами.
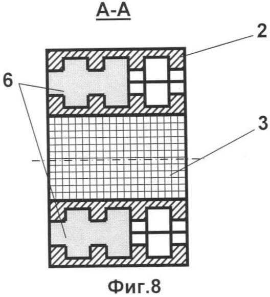
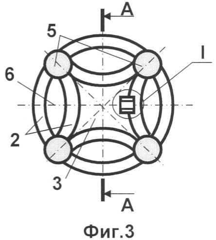
На фиг.1 изображен один из примеров строительной конструкции; на фиг.2, 3, 4 и 5 изображены примеры исполнения фрагментов строительных конструкций; на фиг.6 – разрез А-А на фиг.3 (прямолинейное выполнение рабочих поверхностей тонкостенных элементов и несущих вкладышей); на фиг.7, 8 и 9 – разрез А-А на фиг.3 (криволинейное выполнение рабочих поверхностей тонкостенных элементов и несущих вкладышей); на фиг. 10 – выносной элемент I на фиг.3.
Строительная конструкция состоит из опорно-ограничительного контура 1, выполненного, например, из жестких балок, замкнутых по периметру. В контуре 1 равномерно (упорядоченно) расположены тонкостенные элементы 2 (выполнены незамкнутыми), между которыми размещены несущие вкладыши 3, заполняющие к тому же все пустоты конструкции, например, промежутки между тонкостенными элементами 2 и опорно-ограничительным контуром 1. Все пространство контура 1 охвачено обвязкой 4, выполненной, например, преднапряженной и в виде вант из высокопрочных тросов или лент, заанкеренных концами в контур 1 с возможностью их натяжения. Все тонкостенные элементы 2 своими концами закреплены в стыковочных элементах 5. Помимо несущих вкладышей 3 между тонкостенными элементами 2 размещены вспомогательные элементы 6, установленные с возможностью растяжения (то есть предварительно сжаты). Тонкостенные элементы 2 и несущие вкладыши 3 установлены с возможностью продольного установочного перемещения относительно друг друга, например, при помощи шпонки 7 (не показаны).
Строительная конструкция собирается следующим образом.
В опорно-ограничительном контуре 1 по периметру устанавливаются и свободно фиксируются несущие вкладыши 3, после чего к ним пристраиваются предварительно собранные фрагменты (см. фиг.2-5). Далее создается предварительное напряжение всей конструкции путем натяжения обвязки 4. Происходит равномерное сжатие несущих вкладышей 3 и соответственно тонкостенных элементов 2. При необходимости, за счет взаимного продольного перемещения тонкостенных элементов 2 и несущих вкладышей 3 (см. фиг.10) обеспечивается локальная регулировка предварительного сжатия конструкции.
Благодаря взаимному распределению и оптимальной координации усилий между растянутыми вантами и сжатыми тонкостенными элементами и несущими вкладышами достигается максимальное использование несущей способности всех контактных площадей деталей строительной конструкции. А за счет стыковочных элементов 5 осуществляется предварительная сборка крупных сложных фрагментов сооружения, оформленных художественно архитектурно и выполненных с различным орнаментом. Ускоряются темпы сборки, повышается надежность, в особенности, при сборке всевозможных пространственных строительных конструкций.
Формула изобретения
1. Строительная конструкция, включающая опорно-ограничительный контур с равномерно расположенными в нем и охваченными обвязкой тонкостенными элементами с размещенными между ними несущими вкладышами, отличающаяся тем, что строительная конструкция дополнительно снабжена стыковочными элементами, в которых установлены с возможностью фиксации концы тонкостенных элементов.
2. Строительная конструкция по п.1, отличающаяся тем, что рабочие поверхности тонкостенных элементов и соответствующие им рабочие поверхности несущих вкладышей выполнены криволинейными, например, ступенчатыми.
3. Строительная конструкция по п.1, отличающаяся тем, что тонкостенные элементы и несущие вкладыши установлены с возможностью продольного установочного перемещения относительно друг друга.
4. Строительная конструкция по п.1, отличающаяся тем, что между тонкостенными элементами, в промежутках или их частях, размещены вспомогательные элементы, установленные с возможностью растяжения.
РИСУНКИ
|
|