|
|
(21), (22) Заявка: 2006128935/15, 09.08.2006
(24) Дата начала отсчета срока действия патента:
09.08.2006
(30) Конвенционный приоритет:
01.08.2005 UA UA200507626
(43) Дата публикации заявки: 20.02.2008
(46) Опубликовано: 20.08.2008
(56) Список документов, цитированных в отчете о поиске:
SU 38116 А1, 31.08.1934. SU 1484296 A3, 30.05.1989. SU 1320231 А1, 30.06.1987. UA 66102 А, 15.04.2004. US 4133719 А, 09.01.1979.
Адрес для переписки:
61002, Украина, г. Харьков, ул. Сумская, 60, ГИПРОКОКС
|
(72) Автор(ы):
Рудыка Виктор Иванович (UA), Зубилин Иван Георгиевич (UA), Зингерман Юрий Ефимович (UA)
(73) Патентообладатель(и):
Государственный институт по проектированию предприятий коксохимической промышленности, ГИПРОКОКС (UA)
|
(54) СПОСОБ ПОЛУЧЕНИЯ КОКСА БЕЗ УЛАВЛИВАНИЯ ХИМИЧЕСКИХ ПРОДУКТОВ КОКСОВАНИЯ
(57) Реферат:
Изобретение может быть использовано в коксохимической промышленности. На горизонтальной подложке 4 трамбовочной камеры 3 с помощью трамбовочных приспособлений 6 формируют одинаковый по высоте угольный пирог. Сформированный угольный пирог наклоняют под углом, соответствующим углу наклона камеры коксования 1, и осуществляют загрузку угольного пирога путем регулируемого самосхода. В закрытой камере коксования 1 осуществляют процесс коксования угольной шихты. Готовый кокс выгружают через двери 8 в тушильный вагон 9. Изобретение позволяет обеспечить высокую производительность печи и качество кокса, расширить диапазон применяемого сырья. 1 ил.
Изобретение относится к способам получения кокса без улавливания химических продуктов коксования и может найти применение в коксохимической промышленности.
Известен способ получения кокса, осуществляемый в вертикальных коксовых печах, включающий предварительное формирование одинакового по высоте слоя угольного пирога вне камеры коксования путем трамбовки шихты с последующим опрокидыванием угольного пирога в камеру коксования, процесс коксования, выгрузку горячего кокса (см., например, пат.US 6332957, МПК: С10В 31/10; С10В 45/02, оп. 25.12.2000).
Недостатками известного способа являются невозможность достижения высокой производительности процесса формирования вертикального угольного пирога, обусловленная длительностью процесса трамбования из-за ограниченной рабочей площади трамбования и невозможностью, в связи с этим, увеличения количества одновременно работающих механических трамбовочных устройств. Кроме того, трамбование угольного пирога для вертикальных узкокамерных коксовых печей высотой 5 м и более требует высоких трамбовочных устройств и усложняет технологию трамбования, особенно нижних слоев угольного пирога. Также при опрокидывании угольного пирога в коксовую камеру невозможно сохранить его целостность, требуются мероприятия против обрушения пирога.
Известен также способ получения кокса, осуществляемый в печах без улавливания химических продуктов коксования, включающий загрузку угольной шихты в камеру коксования, формирование одинакового по высоте слоя угольного пирога путем трамбования на горизонтальной подложке вне камеры, которую вводят в камеру коксования на неконсольном конвейере, а после трамбования угольного пирога отводят из камеры, коксование с образованием летучих химических продуктов, их сжиганием и утилизацией тепла, выгрузку горячего кокса (см., например, пат. US 6059932, МПК: С10В 37/02; С10В 15/02, заяв. 9.05.2000).
Недостатками известного решения являются техническая сложность и относительно большая длительность процесса, необходимость охлаждения подложки и угольного конвейера, подаваемого в раскаленную камеру, а, кроме того, процесс трамбования осуществляется внутри раскаленной камеры, т.е. уже с момента начала ввода угольной шихты в камеру и до отвода конвейера из камеры происходит дегазация и выброс газов в атмосферу, ухудшая экологические показатели процесса, кроме того, механическая вибрация опасна для кладки камеры.
Известен также способ получения кокса без улавливания химических продуктов коксования, включающий загрузку угольной шихты в камеру коксования, имеющую наклон под углом, соответствующим углу естественного откоса шихты, формирование одинакового по высоте слоя угольного пирога, коксование угольной шихты с образованием летучих химических продуктов их сжигание и утилизацию, выгрузку горячего кокса (см., например, заявка UA 200501301, МПК: С10В 9/00; С10В 29/00, заявл. 14.02.05).
По технической сущности и достигаемому результату известное техническое решение является наиболее близким к заявляемому.
В известном техническом решении формирование одинакового по высоте слоя угольного пирога по всей площади пода камеры коксования обеспечивается наклонным расположением камеры коксования и зависит от насыпного веса конкретного угольного сырья. Недостатком известного способа является зависимость производительности печи и качества кокса от свойств конкретного сырья.
В основу изобретения положена задача – создать способ получения кокса без улавливания химических продуктов коксования, позволяющий обеспечить высокие производительность печи и качество кокса за счет достижения максимальной плотности коксового пирога и расширить диапазон применяемого сырья.
Поставленная задача решается в способе получения кокса без улавливания химических продуктов коксования, включающем загрузку угольной шихты в камеру коксования, имеющую наклон под углом, соответствующим углу естественного откоса шихты, формирование одинакового по высоте слоя угольного пирога, коксование угольной шихты с образованием летучих химических продуктов, их сжигание и утилизацию тепла, выгрузку горячего кокса; при этом угольный пирог, сформированный трамбованием на горизонтальной подложке вне камеры, наклоняют под углом, соответствующим углу наклона камеры коксования, и осуществляют загрузку угольного пирога путем регулируемого самосхода.
Отличительным признаком заявляемого способа является:
– угольный пирог, сформированный трамбованием на горизонтальной подложке вне камеры, наклоняют под углом, соответствующим углу наклона камеры коксования, и осуществляют загрузку угольного пирога путем регулируемого самосхода.
Исходя из описанного уровня техники вытекает, что указанное отличие является новым.
Загрузка угольного пирога, утрамбованного вне камер коксования, в наклонную камеру коксования с наклонной подложки существенно сокращает время загрузки, технологически ее упрощает, что позволяет повысить производительность печи. Способ позволяет достичь управляемости технологии коксования трамбованных угольных пирогов по основным параметрам путем регулируемого изменения состава угольной шихты, плотности угольного пирога и его высоты, а также периода коксования, сократить время пребывания камеры в открытом состоянии.
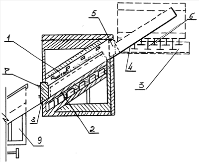
На чертеже представлена схема, поясняющая заявляемый способ.
Способ получения кокса без улавливания химических продуктов коксования осуществляют в камере коксования 1, под 2, который наклонен в соответствии с углом естественного откоса шихты; имеется трамбовочная камера 3 с подложкой 4, дверной проем 5 с машинной стороны камеры коксования 1, трамбовочные приспособления 6, разгрузочное устройство 7, двери 8 с коксовой стороны для регулируемого самосхода в тушильный вагон 9.
Способ осуществляют следующим образом.
Перед загрузкой угольной шихты в камеру коксования 1 на подложке 4 трамбовочной камеры 3 с помощью трамбовочных приспособлений 6 формируют одинаковый по высоте угольный пирог. Подложка 4 находится в горизонтальном положении на уровне нижней кромки дверного проема 5 камеры 1 с машинной стороны. Для осуществления загрузки угольного пирога в камеру коксования 1 сторона подложки 4, противоположная дверному проему 5, поднимается таким образом, что угол наклона подложки 4 равен углу наклона камеры коксования 1, т.е. под 2 камеры и подложка образуют одну плоскость. Далее осуществляют регулируемый самосход угольного пирога на под 2 камеры коксования 1. По его окончании положка 4 с трамбовочной камерой 3 возвращается в горизонтальное положение. Камера 1 закрывается. Осуществляют процесс коксования угольной шихты с образованием летучих химических продуктов, их сжиганием и дальнейшей утилизацией тепла. Готовый кокс выгружают через двери 8 с коксовой стороны в тушильный вагон 9.
Способ поясняется следующим примером.
Пример 1. Угольную шихту, имеющую состав: Г=63,0; Ж=20,0; ОС=5,0; Т=12,0, загружают на подложку 4, площадью, равной площади камеры коксования 75 м2 (ширина 5,0 м; длина 15,0 м) и подвергают трамбованию с помощью трамбовочных устройств, формируя одинаковый по высоте слой угольного пирога 1,0±0,2 м. Время трамбования – 1,5-2 мин. Для осуществления загрузки угольного пирога в камеру коксования 1 сторону подложки 4, противоположную дверному проему 5, поднимают таким образом, что угол наклона подложки 4 равен углу наклона камеры коксования 1, под камеры и подложка образуют одну плоскость. Осуществляют регулируемый самосход угольного пирога в камеру коксования. После этого осуществляют процесс коксования. В результате выход летучих составляет: V=31,8.
Качество кокса: M25=89,1; M10=5,5-5,3.
Пример 2. Для шихты, имеющей состав: Г=60,0; Ж=20,0; ОС=10,0; Т=10,0; V=29,2-29,0.
Качество кокса: М25=88,8; М10=5,9-6,0.
Пример 3. Для шихты, имеющей состав: Г=60,0; Ж=20,0; ОС=5,0; Т=10,0; СС=3,0; ПА=2,0; V=27,1-27,2.
Качество кокса: М25=90,0; М10=5,4.
Технико-экономические преимущества заявляемого способа по сравнению со способом-прототипом состоят в обеспечении высокой производительности печи и качества кокса, расширении диапазона применяемого сырья.
Формула изобретения
Способ получения кокса без улавливания химических продуктов коксования, включающий загрузку угольной шихты в камеру коксования, имеющую наклон под углом, соответствующим углу естественного откоса шихты, формирование одинакового по высоте слоя угольного пирога, коксование угольной шихты с образованием летучих химических продуктов, их сжигание и утилизацию тепла, выгрузку горячего кокса, отличающийся тем, что угольный пирог, сформированный трамбованием на горизонтальной подложке вне камеры, наклоняют под углом, соответствующим углу наклона камеры коксования.
РИСУНКИ
|
|