|
|
(21), (22) Заявка: 2004121999/15, 16.07.2004
(24) Дата начала отсчета срока действия патента:
16.07.2004
(30) Конвенционный приоритет:
17.07.2003 US 10/604,404
(43) Дата публикации заявки: 20.01.2006
(46) Опубликовано: 20.08.2008
(56) Список документов, цитированных в отчете о поиске:
US 4613492 А, 23.09.1986. SU 239278 A1, 01.01.1969. SU 191737 A1, 03.04.1967. US 4296085 A, 20.10.1981. GB 1156003 A, 25.06.1969.
Адрес для переписки:
129010, Москва, ул. Б.Спасская, 25, стр.3, ООО “Юридическая фирма Городисский и Партнеры”, пат.пов. С.А.Дорофееву
|
(72) Автор(ы):
МАЛХОТРА Авинаш (US), АХМАД Туфайл (US), ВЕЛТЕР Брэдли Ричард (US)
(73) Патентообладатель(и):
КЕЛЛОГГ БРАУН ЭНД РУТ, ИНК. (US)
|
(54) УСТАНОВКА ОЧИСТКИ С НИЗКИМ Р ДЛЯ УДАЛЕНИЯ АЗОТА, МЕТАНА И АРГОНА ИЗ СИНГАЗА
(57) Реферат:
Изобретение относится к способу и устройству для получения синтез-газа для производства аммиака. Способ очистки сингаза включает: введение потока исходного сингаза в зону питания дистилляционной колонны, расширение потока жидких остатков из дистилляционной колонны с помощью расширителя жидкости с извлечением работы для образования потока охлажденной сбросовой жидкости, ректификацию пара из зоны питания для образования верхнего потока пара со сниженным содержанием азота и инертных газов, охлаждение верхнего потока пара в непрямом теплообмене с потоком охлажденной сбросовой жидкости для образования частично конденсированного верхнего потока и потока частично нагретой сбросовой жидкости, разделение частично конденсированного верхнего потока на поток конденсата и поток очищенного пара сингаза со сниженным содержанием азота и инертных газов и орошение дистилляционной колонны потоком конденсата. По первому варианту способ производства аммиака включает реформинг углеводорода для образования сингаза, охлаждение потока исходного сингаза, расширение охлажденного потока исходного сингаза, введение расширенного потока исходного сингаза в зону питания в дистилляционной колонне, расширение потока жидких остатков из дистилляционной колонны с помощью расширителя жидкости для образования потока охлажденной сбросовой жидкости, ректификацию пара из зоны питания в дистилляционной колонне для образования верхнего потока пара со сниженным содержанием азота и инертных газов, охлаждение верхнего потока пара в непрямом теплообмене с потоком охлажденной сбросовой жидкости для образования частично конденсированного верхнего потока и потока частично нагретой сбросовой жидкости, разделение частично конденсированного верхнего потока на поток конденсата и поток очищенного пара сингаза со сниженным содержанием азота и инертных газов, орошение дистилляционной колонны потоком конденсата, нагревание потока очищенного пара сингаза в теплообменнике с поперечным потоком, нагревание потока частично нагретой сбросовой жидкости в теплообменнике с поперечным потоком, подачу потока очищенного пара сингаза из теплообменника с поперечным потоком в контур синтеза аммиака. По второму варианту способ производства аммиака включает реформинг углеводорода с избытком воздуха для образования потока исходного сингаза, удаление азота и инертных газов из потока исходного сингаза дистилляцией, при этом обеспечивают охлаждение при помощи расширения жидкости посредством расширителя-генератора, а верхний поток частично конденсируют сбросовым потоком, охлажденным посредством расширения жидких остатков из дистилляционной колонны, и подачу сингаза со сниженным содержанием азота и инертных газов с дистилляции в контур синтеза аммиака, при котором жидкие остатки расширяют с помощью расширителя жидкости с извлечением работы. Изобретение позволяет улучшить производственные и экономические характеристики. 5 н. и 14 з.п. ф-лы, 5 ил., 3 табл.
Область техники, к которой относится изобретение
Данное изобретение относится к способу и устройству для получения синтез-газа для производства аммиака. Изобретение снижает потери давления в установке очистки с азотной продувкой.
Предпосылки создания изобретения
Способы производства аммиака из углеводорода и воздуха через водород/азотный синтез-газ (сингаз) хорошо известны. Побочные компоненты сингаза обычно включают инертные газы из воздуха и/или углеводородного топлива, такие как аргон и метан. Когда при получении сингаза используют избыток воздуха, также присутствует азот в стехиометрическом избытке, который должен быть удален из исходного полученного потока сингаза или продувочного из контура синтеза аммиака с поддержанием желаемого состава питания реактора синтеза аммиака.
В патенте США 3442613 (Grotz) описан способ получения сингаза с использованием избытка воздуха и криогенной очистки сингаза, который основан на падении давления сингаза выше по потоку очистки для охлаждения. Падение давления по существу обеспечивается в компрессоре, который доводит сингаз до давления контура синтеза аммиака. Способ также снижает скорость потока рециклируемого газа или газа продувки из контура реактора аммиака благодаря удалению выше по потоку из полученного сингаза инертных газов, таких как аргон и метан, в очистке сингаза.
В патенте США 4568530 (Mandelik et al.) описан способ синтеза аммиака, использующий катализатор высокой активности в реакторе синтеза аммиака. Продувочные газы устраняются посредством способа водородного обогащения, работающего на боковом потоке сингаза, рециклируемого компрессором контура синтеза. Общий рециклируемый поток примерно в три раза превышает объемную скорость потока полученного сингаза.
В патенте США 4681745 (Pinto) описано использование разделения воздуха с обеспечением кислородобогащенного воздуха, так что реформинг производит синтез-газ с более высоким углеводородным клином, чем в других системах получения аммиака. Более высокая концентрация нереакционного газа в синтезе аммиака регулируется продувкой из потока остаточного сингаза после извлечения аммиачного продукта. Это обеспечивает разгрузку реакторов первоначального газового реформинга за счет включения разделения воздуха, но очевидно обеспечивает переработку меньшего продувочного потока после синтеза аммиака.
В патенте США 5180570 (Lee et al.) описана интегрированная система переработки для синтеза метанола и аммиака. Секция синтеза аммиака использует азотную промывку посредством криогенного фракционирования для очистки аммиачного сингаза с охлаждением, подаваемым снаружи, и без извлечения энергии расширения в способе.
В работе Gosnell et al., “New Kellog Brown & Root Ammonia Process”, July 1999, представленной на симпозиуме AIChE Safety Symposium, September 1999, описан способ синтеза аммиака, использующий криогенную очистку сингаза, объединенную с оптимизированной установкой первоначальной переработки для генерирования сингаза и аммиачным катализатором высокой активности в синтезе.
Краткое описание изобретения
Настоящее изобретение относится к способу очистки сингаза, например, такому, как имеет место в способах производства аммиака. Способ использует криогенную дистилляцию для очистки сингаза и получает охлаждение для дистилляции от расширения сбросовой жидкости с использованием расширителя жидкости с регенерированием механической работы от сбросовой жидкости. Этот способ обеспечивает снижение потери давления в потоке сингаза и, соответственно, снижение стоимости сжатия и энергии по сравнению с аналогичными известными аммиачными способами, использующими удаление азота и инертных газов.
Способ согласно изобретению особенно применим в массовых установках, а также, предпочтительно, применим для модернизации существующих систем синтеза газа для улучшения производственных характеристик и экономики. При модификации, например, низкое падение давления согласно изобретению может обеспечить модификацию способа для реформинга с избытком воздуха и удалением азота из полученного сингаза без дорогостоящей модификации или замены контура синтеза и/или компрессоров полученного газа.
В одном варианте настоящее изобретение относится к способу очистки сингаза, включающему: (а) введение потока исходного сингаза, содержащего избыток азота, в зону питания дистилляционной колонны; (b) расширение потока жидких остатков из дистилляционной колонны через расширитель жидкости с выходной работой для образования потока охлажденной сбросовой жидкости; (с) ректифицирование пара из зоны питания в дистилляционной колонне для образования верхнего потока пара со сниженным содержанием азота и инертных газов; (d) охлаждение верхнего потока пара в непрямом теплообмене с потоком охлажденной сбросовой жидкости для образования частично конденсированного верхнего потока и потока относительно теплой сбросовой жидкости; (е) разделение частично конденсированного верхнего потока на поток конденсата и поток очищенного пара сингаза со сниженным содержанием азота и инертных газов; и (f) орошение дистилляционной колонны потоком конденсата. Способ также включает охлаждение потока исходного сингаза посредством расширения с помощью вентиля Джоуль-Томпсона (J-T) перед введением в зону питания. Кроме того, способ может включать охлаждение потока исходного сингаза в поперечном теплообмене с потоком теплой сбросовой жидкости и потоком очищенного пара сингаза. В этом варианте регулирование потока в расширении потока жидких остатков регулирует уровень жидкости в дистилляционной колонне.
Способ может дополнительно включать получение исходного синтез-газа посредством реформинга углеводорода, в котором реформинг включает автотермический или вторичный реформинг с избытком воздуха. И посредством этого способа поток очищенного пара сингаза может быть подан в контур синтеза аммиака для производства аммиака.
В другом варианте настоящее изобретение относится к способу производства аммиака, включающему: (а) реформинг углеводорода с образованием сингаза, при этом реформинг включает автотермический или вторичный реформинг с избытком воздуха для образования потока исходного сингаза, содержащего избыток азота для синтеза аммиака; (b) охлаждение потока исходного сингаза в теплообменнике с поперечным потоком; (с) расширение охлажденного потока исходного сингаза из теплообменника с поперечным потоком; (d) введение расширенного потока исходного сингаза в зону питания дистилляционной колонны; (е) расширение потока жидких остатков из дистилляционной колонны через расширитель жидкости для образования потока охлажденной сбросовой жидкости; (f) ректифицирование пара из зоны питания в дистилляционной колонне для образования верхнего потока пара со сниженным содержанием азота и инертных газов; (g) охлаждение верхнего потока пара в непрямом теплообмене с потоком охлажденной сбросовой жидкости для образования частично конденсированного верхнего потока и потока частично нагретой сбросовой жидкости; (h) разделение частично конденсированного верхнего потока на поток конденсата и поток очищенного пара сингаза со сниженным содержанием азота и инертных газов; (i) орошение дистилляционной колонны потоком конденсата; (j) нагревание потока очищенного пара сингаза в теплообменнике с поперечным потоком; (k) нагревание потока частично нагретой сбросовой жидкости в теплообменнике с поперечным потоком; (l) подачу потока очищенного пара сингаза из теплообменника с поперечным потоком в контур синтеза аммиака.
В другом варианте настоящее изобретение может относиться еще к одному способу производства аммиака, включающему: реформинг углеводорода с избытком воздуха для образования потока исходного сингаза, удаление азота и инертных газов из потока исходного сингаза посредством дистилляции, при этом обеспечивают охлаждение при помощи расширения жидкости посредством расширителя-генератора, а верхний поток частично конденсируют сбросовым потоком, охлажденным посредством расширения жидких остатков из дистилляционной колонны, и подачу сингаза со сниженным содержанием азота и инертных газов из дистилляции в контур синтеза аммиака. В данном варианте способ производства аммиака включают: (а) необязательное расширение потока исходного сингаза с помощью вентиля Джоуля-Томпсона вверх по потоку дистилляционной колонны; и (b) расширение жидких остатков с помощью расширителя жидкости для получения выходной работы.
В другом варианте настоящее изобретение относится к очистному устройству для очистки потока исходного сингаза, содержащего избыток азота, содержащему: средство введения потока исходного сингаза в зону питания дистилляционной колонны; средство расширения потока жидких остатков из дистилляционной колонны для образования потока охлажденной сбросовой жидкости; средство ректифицирования пара из зоны питания в дистилляционной колонне для образования верхнего потока пара с сниженным содержанием азота и инертных газов; средство охлаждения верхнего потока пара в непрямом теплообмене с потоком охлажденной сбросовой жидкости для образования частично конденсированного верхнего потока и потока относительно теплой сбросовой жидкости; средство разделения частично конденсированного верхнего потока на поток конденсата и поток очищенного пара сингаза с сниженным содержанием азота и инертных газов; и средство орошения дистилляционной колонны потоком конденсата.
В другом варианте настоящее изобретение относится к установке для получения аммиака, содержащей: (а) средство реформинга углеводорода для образования сингаза, при этом средство реформинга включает автотермический или вторичный реформер и средство подачи избытка воздуха в автотермический или вторичный реформер для образования потока исходного сингаза, содержащего избыток азота, для синтеза аммиака; (b) средство теплообмена с поперечным потоком для охлаждения потока исходного сингаза; (с) средство расширения охлажденного потока исходного сингаза из теплообменника с поперечным потоком; (d) средство введения потока расширенного исходного сингаза в зону питания в дистилляционной колонне; (е) средство расширения потока жидких остатков из дистилляционной колонны с помощью расширителя жидкости для образования потока охлажденной сбросовой жидкости; (f) средство ректифицирования пара из зоны питания в дистилляционной колонне для образования верхнего потока пара со сниженным содержанием азота и инертных газов; (g) средство охлаждения верхнего потока пара в непрямом теплообмене с потоком охлажденной сбросовой жидкости для образования частично конденсированного верхнего потока и потока частично нагретой сбросовой жидкости; (h) средство разделения частично конденсированного верхнего потока на поток конденсата и поток очищенного пара сингаза со сниженным содержанием азота и инертных газов; (i) средство орошения дистилляционной колонны потоком конденсата; (j) средство нагревания потока очищенного пара сингаза в теплообменнике с поперечным потоком; (k) средство нагревания потока частично нагретой сбросовой жидкости в теплообменнике с поперечным потоком; и (l) средство подачи потока очищенного пара сингаза из теплообменника с поперечным потоком в контур синтеза аммиака.
Краткое описание чертежей
На фиг.1 изображена технологическая схема известного способа очистки сингаза, использующего подачу сингаза вверх по потоку для приведения в действие расширителя и извлечения энергии сингаза в качестве работы для достижения автоохлаждения.
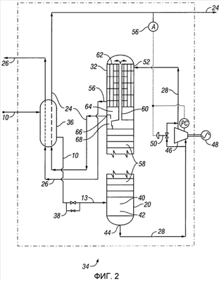
На фиг.2 изображена технологическая схема варианта настоящего изобретения, использующего расширения потока азотобогащенных жидких остатков для генерирования автоохлаждения в способе.
На фиг.3 изображена технологическая схема, показывающая альтернативный вариант настоящего изобретения, в котором подача сингаза или сжиженного отходящего газа может быть расширена с помощью расширителя жидкости для охлаждения.
На фиг.4 изображена принципиальная схема варианта изобретения, показывающая удаление азота с низким падением давления, интегрированное в способе синтеза аммиака со вторичным реформингом с избытком воздуха и теплообменным реформингом.
На фиг.5 изображена принципиальная схема альтернативного варианта, показывающая удаление азота с низким падением давления, интегрированное в способе синтеза аммиака с традиционным первичным реформингом с водяным паром и вторичным реформингом с избытком воздуха.
Подробное описание изобретения
На фиг.1-3 подобные потоки и элементы имеют одинаковые ссылочные позиции, а на фиг.1 представлена очистка сингаза, известная из уровня техники, РА. Поток подаваемого сингаза 10 приводит в действие расширитель 12, извлекающий энергию сингаза как работу 14 для достижения автоохлаждения. Подаваемый поток 10 охлаждается в теплообменниках с поперечным потоком 16, 18 при непрямом теплообмене с потоками холодных продуктов из дистилляционной колонны 20. Между теплообменниками с поперечным потоком 16, 18 исходный сингаз 10 расширяется в турборасширителе 12 с охлаждением исходного сингаза 10 и извлечением работы 14. Расширитель 12 может быть обойден или дополнен при помощи использования вентиля Джоуля-Томсона (J-T) 22, например, в процессе запуска. Частично сжиженный исходный сингаз 13 из теплообменника с поперечным потоком 18 поступает в дистилляционную колонну 20 для дополнительного охлаждения, частичной конденсации и ректифицирования с получением потока очищенного сингаза 24 с сниженным содержанием азота и инертных газов и сбросового потока водородобедненного газа 26. Поток очищенного сингаза 24 и сбросовый газовый поток 26 проходят через теплообменники с поперечным потоком 16, 18 для охлаждения потока питания исходного сингаза 10, как указано ранее.
Сбросовый газовый поток 26 выгружается из дистилляционной колонны 20 как поток остатков 28, испаряется через клапан 30 регулирования уровня и используется в качестве хладагента в теплообменнике 32, выполненном как целое с дистилляционной колонной 20. Теплообменник 32 охлаждает и частично конденсирует верхний поток пара из колонны 20 для получения жидкого сингаза для орошения колонны 20. Полученный поток сингаза 24 сжимают для конверсии в реакторах аммиачного синтеза (не показано), которые работают при более высоких давлениях. Таким образом, падение давления, которое претерпевает исходный сингаз 10 в очистке РА, должно быть компенсировано ниже по потоку расходованием дополнительной энергии для сжатия.
На фиг.2 представлен вариант очистки сингаза 34 согласно настоящему изобретению, использующий механическое расширение потока жидких остатков 28 с генерированием основной части самоохлаждения в способе очистки 34. Вместо теплообменников с поперечным потоком 16, 18 на фиг.1 используют единственный теплообменник 36 с поперечным потоком, хотя теплообменник 36 с поперечным потоком может включать множество физических стадий. Поток исходного сингаза 10 пропускают через вентильную станцию 38 выше по потоку дистилляционной колонны 20. Вентильная станция 38 может включать линейный вентиль для потока в процессе нормальной работы и вторичный J-T-вентиль для регулирования и/или запуска для автоохлаждения. Поток исходного сингаза 10 затем поступает в зону впуска 40 колонны 20, предпочтительно, как смесь пара и жидкости сингаза. В зоне впуска 40 жидкость сингаза отделяется и собирается в зоне удерживания жидкости 42. Жидкость выходит из колонны 20 как поток остатков 28 через нижний выпуск 44. Поток 28 остатков колонны 20 расширяется с помощью расширителя жидкости 46 с автоохлаждением остатков 28 и извлечением работы 48, которая может быть использована для приведения в действие насоса, компрессора, электрогенератора или подобного. Как использовано здесь, “расширитель жидкости” является устройством, выдающим работу, которое принимает подачу жидкости и производит выходящий жидкий или парообразный продукт, предпочтительно, смешанный парожидкий выходящий продукт. Когда выходящим продуктом является жидкость, расширителем жидкости 46 может быть гидравлическая турбина.
Байпасный J-T-вентиль 50 вводят для газового или двухфазного потока, например, при запуске. При работе расширение потока остатков 28 является, предпочтительно, основным источником автоохлаждения в способе очистки сингаза 34 настоящего изобретения, тогда как расширение посредством байпасного J-T-вентиля на вентильной станции 38 является относительно малым источником. Однако байпасный J-T-вентиль может быть значительным источником охлаждения при запуске.
Из расширителя 46 жидкости поток 28 охлажденной сбросовой жидкости поступает на впуск хладагента 52 зоны непрямого теплообмена 32, выполненной за одно целое с колонной 20. Скорость потока в расширителе жидкости 46 регулирует уровень жидкости в зоне удерживания 42, а также частично регулирует условия в колонне 20 на основе обратной связи от анализатора сингаза 56. Условия в колонне 20 определяют состав потока очищенного сингаза 24, т.е. большее охлаждение снижает содержание азота, а меньшее охлаждение увеличивает его. Поток 28 охлажденной сбросовой жидкости проходит через зону теплообмена 32, выходя из колонны 20 через выпуск хладагента 56. В процессе прохождения через зону теплообмена 32 поток 28 остатков охлаждается и частично конденсирует верхний пар из колонны 20.
Из зоны впуска 40 пар сингаза проходит вверх через зону контакта 58 в контакте с жидкостью, текущей вниз через зону контакта 58, с абсорбированием азота и обогащением водородосодержания пара. На верхнем конце зоны 58 контакта пар поступает в паровой стакан 60 и идет в зону 62 впуска пара на верхнем конце зоны теплообмена 32. Пар проходит участок труб через зону 32 теплообмена с частичной конденсацией потоком сбросовой жидкости, дополнительно обогащая пар низкокипящими компонентами. Пар и конденсат выходят из зоны 32 теплообмена и разделяются в зоне ударной сепарации 64. Пар выходит из колонны 20 в виде потока очищенного сингаза 24, выходя через выпуск сингаза 66. Конденсат собирают в герметичном отстойнике 68 жидкости ниже зоны 64 ударной сепарации и в сообщении с зоной 58 контакта. Конденсат перетекает из герметичного отстойника 68 в поток ниже через зону 58 контакта в зону 42 удерживания жидкости, как указано ранее.
На фиг.3 представлен другой вариант способа очистки сингаза 70, в котором РА-способ на фиг.1 может быть модифицирован или модернизирован согласно настоящему изобретению. Расширитель 46 жидких остатков добавляют к автоохлаждению потока 28 остатков при извлечении работы, например, в виде энергии 48. Также устанавливают байпасный J-T-вентиль 50, как на фиг.2. Полученный модифицированный способ очистки 70 сравним с вариантом изобретения на фиг.2, но может также работать в первоначальной конфигурации, если желательно. Для работы с низким падением давления первоначальный турборасширитель сингаза 12 обводится и вентиль 22 устанавливается полностью открытым, или, необязательно, обводится (не показано).
В предпочтительном варианте настоящего изобретения расширение потока жидких побочных продуктов продуваемых газов, т.е. потока 28 остатков колонны, генерирует основную часть самоохлаждения, необходимого для способа очистки. Это устраняет основную часть потери давления, имеющей место в известной конструкции на фиг.1. В известном РА-способе падение давления около 3,1 бар обычно имеет место от введения потока 10 питания сингаза с выходом потока 24 очищенного сингаза. Это имеет место благодаря расширителю 12, который снижает давление исходного сингаза примерно на 1,8-2,0 бар. В варианте настоящего изобретения, показанном на фиг.2, падение давления от введения потока 10 питания сингаза с выходом потока 24 очищенного сингаза может быть ограничено в интервале 0,75-1,3 бар при получении основной части требуемого эффекта самоохлаждения от расширения потока 18 остатков колонны вместо эффекта от потока 10 питания исходного сингаза.
Что касается фиг.4, вариант способа получения аммиака может включать каталитический реформинг питания, включающего углеводород 100 и пар 102, в реакторе/теплообменнике 104 типа, известного под торговой маркой KRES. Дополнительный реформинг питания, включающего углеводород 100 и пар 102, с избытком воздуха 106 в качестве окислителя может быть осуществлен в установке вторичного реформинга 108. Способ может также включать конверсию с высоким и/или низким изменением температуры и удаление диоксида углерода 110, конверсию в метан и сушку 112, очистку сингаза 114, как описано в ссылке на фиг.2 или фиг.3, сжатие 116 и синтез аммиака 118. Поток продувки 120 рециклируется от синтеза аммиака 118 к очистке сингаза 114 выше по потоку, например к конверсии в метан и сушке 112. Рециклируемый поток 120 может быть относительно меньше по скорости массового потока, чем поток 10 исходного сингаза (смотри фиг.2), например, в интервале от примерно 5 мас.% до 25 мас.% потока 10 исходного сингаза, и, предпочтительно, в интервале от 10 до 20 мас.% исходного потока 10. Сбросовый газовый поток 26 может быть отведен в виде топливного газа.
Что касается фиг.5, другой вариант способа получения аммиака может включать каталитический реформинг питания, включающего углеводород 100 и пар 102, в традиционном первичном реформере 122 с последующим дополнительным реформингом с избытком воздуха 106 в традиционном вторичном реформере 124. Изменение конверсии и удаление диоксида углерода 110, конверсия в метан и сушка 112, очистка сингаза 114, сжатие 116, синтез аммиака 118 и рециклирование потока продувки 120 являются такими, как описано в отношении фиг.4. Сбросовый газовый поток 26 может быть сожжен в качестве топлива в первичном реформере 122 и/или отведен для топливного газа, как на фиг.4.
Способ очистки на фиг.2 может быть использован в новой установке для улучшения энергопотребления и экономии капитальных затрат или может быть использован для модернизации существующего способа очистки, подобного способу на фиг.1, со снижением эксплуатационных затрат и/или увеличением производительности. Способ на фиг.2 также может быть использован для модернизации существующей установки, которая не использует очистку и/или избыток воздуха. Модернизация реформинга с избытком воздуха может увеличить производительность существующей установки и увеличить срок службы труб и/или других элементов в существующей установке (установках) реформинга при смещении части мощности реформинга к вторичному реформеру и снижении рабочей температуры первичного реформера. Удаления азота также обеспечивает более гибкую работу реформинга (например, более высокий клин метана) и меньшую продувку или рециклирование из контура синтеза аммиака благодаря снижению содержания инертных газов с удалением азота. Модернизации азотной очистки/избытка воздуха с использованием способа очистки с низким Р могут улучшить модернизацию при снижении или исключении степени модификаций компрессора для получения сингаза, что может сделать модернизацию экономически осуществимой для большого числа существующих установок аммиака.
Пример
Способ очистки варианта настоящего изобретения на фиг.2 сравнивают с известным способом очистки на фиг.1. Как способ на фиг.1, так и способ на фиг.2 обеспечивают переработку потока 10 исходного сингаза для получения потока 24 очищенного сингаза и сбросового газового потока 26, и составы входящего и выходящего потоков являются одинаковыми в обоих случаях, как показано в таблице 1 ниже.
| Таблица 1 |
| Показатели очистки сингаза |
| |
Состав потока, мол.% |
| Компонент газа |
Исходный сингаз (10) |
Очищенный сингаз(24) |
Сбросовый газ(26) |
| Водород |
65,8 |
74,7 |
6,6 |
| Азот |
31,4 |
24,9 |
74,2 |
| Метан |
2,2 |
0,006 |
16,7 |
| Аргон |
0,6 |
0,4 |
2,5 |
| Всего |
100,0 |
100,0 |
100,0 |
Работу способа с низким P моделируют для установки производительностью 2200 тн/день аммиака при сравнении рабочих температур, давлений и скоростей потоков с этими же параметрами известного способа на фиг.1 в качестве базы. Результаты показаны в таблице 2 ниже.
| Таблица 2 |
| Рабочие условия очистки |
| База: 2200 тн/день аммиака |
| Поток способа, расположение |
Базовый случай (Фиг.1) |
Пример (Фиг.2) |
| Исходный сингаз (10), впуск в теплообменник с поперечным потоком (20) |
|
|
| Температура, °C |
4,0 |
4,0 |
| Давление, кПа |
3,479,0 |
3,479,0 |
| Поток массы, кг/ч |
142,124 |
142,124 |
| Исходный сингаз (10), впуск в колонну (20) |
|
|
| Температура, °C |
-172,6 |
-172,0 |
| Давление, кПа |
3,240,0 |
3,454,0 |
| Поток массы, кг/ч |
142,124 |
142,124 |
| Исходный сингаз (10), впуск из колонны (20) |
|
|
| Температура, °C |
-178,6 |
-178,2 |
| Давление, кПа |
3,215,0 |
3,429,0 |
| Поток массы, кг/ч |
99,607 |
99,529 |
| Сингаз (24), выпуск из теплообменника с поперечным потоком (16, 20) |
|
|
| Температура, °C |
1,3 |
2,1 |
| Давление, кПа |
3,165,0 |
3,404,0 |
| Поток массы, кг/ч |
99,607 |
99,529 |
| Жидкие остатки (28), выпуск из колонны (20) |
|
|
| Температура, °C |
-172,8 |
-172,2 |
| Давление, кПа |
3,240,0 |
3,454,0 |
| Поток массы, кг/ч |
42,517 |
42,596 |
| Сбросовая жидкость (26), впуск в теплообменник (32) |
|
|
| Температура, °C |
-186,0 |
-187,6 |
| Давление, кПа |
319,0 |
302,1 |
| Поток массы, кг/ч |
42,517 |
42,596 |
| Сбросовая жидкость (26), выпуск из теплообменника с поперечным потоком (16, 36) |
|
|
| Температура, °C |
1,3 |
2,1 |
| Давление, кПа |
256,4 |
253,3 |
| Поток массы, кг/ч |
42,517 |
42,596 |
Данные в таблице 2 показывают, что скорости потоков и температуры являются одинаковыми, но падение давления сингаза между впуском и выпуском согласно способу очистки является значительно ниже в примере на фиг.2 по сравнению с базовым случаем на фиг.1. Это обычно требует меньшего сжатия полученного газа в системе давления синтеза аммиака. Также определяют требования в отношении энергии для сжатия полученного сингаза, расхода энергии расширения жидкости и энергии чистого сжатия и расширения для базового случая на фиг.1 и примера на фиг.2. Результаты показаны в таблице 3 ниже.
| Таблица 3 |
| Энергетический баланс |
| База: 2200 тн/день аммиака |
| Сжатие/Расширение |
Базовый случай (Фиг.1) |
Пример (Фиг.2) |
| Сжатие полученного сингаза, кВт |
8,310,66 |
7,453,49 |
| Расширение исходного сингаза, кВт |
-203,39 |
– |
| Расширение сбросовой жидкости, кВт |
– |
-120,40 |
| Энергия чистого сжатия/расширения, кВт |
8,107,27 |
7,333,09 |
Как видно из данных, представленных выше, способ очистки на фиг.2 отличается более низким падением давления сингаза, чем известный способ на фиг.1. Хотя меньшая энергия извлекается от расширения сбросовой жидкости в примере на фиг.2, чем при расширении питания сингаза в базовом случае на фиг.1, снижение энергии сжатия получения является более значительным. Таким образом, не только снижается падение давления сингаза, но и общие энергетические требования являются ниже, что дает потенциально экономию как капитальных, так и эксплуатационных затрат в новой установке аммиака. При модернизации существующей установки аммиака без очистки сниженное падение давления примера на фиг.2 может дать увеличенную производительность и/или менее значительную модификацию компрессора получаемого сингаза или отсутствие модификации.
Настоящее изобретение описано выше со ссылкой на неограничивающие примеры, предусмотренные только для иллюстративных целей. Различные модификации и изменения станут очевидными для специалистов в данной области техники при их рассмотрении. Подразумевается, что все такие изменения и модификации находятся в объеме и соответствуют сущности прилагаемой формулы изобретения и должны быть поэтому охвачены.
Формула изобретения
1. Способ очистки сингаза, включающий введение потока исходного сингаза, содержащего избыток азота, в зону питания в дистилляционной колонне, расширение потока жидких остатков из дистилляционной колонны с помощью расширителя жидкости с извлечением работы для образования потока охлажденной сбросовой жидкости, ректифицирование пара из зоны питания в дистилляционной колонне для образования верхнего потока пара со сниженным содержанием азота и инертных газов, охлаждение верхнего потока пара в непрямом теплообмене с потоком охлажденной сбросовой жидкости для образования частично конденсированного верхнего потока и потока частично нагретой сбросовой жидкости, разделение частично конденсированного верхнего потока на поток конденсата и поток очищенного пара сингаза со сниженным содержанием азота и инертных газов, и орошение дистилляционной колонны потоком конденсата.
2. Способ по п.1, дополнительно содержащий охлаждение и расширение потока исходного сингаза с помощью вентиля Джоуля-Томпсона перед введением в зону питания.
3. Способ по п.2, при котором охлаждение потока исходного сингаза включает поперечный теплообмен с потоком теплой сбросовой жидкости и с потоком очищенного пара сингаза.
4. Способ по п.1, при котором уровень жидкости в дистилляционной колонне регулируют посредством регулирования потока к расширению потока жидких остатков.
5. Способ по п.1, при котором сбросовая жидкость из расширителя жидкости содержит смешанные пар и жидкость.
6. Способ по п.5, при котором теплая сбросовая жидкость от охлаждения верхнего пара состоит из паровой фазы.
7. Способ по п.1, при котором расширитель жидкости содержит гидравлическую турбину.
8. Способ по п.1, дополнительно включающий получение исходного синтез-газа реформингом углеводорода, в котором реформинг включает автотермический или вторичный реформинг с избытком воздуха.
9. Способ по п.1, дополнительно содержащий подачу потока очищенного пара сингаза в контур синтеза аммиака для образования аммиака.
10. Способ производства аммиака, включающий реформинг углеводорода для образования сингаза, причем реформинг включает автотермический или вторичный реформинг с избытком воздуха для образования потока исходного сингаза, содержащего избыток азота, для синтеза аммиака, охлаждение потока исходного сингаза в теплообменнике с поперечным потоком, расширение охлажденного потока исходного сингаза из теплообменника с поперечным потоком; введение расширенного потока исходного сингаза в зону питания в дистилляционной колонне, расширение потока жидких остатков из дистилляционной колонны с помощью расширителя жидкости для образования потока охлажденной сбросовой жидкости, ректифицирование пара из зоны питания в дистилляционной колонне для образования верхнего потока пара со сниженным содержанием азота и инертных газов, охлаждение верхнего потока пара в непрямом теплообмене с потоком охлажденной сбросовой жидкости для образования частично конденсированного верхнего потока и потока частично нагретой сбросовой жидкости, разделение частично конденсированного верхнего потока на поток конденсата и поток очищенного пара сингаза со сниженным содержанием азота и инертных газов, орошение дистилляционной колонны потоком конденсата, нагревание потока очищенного пара сингаза в теплообменнике с поперечным потоком, нагревание потока частично нагретой сбросовой жидкости в теплообменнике с поперечным потоком, подачу потока очищенного пара сингаза из теплообменника с поперечным потоком в контур синтеза аммиака.
11. Способ по п.10, при котором сбросовая жидкость из расширителя жидкости содержит смешанные пар и жидкость.
12. Способ по п.11, при котором теплая сбросовая жидкость от охлаждения верхнего пара состоит из паровой фазы.
13. Способ по п.10, при котором расширитель жидкости содержит гидравлическую турбину.
14. Способ производства аммиака, включающий реформинг углеводорода с избытком воздуха для образования потока исходного сингаза, удаление азота и инертных газов из потока исходного сингаза дистилляцией, при этом обеспечивают охлаждение при помощи расширения жидкости посредством расширителя-генератора, а верхний поток частично конденсируют сбросовым потоком, охлажденным посредством расширения жидких остатков из дистилляционной колонны, и подачу сингаза со сниженным содержанием азота и инертных газов с дистилляции в контур синтеза аммиака, при котором жидкие остатки расширяют с помощью расширителя жидкости с извлечением работы.
15. Способ по п.14, при котором сбросовая жидкость из расширителя жидкости содержит смешанные пар и жидкость.
16. Способ по п.14, при котором расширитель жидкости содержит гидравлическую турбину.
17. Способ по п.14, дополнительно включающий расширение исходного сингаза с помощью вентиля Джоуля-Томпсона вверх по потоку дистилляционной колонны.
18. Устройство для очистки потока исходного сингаза, содержащего избыток азота, которое содержит средство введения потока исходного сингаза в зону питания в дистилляционной колонне, средство расширения потока жидких остатков из дистилляционной колонны с помощью расширителя жидкости для образования потока охлажденной сбросовой жидкости, устройство ректифицирования пара из зоны питания в дистилляционной колонне для образования верхнего потока пара со сниженным содержанием азота и инертных газов, средство охлаждения верхнего потока пара в непрямом теплообмене с потоком охлажденной сбросовой жидкости для образования частично конденсированного верхнего потока и потока относительно теплой сбросовой жидкости, средство разделения частично конденсированного верхнего потока на поток конденсата и поток очищенного пара сингаза со сниженным содержанием азота и инертных газов, и средство орошения дистилляционной колонны потоком конденсата.
19. Установка для получения аммиака, содержащая средство реформинга углеводорода для образования сингаза, причем средство реформинга включает автотермический или вторичный реформер и устройство подачи избытка воздуха в автотермический или вторичный реформер для образования потока исходного сингаза, содержащего избыток азота, для синтеза аммиака, средство теплообмена с поперечным потоком для охлаждения потока исходного сингаза, средство расширения охлажденного потока исходного сингаза из теплообменника с поперечным потоком, средство введения расширенного потока исходного сингаза в зону питания в дистилляционной колонне, средство расширения потока жидких остатков из дистилляционной колонны с помощью расширителя жидкости для образования потока охлажденной сбросовой жидкости, средство ректифицирования пара из зоны питания в дистилляционной колонне с образованием верхнего потока пара со сниженным содержанием азота и инертных газов, средство охлаждения верхнего потока пара в непрямом теплообмене с потоком охлажденной сбросовой жидкости для образования частично конденсированного верхнего потока и потока частично нагретой сбросовой жидкости, средство разделения частично конденсированного верхнего потока на поток конденсата и поток очищенного пара сингаза со сниженным содержанием азота и инертных газов, средство орошения дистилляционной колонны потоком конденсата, средство нагревания потока очищенного пара сингаза в теплообменнике с поперечным потоком, средство нагревания потока частично нагретой сбросовой жидкости в теплообменнике с поперечным потоком, средство подачи потока очищенного пара сингаза из теплообменника с поперечным потоком в контур синтеза аммиака.
РИСУНКИ
PD4A – Изменение наименования обладателя патента СССР или патента Российской Федерации на изобретение
(73) Новое наименование патентообладателя:
КЕЛЛОГ БРАУН ЭНД РУТ, ЭлЭлСи (US)
Адрес для переписки:
129090, Москва, ул. Б. Спасская, 25, стр. 3, ООО «Юридическая фирма Городисский и Партнеры»
Извещение опубликовано: 27.08.2009 БИ: 24/2009
|
|