|
|
(21), (22) Заявка: 2006146566/11, 27.12.2006
(24) Дата начала отсчета срока действия патента:
27.12.2006
(46) Опубликовано: 20.08.2008
(56) Список документов, цитированных в отчете о поиске:
SU 477440 A, 15.07.1975. RU 93027810 A, 09.07.1995. RU 2225833 C1, 20.03.2004. RU 2225832 C2, 20.03.2004.
Адрес для переписки:
248017, г.Калуга, ул. Азаровская, 282А, В.Ф. Давыдову
|
(72) Автор(ы):
Давыдов Владимир Васильевич (RU), Пятницкий Игорь Андреевич (RU)
(73) Патентообладатель(и):
Закрытое акционерное общество Научно-производственная фирма “Мега-К” (RU)
|
(54) ДАТЧИК ПОЛОЖЕНИЯ ОБОРУДОВАНИЯ ГРУЗОПОДЪЕМНОЙ МАШИНЫ
(57) Реферат:
Изобретение относится к контрольным устройствам, используемым в системах управления и защиты грузоподъемных машин. Активатор с постоянным магнитом установлен на валу с возможностью вращения магнита при перемещении контролируемого оборудования. Два геркона установлены с возможностью срабатывания под воздействием поля постоянного магнита в последовательности, обусловленной направлением вращения вала. По последовательности срабатывания герконов блоком определения направления счета определяется направление вращения вала (перемещения оборудования) и выдаются на реверсивный счетчик импульсы приращения или уменьшения его содержимого. Текущее значение содержимого счетчика характеризует координату оборудования крана и передается на вход формирователя выходной характеристики. Последний в соответствии со значением и параметрами, определенными задатчиком выходной характеристики, формирует выходные сигналы датчика: дискретные, аналоговые или цифровые. Супервизор осуществляет контроль наличия внешнего питания датчика. При работе от внешнего источника питания супервизор переключает коммутатор таким образом, чтобы питание герконов, блока определения направления счета и реверсивного счетчика импульсов осуществлялось от питающей сети. В случае, когда напряжение бортсети машины падает ниже допустимого предела, супервизор переключает коммутатор таким образом, чтобы питание указанных узлов осуществлялось от автономного источника питания (аккумулятора), что позволяет контролировать изменение положения оборудования и при отсутствии внешнего питания. При наличии напряжения питания в бортсети машины супервизором выдается сигнал на зарядное устройство, которое осуществляет подзарядку автономного источника питания. Достигаемый технический результат выражается в повышении надежности работы датчика положения и расширении его функциональных возможностей. 4 з.п. ф-лы, 1 ил.
Изобретение относится к контрольным устройствам, используемым в системах управления и защиты грузоподъемных машин.
Согласно требованиям нормативной документации подъемные и подъемно-транспортные машины оборудуются приборами и устройствами безопасности различных типов: ограничителями рабочих движений, ограничителями грузоподъемности или грузового момента, устройствами координатной защиты и т.д. Составной частью таких приборов и устройств являются датчики положения рабочего оборудования.
Для ограничителей рабочих движений в настоящее время наибольшее распространение получили механические концевые выключатели, которые используются в качестве датчиков достижения максимальной высоты подъема грузозахватного органа, датчиков минимального числа витков каната на барабане грузовой лебедки, датчиков границ рабочей зоны по азимуту (углу поворота) поворотной платформы крана, датчиков начала и конца пути ходовых и грузовых тележек и т.д. (RU 2225832 С2, В66С 23/88, 20.03.2004; RU 2225833 C1, B66D 1/56, 20.03.2004).
Механические концевые выключатели – простые и дешевые устройства, однако они имеют низкую надежность, особенно при наличии осадков и при отрицательных температурах. Применение бесконтактных концевых выключателей позволяет повысить надежность, но требует для подключения проводов с тремя, а не с двумя токоведущими жилами.
Чаще всего бесконтактные концевые выключатели не могут включаться в систему блокировки движений непосредственно, а только через промежуточные реле, обеспечивающие необходимую токовую нагрузку.
Кроме того, независимо от типа концевых выключателей, применению их в качестве датчиков положения оборудования грузоподъемной машины свойственны следующие недостатки.
Во-первых, концевой выключатель может служить в качестве датчика достижения оборудованием только одной границы одной рабочей зоны. Если рабочих зон несколько, например имеется несколько зон грузоподъемности по азимуту, и необходимо выделить зону с ограничением скорости движения оборудования, требуется дополнительная установка соответствующего количества концевых выключателей.
Во-вторых, концевые выключатели, как правило, следует устанавливать рядом с границами рабочих зон, которые они контролируют, что зачастую вызывает сложности с их установкой, регулировкой и передачей от них сигналов в систему управления или безопасности и снижает надежность системы в целом. Например, концевой выключатель, используемый в качестве датчика максимальной высоты подъема крюка автокрана, монтируется на оголовке последней выдвижной секции телескопической стрелы крана, поэтому доступ к нему для обслуживания затруднен, а для подачи на него питания и приема от него сигналов требуется применение специальных кабельных барабанов с длинным кабелем и вращающимися токосъемными устройствами.
В-третьих, концевые выключатели не пригодны для использования в качестве датчиков положения оборудования в случаях, когда необходимо знать текущее значение координат оборудования, например, в ограничителях грузоподъемности или в устройствах координатной защиты.
В качестве датчиков текущего положения оборудования в системах управления и безопасности грузоподъемных машин получили распространение датчики перемещения, в которых в качестве чувствительного элемента используется одно- или многооборотный переменный резистор, вал которого соединяется с механизмом крана через редуктор (RU 93027810 A, G01D 21/00, 09.07.1995). Такие датчики с пропорциональным выходным сигналом пригодны для определения текущего положения оборудования, однако им также присущ ряд недостатков.
Во-первых, переменные резисторы имеют ограниченную рабочую зону по углу поворота их вала, поэтому с ростом диапазона изменения измеряемого параметра (вылета, высоты подъема грузозахватного органа и т.д.) требуется увеличение передаточного числа редуктора, что ведет к необходимости производства датчиков с различными редукторами и к снижению точности измерения параметра с увеличением диапазона его изменения.
Во-вторых, переменные резисторы имеют ограниченное число рабочих циклов, что снижает ресурс датчиков перемещения, выполненных на их основе.
Иногда в качестве датчиков перемещения используют абсолютные или инкрементные оптические энкодеры. С их помощью можно также определять текущее положение оборудования и они не имеют трущихся частей, что обеспечивает большой ресурс датчиков. Однако область применения оптических энкодеров ограничена внешними механическими и климатическими факторами. Кроме того, инкрементные энкодеры не позволяют отследить перемещение оборудования при отсутствии питания, а абсолютные энкодеры очень дороги и имеют ограниченный диапазон измерения.
Наиболее близким к предложенному является используемый в системах автоматического контроля и регулирования датчик положения, питающийся от внешней сети и включающий в себя активатор с постоянным магнитом, вращающимся при перемещении контролируемого оборудования, два геркона, срабатывающих под воздействием поля постоянного магнита, блок определения направления счета с еще одним герконом и реверсивный счетчик импульсов (SU 477440 A, G01P 13/00, 15.07.1975).
Это устройство дает возможность контролировать текущее положение оборудования путем подсчета числа оборотов активатора с учетом направления вращения, причем диапазон измерения устройства практически не ограничен. Использование в качестве чувствительных элементов пар постоянный магнит – геркон обеспечивает достаточный ресурс устройства. К недостатку устройства следует отнести отсутствие контроля изменения положения оборудования при отключенном внешнем питании.
Задачей настоящего изобретения является создание датчика, позволяющего контролировать текущее положение оборудования грузоподъемной машины как при включенном, так и при отключенном внешнем питании с формированием на выходе информационных и управляющих сигналов различных типов.
Дополнительными задачами настоящего изобретения являются повышение точности определения положения оборудования грузоподъемной машины за счет снижения дискретности отсчета угла поворота и увеличение срока службы датчика без замены автономного источника питания.
Таким образом, достигаемый технический результат выражается в повышении надежности работы данного устройства и расширении его функциональных возможностей.
Решение поставленных задач и достижение технического результата обеспечиваются тем, что в датчик положения оборудования грузоподъемной машины, содержащий активатор с постоянным магнитом, установленный на валу с возможностью вращения магнита при перемещении контролируемого оборудования, два геркона, установленные с возможностью срабатывания под воздействием поля постоянного магнита в последовательности, обусловленной направлением вращения вала, реверсивный счетчик импульсов, блок определения направления счета, информационные входы которого связаны с соответствующими герконами, а выходы подключены к входам соответственно сложения и вычитания реверсивного счетчика импульсов, и питающую сеть, введены задатчик выходной характеристики, формирователь выходной характеристики, коммутатор, супервизор, автономный источник питания и зарядное устройство, при этом информационный вход формирователя выходной характеристики соединен с выходом реверсивного счетчика импульсов, управляющий вход – с выходом задатчика выходной характеристики, а вход питания – с питающей сетью, входы супервизора подключены к питающей сети и выходу автономного источника питания, управляющий вход коммутатора подключен к первому выходу супервизора, один из рабочих входов – к питающей сети, другой рабочий вход – к выходу автономного источника питания, а выход – ко входам питания герконов, блока определения направления счета и реверсивного счетчика импульсов, зарядное устройство включено между питающей сетью и входом автономного источника питания и соединено управляющим входом со вторым выходом супервизора.
Достижению технического результата способствуют также частные существенные признаки изобретения.
Активатор может содержать, по меньшей мере, один дополнительный постоянный магнит.
Активатор может быть выполнен с металлическим диском, имеющим прорези для пропускания магнитного поля к герконам.
В датчик может быть введен, по меньшей мере, один дополнительный геркон.
Каждый геркон выполнен трехвыводным, при этом первый вывод является входом для подключения к питающему напряжению, второй вывод подключен к общей шине, а третий вывод является выходом геркона.
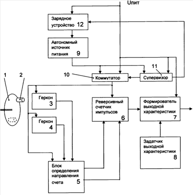
На чертеже представлена функциональная схема предложенного датчика положения оборудования грузоподъемной машины.
Устройство включает в себя активатор 1 с одним или более постоянными магнитами 2, первый геркон 3 и второй геркон 4, блок 5 определения направления счета, реверсивный счетчик 6 импульсов, формирователь 7 выходной характеристики, задатчик 8 выходной характеристики, автономный источник 9 питания (аккумулятор), коммутатор 10, супервизор 11 и зарядное устройство 12. Имеется питающая сеть (бортсеть) с напряжением Uпит.
Активатор 1 с постоянным магнитом 2 установлен на валу с возможностью вращения магнита 2 при перемещении контролируемого оборудования. Герконы 3 и 4 установлены с возможностью срабатывания под воздействием поля постоянного магнита 2 в последовательности, обусловленной направлением вращения вала. Информационные входы блока 5 определения направления счета связаны с герконами 3 и 4, а выходы подключены к входам соответственно сложения и вычитания реверсивного счетчика 6 импульсов. Информационный вход формирователя 7 выходной характеристики соединен с выходом реверсивного счетчика 6 импульсов, управляющий вход – с выходом задатчика 8 выходной характеристики, а вход питания – с питающей сетью. Входы супервизора 11 подключены к питающей сети и выходу автономного источника 9 питания. Управляющий вход коммутатора 10 подключен к первому выходу супервизора 11, один из рабочих входов – к питающей сети, другой рабочий вход – к выходу автономного источника 9 питания, а выход – ко входам питания герконов 3 и 4, блока 5 определения направления счета и реверсивного счетчика 6 импульсов. Зарядное устройство 12 включено между питающей сетью и входом автономного источника 9 питания и соединено управляющим входом со вторым выходом супервизора 11.
Датчик положения оборудования грузоподъемной машины работает следующим образом.
Перемещение контролируемого оборудования вызывает вращение вала с активатором 1 и постоянным магнитом 2.
При вращении постоянного магнита 2 и прохождении через зону чувствительности герконов 3 и 4 происходит их срабатывание в определенной последовательности.
По последовательности срабатывания герконов 3 и 4 блоком 5 определения направления счета, например, в соответствии с алгоритмом, приведенным в авторском свидетельстве SU 1249701 A1, G06M 3/02, 07.08.1986, определяется направление вращения вала (перемещения оборудования) и, в зависимости от него, выдаются на реверсивный счетчик 6 импульсы приращения или уменьшения его содержимого. Текущее значение содержимого реверсивного счетчика 6 импульсов, таким образом, характеризует координату оборудования крана и передается на вход формирователя 7 выходной характеристики. Последний в соответствии со значением и параметрами, определенными задатчиком 8 выходной характеристики, формирует выходные сигналы датчика: дискретные, аналоговые, цифровые (протоколы CAN, LIN, I2C, RS-232, RS-485 и т.д.) или любую комбинацию из них, определяемую назначением датчика.
Пределы измерения датчика при формировании аналогового выходного сигнала и пороги формирования дискретных выходных сигналов устанавливаются задатчиком 8 выходной характеристики. Это позволяет использовать датчик для определения положения различного оборудования в системах управления и безопасности различного назначения грузоподъемных машин различных типов. Например, вместо двух концевых выключателей, расположенных в разных частях крана, для ограничения максимальной высоты подъема крюка и минимального числа витков каната может быть установлен один датчик, активатор 1 которого связан с валом грузовой лебедки. При этом формирователь 7 выходной характеристики выдает дискретные сигналы при достижении соответствующих ограничений. Задатчиком 8 выходной характеристики в этом случае могут быть установлены также дополнительные пороги срабатывания для выработки формирователем 7 выходной характеристики дополнительных управляющих сигналов, например, для ограничения скорости подъема/опускания крюка при подходе к ограничениям. Если же нужно знать текущее положение крюка, например, в системах координатной защиты, формирователем 7 выходной характеристики выдается нормированный аналоговый выходной сигнал, а диапазон измерения устанавливается задатчиком 8 выходной характеристики.
Супервизор 11 осуществляет контроль наличия внешнего питания датчика. При работе от внешнего источника питания супервизор 11 переключает коммутатор 10 таким образом, чтобы питание герконов 3 и 4, блока 5 определения направления счета и реверсивного счетчика 6 импульсов осуществлялось от питающей сети с напряжением Uпит. В случае, когда напряжение бортсети машины падает ниже допустимого предела, супервизор 11 переключает коммутатор 10 таким образом, чтобы питание герконов 3 и 4, блока 5 определения направления счета и реверсивного счетчика 6 импульсов осуществлялось от автономного источника 9 питания, что позволяет контролировать изменение положения оборудования и при отсутствии внешнего питания.
Автономный источник 9 питания является аккумулятором. При наличии напряжения питания в бортсети машины супервизором 11 выдается сигнал на зарядное устройство 12, которое осуществляет подзарядку аккумулятора.
Повышение точности измерения положения оборудования достигается за счет снижения дискретности отсчетов путем увеличения количества постоянных магнитов 2 активатора 1 либо количества подключаемых к блоку 5 определения направления счета герконов.
При выполнении активатора 1 с металлическим диском, имеющим прорези для пропускания магнитного поля к герконам 3 и 4, т.е. с диском, размещенным между закрепленными неподвижно постоянными магнитами 2, и герконами 3 и 4 дискретность измерений может быть снижена без увеличения числа магнитов и герконов за счет увеличения числа прорезей в диске активатора 1.
Увеличение продолжительности работы датчика без замены автономного источника питания достигается за счет использования перезаряжаемого автономного источника 9 питания (аккумулятора) с подзарядкой от внешней питающей сети через зарядное устройство 12, управляемое супервизором 11. Этому также способствует применение, вместо использованного в наиболее близком аналоге двухвыводного геркона, геркона с тремя выводами и с переключающим контактом.
Конструкция датчика может быть реализована промышленным способом.
Активатор 1 может быть выполнен в виде вращающегося в подшипниках ротора с закрепленными на нем постоянными магнитами из сплава NbFeB или в виде вращающегося в подшипниках металлического диска с прорезями, расположенного между закрепленными постоянными магнитами и герконами, например переключающими герконами марки КЭМ-3.
Блок 5 определения направления счета может быть выполнен на логических схемах, реализующих алгоритм определения направления счета, например, в соответствии с указанным выше авторским свидетельством SU 1249701 А1 и формирующих импульсы при переключении герконов 3 и 4.
В качестве реверсивного счетчика 6 импульсов, коммутатора 10 и супервизора 11 могут применяться стандартные микросхемы таких устройств.
Формирователь 7 выходной характеристики может быть выполнен на базе электронных ключей (для формирования дискретных сигналов), цифроаналоговых преобразователей (для формирования аналоговых сигналов), контроллеров портов (для формирования цифровых сигналов).
В качестве задатчика 8 выходной характеристики могут применяться кнопки (например, TS-A2PS-130), переключатели, постоянные или переменные резисторы, запоминающие устройства и т.д.
Возможна программная реализация блока 5 определения направления счета, реверсивного счетчика 6 импульсов, формирователя 7 выходной характеристики, супервизора 11 и коммутатора 10 на базе одного PIC-процессора, например на микросхеме микроконтроллера PIC16F688.
В качестве автономного источника 9 питания может применяться, например, литиевая батарея LS 14500 или NiMn аккумуляторная батарея VH AA 1500.
Формула изобретения
1. Датчик положения оборудования грузоподъемной машины, содержащий активатор с постоянным магнитом, установленный на валу с возможностью вращения магнита при перемещении контролируемого оборудования, два геркона, установленные с возможностью срабатывания под воздействием поля постоянного магнита в последовательности, обусловленной направлением вращения вала, реверсивный счетчик импульсов, блок определения направления счета, информационные входы которого связаны с соответствующими герконами, а выходы подключены к входам соответственно сложения и вычитания реверсивного счетчика импульсов, и питающую сеть, отличающийся тем, что в него введены задатчик выходной характеристики, формирователь выходной характеристики, коммутатор, супервизор, автономный источник питания и зарядное устройство, при этом информационный вход формирователя выходной характеристики соединен с выходом реверсивного счетчика импульсов, управляющий вход – с выходом задатчика выходной характеристики, а вход питания – с питающей сетью, входы супервизора подключены к питающей сети и выходу автономного источника питания, управляющий вход коммутатора подключен к первому выходу супервизора, один из рабочих входов – к питающей сети, другой рабочий вход – к выходу автономного источника питания, а выход – ко входам питания герконов, блока определения направления счета и реверсивного счетчика импульсов, зарядное устройство включено между питающей сетью и входом автономного источника питания и соединено управляющим входом со вторым выходом супервизора.
2. Датчик по п.1, отличающийся тем, что активатор содержит, по меньшей мере, один дополнительный постоянный магнит.
3. Датчик по п.1 или 2, отличающийся тем, что активатор выполнен с металлическим диском, имеющим прорези для пропускания магнитного поля к герконам.
4. Датчик по п.1, отличающийся тем, что в него введен, по меньшей мере, один дополнительный геркон.
5. Датчик по п.1 или 4, отличающийся тем, что каждый геркон выполнен трехвыводным, при этом первый вывод является входом для подключения к питающему напряжению, второй вывод подключен к общей шине, а третий вывод является выходом геркона.
РИСУНКИ
|
|