|
(21), (22) Заявка: 2004129728/12, 22.04.2003
(24) Дата начала отсчета срока действия патента:
22.04.2003
(30) Конвенционный приоритет:
23.04.2002 SE 0201210-2
(43) Дата публикации заявки: 27.06.2005
(46) Опубликовано: 20.08.2008
(56) Список документов, цитированных в отчете о поиске:
ЕР 1092627 А, 18.04.2001. SU 1421619 A1, 07.09.1988. US 4468915 A, 04.09.1984. SU 1761602 A1, 15.09.1992.
(85) Дата перевода заявки PCT на национальную фазу:
23.11.2004
(86) Заявка PCT:
SE 03/00637 (22.04.2003)
(87) Публикация PCT:
WO 03/091102 (06.11.2003)
Адрес для переписки:
191036, Санкт-Петербург, а/я 24, НЕВИНПАТ, пат.пов. А.В.Поликарпову
|
(72) Автор(ы):
ЛИНДСТРЁМ Арвид Йеран (SE)
(73) Патентообладатель(и):
ЛИНДСТРЁМ Арвид Йеран (SE)
|
(54) НИЖНИЙ УЗЕЛ МАШИНЫ ДЛЯ ОБЕРТЫВАНИЯ В РАСТЯГИВАЮЩУЮСЯ ПЛЕНКУ
(57) Реферат:
Изобретение относится к машинам для обертывания в растягивающуюся пленку. Нижний узел машины для обертывания в растягивающуюся пленку, предназначенный для поворота расположенного на поддоне груза, размещаемый на полу, содержит поворотный стол. Поворотный стол имеет нижнюю ограничительную поверхность и верхнюю ограничительную поверхность и, с возможностью поворота, поддерживается на основании указанного узла опорными роликами, опирающимися на основание своими окружными частями. Опорные ролики в значительной степени расположены над нижней ограничительной поверхностью поворотного стола, а также проходят через верхнюю ограничительную поверхность поворотного стола. Изобретение позволяет значительно снизить высоту поворотного стола и, следовательно, снизить энергозатраты на подъем тяжелых грузов на поворотный стол. 6 з.п. ф-лы, 12 ил.
Область техники
Данное изобретение относится к нижнему узлу машины для обертывания в растягивающуюся пленку, предназначенному для поворота расположенного на поддоне груза. Указанный узел размещается на полу и содержит поворотный стол, который имеет нижнюю и верхнюю ограничительные поверхности и с возможностью поворота поддерживается опорными роликами на основании этого узла, причем опорные ролики опираются на указанное основание своими окружными частями.
Уровень техники
Существует два основных принципа выполнения нижних узлов полуавтоматических машин для обертывания в растягивающуюся пленку, предназначенных для поворота расположенного на поддоне груза.
Нижний узел наиболее распространенного типа содержит основание, являющееся фундаментом для группы опорных роликов, размещенных по двум окружностям, внутренней окружности и внешней окружности. На опорные ролики опирается круглый поворотный стол, который установлен с возможностью поворота на удлиненной части оси, проходящей по центру этого стола. Расстояние от пола до верхней стороны поворотного стола обычно составляет 75-85 мм. Расположенный на поддоне груз обычно поднимают на поворотный стол по пандусу или наклонной плоскости вручную при помощи вилочного погрузчика. При использовании нижнего узла такого типа требуется приложение большого усилия для подъема тяжелых поддонов на поворотный стол по пандусу вручную. Следовательно, чрезвычайно важно, чтобы верхняя сторона поворотного стола располагалась как можно ближе к полу, так как в этом случае каждый сантиметр имеет исключительное значение для прилагаемого усилия, необходимого для подъема груза вверх по пандусу. Пандус зачастую имеет наклон в 2,5-3° и длину около 1,3 м, занимая, таким образом, большое пространство.
Нижний узел другого типа представляет собой так называемый “Т-образный стол”, который выполнен в виде круглого поворотного стола с вырезанным участком, позволяющим вводить вилочный погрузчик внутрь Т-образного стола без продвижения этого погрузчика вверх по пандусу. Опорные ролики установлены на нижнем крае верхней части Т-образного стола и обычно катятся по нижней прилегающей к полу пластине из листового металла. Однако данный способ обычно требует подъема вилочного погрузчика до его наивысшего положения, поскольку сам этот вилочный погрузчик не предполагается двигать к верхней части стола, на которую помещают поддон. К тому же стол этого типа обычно имеет высоту около 75-85 мм над полом.
Всякий раз, когда кто-то в неподходящий момент времени ставит свою ногу рядом с углом вырезанного участка стола, возникает определенная опасность защемления. Для того чтобы исключить эту опасность защемления, перед Т-образным столом обычно добавляют излучающий фотоэлемент, который обнаруживает ногу, и вращение стола прекращается. Однако иногда торможение стола занимает слишком продолжительное время по причине возможного проскальзывания фрикционного привода, находящегося в контакте с периферией Т-образного стола, что происходит из-за инерции и наличия тяжелого груза. Следовательно, для нижнего узла этого типа обычно используют относительно низкую скорость вращения. Также затруднения возникают при размещении излучающего фотоэлемента для обеспечения соответствующей защиты от защемления.
Еще одним недостатком является распространение щепок, грязи и т.п. с поддонов на нижнюю пластину, которые соответственно переносятся на опорные ролики, что вызывает вибрацию при работе и увеличивает износ.
Цели и характеристики изобретения
Основной целью данного изобретения является создание нижнего узла машины для обертывания в растягивающуюся пленку, в котором стол расположен на максимально возможном низком уровне.
Дополнительная цель данного изобретения заключается в возможности использования очень короткого пандуса.
Еще одна цель данного изобретения заключается в обеспечении простоты конструкции нижнего узла.
По меньшей мере основная цель данного изобретения обеспечивается посредством нижнего узла вышеописанного типа, отличительные признаки которого приведены в независимом пункте 1 приложенной формулы изобретения. Предпочтительные варианты выполнения изобретения описаны в независимых пунктах формулы изобретения.
Краткое описание чертежей
Ниже описан вариант выполнения предложенного нижнего узла машины для обертывания в растягивающуюся пленку, причем:
Фиг.1 и 2 схематично изображают машину для обертывания в растягивающуюся пленку, находящуюся в рабочем положении, груз, саму растягивающуюся пленку и стойку с блоком этой пленки.
Фиг.3 изображает вид сбоку предложенного нижнего узла.
Фиг.4 изображает вид сверху показанного на фиг.3 нижнего узла.
Фиг.5 изображает главную часть основания нижнего узла.
Фиг.6 изображает пандус и часть поворотного стола, примыкающую к этому пандусу.
Фиг.7 изображает среднюю зону поворотного стола.
Фиг.8 изображает поворотный стол без других конструктивных деталей.
Фиг.9 изображает П-образный профиль перед привариванием держателей оси.
Фиг.10 изображает вертикальную проекцию участка П-образного профиля с установленными опорным роликами.
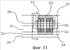
Фиг.11 иллюстрирует на виде сбоку с частичным разрезом взаимное расположение основания, поворотного стола с П-образным профилем и его опорных роликов.
Фиг.12 изображает вид по линии А-А на фиг.11.
Подробное описание предпочтительного варианта выполнения предложенного нижнего узла
Машина для обертывания в растягивающуюся пленку, схематично показанная на фиг.1 и 2, содержит предложенный нижний узел 1, который при нахождении машины в рабочем положении расположен на полу. Машина для обертывания в растягивающуюся пленку также содержит стойку 2, установленную на нижнем узле 1 и удерживающую блок 3 растягивающейся пленки, установленный с возможностью перемещения вдоль этой стойки 2. Стойка 2 и блок 3 показаны схематично пунктирными линиями и далее подробно не описываются, поскольку они не являются существенной частью данного изобретения.
Нижний узел 1 и пандус 4 показаны на фиг.3 и 4, на которых для ясности не представлены некоторые ограждающие конструкции и стойка 3. Нижний узел 1 содержит основание 10 и поворотный стол 11.
Чтобы обернуть пленкой расположенный на поддоне груз, этот груз обычно приподнимают вилочным погрузчиком, затем вручную продвигают по пандусу 4 вверх и размещают в середине стола 11. Затем вращением стола 11 начинают обертывание, причем указанный груз обычно обертывают пластмассовой пленкой, так называемой растягивающейся пленкой.
Высота предложенного узла 1, измеряемая между верхней стороной стола 11 и полом, обычно на 40-65 мм меньше высоты нижних узлов машин для обертывания аналогичного типа. В описанном выше варианте выполнения предлагаемого нижнего узла верхняя ограничительная поверхность стола 11, как правило, расположена на расстоянии около 20-30 мм от пола, на который опирается основание 10, обычно имеющее толщину около 5 мм. Согласно данному изобретению низкий уровень расположения стола 11 обеспечивается по существу за счет размещения опорных роликов 22 значительно выше нижней стороны стола 11. Более подробно это описано ниже. Груз в зоне, расположенной вокруг центра стола 11, поддерживается центральным подшипником 14, предотвращающим прогиб этой зоны. Кроме того, на величину указанного прогиба существенным образом влияет толщина стола 11, поэтому данную толщину выбирают вплоть до примерно 12 мм, что почти на 50% превышает толщину поворотных столов большинства машин подобного типа.
В центре части основания 10, поддерживающей стол 11, расположена центральная втулка 23, на которой установлен указанный стол 11. Стол 11 поддерживается роликами 22 и центральным подшипником 14 и приводится во вращение приводным колесом 12, приводимым в действие электродвигателем 13. Двигатель 13 с приводным колесом 12 выполнен с обеспечением подвешивания на жесткой по существу прямоугольной плите, шарнирно закрепленной на одном конце и подпружиненной с другого конца. Таким образом, усилие пружины оказывает соответствующее давление на колесо 12, содержащее материал с фрикционными свойствами, прижимая его к периферической части стола 11.
Всякий раз, когда поворотный стол проходит свое нулевое положение, фотоэлемент 19 принимает сигнал отражателя 18. Данный сигнал можно использовать, например, для остановки стола в нужном положении. В зависимости от расположения пандуса 4, отражатель можно перемещать между пятью различными положениями, обеспечивая остановку стола 11 в различных положениях.
Ролики 22 установлены в П-образных профилях 20, привинченных к верхней поверхности стола 11. П-образные профили 20 скошены у своих концов 21 под углом около 30°, с тем чтобы поверх них можно было пропускать нижний край растягивающейся пленки во время обертывания пакетированного груза нижними витками. Таким образом, самый низкий уровень пленки расположен примерно на 1 см выше днища поддона.
Участок 36 основания 10, расположенный снаружи периферической части стола 11, укреплен несколькими приваренными профилями 37 и жестко соединен с плитой 25, образующей основание для стойки.
Фиг.5 изображает важную часть основания 10, образованную пластиной листового металла, которая имеет подходящую толщину около 5-6 мм и получена лазерной резкой или подобным способом. Отверстие 29 предназначено для закрепления центральной втулки 23, а выступы 17 с отверстиями 30 представляют собой пример возможного крепления для пандуса 4, который может быть расположен в пяти различных положениях с угловым шагом 45° по отношению к центру стола.
Фиг.6 изображает пандус 4, который в данном случае имеет наклон в 3° и длину около 275 мм. При использовании стандартного пандуса длиной около 1,3 м передние и задние колеса ручного вилочного погрузчика обычной длины будут во время некоторой части перемещения одновременно вкатываться вверх по скату, тогда как при использовании короткого пандуса 4 передние колеса вилочного погрузчика достигнут горизонтального стола 11, прежде чем задние колеса достигнут нижней части пандуса. Это означает, что при использовании указанного короткого пандуса 4 вверх по скату придется продвигать существенно меньший вес. В отверстия 16 стола 11 помещены разделители в виде пластмассовых элементов 15 с буртиком 15а, который с одной стороны предотвращает перемещение этих пластмассовых элементов 15 вверх относительно стола 11, а с другой стороны образует участок контакта с основанием 10. Пластмассовые элементы 15 предотвращают слишком сильный прогиб той части стола 11, которая расположена ближе всего к пандусу. Если пластмассовые элементы 15 соприкасаются с основанием 10, стол 11 не может прогибаться или наклоняться слишком сильно. Другое назначение пластмассовых элементов 15 заключается в предотвращении касания основанием 10 стола 11, когда под основанием 10 находится очень неровный пол.
Для того чтобы переместить груз по пандусу 4 на стол 11, этот стол 11 должен занимать показанное на фиг.4 положение, т.е. пластмассовые элементы 15 должны располагаться перед пандусом 4.
Фиг.7 изображает центральную часть стола, где втулка 23 прикреплена к основанию 10, предпочтительно сваркой. Резьбовое отверстие 27 в центре втулки 23 предназначено для прикрепления подъемного устройства при транспортировке машины для обертывания и поэтому далее не описывается. Центральный подшипник 14 является радиальным подшипником по отношению к втулке 23 и упорным подшипником по отношению к пластине 28 из тонколистового металла, которая имеет низкий коэффициент трения и зажата между втулкой 23 и основанием 10. Например, он может представлять собой самосмазывающийся пластический материал, введенный в отверстие 29 в столе 11, хотя он также может быть прикреплен путем приклеивания.
Фиг.8 изображает стол 11 до установки на нем различных компонентов. При его изготовлении можно применять способ лазерной резки или подобный способ.
Фиг.9 изображает один из П-образных профилей без держателей 32 оси. При его изготовлении можно применять способ лазерной резки или подобный способ, с последующим загибом сторон перпендикулярно перемычке П-образных профилей.
Фиг.10 изображает вид сверху части П-образного профиля 20 с двумя установленными роликами 22. Ролик 22 вместе с его осью 34 устанавливают следующим образом. Сначала его помещают в вырезанный участок в столе 11. Затем к верхней части стола 11 посредством винтов, устанавливаемых в отверстия 24, прикрепляют П-образные профили. Оси 34 роликов фиксируются в направлении от периферии к центру посредством держателей 32, привариваемых к нижней части П-образного профиля 20.
Фиг.11 и 12 иллюстрируют взаимное расположение различных частей, смежных с роликом 22, а также разрез, выполненный по центру ролика 22. Ролики 22 большей частью расположены над нижней ограничительной поверхностью 11а стола 11, расположенной примерно на 7 мм выше основания 10, имеющего толщину 5 мм. При данных размерах ролики 22 могут иметь диаметр около 36 мм. Верхняя ограничительная поверхность стола 11 обозначена номером 11b позиции. Над основанием 10 имеется промежуток 31 около 7 мм, над которым расположен стол 11, а на верхней поверхности стола 11 установлен П-образный профиль 20, фиксирующий оси 34 опорных роликов посредством держателей 32, приваренных к нижней части П-образного профиля. Ролики 22 в П-образных профилях защищены от пыли и грязи крышкой, установленной на верхней части П-образного профиля 20.
Возможные модификации данного изобретения
Описанный выше нижний узел предназначен для поддонов обычных размеров, однако, его можно применять и с более крупными поддонами, имеющими соответственно больший вес. Диаметр поворотного стола можно увеличить, и также увеличить расстояние между П-образными профилями 20, однако при этом большая площадь стола 11 между П-образными профилями 20 лишается опоры. Эту проблему можно решить, используя поворотный стол несколько большей толщины. Кроме того, можно увеличить число роликов 22, или, как вариант, можно использовать более широкие опорные ролики, содержащие большее количество роликовых подшипников.
Согласно вышеописанному варианту выполнения изобретения ролики 22 проходят через отверстия, выполненные в столе 11 и прилегающем П-образном профиле 22. Однако объем правовой охраны данного изобретения также распространяется на ролики 22 компактной конструкции, согласно которой они не проходят через верхнюю поверхность 11b стола 11, а расположены в выемках, выполненных на нижней стороне поворотного стола. Эти выемки имеют меньшую глубину по сравнению с толщиной материала, из которого выполнен стол 11.
Под объем правовой охраны данного изобретения подпадает не только вариант закрепления оси 34 ролика 22 в П-образном профиле, но и вариант установки на каждой стороне ролика 22 пластины из листового металла толщиной около 5 мм. Пластины из листового металла с выполненным в них отверстием для оси 34 сначала устанавливают на оси 34 опорного ролика, а затем вставляют снизу через отверстия в столе 11. Если пластины из листового металла несколько шире снизу, более широкая часть образует упор в нижнюю ограничительную поверхность 11а стола 11. В этом случае отпадает необходимость в использовании П-образного профиля 20. Однако ролики 22 должны быть защищены прочной крышкой.
Формула изобретения
1. Нижний узел (1) машины для обертывания в растягивающуюся пленку, предназначенный для поворота расположенного на поддоне груза, размещаемый на полу и содержащий поворотный стол (11), который имеет нижнюю ограничительную поверхность (11а) и верхнюю ограничительную поверхность (11b) и который с возможностью поворота поддерживается на основании (10) указанного узла (1) опорными роликами (22), опирающимися на основание (10) своими окружными частями, отличающийся тем, что опорные ролики (22) в значительной степени расположены над нижней ограничительной поверхностью (11а) поворотного стола (11) и тем, что опорные ролики (22) проходят через верхнюю ограничительную поверхность (11b) поворотного стола (11).
2. Нижний узел по п.1, отличающийся тем, что опорные ролики (22) размещены двумя группами, так что ролики (22) каждой группы расположены по существу на прямой линии, причем указанные линии по существу параллельны друг другу, если смотреть на поворотный стол (11) сверху.
3. Нижний узел по п.1, отличающийся тем, что на верхней ограничительной поверхности (11b) поворотного стола (11) установлены П-образные профили (20), образующие опоры для осей (34) опорных роликов (22).
4. Нижний узел по п.3, отличающийся тем, что ось (34) каждого опорного ролика (22) установлена в держателях (32), присоединенных к П-образному профилю (20).
5. Нижний узел по п.3 или 4, отличающийся тем, что опорные ролики (22) размещены в отверстиях, выполненных в П-образных профилях (20).
6. Нижний узел по п.1, отличающийся тем, что в поворотном столе (11) установлены разделители (15), выступающие от нижней ограничительной поверхности (11а) поворотного стола (11).
7. Нижний узел по п.6, отличающийся тем, что разделители представляют собой пластмассовые элементы (15).
РИСУНКИ
|