|
|
(21), (22) Заявка: 2006145264/11, 19.12.2006
(24) Дата начала отсчета срока действия патента:
19.12.2006
(46) Опубликовано: 20.08.2008
(56) Список документов, цитированных в отчете о поиске:
SU 1368021 А1, 23.01.1988. JP 53142983 А, 13.12.1978. DE 2215577 А, 07.06.1973. WO 9748486 А1, 24.12.1997. GB 1441629 А, 07.07.1976.
Адрес для переписки:
150023, г.Ярославль, Московский пр-кт 88, ЯГТУ
|
(72) Автор(ы):
Лебедев Антон Евгеньевич (RU), Зайцев Анатолий Иванович (RU), Капранова Анна Борисовна (RU), Кузьмин Илья Олегович (RU)
(73) Патентообладатель(и):
Ярославский государственный технический университет (RU)
|
(54) АГРЕГАТ ДЛЯ УПЛОТНЕНИЯ СЫПУЧИХ МАТЕРИАЛОВ
(57) Реферат:
Предлагаемое изобретение предназначено для применения в химической промышленности, агропромышленном комплексе, производстве строительных материалов и других отраслях промышленности. Агрегат содержит вращающиеся валки с приводом вращательного движения, бункер, устройство выгрузки, ленту, охватывающую валки, уплотняющий барабан с выступами, взаимодействующими с ячейками ленты, выполненными на ее наружной поверхности и расположенными в шахматном порядке, и нож, расположенный после уплотняющего барабана и удаляющий излишек сыпучего материала с поверхности ленты. При этом нижний валок выполнен бочкообразным для полного удаления уплотненного сыпучего материала из ячеек в устройство выгрузки. Достигается упрощение конструкции агрегата и повышение качества уплотнения сыпучих материалов. 4 ил.
Предлагаемое изобретение предназначено для применения в химической промышленности, агропромышленном комплексе, производстве строительных материалов и других отраслях промышленности.
Известен агрегат для смешения и уплотнения сыпучих материалов, содержащий ленточный транспортер с приводом, последовательно размещенные дозаторы и смесительные устройства с эластичными элементами, снабженные приводом вращательного движения, барабан с радиальными эластичными элементами и приводом, неподвижную поверхность [Патент РФ №2241530, БИ №34, 2004, МПК В01F 3/18]. К недостаткам данного агрегата следует отнести сложность конструкции и низкую эффективность уплотнения.
Наиболее близким к предлагаемому изобретению является устройство для уплотнения сыпучих материалов, содержащее вращающиеся валки, привод вращательного движения, бункер, устройство выгрузки, эластичные ленты, натяжные и отбойные ролики [А.С. №1368021, 22.09.1987, МПК В01J 2/22].
К недостаткам данного устройства следует отнести сложность конструкции и низкую производительность и эффективность уплотнения.
Задачей данного изобретения является создание агрегата для уплотнения сыпучих материалов, имеющего несложную конструкцию, высокое качество уплотнения.
Поставленная задача достигается тем, что в агрегате для уплотнения сыпучих материалов, содержащем вращающиеся валки с приводом вращательного движения, бункер, устройство выгрузки и ленту, охватывающую валки, содержится уплотняющий барабан с выступами, взаимодействующими с ячейками ленты, выполненными на ее наружной поверхности и расположенными в шахматном порядке, и нож, расположенный после уплотняющего барабана и удаляющий излишек сыпучего материала с поверхности ленты, при этом нижний валок выполнен бочкообразным для полного удаления уплотненного сыпучего материала из ячеек в устройство выгрузки.
Благодаря тому что на поверхности ленты ячейки расположены в шахматном порядке, происходит равномерное распределение материала по ячейкам и более эффективное использование поверхности ленты. Наличие на поверхности уплотняющего барабана выступов позволяет уплотнять материал в ячейках ленты. Бочкообразная форма нижнего валка позволяет полностью удалить уплотненный материал из ячеек в устройство выгрузки.
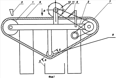
На фиг.1 изображен агрегат для уплотнения сыпучих материалов.
На фиг.2 изображен вид В.
На фиг.3 изображено сечение А-А.
На фиг.4 изображено сечение Б-Б.
Агрегат для уплотнения сыпучих материалов содержит вращающиеся валки 1, 7, 8, привод вращательного движения 2, бункер 3, устройство выгрузки 5, ленту 9 с ячейками 4, расположенными в шахматном порядке, нож 6.
Агрегат для смешения и уплотнения сыпучих материалов работает следующим образом. Подлежащие уплотнению сыпучие материалы подаются из бункера 3 на поверхность ленты 9. Материал попадает в ячейки 4 и движется вместе с лентой. При движении ленты под уплотняющим барабаном 10 его выступы 11 проникают в ячейки 4 и уплотняют материал. Лишний материал удаляется с поверхности ленты с помощью ножа 6. Готовый продукт выгружается в устройство выгрузки 5.
Формула изобретения
Агрегат для уплотнения сыпучих материалов, содержащий вращающиеся валки с приводом вращательного движения, бункер, устройство выгрузки и ленту, охватывающую валки, отличающийся тем, что содержит уплотняющий барабан с выступами, взаимодействующими с ячейками ленты, выполненными на ее наружной поверхности и расположенными в шахматном порядке, и нож, расположенный после уплотняющего барабана и удаляющий излишек сыпучего материала с поверхности ленты, при этом нижний валок выполнен бочкообразным для полного удаления уплотненного сыпучего материала из ячеек в устройство выгрузки.
РИСУНКИ
|
|