|
|
(21), (22) Заявка: 2007103510/11, 29.01.2007
(24) Дата начала отсчета срока действия патента:
29.01.2007
(46) Опубликовано: 20.08.2008
(56) Список документов, цитированных в отчете о поиске:
RU 2086478 С1, 10.08.1997. US 2403499 А, 09.07.1946. RU 2123960 С1, 27.12.1998. US 3532306 A, 06.10.1970. US 3429527 A, 25.02.1969.
Адрес для переписки:
191036, Санкт-Петербург, ул. 6-я Советская, 25/20, кв.5, В.С. Григорчуку
|
(72) Автор(ы):
Григорчук Владимир Степанович (RU)
(73) Патентообладатель(и):
Григорчук Владимир Степанович (RU)
|
(54) САМОЛЕТ С РЕАКТИВНЫМИ КРЫЛЬЯМИ
(57) Реферат:
Изобретение относится к области авиации. Самолет с реактивными крыльями содержит фюзеляж, три пары полукрыльев, два реактивных двигателя, установленных на пилонах в задней части фюзеляжа, вертикальный и горизонтальные стабилизаторы с рулями направления и высоты, посадочное шасси, механизмы управления. Полукрылья, одинаковые по конструкции, закреплены по бокам фюзеляжа. Каждое полукрыло выполнено в форме прямоугольного короба, имеющего продольные и поперечные внутренние перегородки, которые делят внутренний объем полукрыла на отдельные изолированные друг от друга воздухопроводы, каждый из которых имеет воздухозаборник, поворотную часть и выходной вертикальный канал. Верхняя часть каждого полукрыла отклонена назад в сторону хвостового оперения таким образом, что передняя кромка прямоугольного короба образует с вертикальной плоскостью угол в 45 градусов. В верхней части полукрылья имеют горизонтальные стабилизаторы, на средних из которых установлены элероны. Данное техническое решение позволяет распределить подъемную силу по длине фюзеляжа и увеличить устойчивость самолета в полете. 8 ил.
Настоящее изобретение относится к области авиации и может найти применение в качестве транспортного самолета.
Известен самолет, содержащий фюзеляж, маршевый реактивный двигатель, два движителя вертикального подъема, корпуса которых расположены в передней части фюзеляжа, два движителя вертикального подъема, корпуса которых расположены в задней части фюзеляжа, причем корпус каждого из движителей вертикального подъема выполнен в форме воздуховода, имеющего воздухозаборник и сопло, механизмы управления движителями вертикального подъема, вертикальный и горизонтальные стабилизаторы с рулями направления и высоты, посадочное шасси, механизмы управления самолетом. Каждый из движителей вертикального подъема выполнен в форме трех воздуховодов, имеющих сопла с диффуорами и воздухозаборники с предохранительными решетками, причем два воздуховода каждого из движителей вертикального подъема имеют регулируемые заслонки. Механизмы управления движителями вертикального подъема имеют приводы, которые кинематически связаны с регулируемыми заслонками воздухозаборников, а сопла воздухозаборников повернуты относительно воздухозаборников в вертикальной плоскости на 90 градусов /Патент РФ №2123960, кл. В64С 15/14, опубл. 27.12.98, бюл. №56/.
Недостатком известного самолета является недостаточная подъемная сила.
Указанный недостаток обусловлен конструкцией движителей вертикального подъема.
Известен также самолет, содержащий фюзеляж, три пары полукрыльев, средняя пара из которых прикреплена к верхней части фюзеляжа, а передняя и задняя лары полукрыльев прикреплены к нижней части фюзеляжа и расположены тандемом, две передние и две задние рулевые плоскости, расположенные в нишах фюзеляжа, вертикальный и горизонтальные стабилизаторы, два реактивных двигателя, установленные в задней части над фюзеляжем один поверх другого, двигатель внутреннего сгорания, кинематически связанный с генератором электрического тока, систему уменьшения давления самолета на грунт, систему защиты самолета от ударов молнии, посадочное шасси с носовым опорным колесом, механизмы управления. /Патент РФ №2086478, кл. В64С 59/08, В64D 41/00, опубликован 10.08.97, бюл. №22/.
Известный самолет по патенту РФ №2086478, как наиболее близкий по технической сущности и достигаемому полезному результату, принят за прототип.
Недостатками известного самолета по патенту РФ №2086478, принятого за прототип, являются: сложность конструкции, большой вес, большое индуктивное сопротивление полукрыльев, недостаточная подъемная сила.
Указанные недостатки обусловлены наличием большого числа полукрыльев аэродинамического профиля, установкой дополнительных систем, увеличивающих вес самолета.
Целью настоящего изобретения является упрощение конструкции и повышение эксплуатационных качеств самолета.
Указанная цель согласно изобретению обеспечивается тем, что три пары полукрыльев аэродинамического профиля, двигатель внутреннего сгорания с генератором электрического тока, система уменьшения давления самолета на грунт, система защиты самолета от ударов молнии, две передние и две задние рулевые плоскости, два реактивных двигателя, размещенные в задней части над фюзеляжем один поверх другого заменены двумя реактивными двигателями, установленными на пилонах в задней части по бокам фюзеляжа, тремя парами реактивных полукрыльев, закрепленных по бокам фюзеляжа на одной линии на некотором расстоянии одно от другого, одинаковыми по конструкции, каждое из которых выполнено в форме прямоугольного короба, имеющего продольные и поперечные перегородки, делящие внутренний объем полукрыла на отдельные изолированные друг от друга воздуховоды, каждый из которых имеет воздухозаборник, поворотную часть и выходной вертикальный канал, кроме того, верхняя часть каждого полукрыла отклонена назад в сторону хвостового оперения таким образом, что передняя кромка прямоугольного короба образует с вертикальной плоскостью угол в 45 градусов, кроме того, в верхней части реактивные полукрылья имеют горизонтальные стабилизаторы, на средних из которых установлены элероны, а на вертикальном стабилизаторе установлен руль направления.
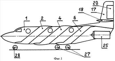
Сущность изобретения поясняется чертежами, где на фигуре 1 изображен общий вид самолета с реактивными крыльями, на фигуре 2 – вид спереди на самолет с реактивными крыльями, на фигуре 3 – вид сверху на самолет с реактивными крыльями, на фигуре 4 – общий вид реактивного полукрыла самолета, на фигуре 5 – разрез по А-А фигуры 4, на фигуре 6 – разрез по Б-Б фигуры 4, на фигуре 7 – вид сбоку на реактивное полукрыло в разрезе, на фигуре 8 – схема создания подъемной силы на реактивном полукрыле.
Самолет с реактивными крыльями содержит фюзеляж 1 с пилотским и грузопассажирским отделениями. По бокам фюзеляжа закреплены три пары реактивных полукрыльев 2, 5, 4, 5, 6, 7, одинаковых по конструкции, установленных на одной линии на некотором расстоянии одно от другого. Каждое реактивное полукрыло выполнено в форме прямоугольного короба 8, имеющего продольные 9 и поперечные 10 внутренние перегородки, делящие внутренний объем реактивного полукрыла на отдельные, изолированные друг от друга воздуховоды, каждый из которых имеет воздухозаборник 11, поворотную часть 12 и выходной вертикальный канал 13. Верхняя часть каждого реактивного полукрыла отклонена назад в сторону хвостового оперения так, что передняя кромка прямоугольного короба образует с вертикальной плоскостью угол , равный 45 градусам. В верхней части реактивные полукрылья имеют горизонтальные стабилизаторы 14, на средних из которых установлены элероны 15, 16, связанные с механизмом управления самолетом в поперечной плоскости. В задней части фюзеляжа закреплены вертикальный 17 и горизонтальные 18, 19 стабилизаторы, имеющие рули направления 20 и высоты 21, 22. В задней части фюзеляжа на пилонах 25, 24 закреплены реактивные двигатели 25, 26. В нижней части фюзеляжа установлено посадочное шасси 27 с носовым опорным колесом 28. Работа самолета.
После запуска реактивных двигателей 25, 26 самолет выруливает на взлетную полосу, разбегается и взлетает. При этом встречный воздушный поток, двигаясь со скоростью V, набегает на переднюю часть реактивных полукрыльев 2, 5, 4, 5, 6, 7, поступает в воздухозаборники 11, проходит поворотные части 12 и далее с силой выбрасывается наружу вертикально вниз, перемещаясь по вертикальный каналам 15. В результате возникает реактивная сила, которая и является подъемной силой Ру самолета уравновешивает его вес, отрывает его от взлетной полосы и удерживает в полете на необходимой высоте. Реактивные полукрылья не имеют предкрылков, но при необходимости на первую и третью пары могут быть установлены закрылки для увеличения подъемной силы при взлете и посадке. Управление в пространстве осуществляется элеронами 15, 16, рулем направления 20 и рулями высоты 21, 22 с пульта управления и ничем не отличается от обычных самолетов.
Положительный эффект: более высокая подъемная сила, большее количество груза может быть перевезено за единицу времени, более равномерное распределение подъемной силы по длине фюзеляжа и более высокая устойчивость в полете.
Формула изобретения
Самолет с реактивными крыльями, содержащий фюзеляж, три пары полукрыльев, два реактивных двигателя, установленных на пилонах в задней части фюзеляжа, вертикальный и горизонтальные стабилизаторы с рулями направления и высоты, разделенные в задней части фюзеляжа, посадочное шасси с передним опорным колесом, механизмы управления, отличающийся тем, что три пары реактивных полукрыльев, одинаковых по конструкции, закреплены по бокам фюзеляжа и установлены на одной линии на некотором расстоянии одно от другого, каждое из которых выполнено в форме прямоугольного короба, имеющего продольные и поперечные внутренние перегородки, делящие внутренний объем реактивного полукрыла на отдельные изолированные друг от друга воздухопроводы, каждый из которых имеет воздухозаборник, поворотную часть и выходной вертикальный канал, кроме того, верхняя часть каждого из реактивных полукрыльев отклонена назад в сторону хвостового оперения таким образом, что передняя кромка прямоугольного короба образует с вертикальной плоскостью угол в 45°, кроме того, в верхней части реактивные полукрылья имеют горизонтальные стабилизаторы, на средних из которых установлены элероны.
РИСУНКИ
|
|