|
|
(21), (22) Заявка: 2005134399/11, 07.04.2004
(24) Дата начала отсчета срока действия патента:
07.04.2004
(30) Конвенционный приоритет:
09.04.2003 DE 10316497.9
(43) Дата публикации заявки: 20.08.2007
(46) Опубликовано: 20.08.2008
(56) Список документов, цитированных в отчете о поиске:
RU 2203818 С2, 10.05.2003. US 3877389 А, 15.04.1975. JP 2002154432 A, 28.05.2002.
(85) Дата перевода заявки PCT на национальную фазу:
09.11.2005
(86) Заявка PCT:
EP 2004/003733 (07.04.2004)
(87) Публикация PCT:
WO 2004/089716 (21.10.2004)
Адрес для переписки:
101000, Москва, М.Златоустинский пер., 10, кв.15, “ЕВРОМАРКПАТ”, пат.пов. И.А.Веселицкой, рег. № 11
|
(72) Автор(ы):
ШНАЙДЕР Рихард (CH), МАТЕР Джефф (GB), ЗИММЕРГРЕН Патрик (SE), СКОТЕРН Роберт (GB)
(73) Патентообладатель(и):
БОМБАРДИР ТРАНСПОРТАЦИОН ГМБХ (DE)
|
(54) ХОДОВАЯ ЧАСТЬ РЕЛЬСОВОГО ТРАНСПОРТНОГО СРЕДСТВА С УЛУЧШЕННОЙ СИСТЕМОЙ ПОПЕРЕЧНОГО РЕССОРНОГО ПОДВЕШИВАНИЯ
(57) Реферат:
Ходовая часть содержит колесную пару, опирающуюся на нее через систему (4) первичного рессорного подвешивания раму (3), систему вторичного подрессоривания для опирания кузова (5) вагона на раму ходовой части, устройство принудительного наклона кузова вагона вокруг продольной оси рельсового транспортного средства и систему (24, 25) поперечного рессорного подвешивания. Система (24, 25) поперечного рессорного подвешивания или система поперечной амортизации расположена над системой (6) вторичного подрессоривания и под полом кузова вагона. Над системой вторичного подрессоривания расположена промежуточная балка (10), на которую опирается исполнительный орган (15) для регулирования наклона кузова вагона относительно рамы ходовой части. Промежуточная балка имеет отверстие или выемку (18), через которое проходит опора (17), на которую опирается система поперечного рессорного подвешивания или система поперечной амортизации. Обеспечивается компактность ходовой части при максимальной ее функциональности и высокой комфортабельности подвески. 24 з.п. ф-лы, 2 ил.
Настоящее изобретение относится к ходовой части рельсового транспортного средства, содержащей по меньшей мере одну колесную пару, опирающуюся на нее через систему первичного рессорного подвешивания раму, систему вторичного подрессоривания для опирания кузова вагона на раму ходовой части, устройство принудительного наклона кузова вагона, предназначенное для регулируемого наклона кузова вагона вокруг продольной оси рельсового транспортного средства, и систему поперечного рессорного подвешивания.
У рельсовых транспортных средств с пневматическим подрессориванием в дополнение к пневматическим рессорам обычно используются функционально связанные с ними поперечные рессоры и поперечные амортизаторы. У рельсовых транспортных средств с пневматическим подрессориванием классической конструкции с двумя пневматическими рессорами и одним центральным шкворнем тележки поперечные рессоры и поперечные амортизаторы обычно располагают в продольно-эксцентрическом или низком центральном положении. Расположение поперечных рессор и поперечных амортизаторов в каждом из двух указанных положений в большинстве случаев не является оптимальным с точки зрения динамических характеристик. Расположение поперечных рессор и поперечных амортизаторов в продольно-эксцентрическом положении приводит к возникновению паразитных крутильных колебаний и снижению эффективности элементов рессорного подвешивания. Расположение же поперечных рессор и поперечных амортизаторов в низком центральном положении усиливает боковую качку вагона и тем самым снижает эффективность гашения поперечных колебаний и боковой качки вагона.
Из патента US 6247413 В1 известна ходовая часть рельсового транспортного средства с двухосной тележкой. Такая тележка через систему первичного рессорного подвешивания закреплена на раме, с которой через промежуточно установленную систему вторичного подрессоривания соединена ориентированная поперечно направлению движения рельсового транспортного средства маятниковая опора. Эта маятниковая опора с возможностью поворота вокруг проходящей в продольном направлении рельсового транспортного средства оси соединена с несущей кузов вагона наклоняемой поперечиной, которая выполнена в виде рамы и имеет две ориентированные поперечно направлению движения рельсового транспортного средства балки, расположенные перед, соответственно за маятниковой опорой. Поперечные балки поперечины опираются при этом в направлении движения рельсового транспортного средства на маятниковую опору и установлены на ней с возможностью перемещения перпендикулярно направлению движения рельсового транспортного средства. Поперечина имеет далее соединяющую обе ее поперечные балки под маятниковой опорой центральную среднюю часть, которая для восприятия продольных усилий соединена с рамой ходовой части через лемнискатный направляющий механизм таким образом, что поперечина может поворачиваться вокруг в основном вертикальной оси и отклоняться в основном перпендикулярно направлению движения рельсового транспортного средства.
В патенте US 3877389 описан двухэтажный пассажирский вагон с двухосными ходовыми частями, каждая из которых имеет опирающуюся через систему первичного рессорного подвешивания на колесные пары раму и систему вторичного подрессоривания для опирания кузова вагона на раму ходовой части. Помимо этого каждая из ходовых частей снабжена системой поперечного рессорного подвешивания, расположенной над системой вторичного подрессоривания и под полом верхнего этажа вагона в промежуточном пространстве его кузова.
В основу настоящего изобретения была положена задача разработать ходовую часть указанного в начале описания типа, которая не имела бы указанных выше недостатков, присущих обычным рельсовым транспортным средствам с пневматическим подрессориванием. При этом, прежде всего, ставилась задача разработать ходовую часть указанного в начале описания типа, которая при компактной конструкции обладала бы максимально возможной функциональностью и подвеска которой обеспечивала бы исключительно высокую комфортабельность.
Указанная задача в отношении ходовой части указанного в начале описания типа решается согласно изобретению с помощью отличительных признаков, представленных в п.1 формулы изобретения.
У предлагаемой в изобретении ходовой части система поперечного рессорного подвешивания или система поперечной амортизации расположена над системой вторичного подрессоривания и под полом кузова вагона. Помимо этого над системой вторичного подрессоривания расположена промежуточная балка, на которую опирается исполнительный орган для регулирования наклона кузова вагона относительно рамы ходовой части. В промежуточной балке имеется выемка или отверстие, через которое проходит опора, на которую опирается система поперечного рессорного подвешивания или система поперечной амортизации. Систему поперечного рессорного подвешивания предпочтительно располагать при этом посередине ходовой части. Подобное высокое и центральное расположение системы поперечного рессорного подвешивания соответственно системы поперечной амортизации позволяет более эффективно контролировать поперечные колебания, боковую качку и крены кузова вагона и уменьшить их взаимное влияние. Благодаря центральному (среднему) расположению системы поперечного рессорного подвешивания соответственно системы поперечной амортизации отсутствует связь между поперечными и крутильными колебаниями ходовой части, в результате чего повышается эффективность элементов рессорного подвешивания и при наличии систем активного регулирования обеспечивается возможность повысить качество регулирования. Предлагаемая в изобретении ходовая часть обладает максимальной функциональностью и эффективностью работы при исключительно компактном конструктивном исполнении. Помимо этого предлагаемая в изобретении ходовая часть имеет относительно простую конструкцию и в соответствии с этим требует сравнительно малых затрат на ее изготовление.
Предпочтительные варианты выполнения предлагаемой в изобретении ходовой части приведены в зависимых пунктах формулы изобретения.
Ниже изобретение более подробно рассмотрено на примере нескольких вариантов его осуществления со ссылкой на прилагаемые чертежи, на которых показаны:
на фиг.1 – схематичный вид предлагаемой в изобретении ходовой части, выполненной по первому варианту, и
на фиг.2 – схематичный вид предлагаемой в изобретении ходовой части, выполненной по второму варианту.
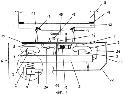
Показанная на фиг.1 ходовая часть имеет несколько колесных пар, из которых для упрощения на чертеже схематично показана только часть 1 оси одной колесной пары с колесом 2 рельсового подвижного состава. Каждая из колесных пар снабжена тормозами (не показаны), например дисковыми тормозами, и удерживается в осевых направляющих (не показаны).
Ходовая часть состоит далее из рамы 3, которая опирается на колесную пару через систему 4 первичного рессорного подвешивания, образованную винтовыми рессорами. На раму 3 ходовой части через систему 6 вторичного подрессоривания опирается кузов 5 вагона рельсового транспортного средства, например кузов вагона пассажирского поезда дальнего следования. На чертеже показана в основном только нижняя часть кузова 5 вагона, включая его пол. Система вторичного подрессоривания состоит из по меньшей мере двух рессорных узлов, выполненных в виде пневматических рессор 6. Каждая из пневматических рессор 6 имеет по сильфону 7, дополнительному объему 8 и действующей в вертикальном направлении дополнительной рессоре 9. Отдельные компоненты 7-9 пневматических рессор 6 предпочтительно располагать максимально близко друг к другу. Соблюдение этого условия позволяет избежать использования длинных соединительных линий, которые при определенных условиях могут привести к нежелательному дросселированию, соответственно к динамическому повышению жесткости при повышенных частотах колебания кузова вагона. Как показано на фиг.1, компоненты 7-9 пневматических рессор 6 расположены непосредственно друг над другом.
Над пневматическими рессорами 6 расположена промежуточная балка 10 в виде поперечины, на которой смонтировано известное как таковое устройство принудительного наклона кузова вагона, которое позволяет регулировать наклон кузова 5 вагона вокруг его продольной оси, прежде всего, при движении в кривых. Расположенное на промежуточной поперечине 10 устройство принудительного наклона кузова вагона в предпочтительном варианте содержит четыре ролика 11, которые установлены на поперечине 10 на специальных опорах. Из четырех роликов на чертеже показано только лишь два ролика 11. На ролики 11 опирается поперечина 12 кузова вагона, которая со своей нижней стороны имеет дорожки 13 качения роликов 11. Дорожки 13 качения роликов могут быть выполнены изогнутыми, соответственно выпуклыми. В показанном на чертеже варианте дорожки 13 качения роликов выполнены в основном ровными и наклонены во взаимно противоположные стороны, и поэтому воображаемые линии их продолжения пересекаются в одной точке аналогично сторонам буквы V. Поперечина 12 кузова вагона специальными соединительными элементами 14 соединена с кузовом 5 вагона. Ролики 11, а также дорожки 13 их качения расположены в основном симметрично относительно продольной средней оси, соответственно вертикальной продольной средней плоскости кузова 5 вагона.
С промежуточной поперечиной 10 и поперечиной 12 кузова вагона шарнирно соединены концы исполнительного органа 15, которым может служить, например, электромеханический, гидравлический или электрогидравлический привод системы принудительного наклона кузова вагона, прежде всего гидроцилиндр двустороннего действия.
Над промежуточной поперечиной 10 расположен поперечный амортизатор 16. Одним своим концом поперечный амортизатор 16 опирается на промежуточную поперечину 10, а другим своим концом через опору 17 опирается на раму 3 ходовой части. Поперечный амортизатор 16 может представлять собой, прежде всего, полуактивный поперечный амортизатор. Опора 17, на которую опирается поперечный амортизатор 16, расположена в основном по центру между обеими пневматическими рессорами 6 и проходит от рамы 3 ходовой части, оканчиваясь выше уровня пневматических рессор 6. Для этого в раме 3 ходовой части можно предусмотреть, например, отверстие в форме шахты, соответственно выемку 18 под пропускаемую через нее опору. Рама 3 ходовой части имеет две поперечины. Опора 17, на которую опирается поперечный амортизатор 16, соединена с обеими поперечинами рамы 3 ходовой части, соответственно предпочтительно образована продольным соединением обеих поперечин рамы 3. На этой опоре 17 закреплена также поперечная рессора 19 с прогрессивной характеристикой, предназначенная для ограничения бокового относительного перемещения между рамой 3 ходовой части и промежуточной поперечиной 10 (“удерживающее устройство”) и также опирающаяся на промежуточную поперечину 10. Поперечная рессора 19 с прогрессивной характеристикой расположена непосредственно под промежуточной поперечиной 10.
В продольном направлении перед и за пневматическими рессорами 6 установлено по поперечной рессоре 20, которые расположены между рамой 3 ходовой части и промежуточной поперечиной 10 и только одна из которых показана на чертеже. Поперечные рессоры 20, которые через соответствующие опоры опираются на раму 3 ходовой части и промежуточную поперечину 10, в предпочтительном варианте расположены в нишах в раме.
Как показано на чертеже, поперечный амортизатор 16 расположен между двумя из четырех роликов 11 устройства принудительного наклона кузова вагона. Между двумя другими роликами расположен исполнительный орган 15 устройства принудительного наклона кузова вагона.
С наружной стороны пневматических рессор 6 установлено по вертикальному амортизатору 21, которые расположены между рамой 3 ходовой части и промежуточной поперечиной 10. В зависимости от предъявляемых к комфортабельности требований предусмотрен один или два успокоителя 22 боковой качки вагона. Торсион успокоителя боковой качки закреплен на раме 3 ходовой части, а рычаг 23 (рычажное звено) успокоителя боковой качки вагона шарнирно соединен с наружной стороны пневматических рессор 6 с промежуточной балкой 10.
Схематично показанный на фиг.2 вариант выполнения ходовой части отличается от показанного фиг.1 варианта ее выполнения, прежде всего, тем, что вместо пассивных поперечных рессор и пассивного поперечного амортизатора предусмотрена активная система поперечного рессорного подвешивания, расположенная над промежуточной поперечиной 10, а тем самым и над пневматическими рессорами 6 (системой вторичного подрессоривания). В показанном на фиг.2 варианте эта активная система поперечного рессорного подвешивания образована двумя активными поперечными рессорами 24, 25, которые крепятся к верхнему концу проходящей через отверстие 18 в промежуточной поперечине 10 опоры 17 и к промежуточной поперечине 10. Вместо двух активных поперечных рессор 24, 25 к опоре 17 можно крепить только одну активную поперечную рессору. Опора 17 и в этом варианте расположена в продольной средней плоскости кузова 5 вагона и своим другим концом крепится к раме 3 ходовой части. Кузов 5 вагона в этом варианте также снабжен устройством его принудительного наклона. Как показано на чертеже, к кузову 5 вагона крепится его поперечина 12, которая со своей нижней стороны имеет дугообразно изогнутые дорожки 13 качения роликов 11, через которые кузов 5 вагона опирается на промежуточную поперечину 10.
В соответствии с приведенным выше описанием в настоящем изобретении предлагается модульная ходовая часть, которую по выбору можно оснащать различными устройствами, к которым относятся активная поперечная рессора, полуактивный поперечный амортизатор и система принудительного наклона кузова вагона, без необходимости принципиального изменения конструкции, соединяющей ходовую часть с кузовом вагона, или конструкции кузова вагона.
Формула изобретения
1. Ходовая часть рельсового транспортного средства, которая содержит по меньшей мере одну колесную пару, опирающуюся на нее через систему (4) первичного рессорного подвешивания раму (3), систему вторичного подрессоривания для опирания кузова (5) вагона на раму ходовой части, устройство принудительного наклона кузова вагона, предназначенное для регулируемого наклона кузова (5) вагона вокруг продольной оси рельсового транспортного средства, и систему (24, 25) поперечного рессорного подвешивания, и у которой система (24, 25) поперечного рессорного подвешивания или система (16) поперечной амортизации расположена над системой (6) вторичного подрессоривания и под полом кузова (5) вагона, а над системой (6) вторичного подрессоривания расположена промежуточная балка (10), на которую опирается исполнительный орган (15), предназначенный для регулирования наклона кузова (5) вагона относительно рамы (3) ходовой части, отличающаяся тем, что промежуточная балка (10) имеет отверстие или выемку (18), через которое проходит опора (17), на которую опирается система (24, 25) поперечного рессорного подвешивания или система (16) поперечной амортизации.
2. Ходовая часть по п.1, отличающаяся тем, что система (6) вторичного подрессоривания образована по меньшей мере двумя рессорными узлами, примерно посередине между которыми расположена система (24, 25) поперечного рессорного подвешивания.
3. Ходовая часть по п.1 или 2, отличающаяся тем, что система (24, 25) поперечного рессорного подвешивания опирается на раму (3) ходовой части через опору (17), которая проходит от рамы (3) ходовой части и оканчивается выше уровня системы (6) вторичного подрессоривания.
4. Ходовая часть по п.3, отличающаяся тем, что опора (17) расположена примерно посередине между двумя рессорными узлами системы (6) вторичного подрессоривания.
5. Ходовая часть по п.3, отличающаяся тем, что ее рама (3) имеет две поперечные балки, с которыми соединена опора (17), на которую опирается система поперечного рессорного подвешивания.
6. Ходовая часть по п.2, отличающаяся тем, что рессорные узлы выполнены в виде пневматических рессор (6).
7. Ходовая часть по п.2, отличающаяся тем, что каждый из рессорных узлов имеет по сильфону (7) пневматической рессоры, дополнительному объему (8) и действующей в вертикальном направлении дополнительной рессоре (9).
8. Ходовая часть по п.1 или 2, отличающаяся тем, что система (16) поперечной амортизации образована полуактивным поперечным амортизатором.
9. Ходовая часть по п.1 или 2, отличающаяся тем, что система поперечного рессорного подвешивания образована по меньшей мере одним активным или полуактивным устройством (24, 25) поперечного рессорного подвешивания.
10. Ходовая часть по п.1 или 2, отличающаяся тем, что в направлении движения рельсового транспортного средства перед и за системой (6) вторичного подрессоривания расположено по меньшей мере по одной поперечной рессоре (20).
11. Ходовая часть по п.10, отличающаяся тем, что каждая из поперечных рессор (20) расположена в зоне ниш в раме (3) ходовой части.
12. Ходовая часть по п.1 или 2, отличающаяся тем, что на ее раме (3) закреплен по меньшей мере один успокоитель (22) боковой качки.
13. Ходовая часть по п.1, отличающаяся тем, что устройство принудительного наклона кузова вагона содержит по меньшей мере два ролика (11), которые контактируют с изогнутыми или ровными, наклоненными в направлении воображаемой общей точки их пересечения дорожками (13) их качения и между которыми расположен исполнительный орган (15), предназначенный для регулирования наклона кузова (5) вагона относительно рамы (3) ходовой части.
14. Ходовая часть по п.13, отличающаяся тем, что ролики (11) устройства принудительного наклона кузова вагона опираются на промежуточную балку (10).
15. Ходовая часть по п.13, отличающаяся тем, что дорожки (13) качения роликов выполнены на поперечине (12) кузова вагона.
16. Ходовая часть по п.13, отличающаяся тем, что на поперечину (12) кузова вагона опирается один конец исполнительного органа (15).
17. Ходовая часть по п.15, отличающаяся тем, что поперечина (12) кузова вагона соединена с кузовом (5) вагона соединительными элементами (14).
18. Ходовая часть по п.1 или 2, отличающаяся тем, что успокоитель (22) боковой качки соединен с промежуточной балкой (10) рычажным звеном (23).
19. Ходовая часть по п.1 или 2, отличающаяся тем, что система поперечного рессорного подвешивания содержит по меньшей мере одну поперечную рессору с прогрессивной характеристикой, ограничивающую боковое смещение между рамой (3) ходовой части и кузовом (5) вагона или промежуточной балкой (10).
20. Ходовая часть по п.1 или 2, отличающаяся тем, что параллельно системе вторичного подрессоривания расположен по меньшей мере один вертикальный амортизатор (21).
21. Ходовая часть по п.20, отличающаяся тем, что вертикальный амортизатор (21) закреплен на раме (3) ходовой части и промежуточной балке (10).
22. Ходовая часть по п.1 или 2, отличающаяся тем, что система (24, 25) поперечного рессорного подвешивания опирается на раму (3) ходовой части через опору (17), которая проходит от рамы (3) ходовой части и оканчивается выше уровня системы (6) вторичного подрессоривания и которая расположена примерно посередине между двумя рессорными узлами системы (6) вторичного подрессоривания, а рама (3) ходовой части имеет две поперечные балки, с которыми соединена эта опора (17), на которую опирается система поперечного рессорного подвешивания.
23. Ходовая часть по п.1 или 2, отличающаяся тем, что система (24, 25) поперечного рессорного подвешивания образована по меньшей мере одним активным или полуактивным устройством (24, 25) поперечного рессорного подвешивания и опирается на раму (3) ходовой части через опору (17), которая проходит от рамы (3) ходовой части и оканчивается выше уровня системы (6) вторичного подрессоривания и которая расположена примерно посередине между двумя рессорными узлами системы (6) вторичного подрессоривания, а рама (3) ходовой части имеет две поперечные балки, с которыми соединена эта опора (17), на которую опирается система поперечного рессорного подвешивания.
24. Ходовая часть по п.1 или 2, отличающаяся тем, что устройство принудительного наклона кузова вагона содержит по меньшей мере два опирающихся на промежуточную балку (10) ролика (11), которые контактируют с выполненными на поперечине (12) кузова вагона дорожками (13) качения и между которыми расположен исполнительный орган (15), предназначенный для регулирования наклона кузова (5) вагона относительно рамы (3) ходовой части и опирающийся одним своим концом на поперечину (12) кузова вагона.
25. Ходовая часть по п.1 или 2, отличающаяся тем, что ее рама (3) имеет две поперечные балки, с которыми соединена опора (17), на которую опирается система поперечного рессорного подвешивания и которая расположена примерно посередине между двумя рессорными узлами системы (6) вторичного подрессоривания.
РИСУНКИ
|
|