|
|
(21), (22) Заявка: 2006145825/11, 25.12.2006
(24) Дата начала отсчета срока действия патента:
25.12.2006
(46) Опубликовано: 20.08.2008
(56) Список документов, цитированных в отчете о поиске:
RU 2174925 C1, 20.10.2001. RU 2097231 C1, 27.11.1997. EP 0091113 A1, 12.10.1983. US 4747459 A, 31.05.1988.
Адрес для переписки:
603054, г.Нижний Новгород, ул. Новосоветская, 14, кв.23, С.В. Пушкину
|
(72) Автор(ы):
Плева Павел Владимирович (RU), Алексеев Станислав Сергеевич (RU)
(73) Патентообладатель(и):
Плева Павел Владимирович (RU), Алексеев Станислав Сергеевич (RU)
|
(54) СУДНО НА ВОЗДУШНОЙ ПОДУШКЕ
(57) Реферат:
Изобретение относится к судостроению и может быть использовано при конструировании судов на воздушной подушке. Судно имеет корпус, нагнетательную установку с рулевым устройством и воздуховодами для подачи воздуха в область воздушной подушки через бортовые элементы гибкого ограждения, выполненные в виде гибких полотнищ, верхний край которых жестко закреплен на корпусе, кормовое гибкое ограждение, носовое гибкое ограждение, бортовые скеги. Судно снабжено распределяющим коллектором, размещенным над кормовым гибким ограждением, входная часть которого соединена с нижней частью нагнетательной установки. Выходная часть состоит из трех систем выходов, первая из которых соединена с полостями боковых гибких ограждений, вторая – с полостью кормового гибкого ограждения, третья – непосредственно с областью воздушной подушки. Подача воздуха в бортовые полости гибкого ограждения осуществляется со стороны диаметральной плоскости в стороны бортовых скег. Нижние края полотнищ жестко закреплены на днище корпуса с образованием эластичных воздушных каналов. В нижней части полотнищ выполнены отверстия для выхода воздуха в зону воздушной подушки, а также сброса воды или снега. В отверстия полотнищ могут быть установлены эластичные сопла под углом 30-60 градусов к диаметральной плоскости судна, обращенные выходной частью в область воздушной подушки. На наружной поверхности полотнищ на внешней стороне от отверстий могут быть установлены эластичные продольные пластины. Изобретение позволяет повысить надежность судна на воздушной подушке и увеличить его экономичность путем снижения потерь энергии воздушного потока, снижения сопротивления движению судна в условиях волнения на воде и неровностях на суше, увеличить работоспособность гибкого ограждения в различных погодных и климатических условиях, а также повысить живучесть и стойкость гибкого ограждения к подламыванию. 2 з.п. ф-лы, 5 ил.
Изобретение относится к судостроению и может быть использовано при конструировании судов на воздушной подушке.
Известно судно на воздушной подушке, содержащее корпус, движительную и нагнетательные установки, ограждение области воздушной подушки с носовым и кормовыми подвижными элементами, с бортовыми скегами и средним скегом, разделяющим область воздушной подушки на отдельные камеры. Нагнетательная установка выполнена с рулевым устройством (см. патент РФ №2097231, кл. В60V 3/06 от 13.05.1996 г.).
Недостатком этого судна является низкая амфибийность, значительное сопротивление движению на неровных твердых поверхностях, низкая надежность.
Наиболее близким техническим решением к заявленному изобретению является конструкция судна на воздушной подушке по патенту РФ №2174925, публ. 20.10.2001 г., которое имеет корпус, нагнетательную установку с рулевым устройством и воздуховодами для подачи воздуха в область воздушной подушки, ограждение области воздушной подушки с носовым и кормовым элементами и бортовыми скегами. Воздуховоды образованы гибкими полотнищами и скегами. Верхние кромки полотнищ герметично прикреплены к корпусу судна. Нижние кромки этих полотнищ прикреплены гибкими связями к скегам.
Недостатком данного решения является наличие застойной зоны в ресивере и, как следствие, скопление мусора и снега в нижней его части, где отсутствует перфорация для сброса воды, снега и мусора непосредственно в воздушную подушку. У данного судна большое аэродинамическое сопротивление воздуховодов. Наличие открытой кромки полотнищ в нижней его части снижает живучесть судна, повышает сопротивление даже при незначительном боковом скольжении. Из-за отсутствия защиты надувного элемента – бокового скега с внутренней его части – низкая надежность судна.
Задачей изобретения является повышение надежности судна на воздушной подушке и увеличение его экономичности за счет снижения потерь энергии воздушного потока, снижения сопротивления движению судна в условиях волнения на воде и неровностях на суше, увеличение работоспособности гибкого ограждения в различных погодных и климатических условиях, повышение живучести, повышение стойкости гибкого ограждения к подламыванию.
Технический результат достигается за счет того, что судно снабжено распределяющим коллектором, размещенным над кормовым гибким ограждением, входная часть которого соединена с нижней частью нагнетательной установки, а выходная часть состоит из трех систем выходов, первая из которых соединена с полостями боковых гибких ограждений, вторая – с полостью кормового гибкого ограждения, третья – непосредственно с областью воздушной подушки, причем подача воздуха в бортовые полости гибкого ограждения осуществляется со стороны диаметральной плоскости в стороны бортовых скег, при этом нижние края полотнищ жестко закреплены на днище корпуса с образованием эластичных воздушных каналов, а в нижней части полотнищ выполнены отверстия для выхода воздуха в зону воздушной подушки, а также сброса воды или снега.
В отверстия полотнищ установлены эластичные сопла под углом 30-60 градусов к диаметральной плоскости судна, обращенные выходной частью в область воздушной подушки.
На наружной поверхности полотнищ на внешней стороне от отверстий установлены эластичные продольные пластины.
Сущность изобретения поясняется чертежами.
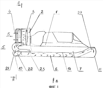
На фиг.1 – продольный разрез судна.
На фиг.2 – разрез А-А фиг.1
На фиг.3 – вид Б фиг.1.
На фиг.4 – вид В фиг.1.
На фиг.5 – разрез Г-Г фиг.4.
Судно содержит корпус 1, нагнетательную установку 2, которая включает осевой вентилятор 3 и рулевое устройство 4, служащее для управления судном по курсу и дифференту. Судно имеет отсекатель 5, образующий входную часть коллектора. Область 6 воздушной подушки находится между днищем 7 судна, боковыми полотнищами 8, 9, гибким кормовым ограждением 10 и гибким носовым ограждением 11. Воздух от вентилятора подается частично (80% общего расхода) горизонтально в атмосферу, при этом создается движущая судно реактивная сила. Корпус 1 бортовыми скегами 12, 13 и полотнищами 8, 9 образуют бортовые воздуховоды. Верхние кромки полотнищ герметично прикреплены к корпусу 1 судна. Нижние кромки этих полотнищ прикреплены к днищу 7 корпуса 1 по линии 14. Судно содержит распределяющий коллектор 15, размещенный над кормовым гибким ограждением 10, входная часть 16 которого соединена с нижней частью нагнетательной установки 2, а выходная часть состоит из трех систем выходов, первый выход 17, 18 которого соединен с полостями боковых гибких ограждений 19, 20, второй выход 21 – с полостью 22 кормового гибкого ограждения 10, третий выход 23 – непосредственно с областью 6 воздушной подушки, причем подача воздуха в бортовые полости 19, 20 гибкого ограждения осуществляется со стороны диаметральной плоскости в стороны бортовых скег 12. 13, при этом нижние края полотнищ 8, 9 жестко закреплены на днище 7 корпуса с образованием эластичных воздушных каналов 19, 20, а в нижней части полотнищ выполнены отверстия 24 для выхода воздуха в зону воздушной подушки, а также сброса воды или снега.
В отверстия полотнищ установлены эластичные сопла 25 под углом 30-60 градусов к диаметральной плоскости судна, обращенные выходной частью в область воздушной подушки.
На наружной поверхности полотнищ на внешней стороне от отверстий установлены эластичные продольные пластины 26. Передняя оконечность бортовых полостей заканчивается эластичными соплами 27.
Устройство работает следующим образом.
Воздух от вентилятора 3 подается частично горизонтально в атмосферу, при этом создается движущая судно реактивная сила. Рули 4, 5, установленные в этой части воздушного потока, дают возможность управлять вектором реактивной силы. Остальная часть воздушного потока (около 20% общего расхода вентилятора 3) через входную часть 16 поступает в распределительный коллектор 15, откуда распределяется по трем системам: через первую систему выходов 17, 18 – в полости боковых гибких ограждений 19, 20, через вторую систему – ее выход 21 – в полость 22 кормового гибкого ограждения 10, по третьей системе через выход 25 воздух поступает непосредственно в область 6 воздушной подушки. По первой системе воздух из полостей бортовых гибких ограждений 19, 20, подается в область воздушной подушки 6 через верхние передние эластичные сопла 27 и систему нижних эластичных сопел 25. Причем сопла 25 установлены в полотнища под углом 30-60 градусов к диаметральной плоскости судна и обращены выходной частью в область воздушной подушки назад по ходу движения. Указанный интервал углов выбран исходя из наилучших условий удержания воздушной подушки бортовыми элементами гибкого ограждения. В случае выполнения угла менее 30 градусов резко снижается способность удержания воздушной подушки. В случае выполнения угла более 60 градусов резко повышается гидродинамическое сопротивление гибкого ограждения и значительно повышается риск механического разрушения эластичных сопел.
Предлагаемая система гибкого ограждения обеспечивает подпор и снижение утечек воздуха из области 6 воздушной подушки, снижение гидродинамического сопротивления гибкого ограждения. Установленные эластичные продольные пластины 26 выполняют две функции.
Первая функция – предотвращение замывания бортовых полотнищ при движении по воде.
Вторая функция продольных пластин совместно с эластичными соплами – создание системы воздушных каверн на нижней поверхности полотнищ, что значительно снижает гидродинамическое сопротивление судна.
Закрепление нижней кромки полотнищ на днище позволяет обеспечить создание эластичных воздуховодов и надежную защиту надувных бортовых скег 12, 13.
Опытное изготовление предлагаемой конструкции доказало ее эффективность и полностью подтвердило ее аэродинамический расчет.
Судно изготавливается с применением обычного оборудования и известных конструкционных материалов.
Формула изобретения
1. Судно на воздушной подушке, содержащее корпус, нагнетательную установку с рулевым устройством и воздуховодами для подачи воздуха в область воздушной подушки через бортовые элементы гибкого ограждения, выполненные в виде гибких полотнищ, верхний край которых жестко закреплен на корпусе, кормовое гибкое ограждение, носовое гибкое ограждение, бортовые скеги, отличающееся тем, что оно снабжено распределяющим коллектором, размещенным над кормовым гибким ограждением, входная часть которого соединена с нижней частью нагнетательной установки, а выходная часть состоит из трех систем выходов, первая из которых соединена с полостями боковых гибких ограждений, вторая – с полостью кормового гибкого ограждения, третья – непосредственно с областью воздушной подушки, причем подача воздуха в бортовые полости гибкого ограждения осуществляется со стороны диаметральной плоскости в стороны бортовых скег, при этом нижние края полотнищ жестко закреплены на днище корпуса с образованием эластичных воздушных каналов, а в нижней части полотнищ выполнены отверстия для выхода воздуха в зону воздушной подушки, а также сброса воды или снега.
2. Судно на воздушной подушке по п.1, отличающееся тем, что в отверстия полотнищ установлены эластичные сопла под углом 30-60° к диаметральной плоскости судна, обращенные выходной частью в область воздушной подушки.
3. Судно на воздушной подушке по п.1, отличающееся тем, что на наружной поверхности полотнищ на внешней стороне от отверстий установлены эластичные продольные пластины.
РИСУНКИ
|
|