|
|
(21), (22) Заявка: 2005117151/12, 30.10.2003
(24) Дата начала отсчета срока действия патента:
30.10.2003
(30) Конвенционный приоритет:
05.11.2002 IT PCT/IT02/00698
(43) Дата публикации заявки: 20.01.2006
(46) Опубликовано: 20.08.2008
(56) Список документов, цитированных в отчете о поиске:
US 2002/0153083 A1, 24.10.2002. RU 2174469 C2, 10.10.2001. EP 1211057 A, 05.06.2002. RU 1717410 A1, 07.03.1992. WO 02094545 A1, 28.11.2002.
(85) Дата перевода заявки PCT на национальную фазу:
06.06.2005
(86) Заявка PCT:
IT 03/00669 (30.10.2003)
(87) Публикация PCT:
WO 2004/041522 (21.05.2004)
Адрес для переписки:
129010, Москва, ул. Б.Спасская, 25, стр.3, ООО “Юридическая фирма Городисский и Партнеры”, пат.пов. С.А.Дорофееву
|
(72) Автор(ы):
ЛАКАНЬИНА Клаудио (IT)
(73) Патентообладатель(и):
ПИРЕЛЛИ ПНЕУМАТИЧИ С.П.А. (IT)
|
(54) СПОСОБ И УСТРОЙСТВО ДЛЯ СБОРКИ ШИН ДЛЯ КОЛЕС ТРАНСПОРТНЫХ СРЕДСТВ
(57) Реферат:
Изобретение относится к способу и устройству сборки шин для колес транспортных средств. Шина содержит каркасную конструкцию, содержащую один слой каркаса. Каркас находится в контакте с кольцевыми конструкциями для крепления, расположенными на расстоянии друг от друга в осевом направлении. Брекерную конструкцию перемещают в положение, в котором она будет соосно сцентрирована относительно каркасной конструкции. Каркасной конструкции придают тороидальную конфигурацию. Протекторный браслет накладывают на брекерную конструкцию, находящуюся в контакте с каркасной конструкцией. Пару боковин накладывают с противоположных сторон на каркасную конструкцию. Наложение протекторного браслета или пары боковин выполняют посредством намотки непрерывного полосообразного элемента из эластомерного материала в виде прилегающих окружных периферийных витков. Наложение протекторного браслета и пары боковин выполняют циклически, придерживаясь регулируемой скорости на первом и втором основных барабанах. Размещение каркасной конструкции на одном из основных барабанов выполняют перед завершением сборки шины на другом из основных барабанов. Изобретение позволяет достичь повышения качества шин и геометрическую ровность протекторного браслета и боковин, обусловленную правильным распределением полос эластомерного материала. 2 н. и 29 з.п. ф-лы, 5 ил.
Настоящее изобретение относится к способу сборки шин для колес транспортных средств. Изобретение также относится к устройству для сборки шин транспортных средств, предназначенному для осуществления вышеупомянутого способа сборки.
Шина для колес транспортных средств, как правило, содержит каркасную конструкцию, включающую в себя, по меньшей мере, один слой каркаса, имеющий соответственно противоположные концевые клапаны, загнутые вверх петлеобразно вокруг кольцевых конструктивных элементов для крепления, причем каждый из указанных конструктивных элементов для крепления обычно образован из по существу окружной периферийной кольцевой усилительной вставки, на которую наложена, по меньшей мере, одна наполнительная вставка в радиально наружном месте кольцевой усилительной вставки.
С каркасной конструкцией связана брекерная конструкция, содержащая один или несколько слоев брекера, расположенных наложенными друг на друга и на слой каркаса в радиальном направлении и имеющих текстильные или металлические усиливающие корды, ориентированные с перекрещиванием и/или расположенные по существу параллельно окружному направлению протяженности шины. На брекерную конструкцию радиально снаружи наложен протекторный браслет, изготовленный из эластомерного материала подобно другим полуфабрикатам, представляющим собой составные части шины.
В целях настоящего описания следует указать на то, что под термином “эластомерный материал” понимается резиновая смесь во всей полноте, то есть смесь, образованная, по меньшей мере, из одного базового полимера, соответствующим образом соединенного с усиливающими наполнителями и/или технологическими добавками различных типов.
Кроме того, соответствующие боковины из эластомерного материала также наложены на боковые поверхности каркасной конструкции, при этом каждая из них проходит от одного из боковых краев протекторного браслета до места, расположенного рядом с соответствующим кольцевым конструктивным элементом для крепления у бортов, причем указанные боковины в зависимости от различных вариантов осуществления могут иметь соответствующие радиально наружные концевые края или наложенные на боковые края протекторного браслета так, чтобы образовать конструктивную схему такого типа, какую обычно называют “вышележащими боковинами”, или расположенные между каркасной конструкцией и боковыми краями самого протекторного браслета в соответствии с конструктивной схемой такого типа, какую обычно называют “нижележащими боковинами”.
В большинстве известных способов изготовления шин предусмотрено, что каркасная конструкция и брекерная конструкция вместе с соответствующим протекторным браслетом изготавливают отдельно друг от друга на соответствующих рабочих станциях и затем собирают друг с другом.
Более точно, изготовление каркасной конструкции сначала предусматривает наложение слоя или слоев каркаса на первом барабане, обычно называемом “барабаном для сборки шины”, для образования цилиндрического рукавного элемента. Кольцевые конструкции для крепления у бортов устанавливают или образуют на противоположных концевых клапанах слоя или слоев каркаса, которые, в свою очередь, загибают вверх вокруг самих кольцевых конструктивных элементов с тем, чтобы окружить их подобно петле.
Одновременно на втором барабане или вспомогательном барабане образуют наружный рукавный элемент, который содержит слои брокера, уложенные друг на друга с наложением их друг на друга в радиальном направлении, и протекторный браслет, наложенный на слои брекера снаружи по отношению к ним в радиальном направлении. Наружный рукавный элемент затем захватывают со вспомогательного барабана для соединения его с рукавным элементом каркаса. Для этого наружный рукавный элемент размещают соосно вокруг рукавного элемента каркаса, после чего слою или слоям каркаса придают тороидальную форму путем смещения бортов ближе друг к другу в аксиальном направлении и одновременного введения текучей среды под давлением в рукавный элемент каркаса с тем, чтобы завершить наложение брекерного пояса и протекторного браслета на каркасную конструкцию шины радиально снаружи. Сборку рукавного элемента каркаса с наружным рукавным элементом можно выполнять на том же барабане, который используется для сборки рукавного элемента каркаса, при этом в данном случае говорят об “одностадийном процессе сборки”. Процесс сборки данного типа описан, например, в патенте США №3990931.
Как вариант, сборка может быть выполнена на так называемом “барабане для придания формы”, на который рукавный элемент каркаса и наружный рукавный элемент перемещают для сборки шины, следуя так называемому “двухстадийному процессу сборки”, подобному описанному, например, в патентном документе ЕР 0613757.
При обычных способах сборки протекторный браслет обычно выполняют из полученного непрерывной экструзией профильного элемента, который после охлаждения для стабилизации его геометрической формы хранят на соответствующих столах или барабанах. Полуфабрикат в виде профильных элементов или непрерывной полосы затем направляют в подающее устройство, выполняющее или захват профильных элементов, или разрезание непрерывной полосы на профильные элементы заданной длины, при этом каждый из них образует протекторный браслет, подлежащий надеванию по окружности на брекерную конструкцию изготавливаемой шины.
Из патентного документа GB 1048241 известна машина, предназначенная для укладки слоя эластомерного материала переменной толщины на каркас шины и содержащая подающую головку, предназначенную для наложения ленты эластомерного материала на каркас, средства для приведения каркаса во вращение вокруг его оси для намотки множества витков на него, когда каркас вращается относительно подающей головки, средства для перемещения подающей головки в поперечном направлении относительно каркаса, от одной до другой периферийной средней плоскости каркаса и средства для автоматического изменения длины перемещения в поперечном направлении для каждого оборота при намотке с тем, чтобы изменить степень перекрытия прилегающих витков и, следовательно, толщину слоя, образуемого на каркасе. В соответствующем варианте, предназначенном для изготовления новых шин, во время образования протекторного браслета каркас установлен на сборочном барабане и имеет цилиндрическую правильную форму.
В патентной публикации WO 01/36185 роботизированная рука несет тороидальную опору, на которой непосредственно изготавливается каждый из компонентов шины, находящейся в процессе изготовления. Роботизированная рука сообщает тороидальной опоре движение для распределения по окружности вокруг ее геометрической оси одновременно с управляемыми перемещениями для распределения в поперечном направлении перед подающим элементом, подающим узкую полосу эластомерного материала. Таким образом, узкая полоса образует множество витков, при этом обеспечивается соответствующее регулирование ориентации и параметров взаимного перекрытия данных витков с тем, чтобы управлять изменениями толщины, которые должны быть приданы изготавливаемому компоненту шины, на основе заданной схемы наложения, которая предварительно задана на электронном компьютере.
С точки зрения производства, для которого предназначено настоящее изобретение (предполагающее изготовление и хранение полуфабрикатов и последующую сборку их на сборочном барабане и/или барабане для придания формы), для изготовления протекторных браслетов и боковин в настоящее время требуется установка линий экструзии, которые обязательно должны иметь высокую производительность, чтобы обеспечить соответствующую отдачу с точки зрения экономической эффективности при масштабном производстве. В результате линия экструзии обычно может снабжать множество сборочных станций. Действительно, требуется регулировать производительность линий экструзии пропорционально производительности сборочных станций, число которых влияет на “насыщение” и, следовательно, на производительность линии экструзии.
Настоящее изобретение направлено на преодоление сильных ограничений, накладываемых вышеописанными обстоятельствами, которые особенно проявляются в невозможности модификации производственных установок в ответ на неожиданные колебания рыночного спроса с точки зрения производительности и типологии продуктов. Действительно, поскольку производительность установки в значительной степени связана с производительностью линии экструзии протекторных браслетов, повышение производительности обычно требует установки дополнительных линий экструзии протекторных браслетов и/или боковин, что приводит к увеличению производственной мощности, которая в данный момент была бы избыточной по отношению к реальному рыночному спросу.
Кроме того, при обычных способах имеет место тенденция придания полученным шинам конструктивной неровности. В частности, было обнаружено, что геометрическая ровность протекторного браслета и боковин обусловлена правильным распределением полос эластомерного материала, наложенных на каркасную конструкцию и/или брекерную конструкцию, в особенности в местах соединения краев каждой полосы впритык. Особенно важным аспектом для достижения целей образования боковин является имеющее важное значение растягивание в окружном направлении, которому полосы эластомерного материала, наложенные в соответствии с известным уровнем техники, обязательно подвергаются, когда каркасной конструкции придают тороидальную форму, начиная от по существу цилиндрической формы.
Также было принято во внимание то обстоятельство, что в рамках обычных способов сборки шин невозможность одинакового осуществления конструктивных схем типа “вышележащих боковин” и типа “нижележащих боковин” без использования специального машинного оборудования, необходимого для каждой конструктивной схемы, по существу присуща принятому технологическому процессу изготовления протекторного браслета и боковин.
Кроме того, опытным путем было установлено, что трудно осуществить встраивание в сборочные установки оборудования, необходимого для соединения вспомогательных армирующих усилительных вставок с каркасной конструкцией там, где это требуется, для изготовления шин самонесущего типа. Кроме того, в соответствии с настоящим изобретением, данные ограничения также могут быть неожиданным образом преодолены за счет введения в технологические процессы сборки другой операции для изготовления боковин и/или протекторного браслета.
В соответствии с настоящим изобретением, при решении рассмотренных выше проблем была рассмотрена возможность достижения существенных улучшений с точки зрения эксплуатационной гибкости и качества продукции за счет изготовления протекторного браслета и/или боковин в современных технологических процессах сборки шин, предусматривающих сборку полуфабрикатов, посредством намотки непрерывного полосообразного элемента в витки, расположенные бок о бок непосредственно на брекерной конструкции.
Более точно, целью настоящего изобретения является создание способа сборки шин для колес транспортных средств, при котором размещают на основном барабане каркасную конструкцию, содержащую, по меньшей мере, один слой каркаса, находящийся в контакте с кольцевыми конструкциями для крепления, расположенными на расстоянии друг от друга в осевом направлении; размещают на вспомогательном барабане брекерную конструкцию, содержащую, по меньшей мере, один слой брекера; захватывают брекерную конструкцию со вспомогательного барабана для ее перемещения в положение, в котором она будет соосно сцентрирована относительно каркасной конструкции; придают каркасной конструкции тороидальную конфигурацию для обеспечения контактирования брекерной конструкции с каркасной конструкцией; накладывают протекторный браслет на брекерную конструкцию, находящуюся в контакте с каркасной конструкцией; накладывают пару боковин на каркасную конструкцию с ее противоположных сторон; при этом, по меньшей мере, либо наложение протекторного браслета, либо наложение пары боковин выполняют посредством намотки, по меньшей мере, одного непрерывного полосообразного элемента из эластомерного материала в виде прилегающих окружных периферийных витков вокруг каркасной конструкции, размещенной на основном барабане, причем наложение протекторного браслета и наложение пары боковин выполняют циклически, придерживаясь регулируемой скорости на, по меньшей мере, одном первом и одном втором основных барабанах, при этом размещение каркасной конструкции на одном из основных барабанов выполняют перед завершением сборки шины на другом из основных барабанов.
Предпочтительно наложение протекторного браслета выполняют посредством намотки, по меньшей мере, одного первого непрерывного полосообразного элемента из эластомерного материала в виде прилегающих окружных периферийных витков вокруг брекерной конструкции.
Предпочтительно наложение каждой боковины выполняют посредством намотки, по меньшей мере, одного второго непрерывного полосообразного элемента из эластомерного материала в виде прилегающих окружных периферийных витков вокруг каркасной конструкции.
Предпочтительно наложение боковин выполняют после придания тороидальной конфигурации каркасной конструкции.
Предпочтительно наложение боковин выполняют после наложения протекторного браслета.
Предпочтительно наложение боковин выполняют перед наложением протекторного браслета.
Предпочтительно непрерывный полосообразный элемент подают из подающего элемента, расположенного в зоне, находящейся рядом с изготавливаемой шиной, одновременно с намоткой самого полосообразного элемента вокруг геометрической оси каркасной конструкции.
Предпочтительно подачу непрерывного полосообразного элемента выполняют посредством экструзии через подающий элемент.
Предпочтительно одновременно с наложением непрерывного полосообразного элемента: обеспечивают вращательное движение основного барабана вокруг его геометрической оси вращения для распределения непрерывного полосообразного элемента по окружности, так что непрерывный полосообразный элемент распределяется по окружности вокруг геометрической оси каркасной конструкции; выполняют управляемые, предназначенные для распределения непрерывного полосообразного элемента в поперечном направлении смещения между основным барабаном и подающим элементом с тем, чтобы образовать из полосообразного элемента множество витков, расположенных бок о бок друг относительно друга.
Предпочтительно указанные смещения для распределения в поперечном направлении выполняют за счет перемещения основного барабана.
Предпочтительно приведение основного барабана во вращение и его перемещение выполняют посредством исполнительного узла, входящего в контакт с самим основным барабаном.
Предпочтительно после переноса брекерной конструкции и перед выполнением наложения непрерывного полосообразного элемента осуществляют перемещение основного барабана к подающему элементу, начиная из положения, в котором основной барабан взаимодействует с транспортирующим элементом, перемещающим брекерную конструкцию на каркасную конструкцию.
Предпочтительно дополнительно перемещают основной барабан от подающего элемента для установки основного барабана в заданное положение перед устройствами, предназначенными для отсоединения шины от основного барабана.
Предпочтительно дополнительно перемещают основной барабан в зону между, по меньшей мере, одним первым подающим элементом, предназначенным для наложения протекторного браслета, и, по меньшей мере, одним вторым подающим элементом, предназначенным для изготовления боковин.
Предпочтительно дополнительно образуют каркасную конструкцию на сборочном барабане; и перемещают каркасную конструкцию со сборочного барабана к основному барабану.
Предпочтительно перемещение каркасной конструкции со сборочного барабана к основному барабану выполняют после введения брекерной конструкции в контакт с каркасной конструкцией.
Предпочтительно образование каркасной конструкции включает в себя этап соединения вспомогательных усилительных вставок, предназначенных для обеспечения упругой опоры, с, по меньшей мере, одним слоем каркаса, причем каждая из вспомогательных усилительных вставок имеет радиально внутренний край, расположенный рядом с одной из кольцевых конструкций для крепления, и радиально наружный край, расположенный рядом с боковым краем брекерной конструкции.
Предпочтительно дополнительно осуществляют, по меньшей мере, один этап прикатки, выполняемый на брекерной конструкции, наложенной на каркасную конструкцию.
Предпочтительно перед, по меньшей мере, одним из этапов наложения осуществляют выдерживание каркасных конструкций, находящихся в контакте с соответствующими брекерными конструкциями.
Согласно другому аспекту настоящего изобретения создано устройство для сборки шин для колес транспортных средств, содержащее: по меньшей мере, один основной барабан, выполненный с возможностью обеспечения опоры для каркасной конструкции, содержащей, по меньшей мере, один слой каркаса, находящийся в контакте с конструкциями для крепления, расположенными на расстоянии друг от друга в осевом направлении; вспомогательный барабан, установленный с возможностью нести брекерную конструкцию; транспортирующий элемент, предназначенный для перемещения брекерной конструкции со вспомогательного барабана к каркасной конструкции; по меньшей мере, одно устройство для наложения протекторного браслета на брекерную конструкцию; по меньшей мере, одно устройство для наложения пары боковин на противоположные боковые стенки каркасной конструкции; при этом, по меньшей мере, одно из устройств для наложения протекторного браслета и боковин содержит, по меньшей мере, один подающий элемент, предназначенный для укладки, по меньшей мере, одного непрерывного полосообразного элемента из эластомерного материала в виде прилегающих окружных периферийных витков на каркасной конструкции, и, по меньшей мере, один второй основной барабан, причем первый и второй основные барабаны выполнены с возможностью взаимодействия с первым и вторым исполнительными узлами, соответственно, для обеспечения последовательного ввода указанных барабанов во взаимодействие с устройствами для наложения каркасной конструкции, с устройством для наложения протекторного браслета и с устройством для наложения боковин.
Предпочтительно подающий элемент содержит, по меньшей мере, один экструдер.
Предпочтительно с, по меньшей мере, одним подающим элементом связан, по меньшей мере, один исполнительный узел, выполненный с возможностью приведения основного барабана во вращение вокруг его геометрической оси так, что полосообразный элемент распределяется по окружности на брекерной конструкции, и с возможностью обеспечения управляемых смещений между основным барабаном и, по меньшей мере, одним подающим элементом для распределения полосообразного элемента так, чтобы образовать витки, расположенные бок о бок друг относительно друга.
Предпочтительно исполнительный узел оказывает воздействие на основной барабан для его перемещения относительно подающего элемента.
Предпочтительно исполнительный узел встроен в роботизированную руку, взаимодействующую с основным барабаном.
Предпочтительно исполнительный узел содержит каретку, выполненную с возможностью перемещения вдоль направляющей конструкции между первым положением, в котором она служит опорой основному барабану в месте перед устройствами для наложения каркасной конструкции, и вторым положением, в котором она служит опорой основному барабану в месте перед, по меньшей мере, одним подающим элементом.
Предпочтительно устройство дополнительно содержит устройства для наложения каркасной конструкции на основном барабане, причем исполнительный узел выполнен с возможностью обеспечения поступательного перемещения основного барабана к, по меньшей мере, одному подающему элементу, начиная из положения, в котором основной барабан взаимодействует с устройствами для наложения каркасной конструкции.
Предпочтительно устройство содержит, по меньшей мере, один первый подающий элемент, предназначенный для образования протекторного браслета, и, по меньшей мере, один второй подающий элемент, предназначенный для образования боковин.
Предпочтительно устройство дополнительно содержит сборочную станцию, предназначенную для образования каркасной конструкции на сборочном барабане; и транспортирующие устройства, предназначенные для переноса каркасной конструкции со сборочного барабана к, по меньшей мере, одному основному барабану.
Предпочтительно транспортирующие устройства содержат магазин-накопитель и вспомогательный транспортирующий элемент для перемещения каркасной конструкции со сборочного барабана к магазину-накопителю.
Предпочтительно устройство содержит устройства для соединения вспомогательных эластичных опорных усилительных вставок с, по меньшей мере, одним слоем каркаса, причем каждая из вспомогательных вставок имеет радиально внутренний край, расположенный рядом с одной из кольцевых конструкций для крепления, и радиально наружный край, расположенный рядом с боковым краем брекерной конструкции.
Предпочтительно транспортирующий элемент перемещает брекерную конструкцию со вспомогательного барабана к каркасной конструкции, расположенной на основном барабане.
Дополнительные признаки и преимущества станут более очевидными из подробного описания предпочтительного, но не единственного, варианта осуществления способа и устройства для сборки шин для колес транспортных средств в соответствии с настоящим изобретением.
Данное описание будет приведено ниже со ссылкой на сопровождающие чертежи, приведенные в качестве неограничивающего примера, на которых
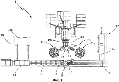
фиг.1 – схематический вид сверху устройства для сборки шин в соответствии с настоящим изобретением;
фиг.2 – вид в вертикальной проекции части устройства с фиг.1;
фиг.3 – схематический вид сверху устройства для сборки шин в соответствии с возможным альтернативным вариантом осуществления настоящего изобретения;
фиг.3а – схематический вид сверху устройства для сборки шин в соответствии с дополнительным альтернативным вариантом осуществления настоящего изобретения;
фиг.4 – схематический вид в плане дополнительного варианта осуществления установки в соответствии с настоящим изобретением;
фиг.5 – схематический частичный поперечный разрез шины, получаемой в соответствии с настоящим изобретением.
Как показано, в частности, на фиг.1-4, устройство для сборки шин для колес транспортных средств, выполненное с возможностью осуществления способа сборки в соответствии с настоящим изобретением, обозначено ссылочной позицией 1.
Изобретение предназначено для изготовления шин такого типа, как шина, обозначенная ссылочной позицией 2 на фиг.5, по существу содержащая каркасную конструкцию 3 по существу тороидальной формы, брекерную конструкцию 4 по существу цилиндрической формы, проходящую в окружном направлении вокруг каркасной конструкции 3, протекторный браслет 5, наложенный на брекерную конструкцию 4 снаружи в окружном направлении, и пару боковин 6, которые наложены сбоку, с противоположных сторон, на каркасную конструкцию 3, и каждая из которых проходит от бокового края протекторного браслета до места, находящегося рядом с радиально внутренним краем самой каркасной конструкции.
Каждая боковина 6 может иметь радиально наружную концевую хвостовую часть 6а, по меньшей мере, частично закрытую краем протекторного браслета 5, как показано пунктирной линией на фиг.5, если следовать конструктивной схеме такого типа, какую обычно называют “нижележащими боковинами”. Как вариант радиально наружные концевые хвостовые части 6а боковин 6 могут быть наложены сбоку на соответствующие края протекторного браслета 5, как показано сплошной линией на фиг.5, для достижения конструктивной схемы такого типа, какую обычно называют “вышележащими боковинами”.
Каркасная конструкция 3 содержит пару кольцевых конструкций 7 для крепления, заделанных в зоны, обычно называемые “бортами”, при этом каждая из них образована, например, из по существу окружной периферийной кольцевой усилительной вставки 8, обычно называемой “сердечником борта” и несущей эластомерный наполнитель 9 в месте ее, находящемся радиально снаружи.
Вокруг каждого из кольцевых конструкций для крепления загнуты вверх концевые клапаны 10а одного или нескольких слоев 10 каркаса, содержащих текстильные или металлические корды, проходящие поперек по длине шины 2 в окружном направлении, возможно, следуя заданному наклону между двумя кольцевыми конструкциями 7 для крепления.
В самонесущих шинах или шинах, предназначенных для особых применений, дополнительно могут быть предусмотрены вспомогательные армирующие усилительные вставки такого типа, какие обычно называют “люнетами”, например, наложенные близко к боковинам 6 внутри слоя 10 каркаса или между двумя двойными слоями каркаса. Как показано пунктирной линией у ссылочной позиции 11 на фиг.5, каждая из этих вспомогательных эластичных опорных усилительных вставок имеет радиально внутренний край 11а, расположенный рядом с одним из кольцевых конструкций 7 для крепления, и радиально наружный край 11b, расположенный рядом с боковым краем 4а брекерной конструкции 4.
Брекерная конструкция 4 может, в свою очередь, содержать один или несколько слоев 12а, 12b брокера, включающих в себя металлические или текстильные корды, соответствующим образом наклоненные относительно протяженности шины в окружном направлении, ориентированные с соответствующим перекрещиванием между одним слоем брекера и остальными слоями, а также возможный наружный слой 12 с брекера, включающий в себя один или несколько кордов, намотанных по окружности в витки, расположенные в аксиальном направлении бок о бок вокруг слоев 12а, 12b брекера. Каждый из элементов, представляющих собой боковины 6 и протекторный браслет 5, по существу содержит, по меньшей мере, один слой эластомерного материала соответствующей толщины. С протекторным браслетом 5 также может быть соединена так называемая основа (непоказанная) из эластомерного материала, имеющая соответствующий состав и физико-химические свойства и служащая в качестве граничного слоя между настоящим протекторным браслетом и расположенной под ним брекерной конструкцией 4.
Отдельные компоненты каркасной конструкции 3 и брекерной конструкции 4, такие как, в частности, кольцевые конструкции 7 для крепления, слои 10 каркаса, слои 12а, 12b брекера и дополнительные возможные усилительные элементы, предназначенные для образования наружного слоя 12 с брекера, подают в устройство 1 в виде полуфабрикатов, изготовленных на предшествующих технологических этапах и подлежащих сборке друг с другом надлежащим образом.
Устройство 1 имеет устройства для наложения каркасной конструкции 3 на основной барабан 15. Эти устройства для наложения предпочтительно включают в себя сборочную станцию 13, подробно не описанную, поскольку ее можно выполнить любым удобным образом, и имеющую сборочный барабан 14, на котором сначала наматывают слой или слои 10 каркаса; причем указанные слои поступают с линии 14а подачи, вдоль которой их разрезают на отрезки соответствующей длины, коррелированной с протяженностью сборочного барабана 14 в окружном направлении, перед наложением их на него для образования так называемого по существу цилиндрического “каркасного рукавного элемента”.
После этого кольцевые конструкции 7 для крепления устанавливают на концевые клапаны 10а слоев 10 для последующего выполнения загибания вверх самих концевых клапанов, чтобы обеспечить “вставку” конструкций для крепления в петли, образованные таким путем загнутыми вверх слоями 10. При необходимости сборочная станция 13 может включать в себя устройства для соединения вспомогательных армирующих усилительных вставок со слоем или слоями 10 каркаса, при этом указанные усилительные вставки накладывают на стадии предварительных этапов или этапов, чередующихся с этапами укладки слоя или слоев 10, и/или других компонентов каркасной конструкции 3. В частности, наложение вышеупомянутых вспомогательных армирующих усилительных вставок или “люнетов” 11 может быть выполнено непосредственно на сборочном барабане 14 перед наложением слоя или слоев 10 каркаса, или указанные усилительные вставки могут быть наложены на один из слоев каркаса перед наложением дополнительного слоя 10 каркаса.
Когда сборка компонентов будет завершена, непоказанные транспортирующие устройства захватывают каркасную конструкцию 3 со сборочного барабана 14 для переноса ее к основному барабану 15 такого типа, какой обычно называют, например, “формующим барабаном”.
Как вариант сборка компонентов каркасной конструкции 3 может происходить непосредственно на основном барабане 15.
Одновременно со сборкой каркасной конструкции 3 на сборочном барабане 14 или непосредственно на основном барабане 15 осуществляется изготовление брекерной конструкции на вспомогательном барабане 16. Более точно, с этой целью вспомогательный барабан 16 выполнен с возможностью взаимодействия с устройствами 17 для наложения брекерной конструкции 4, которые могут включать в себя, например, по меньшей мере, одну линию 17а подачи, вдоль которой обеспечивается перемещение вперед полуфабрикатов в виде непрерывной полосы, при этом указанную полосу затем разрезают на участки с длиной, соответствующей протяженности вспомогательного барабана 16 в окружном направлении, одновременно с образованием соответствующих слоев 12а, 12b брекера на нем. Подающее устройство, предназначенное для подачи одной или нескольких дополнительных армирующих усилительных вставок, может быть объединено с линией подачи слоев 17а брекера, при этом дополнительные усилительные ленты могут состоять, например, из непрерывных кордов (не показанных на чертежах), подлежащих наложению на слои 12а, 12b брекера в виде окружных периферийных витков, прилегающих друг к другу в аксиальном направлении, для образования наружного слоя 12с брекера.
Брекерную конструкцию 4, расположенную на вспомогательном барабане 16, захватывают с указанного барабана под действием соответствующих транспортирующих устройств и перемещают ими на каркасную конструкцию, расположенную в виде цилиндрического рукавного элемента на основном барабане 15. Транспортирующие устройства могут, например, содержать транспортирующий элемент 18 по существу кольцевой формы, который легко перемещается до тех пор, пока он не окажется расположенным вокруг вспомогательного барабана 16 для захвата брекерной конструкции 4 с него. Само по себе известным образом вспомогательный барабан 16 обеспечивает отсоединение брекерной конструкции 4, которая затем перемещается транспортирующим элементом 18 для размещения ее на основном барабане 15, несущем каркасную конструкцию 3, в таком положении, чтобы она была соосно сцентрирована относительно каркасной конструкции. Основной барабан 15 также может быть выполнен с возможностью взаимодействия с транспортирующим элементом 18 после перемещения самого основного барабана, начиная из положения, в котором он обеспечивает возможность взаимодействия его с устройствами, предназначенными для наложения каркасной конструкции 3 на него.
Каркасной конструкции 3 затем придают тороидальную форму за счет аксиального перемещения кольцевых конструкций 7 для крепления ближе друг к другу и одновременного введения текучей среды под давлением во внутреннее пространство указанного каркаса до тех пор, пока слой или слои 10 каркаса не будут введены в контакт с внутренней поверхностью брекерной конструкции 4, удерживаемой транспортирующим элементом 18. Операция прикатки, подлежащая выполнению любым удобным образом, может быть выполнена на брекерной конструкции 4 после операции придания формы или одновременной с ней для получения лучшего слипания слоев 12а, 12b, 12с брекера со слоем или слоями 10 каркаса.
Когда возникнет такой контакт, основной барабан 15 вместе с каркасной конструкцией 3 и брекерной конструкцией 4, введенной в контакт с каркасной конструкцией 3, перемещают к одному или нескольким устройствам для наложения протекторного браслета 5 и/или боковин 6, начиная из положения, в котором основной барабан взаимодействует с транспортирующим элементом 18.
В соответствии с настоящим изобретением, по меньшей мере, наложение протекторного браслета 5 или боковин 6 выполняют путем намотки, по меньшей мере, одного непрерывного полосообразного элемента из эластомерного материала в виде прилегающих окружных периферийных витков вокруг геометрической оси каркасной конструкции 3.
Предпочтительно как наложение протекторного браслета 5, так и наложение боковин 6 выполняют, следуя вышеуказанной процедуре, которая лучше описана ниже. Однако не исключается возможность образования боковин 6 иным образом, посредством, например, линии (непоказанной) подачи боковин, которая соединена со сборочной станцией 13 и выполнена с возможностью подачи, по меньшей мере, одного полуфабриката в виде непрерывной полосы эластомерного материала, из которой сами боковины вырезают в виде отрезков заданной длины, коррелированной с протяженностью основного барабана 15 и шины 2, которая должна быть получена, в окружном направлении. В свою очередь, протекторный браслет 5 может быть непосредственно изготовлен на брекерной конструкции 4, образованной на вспомогательном барабане 16, посредством линии подачи, подающей полуфабрикат в виде, например, непрерывной полосы, из которой образуют протекторные браслеты посредством операций вырезания, приводящих к образованию отрезков соответствующей длины.
В предпочтительном варианте осуществления устройства для наложения протекторного браслета и/или боковин содержат один или несколько подающих элементов 19, 19а, 20, каждый из которых выполнен с возможностью укладки соответствующего непрерывного полосообразного элемента из эластомерного материала на каркасной конструкции 3 и/или брекерной конструкции 4. Каждый подающий элемент 19, 19а, 20 может, например, содержать экструдер, валик для наложения или другой элемент, который, будучи размещенным рядом с изготавливаемой шиной, обеспечивает возможность подачи непрерывного полосообразного элемента из эластомерного материала непосредственно на брекерную конструкцию 4 и/или каркасную конструкцию 3, которую несет основной барабан 15, одновременно с намоткой самого полосообразного элемента вокруг геометрической оси каркасной конструкции 3.
Более точно, предусмотрен, по меньшей мере, один первый подающий элемент 19, который представляет собой часть устройства для наложения протекторного браслета 5 на брекерную конструкцию 4. Первый подающий элемент 19 может быть выполнен с возможностью подачи первого непрерывного полосообразного элемента непосредственно к брекерной конструкции 4 для образования протекторного браслета 5.
Когда для изготовления протекторного браслета 5 требуется образование так называемой основы, может быть предусмотрен вспомогательный подающий элемент 19а, предназначенный для укладки вспомогательного полосообразного элемента непосредственно на брекерную конструкцию 4 перед “началом работы” первого подающего элемента 19, чтобы образовать вышеупомянутую основу из эластомерного материала.
Также предусмотрен, по меньшей мере, один второй подающий элемент 20, представляющий собой часть устройства для наложения боковин 6 на слой или слои 10 каркаса. Второй подающий элемент 20 выполнен с возможностью подачи второго непрерывного полосообразного элемента непосредственно к слою 10 каркаса одновременно с намоткой самого полосообразного элемента на брекерную конструкцию 4, которую несет основной барабан 15.
Исполнительный узел 21 взаимодействует с подающими элементами 19, 19а, 20 для образования вышеупомянутых устройств для наложения протекторного браслета 5 и/или боковин 6. Исполнительный узел 21 фактически воздействует на основной барабан 15 для приведения его во вращение вокруг его геометрической оси, так что каждый из полосообразных элементов распределяется по окружности на каркасной конструкции 3. Одновременно исполнительный узел 21 осуществляет управляемые смещения основного барабана 15 и подающего элемента 19, 19а, 20 друг относительно друга для распределения полосообразного элемента в витках, расположенных рядом друг с другом, для образования протекторного браслета 5 и/или боковины 6 в соответствии с заданной толщиной и требованиями к геометрической форме.
В предпочтительном варианте осуществления, показанном на фиг.1 и 2, исполнительный узел 21 встроен в, по меньшей мере, одну роботизированную руку 21а, 21b, несущую концевую головку 22, к которой основной барабан 15 прикреплен консольно посредством хвостовика 15а, совпадающего с его геометрической осью. В показанном примере (см. фиг.2) роботизированная рука 21а, 21b содержит основание 23, вращающееся на неподвижной платформе 24 вокруг первой вертикальной оси, первую часть 25, соединенную с основанием 23 с возможностью колебаний относительно второй, предпочтительно горизонтальной, оси, вторую часть 26, соединенную с первой частью 25 с возможностью колебаний относительно третьей оси, которая также является предпочтительно горизонтальной, и третью часть 27, опирающуюся на вторую часть 26 с возможностью поворота вокруг оси, ортогональной к третьей оси колебаний. Конец головки 22 роботизированной руки 21а, 21b соединен с третьей частью 27, при этом обеспечивается возможность колебаний головки 22 относительно пятой и шестой осей колебаний, которые перпендикулярны друг другу, и головка 22 несет основной барабан 15 с возможностью его вращения, при этом основной барабан 15 может приводиться во вращение двигателем 28.
Следовательно, роботизированная рука 21а, 21b предназначена для обеспечения опоры для основного барабана 15 и управления его перемещением во время всего производственного цикла посредством простого перемещения его в заданное положение в целях обеспечения возможности его взаимодействия с устройствами, предназначенными для переноса каркасной конструкции 3 со сборочной станции 13, и затем с элементом 18, предназначенным для перемещения брекерной конструкции 4, и посредством приведения его во вращение перед подающими элементами 19, 19а, 20, предназначенными для образования протекторного браслета 5 и боковин 6.
Более конкретно, роботизированная рука 21а, 21b после установки основного барабана 15 в заданное положение так, чтобы обеспечить возможность введения каркасной конструкции 3 в контакт с ним, переводит сам барабан в положение, в котором он будет располагаться соосно элементу 18 для транспортирования брекерной конструкции 4. Когда будет осуществлено наложение брекерной конструкции 4 на каркасную конструкцию 3, после придания тороидальной формы каркасной конструкции 3, роботизированная рука 21а, 21b захватывает основной барабан 15 с одновременным простым перемещением его в положение перед возможным вспомогательным подающим элементом 19а, предназначенным для образования подложки, и после в положение перед первым подающим элементом 19, под действием которого завершается образование протекторного браслета 5.
Основной барабан 15 затем перемещают ко второму подающему элементу 20 и, соответственно, перемещают в зону перед данным элементом, чтобы обеспечить образование одной из боковин 6 сбоку на каркасной конструкции 3, начиная от кольцевой конструкции 7 для крепления, как раз служащей в качестве указателя, до зоны, находящейся рядом с соответствующим боковым краем ранее образованного протекторного браслета 5. После переворачивания основного барабана 15 в зону перед вторым подающим элементом 20 начинается образование второй боковины 6 на стороне каркасной конструкции 3, противоположной ранее образованной боковине 6.
Вышеописанная последовательность операций создает возможность образования боковин 6 таким образом, что их радиально наружные хвостовые части 6а будут перекрывать сбоку боковые края протекторного браслета 5, что представляет собой следование конструктивной схеме такого типа, какую обычно называют “вышележащими боковинами”.
Однако изобретение также обеспечивает возможность выполнения, также простым образом, боковин 6, следуя конструктивной схеме такого типа, какую обычно называют “нижележащими боковинами”.
Для данной цели сразу же после введения брекерной конструкции 4 в контакт с каркасной конструкцией 3 основной барабан 15 перемещают в зону перед вторым подающим элементом 20, чтобы обеспечить образование боковин 6 перед перемещением барабана 15 в зону перед возможным вспомогательным подающим элементом 19а и первым подающим элементом 19 для образования протекторного браслета 5. Противоположные боковые края протекторного браслета 5, полученного таким образом, будут наложены на радиально наружные хвостовые части 6а боковин 6.
Во время работы каждый из подающих элементов 19, 19а, 20 сохраняет предпочтительно фиксированное положение, в то время как основной барабан 15 приводится во вращение и соответствующим образом перемещается в поперечном направлении роботизированной рукой 21а, 21b с тем, чтобы вызвать распределение каждого непрерывного полосообразного элемента для образования слоя соответствующей формы и толщины на каркасной конструкции 3 и/или брекерной конструкции 4. Непрерывный полосообразный элемент, подаваемый из каждого из подающих элементов 19, 19а, 20, предпочтительно может иметь сплющенную часть, так что существует возможность корректировки толщины слоя эластомера посредством изменения степени перекрытия смежных витков и/или ориентации поверхности изготавливаемой шины относительно контура поперечного сечения полосообразного элемента, поступающего из самого подающего элемента.
Как только изготовление протекторного браслета 5 и боковин 6 будет завершено, роботизированная рука 21а, 21b обеспечивает новое поступательное перемещение основного барабана 15 для смещения его от подающих элементов 19, 19а, 20 и для установки его в заданное положение перед устройствами, выполняющими отсоединение собранной шины 2 от основного барабана 15.
В предпочтительном варианте осуществления устройство 1 выполнено с возможностью одновременного осуществления изготовления двух шин 2. С этой целью, как показано на фиг.1 и 2, устройство 1 выполнено с первым и вторым основными барабанами 15, опирающимися соответственно на первый и второй исполнительные узлы 21а, 21b и подлежащими последовательному введению во взаимодействие с устройствами, предназначенными для наложения каркасной конструкции 3, элементом 18, предназначенным для транспортирования брекерной конструкции 4, устройством, предназначенным для наложения протекторного браслета 5, и устройством, предназначенным для наложения боковин 6.
Операции технологического процесса сборки шин циклически выполняются на каждом из основных барабанов 15 в соответствии с регулируемой скоростью. Операцию размещения каркасной конструкции 3 на любом из основных барабанов 15 выполняют до завершения сборки шины на другом основном барабане 15. Таким образом, отсутствует период ожидания для шин, изготавливаемых во время различных операций технологического процесса, и, следовательно, избегают простоя, и устраняется риск того, что одна и та же операция будет выполняться одновременно на обеих изготавливаемых шинах.
В альтернативном варианте осуществления, показанном на фиг.3, предусмотрена подача каркасов 3, соединенных с соответствующими брокерами 4, к устройствам для наложения протекторного браслета и/или боковин после хранения их в накопителе или на соответствующих рабочих столах, схематически обозначенных ссылочной позицией 31 на фиг.3, к которым каждую каркасную конструкцию 3, установленную или не установленную на соответствующем основном барабане 15, перемещают после введения ее в контакт с соответствующей брекерной конструкцией 4. Роботизированная рука 21 последовательно захватывает каждую каркасную конструкцию 3 из магазина или со столов для хранения для установки ее (если требуется) на основном барабане 15 и подвергания ее воздействию экструдеров 19, 19а, 20, предназначенных для образования протекторного браслета 5 и/или боковин 6. В показанном варианте осуществления предусмотрена одна роботизированная рука 21, но, при необходимости, пара роботизированных рук может быть расположена таким же образом, как описано со ссылкой на фиг.1 и 2.
Альтернативный вариант осуществления, показанный на фиг.3а, обеспечивает возможность образования совместного узла, включающего в себя каркасную конструкцию 3 и брекерную конструкцию 4, посредством использования обычной сборочной машины 32, объединяющей в одно целое сборочную станцию 13 и устройства 17 для наложения брекерной конструкции 4, с последующим использованием экструдеров 19, 19а, 20 и исполнительного узла 21 для выполнения протекторного браслета 5 и/или боковин 6 в соответствии с описанной выше методикой.
В частности, последовательность операций, выполняемых сборочной машиной 32, обеспечивает захват брекерной конструкции 4, образованной на вспомогательном барабане 16, с указанного барабана под действием транспортирующего элемента 18, размещение брекерной конструкции 4 в таком положении на каркасной конструкции 3, образованной ранее на сборочном барабане 14, что брекерная конструкция 4 будет соосно сцентрирована относительно каркасной конструкции 3. За счет взаимного сближения кольцевых конструкций 7 для крепления посредством сборочного барабана 14 каркасной конструкции 3 придают тороидальную конфигурацию и в результате соединяют с брекерной конструкцией 4. Вспомогательный транспортирующий элемент 33 или эквивалентное устройство захватывает каркасную конструкцию 3, соединенную с брекерной конструкцией 4, со сборочного барабана 14 для укладки изготовленного изделия на рабочий стол или в магазин-накопитель 31.
После этого роботизированная рука 21 или эквивалентный манипулирующий элемент, несущий основной барабан 15, захватывает каркасную конструкцию 3, соединенную с брекерной конструкцией 4, со стола или из магазина-накопителя 31 для подвергания изготовленного изделия воздействию экструдеров 19, 19а, 20 в целях образования протекторного браслета 5 и/или боковин 6.
В качестве альтернативы описанному выше описанию роботизированная рука 21 может захватывать изготовленное изделие непосредственно из вспомогательного транспортирующего элемента 33. Кроме того, функции, выполняемые здесь вспомогательным транспортирующим элементом 33, возможно, могут выполняться вручную оператором.
В возможном дополнительном альтернативном варианте осуществления, показанном на фиг.4, исполнительный узел 21 содержит каретку 29, выполненную с возможностью перемещения вдоль направляющей конструкции 30 между первым положением, в котором, как показано пунктирной линией, она служит опорой основному барабану 15 перед устройствами для наложения каркасной конструкции 3 в соответствующем месте, предназначенном для приема каркасной конструкции 3 от транспортирующих элементов, связанных с самими устройствами, и вторым положением, в котором, как показано сплошной линией, она служит опорой основному барабану 15 в месте, находящемся рядом с подающими элементами 19, 20. В данном случае может быть предусмотрено наличие, по меньшей мере, двух экструдеров или других подающих элементов 20, предназначенных для образования боковин, причем указанные элементы, возможно, будут выполнены с возможностью перемещения в радиальном и/или поперечном направлении относительно геометрической оси каркасной конструкции 3, чтобы обеспечить распределение соответствующих полосообразных элементов в виде витков, расположенных радиально бок о бок, на противоположных сторонах изготавливаемой каркасной конструкции 3.
В соответствии с другим альтернативным вариантом осуществления, который может быть принят в любом из описанных выше вариантов осуществления, исполнительный узел 21 может быть выполнен с возможностью осуществления поступательного перемещения подающего элемента или элементов 19, 19а, 20 поперек к протяженности каркасной конструкции 3 и/или брекерной конструкции 4 в окружном направлении для того, чтобы обеспечить распределение витков, образованных из непрерывного полосообразного элемента, в поперечном направлении.
Настоящее изобретение обеспечивает достижение важных преимуществ.
Изготовление протекторного браслета 5 и/или боковин 6 посредством намотки непрерывного полосообразного элемента в витки, расположенные бок о бок, фактически позволяет преодолеть все ограничения известного уровня техники, связанные с необходимостью использования сложного и громоздкого машинного оборудования для изготовления протекторного браслета и боковин посредством экструзии; действительно, использование этого сложного и громоздкого машинного оборудования предполагает осуществление больших инвестиционных и эксплуатационных затрат, обоснованных только при крупносерийном производстве. Напротив, изобретение создает возможность изготовления протекторного браслета и боковин с использованием значительно более простого и менее громоздкого машинного оборудования, пригодного для производства, регулируемого пропорционально производительности отдельного сборочного устройства 1.
Следовательно, установки для сборки шин, используемые в настоящее время и содержащие множество сборочных устройств, соединенных с одной и той же линией экструзии протекторного браслета и/или боковин, могут быть предпочтительно приспособлены к увеличениям производительности, требуемым рынком, посредством простого добавления одного или нескольких устройств согласно изобретению с тем, чтобы обеспечить рост производительности, отвечающий требованиям рынка.
Также, как будет оценено, настоящее изобретение обеспечивает достижение наибольшей ровности протекторного браслета и боковин, которая в известном уровне техники в значительной степени была обусловлена корректным распределением полосы накладываемого эластомерного материала, в особенности в местах соединения впритык краев самой полосы. Что касается образования боковин, то дополнительно следует указать, что изобретение обеспечивает возможность устранения критического состояния, вызванного значительным растягиванием в окружном направлении, которому неизбежно подвергались полосы эластомерного материала, накладываемые в соответствии с известным уровнем техники, после операции придания формы каркасной конструкции, прежде всего в зоне рядом с радиально наружными концевыми хвостовыми частями.
В известном уровне техники эти обстоятельства также приводят к большому количеству бракованных изделий, в то время как настоящее изобретение, напротив, позволяет их устранить.
Кроме того, изобретение позволяет существенно повысить эксплуатационную гибкость установок с тем, чтобы обеспечить возможность изготовления шин, боковины которых одинаково хорошо расположены в соответствии или с конструктивной схемой “вышележащие боковины”, или с конструктивной схемой “нижележащие боковины”, в зависимости от требований, а также обеспечить возможность встраивания вспомогательных армирующих усилительных вставок 11 в целях изготовления шин самонесущего типа без необходимости осуществления для этой цели какой-либо существенной модификации установки.
Кроме того, дополнительные преимущества с точки зрения качества оказывают влияние на обычные линии экструзии, когда упоминаемое устройство используется в сочетании с другими устройствами, соединенными с линией экструзии известного типа. Например, сочетание рассматриваемого устройства с известной установкой, предусмотренной с одной или несколькими традиционными линиями экструзии, обеспечивает возможность снижения производительности линий экструзии, когда возникает необходимость выполнения обработки определенных смесей и материалов, которые вследствие технологических требований не могут быть экструдированы с высокой скоростью, без снижения, с другой стороны, общей производительности установки. Кроме того, линии экструзии могут быть предпочтительно использованы с соответствующим минимально допустимым отклонением от их максимальной предельной производительности при таких обстоятельствах, когда необходимо обеспечить большие гарантии с точки зрения стабильности качества получаемого изделия.
Формула изобретения
1. Способ сборки шин для колес транспортных средств, при котором размещают на основном барабане каркасную конструкцию, содержащую, по меньшей мере, один слой каркаса, находящийся в контакте с кольцевыми конструкциями для крепления, расположенными на расстоянии друг от друга в осевом направлении; размещают на вспомогательном барабане брекерную конструкцию, содержащую, по меньшей мере, один слой брекера; захватывают брекерную конструкцию со вспомогательного барабана для ее перемещения в положение, в котором она будет соосно сцентрирована относительно каркасной конструкции; придают каркасной конструкции тороидальную конфигурацию для обеспечения контактирования брекерной конструкции с каркасной конструкцией; накладывают протекторный браслет на брекерную конструкцию, находящуюся в контакте с каркасной конструкцией; накладывают пару боковин на каркасную конструкцию с ее противоположных сторон; при этом, по меньшей мере, либо наложение протекторного браслета, либо наложение пары боковин выполняют посредством намотки, по меньшей мере, одного непрерывного полосообразного элемента из эластомерного материала в виде прилегающих окружных периферийных витков вокруг каркасной конструкции, размещенной на основном барабане, причем наложение протекторного браслета и наложение пары боковин выполняют циклически, придерживаясь регулируемой скорости на, по меньшей мере, одном первом и одном втором основных барабанах, при этом размещение каркасной конструкции на одном из основных барабанов выполняют перед завершением сборки шины на другом из основных барабанов.
2. Способ по п.1, при котором наложение протекторного браслета выполняют посредством намотки, по меньшей мере, одного первого непрерывного полосообразного элемента из эластомерного материала в виде прилегающих окружных периферийных витков вокруг брекерной конструкции.
3. Способ по п.1, при котором наложение каждой боковины выполняют посредством намотки, по меньшей мере, одного второго непрерывного полосообразного элемента из эластомерного материала в виде прилегающих окружных периферийных витков вокруг каркасной конструкции.
4. Способ по п.1, при котором наложение боковин выполняют после придания тороидальной конфигурации каркасной конструкции.
5. Способ по п.1, при котором наложение боковин выполняют после наложения протекторного браслета.
6. Способ по п.1, при котором наложение боковин выполняют перед наложением протекторного браслета.
7. Способ по п.1, при котором непрерывный полосообразный элемент подают из подающего элемента, расположенного в зоне, находящейся рядом с изготавливаемой шиной, одновременно с намоткой самого полосообразного элемента вокруг геометрической оси каркасной конструкции.
8. Способ по п.7, при котором подачу непрерывного полосообразного элемента выполняют посредством экструзии через подающий элемент.
9. Способ по п.7, при котором одновременно с наложением непрерывного полосообразного элемента обеспечивают вращательное движение основного барабана вокруг его геометрической оси вращения для распределения непрерывного полосообразного элемента по окружности, так что непрерывный полосообразный элемент распределяется по окружности вокруг геометрической оси каркасной конструкции; выполняют управляемые, предназначенные для распределения непрерывного полосообразного элемента в поперечном направлении смещения между основным барабаном и подающим элементом с тем, чтобы образовать из полосообразного элемента множество витков, расположенных бок о бок относительно друг друга.
10. Способ по п.9, при котором указанные смещения для распределения в поперечном направлении выполняют за счет перемещения основного барабана.
11. Способ по п.9, при котором приведение основного барабана во вращение и его перемещение выполняют посредством исполнительного узла, входящего в контакт с самим основным барабаном.
12. Способ по п.1, при котором после переноса брекерной конструкции и перед выполнением наложения непрерывного полосообразного элемента осуществляют перемещение основного барабана к подающему элементу, начиная из положения, в котором основной барабан взаимодействует с транспортирующим элементом, перемещающим брекерную конструкцию на каркасную конструкцию.
13. Способ по п.7, при котором дополнительно перемещают основной барабан от подающего элемента для установки основного барабана в заданное положение перед устройствами, предназначенными для отсоединения шины от основного барабана.
14. Способ по п.1, при котором дополнительно перемещают основной барабан в зону между, по меньшей мере, одним первым подающим элементом, предназначенным для наложения протекторного браслета, и, по меньшей мере, одним вторым подающим элементом, предназначенным для изготовления боковин.
15. Способ по п.1, при котором дополнительно образуют каркасную конструкцию на сборочном барабане и перемещают каркасную конструкцию со сборочного барабана к основному барабану.
16. Способ по п.15, при котором перемещение каркасной конструкции со сборочного барабана к основному барабану выполняют после введения брекерной конструкции в контакт с каркасной конструкцией.
17. Способ по п.15, при котором образование каркасной конструкции включает в себя этап соединения вспомогательных усилительных вставок, предназначенных для обеспечения упругой опоры, с, по меньшей мере, одним слоем каркаса, причем каждая из вспомогательных усилительных вставок имеет радиально внутренний край, расположенный рядом с одной из кольцевых конструкций для крепления, и радиально наружный край, расположенный рядом с боковым краем брекерной конструкции.
18. Способ по п.1, при котором дополнительно осуществляют, по меньшей мере, один этап прикатки, выполняемый на брекерной конструкции, наложенной на каркасную конструкцию.
19. Способ по п.1, при котором перед, по меньшей мере, одним из этапов наложения осуществляют выдерживание каркасных конструкций, находящихся в контакте с соответствующими брекерными конструкциями.
20. Устройство для сборки шин для колес транспортных средств, содержащее, по меньшей мере, один основной барабан, выполненный с возможностью обеспечения опоры для каркасной конструкции, содержащей, по меньшей мере, один слой каркаса, находящийся в контакте с конструкциями для крепления, расположенными на расстоянии друг от друга в осевом направлении; вспомогательный барабан, установленный с возможностью нести брекерную конструкцию; транспортирующий элемент, предназначенный для перемещения брекерной конструкции со вспомогательного барабана к каркасной конструкции; по меньшей мере, одно устройство для наложения протекторного браслета на брекерную конструкцию; по меньшей мере, одно устройство для наложения пары боковин на противоположные боковые стенки каркасной конструкции; при этом, по меньшей мере, одно из устройств для наложения протекторного браслета и боковин содержит, по меньшей мере, один подающий элемент, по меньшей мере, один подающий элемент, предназначенный для укладки, по меньшей мере, одного непрерывного полосообразного элемента из эластомерного материала в виде прилегающих окружных периферийных витков на каркасной конструкции, и, по меньшей мере, один второй основной барабан, причем первый и второй основные барабаны выполнены с возможностью взаимодействия с первым и вторым исполнительными узлами, соответственно, для обеспечения последовательного ввода указанных барабанов во взаимодействие с устройствами для наложения каркасной конструкции, с устройством для наложения протекторного браслета и с устройством для наложения боковин.
21. Устройство по п.20, в котором подающий элемент содержит, по меньшей мере, один экструдер.
22. Устройство по п.20, в котором с, по меньшей мере, одним подающим элементом связан, по меньшей мере, один исполнительный узел, выполненный с возможностью приведения основного барабана во вращение вокруг его геометрической оси так, что полосообразный элемент распределяется по окружности на брекерной конструкции, и с возможностью обеспечения управляемых смещений между основным барабаном и, по меньшей мере, одним подающим элементом для распределения полосообразного элемента так, чтобы образовать витки, расположенные бок о бок относительно друг друга.
23. Устройство по п.22, в котором исполнительный узел оказывает воздействие на основной барабан для его перемещения относительно подающего элемента.
24. Устройство по п.23, в котором исполнительный узел встроен в роботизированную руку, взаимодействующую с основным барабаном.
25. Устройство по п.23, в котором исполнительный узел содержит каретку, выполненную с возможностью перемещения вдоль направляющей конструкции между первым положением, в котором она служит опорой основному барабану в месте перед устройствами для наложения каркасной конструкции, и вторым положением, в котором она служит опорой основному барабану в месте перед, по меньшей мере, одним подающим элементом.
26. Устройство по п.22, дополнительно содержащее устройства для наложения каркасной конструкции на основном барабане, причем исполнительный узел выполнен с возможностью обеспечения поступательного перемещения основного барабана к, по меньшей мере, одному подающему элементу, начиная из положения, в котором основной барабан взаимодействует с устройствами для наложения каркасной конструкции.
27. Устройство по п.20, содержащее, по меньшей мере, один первый подающий элемент, предназначенный для образования протекторного браслета, и, по меньшей мере, один второй подающий элемент, предназначенный для образования боковин.
28. Устройство по п.20, дополнительно содержащее сборочную станцию, предназначенную для образования каркасной конструкции на сборочном барабане; и транспортирующие устройства, предназначенные для переноса каркасной конструкции со сборочного барабана к, по меньшей мере, одному основному барабану.
29. Устройство по п.28, в котором транспортирующие устройства содержат магазин-накопитель и вспомогательный транспортирующий элемент для перемещения каркасной конструкции со сборочного барабана к магазину-накопителю.
30. Устройство по п.20, содержащее устройства для соединения вспомогательных эластичных опорных усилительных вставок с, по меньшей мере, одним слоем каркаса, причем каждая из вспомогательных вставок имеет радиально внутренний край, расположенный рядом с одной из кольцевых конструкций для крепления, и радиально наружный край, расположенный рядом с боковым краем брекерной конструкции.
31. Устройство по п.20, в котором транспортирующий элемент перемещает брекерную конструкцию со вспомогательного барабана к каркасной конструкции, расположенной на основном барабане.
РИСУНКИ
|
|