|
|
(21), (22) Заявка: 2006143487/15, 07.12.2006
(24) Дата начала отсчета срока действия патента:
07.12.2006
(46) Опубликовано: 20.08.2008
(56) Список документов, цитированных в отчете о поиске:
RU 2232654 С1, 20.07.2004. RU 2137881 С1, 20.09.1999. SU 1699940 А1, 23.12.1991. SU 1530202 А1, 23.12.1989. DE 4337192 А1, 04.05.1995. US 6214236 В1, 10.04.2001. DE 4027787 A1, 05.03.1992. JP 2005040764 A, 17.02.2005.
Адрес для переписки:
163002, г.Архангельск, наб. Северной Двины, 17, Архангельский государственный технический университет, 07, патентоведу
|
(72) Автор(ы):
Калашников Антон Владимирович (RU), Худякова Анна Александровна (RU), Иванов Роман Сергеевич (RU), Латкин Алексей Юрьевич (RU)
(73) Патентообладатель(и):
Государственное образовательное учреждение высшего профессионального образования Архангельский государственный технический университет Федерального агентства по образованию (Рособразование) (АГТУ) (RU)
|
(54) СПОСОБ КОМПЛЕКСНОЙ РЕКУЛЬТИВАЦИИ НЕФТЕЗАГРЯЗНЕННЫХ ЗЕМЕЛЬ
(57) Реферат:
Изобретение относится к области защиты окружающей среды, в частности к рекультивации загрязненных нефтью, нефтепродуктами (жидкими углеводородами) почв и грунтовых вод, повторному использованию очищенных веществ и углеводородов. Для осуществления способа на подлежащей рекультивации территории производят оконтуривание загрязненных участков дренажными канавами и приемными шурфами, сбор с поверхности участков, частично из загрязненного грунта в шурфы «обратной» эмульсии, транспортировку ее из шурфов в очистную установку, разделение в ней эмульсии на составляющие и повторное их использование. На последующем этапе рекультивации участка в частично очищенный грунт устанавливают перфорированные трубы и под давлением подают в них горячую воду. Вымываемую из грунта эмульсию также собирают в приемные шурфы и транспортируют в очистную установку, где под воздействием аэрации горячим воздухом и вибрации разделяют на составляющие. Заключительная стадия работ включает проведение на очищенных землях биологической рекультивации. Способ обеспечивает снижение объемов земляных и транспортных работ, а также затрат на очистку нефтезагрязненных грунтов и разделение эмульсии на составляющие. 3 ил.
Изобретение относится к области защиты окружающей среды, и в частности к рекультивации загрязненных нефтью, нефтепродуктами (жидкими углеводородами) почв и грунтовых вод, повторному использованию очищенных веществ и углеводородов.
В зависимости от степени загрязненности земель, физико-химических свойств углеводородов и грунтов, эколого-экономических к ним требований, ограничений используются различные способы рекультивации загрязненных земель.
При рекультивации слабо загрязненных земель, с содержанием углеводородов до 1000 мг/кг почвы, применяют технологии, включающие очистку почв с использованием бактериологических штаммов. Так, например, способ комплексной рекультивации нефтезагрязненных земель (Заявка №96103851/25, В09С 1/02) позволяет осуществлять сбор пролитой нефти сорбентами, обработку поверхности рекультивируемых земель водными моющими растворами и бактериологическими штаммами, посев семян многолетних эндомичных трав (овсяницы луговой, тимофеевки луговой, и др.) при одновременном внесении в почву торфа и полного минерального удобрения. Способ позволяет непосредственно в зоне разлива удалить из загрязненных грунтов легкие углеводородные фракции. Однако при существенных затратах на рыхление загрязненной поверхности, приобретение минеральных удобрений и биологических штаммов, внесение их в грунт, способ не позволяет удалять из загрязненного грунта входящие в состав жидких углеводородов жирные смолы и кислоты.
При значительных нефтезагрязнениях грунтов (порядка 2000-5000 мг/кг почвы) на обводненных с поверхности землях рекультивация, как правило, проводится в два этапа. На первом этапе согласно известным технологиям осуществляют оконтуривание загрязненных ареалов дренажными канавами и приемными шурфами, сброс в них нефтесодержащей жидкости, перекачку ее в накопительные емкости, осушение поверхности загрязненных участков, разделение и очистку компонентов собранной жидкости, повторное использование воды и жидких углеводородов. Реализация данного этапа существенно осложнена необходимостью разделения загрязненных жидкостей (эмульсий) на нефть (нефтепродукты) и воду. В зависимости от количества их объемного содержания в разливе жидкости могут быть в виде «обычной» эмульсии, содержащей в основе нефть, а в дисперсионной фазе воду, или «обратной» эмульсии, включающей воду и дисперсную нефтяную составляющую. При наличии в нефтедобывающей промышленности значительного положительного опыта разделения «обычных» эмульсий на нефть и пластовую воду разрушение «обратных» эмульсий изучено недостаточно. В настоящее время отсутствует серийный выпуск отстойников, сепараторов, других установок, обеспечивающих эффективное разделение «обратных» эмульсий на воду и нефтяную составляющие. В ходе проведения второго этапа рекультивационных работ известными способами, например способ очистки нефтезагрязненных почв, грунтов и нефтешламов (пат. РФ №2244685, C02F 1/40, C02F 103:34), производят срезку с частично обезвоженных участков загрязненных грунтов, транспортировку и очистку их от жидких углеводородов моющими жидкостями в смесителях. Обезвреженные грунты возвращают на поверхность рекультивируемых участков, а моющие жидкости после очистки повторно используют для отмывки новых партий загрязненного грунта, а очищенные жидкие углеводороды закачивают в емкости для ГСМ и повторно используют. Реализация данного способа характеризуется значительными затратами на срезку с поверхности участка загрязненного грунта, транспортировку, многократную отмывку его в смесителях моющими растворами, повторное использование очищенных грунтов в составе рекультивации прилегающих к участку загрязненных земель.
Для обезвреживания сильно загрязненных земель, с содержанием углеводородов свыше 5000 мг на кг почвы, известен наиболее близкий к заявляемому решению способ очистки грунта от нефтезагрязнений (пат. РФ №2232654, В09С 1/04) – прототип, включающий механическое извлечение загрязненного грунта из ареала разлива, отмыв водой при механической флотации в псевдоожиженном слое твердой фазы грунта, очистку его в неоднородном магнитном поле с добавлением поверхностно-активных веществ. К недостаткам данного способа относятся: существенные затраты, связанные со снятием, транспортировкой, загрузкой, многократной очисткой нефтезагрязненного грунта водой в установке (сепараторе) до показателей, допускающих возврат отмытого грунта на поверхность рекультивируемых участков, повторное использование очищенной жидкости для обезвреживания новых партий загрязненного грунта.
Настоящий способ реализует следующую задачу – снизить объемы земляных и транспортных работ, затраты на очистку нефтезагрязненных грунтов и разделение эмульсии на составляющие.
Сущность предлагаемого изобретения заключается в следующем. На подлежащей рекультивации территории производят оконтуривание загрязненных участков дренажными канавами и приемными шурфами, сбор с их поверхности участков, частично из загрязненного грунта в шурфы «обратной» эмульсии, транспортировку ее из шурфов в очистную установку, разделение в ней эмульсии на составляющие и повторное их использование. На последующем этапе рекультивации участка в частично очищенный грунт устанавливают перфорированные трубы и под давлением подают в них горячую воду. Дополнительно вымываемую из грунта эмульсию также собирают в приемные шурфы и транспортируют в очистную установку, где под воздействием аэрации горячим воздухом и вибрации разделяют на составляющие. Заключительная стадия работ включает проведение на очищенных землях биологической рекультивации.
Это достигается тем, что нефтезагрязненные грунты отмывают непосредственно на оконтуренных участках. Для этого в грунт вертикально устанавливают перфорированные трубы, под давлением в них подают горячую воду и вымывают из загрязненного грунта эмульсию. Затем эмульсию собирают в приемные шурфы, транспортируют в очистную установку и под воздействием аэрации горячим воздухом, вибрации эмульсию разделяют на составляющие.
К отличительным признакам заявляемого способа по сравнению с прототипом относятся следующие операции:
– на очищенных с поверхности участках вертикально устанавливают перфорированные трубы;
– в трубы под давлением подают горячую воду;
– загрязненный грунт отмывают непосредственно на месте;
– вымываемую из загрязненного грунта эмульсию собирают в приемные шурфы и транспортируют в очистную установку;
– в очистной установке под воздействием аэрации горячим воздухом, вибрации эмульсию разделяют на составляющие.
Следовательно, заявляемое техническое решение соответствует критерию «новизна».
По отношению к прототипу отличительные признаки заявляемого способа комплексной рекультивации нефтезагрязненных земель позволяют снизить затраты на удаление с поверхности рекультивируемого участка слоя загрязненного грунта, транспортировку его к очистной установке и возврат на участок очищенного грунта, обезвреживание загрязненных поверхностных и грунтовых вод. Следовательно, заявляемое техническое решение соответствует критерию «положительный эффект».
Признаки, отличающие заявляемое решение от прототипа, не выявлены в других технических решениях при изучении данной и смежных областей техники и, следовательно, обеспечивают критерий «существенные отличия».
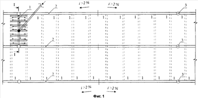
Способ поясняется чертежами. На фигурах 1, 2, 3 соответственно представлены: план оконтуренных дренажными канавами, приемными шурфами загрязненных участков; вертикальный разрез по I-I нагнетательных труб и продольный разрез очистной установки. Способ предусматривает проведение рекультивационных работ в три этапа.
На первом этапе рекультивации производят оконтуривание нефтезагрязненных участков 1 дренажными канавами 2 и приемными шурфами 3 (см. фиг.1). Затем с поверхности участков 1 и частично из загрязненного грунта 4 (см. фиг.2) собирают «обратную» эмульсию в шурфы 3. Из шурфов 3 эмульсию транспортируют в очистную установку 5 (см. фиг.3) и в ней разделяют ее на составляющие. Очищенные нефтепродукты закачивают в емкости для ГСМ, а воду дополнительно подогревают и повторно используют на последующих этапах проведения рекультивационных работ.
В составе второго этапа работ на очищенных с поверхности участках 1 в загрязненный грунт 4 устанавливают перфорированные трубы 6, подключают их к напорному водоводу 7 и непосредственно на месте горячей водой из грунта 4 вымывают «обратную» эмульсию. По дренажным канавам 2 ее направляют в приемные шурфы 3 (фиг.2), а из них эмульсию закачивают в очистную установку 5 (фиг.3) и разделяют в трех собирающихся между собой секциях установки 5 на составляющие. В первой секции под воздействием гравитационных сил из эмульсии удаляют частицы грунта в песколовку 8. Этот грунт после дополнительной очистки возвращают на рекультивированные участки 1 или используют при возведении новых дорог, технологических площадок. Во второй секции установки 5 эмульсию разделяют на составляющие в процессе подачи в устройство 9 горячего воздуха, а в третьей секции под воздействием вибрации устройства 10. Очищенные в установке 5 нефтепродукты закачивают в емкости для ГСМ, а воду дополнительно нагревают и используют при выполнении рекультивации на новых загрязненных участках.
Заключительный этап работ включает проведение биологической рекультивации на очищенных от нефтезагрязнений землях.
Из вышеизложенного очевидно, что предлагаемый способ в полном объеме решает поставленную задачу – снижает объемы земляных и транспортных работ, затраты на очистку нефтезагрязненных грунтов и разделение эмульсии на составляющие.
Формула изобретения
Способ комплексной рекультивации нефтезагрязненных земель, включающий оконтуривание загрязненных участков дренажными канавами и приемными шурфами, сбор с поверхности участков, частично из загрязненного грунта в шурфы «обратной» эмульсии, транспортировку ее в очистную установку, разделение в ней эмульсии на составляющие, дополнительную отмывку из загрязненного грунта эмульсии и разделение ее в установке на составляющие, повторное использование очищенных нефти и воды, проведение на очищенных землях биологической рекультивации, отличающийся тем, что на очищенных с поверхности участках вертикально устанавливают перфорированные трубы, под давлением подают в них горячую воду и непосредственно на месте отмывают загрязненный грунт, при этом вымываемую из грунта эмульсию собирают в шурфы, транспортируют в очистную установку и в ней под воздействием аэрации горячим воздухом, вибрации эмульсию разделяют на составляющие.
РИСУНКИ
|
|