|
|
(21), (22) Заявка: 2005131189/15, 09.03.2004
(24) Дата начала отсчета срока действия патента:
09.03.2004
(30) Конвенционный приоритет:
10.03.2003 FR 0302934
(43) Дата публикации заявки: 27.03.2006
(46) Опубликовано: 20.08.2008
(56) Список документов, цитированных в отчете о поиске:
ЕР 0798143 А, 01.10.1997. SU 204521 А, 20.10.1967. RU 8634 U1, 16.12.1998. JP 2002017837 А, 22.01.2002. JP 2001170146 А, 26.06.2001. ЕР 1281429 А1, 05.02.2003.
(85) Дата перевода заявки PCT на национальную фазу:
10.10.2005
(86) Заявка PCT:
FR 2004/000559 (09.03.2004)
(87) Публикация PCT:
WO 2004/081458 (23.09.2004)
Адрес для переписки:
129010, Москва, ул. Б.Спасская, 25, стр.3, ООО “Юридическая фирма Городисский и Партнеры”, пат.пов. Е.И.Емельянову
|
(72) Автор(ы):
РЮТМАН Эмманюэль (FR), ПЕТИ Филипп (FR), КЛАВЕЛЬ Ролан (FR), БУА Кристиан (FR)
(73) Патентообладатель(и):
КОМПАНИ ЭНДЮСТРИЭЛЛЬ Д АППЛИКАСЬОН ТЕРМИК (FR)
|
(54) УСТАНОВКА ДЛЯ ФИЛЬТРАЦИИ И ОЧИСТКИ ОТ ОРГАНИЧЕСКИХ СОЕДИНЕНИЙ, СПОСОБ ЕЕ ПРОИЗВОДСТВА И УСТРОЙСТВО ДЛЯ КОНДИЦИОНИРОВАНИЯ ВОЗДУХА, ОСНАЩЕННОЕ ТАКОЙ УСТАНОВКОЙ
(57) Реферат:
Изобретение относится к установке для фильтрации и очистки от органических соединений, которая может быть установлена в устройстве для кондиционирования воздуха. Установка (20) включает в себя фильтрующее средство (203, 204), содержащее абсорбирующее вещество (242) в виде активированного угля, и фотокатализатор (243) в виде TiO2. Фильтрующее средство (203, 204) располагается в двух фильтрующих секциях (201, 202). Осветительная секция (205) с размещенными в ней средствами освещения (206) располагается между двумя фильтрующими секциями (201, 202), образуя устройство фильтрации (20). Установка при простоте в изготовлении и в процессе эксплуатации позволяет эффективно обрабатывать воздух, содержащий органические соединения, при температуре от 10 до 60°С и относительной влажности 15-95%. 3 н. и 7 з.п. ф-лы, 4 ил.
Настоящее изобретение относится к установке для фильтрации и очистки от органических соединений, способу производства такой установки, а также к устройству для кондиционирования воздуха, используемому, в частности, в зданиях, которое снабжено такой установкой.
Известно, что устройства для кондиционирования воздуха оснащаются фильтром с активированным углем, который позволяет адсорбировать органические молекулы, присутствующие в атмосфере, в частности, в момент наивысшего загрязнения окружающей среды. Адсорбирование с использованием активированного угля в настоящее время представляет собой одну из наиболее совершенных технологий очистки органических взвесей, присутствующих в промышленных газообразных отходах. Недостатком такого типа фильтров является относительно быстрое насыщение фильтрующего средства ввиду пористости угля.
С целью улучшения фильтрующих свойств некоторых средств рассматривался раскрытый в патенте FR-А-2812825 вариант объединения в одном фильтрующем средстве фотокатализатора и активированного угля, представленных двумя слоями, наносимыми на проницаемый каркас. Такое фильтрующее средство до настоящего момента не использовалось в устройствах для кондиционирования воздуха.
В то же время из патента EP-А-0798143 следует, что в автомобилях используется фотокаталитический фильтр для задержания преимущественно соединений типа NOx c целью устранения запахов, в частности запаха табака, которые могут присутствовать в машине. Данные фильтры, выполненные с использованием технологии фотокатализа, могут сочетаться с различными абсорбционными фильтрами для устранения нейтральных газов, содержащих ароматические примеси. При применении фотокаталитического фильтра не предусматривалось использование в нем активированного угля. Более того, изготовленная таким образом фильтрационная установка предназначалась для раздельной установки, по деталям, в проходе для очистки воздуха и на практике была способна обрабатывать незначительное количество поступающего воздуха, что можно сравнить с обработкой воздуха, находящегося внутри автомобиля. Наконец, необходимая установка лампы в трубе, в которой размещены фильтры, отнимает много времени и является рутинным процессом.
Именно на устранение вышеперечисленных недостатков, в частности, было направлено данное изобретение, в котором предлагается использовать установку фильтрации и очистки от органических соединений для применяемых в зданиях устройств кондиционирования воздуха, имеющих удобную и совместимую конструкцию и обеспечивающих прохождение воздуха со скоростью до 3 м/с (см. далее).
Для решения этой задачи изобретением предложена установка фильтрации и очистки от органических соединений для устройств кондиционирования воздуха, которая снабжена, по меньшей мере, одним фильтрующим средством, в которой
– фильтрующее средство включает в себя адсорбирующее вещество и фотокатализатор;
– фильтрующее средство размещается в двух фильтрующих секциях, предназначенных для прохождения через них воздушных потоков, подлежащих фильтрации и очистке;
– средства освещения фотокатализатора размещены между фильтрующими секциями,
отличающаяся тем, что средства освещения располагаются в секции, через которую проходят потоки, и образуют вместе с фильтрующими секциями установку фильтрации.
В контексте настоящего изобретения устройство для кондиционирования воздуха представляет собой устройство, включающее в себя, по меньшей мере, один элемент очистки воздуха с целью разнообразить его физические свойства. Такое устройство может быть центральной установкой, конвекционным вентилятором, климатической установкой, щитом управления для локальной информационно-вычислительной техники и т.д.
Благодаря этому изобретению конструкция установки фильтрации и очистки воздуха, выполненная в виде трех секций, предназначенных для последовательного прохождения через них воздушных потоков, позволяет оптимизировать процесс ее изготовления, привести в соответствие поперечные размеры и характеристики ее различных секций с устройством, к которому она должна быть присоединена, а также типом воздуха, который необходимо профильтровать и очистить. Эта установка, состоящая из трех секций, представляет собой предпочтительно единую установку, которая может быть предварительно изготовлена и размещена на складе до ее последующей установки в устройстве для кондиционирования воздуха.
При анализе преимуществ предложенной установки фильтрации и очистки воздуха можно выделить следующие ее характеристики:
– адсорбирующее вещество и фотокатализатор распределяются, соответственно, на одной или, соответственно, на двух сторонах проницаемого каркаса. В данном случае можно предположить, что адсорбирующее вещество наносится на верхнюю сторону фильтрующего средства, размещенного в верхней фильтрующей секции, и на нижнюю сторону фильтрующего средства, размещенного в нижней фильтрующей секции, в то время как фотокатализатор наносится на нижнюю сторону фильтрующего средства, размещенного в верхней фильтрующей секции, и на верхнюю сторону фильтрующего средства, размещенного в нижней фильтрующей секции. Таким образом, фотокатализатор направлен на лампы осветительной секции, что способствует улучшению его работы, в то время как адсорбирующее вещество не нарушает поток излучения, в частности ультрафиолетового, которое пропускает некоторые электроны фотокатализатора из валентной зоны в зону проводимости. В качестве фотокатализатора может быть использована TiO2 или другое подходящее вещество, а в качестве адсорбционного вещества, например, активированный уголь;
– вышеупомянутые секции собраны реверсивным способом, что позволяет их разъединить для получения доступа к осветительной секции, например, с целью проведения регламентных работ по обслуживанию ламп;
– в осветительной секции установлены ультрафиолетовые лампы и, возможно, устройства питания этих ламп. Таким образом, освещение обеспечивается данной секцией;
– в осветительной секции предусматривается наличие, по меньшей мере, одной пластинки, разделяющей две рядом расположенные лампы и покрытой, по меньшей мере, с одной стороны фотокатализатором;
– фильтрующее средство в фильтрующих секциях имеет зигзагообразную форму в целях оптимизации фильтрующей поверхности и уровня освещенности, что позволяет увеличить площадь активной поверхности без увеличения поперечных размеров этих секций.
Изобретение относится также к способу изготовления установки фильтрации и очистки, как это было описано выше, включающему в себя следующие этапы:
– выбор корпуса секций в зависимости от размеров устройства для кондиционирования воздуха, которое предстоит оборудовать;
– выбор фильтрующего средства в зависимости от типа частиц, подлежащих обработке;
– выбор типа, количества и мощности ламп, устанавливаемых в осветительной секции;
– установка осветительной секции между двумя фильтрующими секциями.
Предпочтительно предусмотреть возможность сборки секций в единой установке, которую можно интегрировать в вышеупомянутое устройство.
Наконец, изобретение относится к устройству для кондиционирования воздуха, в частности, используемому на промышленных объектах, объектах сферы обслуживания и/или в резиденциях, оборудованных установкой фильтрации и очистки воздуха, описанной выше.
Предпочтительно, такое устройство включает в себя последовательно расположенные, по меньшей мере, фильтр грубой очистки, устройство обработки и вентилятор, а установка фильтрации и очистки располагается за указанным устройством до или после указанного вентилятора. Это позволяет контролировать, благодаря устройству обработки, эффективность фотокаталитических процессов, на которые оказывают влияние температура и влажность воздуха, вступающего в контакт с фильтрующим средством. Однако установка фильтрации может также монтироваться и в другой части устройства для кондиционирования воздуха, которое не содержит в обязательном порядке фильтр грубой очистки и вентилятор.
Изобретение станет более понятным, а его преимущества более наглядными в контексте нижеследующего описания способов изготовления устройства для кондиционирования воздуха в соответствии с изобретением, оснащенного установкой фильтрации и очистки в соответствии с изобретением, которые приводятся исключительно в качестве примеров и со ссылкой на прилагаемые фигуры чертежей, в числе которых:
Фиг.1 изображает продольный разрез устройства для кондиционирования воздуха в соответствии с изобретением;
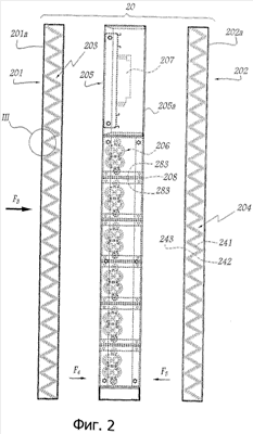
Фиг.2 – вид в разборе установки фильтрации и очистки, снабженной устройством, изображенным на фиг.1;
Фиг.3 – вид в разрезе, представленный в увеличенном масштабе, детали III на фиг.2;
Фиг.4 – вид в перспективе, в разборе установки, показанной на фиг.2.
Установка А, изображенная на фиг.1, предназначена для всасывания воздуха как извне, так и из внутренних помещений здания В. С этой целью установка А оснащена ящиком для предварительного смешивания 10, в который воздух может поступать как извне (обозначено стрелкой F1), так и из внутренних помещений здания В (показано стрелкой F2).
В нижней части ящика 10 установлен фильтр 12 грубой очистки, предназначенный для задержания наиболее крупных загрязняющих частиц.
Обогревающая батарея 14, охлаждающая батарея 16 и увлажнитель 18 расположены соответственно перед фильтром 12 грубой очистки и вдоль оси поступления воздуха в установку А (направление потока воздуха показано стрелкой F3). Элементы 14 и 18 представляют собой устройство очистки, позволяющее изменять некоторые физические свойства воздуха, проходящего через установку А.
Фильтр 20, позволяющий обрабатывать проходящий через установку А воздух, располагается за увлажнителем 18 и перед вентилятором 22, выходное отверстие которого соединено с фильтром тонкой очистки 24, за которым расположена звуковая ловушка 26.
Структура фильтра 20 более детально представлена на фиг.2 и 4. Этот фильтр включает две фильтрующих секции 201 и 202, внутри которых расположены соответственно ленты фильтрующего средства 203 и 204.
Фильтрующее средство 203, расположенное в фильтрующей секции 201, сложено в виде зигзага внутри корпуса 201а данной секции и включает в себя проницаемый каркас 231, верхняя сторона которого покрыта слоем 232 активированного угля, а нижняя сторона – слоем 233 TiO2. В рамках настоящего изобретения могут быть использованы и другие вещества-катализаторы, например другие окиси металлов, щелочно-земельные окиси, окиси актинида или редкоземельных металлов.
Наряду с активированным углем в качестве адсорбирующих веществ могут также использоваться, в частности, цеолит или полимерная смола.
В качестве фильтрующего средства может быть использовано, в частности, фильтрующее средство, известное из патента FR-А-2812825.
Фильтрующее средство 204, расположенное внутри корпуса 202а нижней фильтрующей секции 202, изготовлено из того же материала, что и средство 203, и включает в себя проницаемый каркас 241, слой 242 активированного угля и слой 243 вещества TiO2. Слой 242 нанесен на нижнюю сторону каркаса 241, а слой 243 – на его верхнюю сторону.
Осветительная секция 205 находится между секциями 201 и 202 и включает в себя корпус 205а, внутри которого размещены ультрафиолетовые лампы 206, функционирующие с постоянной мощностью с целью оптимизировать срок эксплуатации установки. Эти лампы получают электрическое питание от одного или нескольких балластных сопротивлений 207, расположенных в корпусе 205а. Лампы отделены друг от друга разделительными пластинами 208, верхняя и нижняя поверхности которых покрыты слоями 283 TiO2. В данном случае могут применяться и другие фотокатализаторы. На практике они аналогичны тем, которые используются в фильтрующих средствах.
Было установлено, что наличие разделительных пластин 208 не является обязательным условием, они предназначены для оптимизации фотокаталитического процесса на газовой фазе.
Воздушный поток последовательно проходит через секции 201, 205 и 202, образующие вместе трубу, по которой поток воздуха F3 перемещается в устройство 20. В частности, объединенные в единое целое секции 201, 205 и 202, которые составляют структуру устройства 20, не предназначены для установки в неудобную впускную трубку.
Объединение свойств активированного угля и фотокатализатора позволяет добиться очистки воздушного потока F3 посредством физической адсорбции органических соединений на уровне активированного угля и путем фотокатализатора на уровне слоев TiO2; причем используемый при этом гетерогенный фотокаталитический процесс подразделяется на пять этапов, в том числе: перемещение газообразных реагентов в направлении поверхности с нанесенным на нее фотокатализатором; адсорбция указанных газообразных реагентов на указанной поверхности; возникновение фотохимической реакции между адсорбированными газообразными реагентами и минерализация органических соединений; десорбция газообразных продуктов каталитического восстановления; вывод газообразных продуктов за пределы фотокаталитической поверхности. Энергия, полученная в результате ультрафиолетового излучения лампочек 206, позволяет электрону из слоя, покрытого TiO2, переместиться из валентной зоны в зону проводимости данного материала, что создает центр каталитического окисления (дырка h+) в валентной зоне и центр каталитического восстановления (электрон е–) в зоне проводимости. Дырки h+ вступают в реакцию с донорами электронов, являющимися органическими продуктами, которые адсорбируются на поверхности, покрытой TiO2. Одновременно электроны е– вступают в реакцию с акцепторами электронов.
Таким образом, электрон из восстановительной зоны может быть задержан молекулярным кислородом О2, в то время как дырка валентной зоны задерживается группами основного поверхностного гидроксила или адсорбированной водой, что способствует образованию радикального гидроксила. Таким образом, происходит окислительно-восстановительный процесс и образование радикалов или ионов-радикалов. Последние преобразуются, вступая в реакцию друг с другом, или атакуют органические соединения, адсорбированные TiO2, которые в результате этого разрушаются.
При изготовлении устройства 20 элементы 201, 202 и 205 соединяются, чтобы образовать устройство 20, и позволяют достаточно эффективно осуществлять фильтрацию определенного количества воздуха, перемещающегося с относительно высокой фронтальной скоростью (свыше 2 м/с), и обеспечивают относительно высокую пропускную способность.
Представляется возможным осуществить предварительный монтаж фильтрующих секций, аналогичных секции 201 или секции 202, с фильтрующими средствами различных типов, например, отличающихся качеством используемого активированного угля, порошкообразных или волокнистых, или в зависимости от геометрических размеров средств 203 и 204, в частности, отличающихся по типу сгибания.
Представляется также возможным выполнить предварительные монтажные работы осветительной секции 205, включающей в себя заранее подобранные лампы 206.
Наряду с этим можно смонтировать устройство 20 с учетом предполагаемого использования установки А, в которую оно будет интегрировано, или в зависимости от типа и/или размеров этой установки. В частности, секции 201 и 202 могут быть выбраны среди целого ряда секций с учетом типа частиц, подлежащих обработке, и/или показателей технико-экономической рентабельности.
Монтажные работы заключаются в сочленении секций 201, 202 и 205, как это показано стрелками F4 и F5, с последующим скреплением секций друг с другом соответствующим образом, например при помощи болтов.
Устройство 20 очень просто как в изготовлении, так и в процессе применения, поскольку нет необходимости задействовать, как это делается в других известных установках, систему регулировки, принимая при этом во внимание ту угрозу, которую может представлять пористость.
Секции 201, 202 и 205 собираются, как правило, способом, предполагающим возможность выполнения обратных действий, что позволяет их разъединить для того, чтобы иметь доступ к лампам 206, в частности, при проведении регламентных работ по их обслуживанию.
Структура устройства 20 позволяет также оптимизировать условия ее эксплуатации; температура воздуха, проходящего через устройство 20, может находиться в пределах от 10 до 60°С, а относительная влажность составлять 15-95%.
В частности, органические соединения, содержащиеся в воздушном потоке F3, адсорбируются активированным углем слоя 232. Процесс адсорбирования постоянно наблюдается между слоями 232 и 233. Органические соединения, не измененные на уровне средства 203, и промежуточные соединения, которые являются результатом частичного окислительно-восстановительного процесса на уровне данного средства, в последующем очищаются при помощи средства 204.
Устройство 20 позволяет рассматривать возможность полного разрушения органических загрязняющих веществ, содержащихся в воздушном потоке, путем их минерализации.
Изобретение позволяет, в частности, осуществлять очистку воздушного потока, в котором содержатся улетучивающиеся или полуулетучивающиеся органические соединения, тетрахлорэтилен, двубутилен, анизол, фенол, озон, хлорамин, линдан и/или смесь этих продуктов. Изобретение позволяет также очищать поток воздуха, содержащего соединения, образующие такие запахи, как меркаптан или сигаретный дым. Кроме того, изобретение позволяет обрабатывать воздушный поток, в котором содержатся живые, потенциально болезнетворные микроорганизмы, к которым можно отнести бактерии, в том числе Legionella Pneumophila, или стафилококк, или даже вирусы, как, например, вирус SRAS.
В соответствии с одним вариантом изобретения, который не представлен в данном описании, в установке А фильтр 20 может быть размещен перед вентилятором 22.
Изобретение представлено единым устройством 20. Оно может также использоваться с установкой, составленной из разрозненных элементов.
Формула изобретения
1. Установка фильтрации и очистки от органических соединений для устройств кондиционирования воздуха, содержащая, по меньшей мере, одно фильтрующее средство (203, 204), включающее в себя адсорбирующее вещество (232, 242) и фотокатализатор (233, 243) и размещенное в двух фильтрующих секциях (201, 202), предназначенных для последовательного пропускания воздушных потоков (F3), подлежащих фильтрованию и очистке; средства (206) освещения фотокатализатора, размещенные между фильтрующими секциями (201, 202), отличающаяся тем, что средства освещения (206) размещены в секции (205), через которую проходит очищаемый воздушный поток (F3), и образуют вместе с фильтрующими секциями (201, 202) устройство фильтрации (20).
2. Установка по п.1, отличающаяся тем, что адсорбирующее вещество (232, 242) и фотокатализатор (233, 243) распределены, соответственно, на одной или, соответственно, на двух сторонах проницаемого каркаса (231, 241).
3. Установка по любому из пп.1 или 2, отличающаяся тем, что на верхней стороне фильтрующего средства (203), размещенного в верхней фильтрующей секции (201), и на нижней стороне фильтрующего средства (204), размещенного в нижней фильтрующей секции (202), предусмотрено адсорбирующее вещество (232, 242), тогда как на нижней стороне фильтрующего средства (203), размещенного в верхней фильтрующей секции (201), и на верхней стороне фильтрующего средства (204), размещенного в нижней фильтрующей секции (202), нанесен фотокатализатор (233, 242).
4. Установка по любому из пп.1 или 2, отличающаяся тем, что секции (201, 202, 205) сочленены друг с другом реверсивным способом.
5. Установка по любому из пп.1 или 2, отличающаяся тем, что в осветительной секции (205) установлены ультрафиолетовые лампы (206) и, возможно, устройства (207) питания этих ламп.
6. Установка по любому из пп.1 или 2, отличающаяся тем, что в осветительной секции (205) предусмотрена, по меньшей мере, одна пластинка (208), разделяющая две рядом расположенные лампы (206) и покрытая, по меньшей мере, с одной стороны фотокатализатором (283).
7. Установка по любому из пп.1 или 2, отличающаяся тем, что фильтрующие средства (203, 204) в фильтрующих секциях (201, 202) имеют зигзагообразную форму.
8. Способ изготовления установки по любому из пп.1-7, отличающийся тем, что выбирают корпус (201а, 202а, 205а) секций (201, 202, 205) в зависимости от размеров устройства для кондиционирования воздуха (А); выбирают фильтрующее средство (203, 204) в зависимости от типа частиц, подлежащих обработке; выбирают тип, количество и мощность ламп (206); устанавливаемых в осветительной секции (205); устанавливают осветительную секцию (205) между фильтрующими секциями (201, 202), производят сборку (F4, F5) секций (201, 202, 205) в единую установку (20), интегрируемую в устройство (А).
9. Устройство для кондиционирования воздуха (А), используемое, в частности, в зданиях, оснащенное установкой фильтрации и очистки воздуха (20) по пп.1-7.
10. Устройство по п.9, отличающееся тем, что включает в себя последовательно размещенные, по меньшей мере, фильтр грубой очистки (12), устройство обработки (14-18) и вентилятор (22), при этом установка фильтрации и очистки (20) размещена после устройства обработки (14-18) и до или после вентилятора (22).
РИСУНКИ
|
|