|
|
(21), (22) Заявка: 2007106333/15, 19.02.2007
(24) Дата начала отсчета срока действия патента:
19.02.2007
(46) Опубликовано: 20.08.2008
(56) Список документов, цитированных в отчете о поиске:
SU 1662650 A1, 15.07.1991. SU 1505563 A1, 07.09.1989. SU 1613147 A1, 15.12.1990. SU 1430054 A1, 15.10.1988. SU 1031458 A1, 30.07.1984. RU 2072247 С1, 27.01.1997. GB 1468928 A, 30.03.1974. JP 2000-237550 А, 05.09.2000.
Адрес для переписки:
394000, г.Воронеж, пр. Революции, 19, ГОУ ВПО ВГТА, отдел СМП
|
(72) Автор(ы):
Ключников Андрей Иванович (RU), Шахов Сергей Васильевич (RU), Потапов Андрей Иванович (RU), Марков Александр Анатольевич (RU), Огурцов Алексей Владимирович (RU), Колиух Сергей Александрович (RU)
(73) Патентообладатель(и):
Государственное образовательное учреждение Высшего профессионального образования Воронежская государственная технологическая академия (ГОУ ВПО ВГТА) (RU)
|
(54) МЕМБРАННЫЙ АППАРАТ С НАПРАВЛЕННЫМИ ПОТОКАМИ
(57) Реферат:
Предлагаемое изобретение относится к области разделения суспензий промышленного, сельскохозяйственного и бытового назначения и может быть использовано в различных отраслях промышленности. Мембранный аппарат с направленными потоками содержит корпус с патрубками ввода исходной жидкости, вывода очищенной жидкости и жидкости с осадком. Аппарат состоит из цилиндрической обечайки с эллиптическим верхом и днищем, фильтродержателя с закрепленными в нем фильтрующими элементами и распределительным перфорированным устройством, зажимной плиты и опор в виде ножек. Распределительное устройство установлено в центральной части фильтродержателя, причем по периферии обечайки установлены профильные элементы, выполненные по отношению к фильтрующему элементу с образованием сужающегося зазора, в узкой части которого расположен отводящий канал. Технической задачей изобретения является повышение производительности мембранного аппарата и увеличение ресурса его работы за счет более эффективной регенерации мембран гидродинамическими способами, а также расширение диапазона использования фильтра как для грубой очистки, так и для мембранных способов очистки. 8 ил.
Изобретение относится к области разделения суспензий промышленного, сельскохозяйственного и бытового назначения и может быть использовано в различных отраслях промышленности.
Известны фильтрующие устройства (А.с. № 1797946, В01D 27/00, БИ № 8, 1993 г. и патент № 1799281, В01D 27/00, 46/02, Б.И. № 8, 1993 г.), содержащие корпус с патрубками подвода суспензии и отвода фильтрата, вертикально установленные в корпусе фильтровальные патроны, укрепленные на патрубках, размещенных в нижней части корпуса, и сборную камеру или сборный коллектор, соединяющий патрубки.
Недостатками известных устройств является малый межрегенерационный цикл и невысокая производительность.
Наиболее близким по технической сущности и достигаемому эффекту к предлагаемому является фильтр для очистки жидкостей (Патент РФ № 2148427, В01D 13/00, БИ № 13, 2000 г.), содержащий разъемный герметичный корпус с дном и подводящими и отводящими патрубками и фильтрующее устройство, выполненное в виде отдельно расположенных и закрепленных в отверстиях придонной адсорбирующей решетки вертикальных колонн, каждая из которых состоит из цилиндрических полимербетонных фильтрующих элементов, оснащенных торцевыми уплотнителями.
Недостатками фильтра для очистки жидкостей являются образование зон с пониженной производительностью, в которых затруднена регенерация фильтрующего элемента, за счет того, что в этих зонах гидродинамическая обстановка течения жидкости не отличается от зон с активным смыванием жидкостью фильтрующего элемента, а также узкий диапазон использования фильтра в связи с невозможностью его использования для баромембранных процессов.
Технической задачей изобретени является повышение производительности мембранного аппарата и увеличение ресурса его работы за счет регенерации мембран гидродинамическими способами, а также расширение диапазона его использования как для грубой фильтрации, так и для мембранных способов очистки.
Поставленная задача достигается тем, что в мембранном аппарате с направленными потоками, содержащем корпус с патрубками ввода исходной жидкости, вывода очищенной жидкости и жидкости с осадком, состоящий из цилиндрической обечайки с эллиптическим верхом и днищем, фильтродержателя с закрепленными в нем фильтрующими элементами и распределительным перфорированным устройством, зажимной плиты и опор в виде ножек, новым является то, что распределительное устройство установлено в центральной части фильтродержателя, причем по периферии обечайки установлены профильные элементы, выполненные по отношению к фильтрующему элементу с образованием сужающегося зазора, в узкой части которого расположен отводящий канал.
Технический результат заключается в повышении производительности мембранного аппарата и увеличении ресурса его работы за счет более эффективной регенерации мембран гидродинамическими способами, а также расширении диапазона его использования как для грубой фильтрации, так и для мембранных способов очистки.
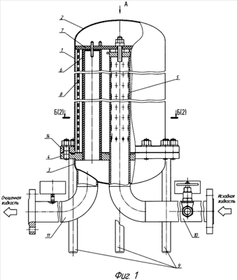
На фиг.1 представлен общий вид предлагаемого аппарата, на фиг.2 – вид сверху (вид А), на фиг.3 – поперечный разрез по Б-Б, на фиг.4, 5 – узлы аппарата (днище и распределительное устройство), на фиг.6 – фильтродержатель, на фиг.7 – трехмерная модель мембранного аппарата с направленными потоками, а на фиг.8 – схема работы аппарата.
Мембранный аппарат с направленными потоками (фиг.1-7) содержит корпус с патрубками ввода исходной жидкости 10, вывода очищенной жидкости 11 и жидкости с осадком 12, состоящий из цилиндрической обечайки 1 с эллиптическим верхом 2, днищем 3, фланцем 14 и опорами в виде ножек 9.
Мембранный аппарат имеет фильтродержатель 4 (фиг.6) с закрепленными в нем фильтрующими элементами 6 (фиг.1, 3 и 7). В центральной части фильтродержателя 4 (фиг.6) установлено перфорированное распределительное устройство 5 (фиг.5). В верхней части аппарата (фиг.1, 8) размещена зажимная плита 7. По периферии обечайки 1 установлен профильный элемент 8 (фиг.3), выполненный по отношению к фильтрующим элементам 6 с образованием сужающегося зазора, в узкой части которого расположены отводящие каналы 13 для отвода высококонцентрированных потоков жидкости.
Мембранный аппарат с направленными потоками работает следующим образом.
Исходная жидкость через патрубок 10 (фиг.1-5, 7) подается в перфорированное распределительное устройство 5 (фиг.5), откуда через отверстия в виде струй жидкости подается по касательной на поверхности фильтрующих элементов 6. Образующийся поток жидкости поступает в уменьшающийся зазор, образованный поверхностями профильного элемента 8 и фильтрующего элемента 6 (фиг.1, 3 и 7). По ходу движения потока внутри уменьшающегося зазора происходит увеличение его скорости. Благодаря этому происходит очистка поверхности фильтрующего элемента от образующихся отложений. В участке зазора с минимальной площадью поперечного сечения два движущихся встречных потока сталкиваются, в результате чего происходит его интенсивная турбулизация (фиг.8). Для предотвращения высокого уровня концентрационной поляризации у фильтрующего элемента в области зазора с минимальной площадью поперечного сечения предназначен отводящий канал 13 для отвода высококонцентрированных потоков жидкости в нижнюю часть аппарата, откуда она периодически или непрерывно удаляется через патрубок 12 (фиг.2). Жидкость, прошедшая через фильтрующий материал, попадает во внутреннюю полость фильтрующего элемента 6, откуда поступает в днище 3 и затем отводится из фильтродержателя 4 при помощи патрубка 11.
Таким образом, в работе аппарата имеются три характерные зоны (фиг.8).
Зона I (напорная) – поток жидкости, выходящий из отверстий распределительного устройства в виде струй, проходит по касательной к поверхности фильтрующего элемента. В результате высокой кинетической энергии движущегося потока происходит удаление частиц отложений с поверхности фильтрующего элемента и их продвижение к зоне преобразования скорости.
Зона II (преобразования скорости) – поток воды, движущийся в канале с уменьшающейся площадью поперечного сечения, испытывает преобразование скорости, заключающееся в ее увеличении по мере продвижения потока в сужающийся участок. Одновременно с этим происходит удаление частиц с поверхности фильтрующего элемента и их продвижение к зоне встречи двух потоков.
Зона III (встречи двух потоков) – поток жидкости на выходе из сужающегося канала сталкивается с аналогичным потоком из соседнего канала. В результате столкновения двух потоков происходит их слияние с образованием интенсивной турбулентности, сопровождающееся изменением скорости и давления, за счет которой происходит удаление частиц с поверхности фильтрующего элемента.
Преимущества предлагаемого мембранного аппарата с направленными потоками заключаются в следующем:
– увеличение ресурса работы фильтрующего элемента за счет непрерывного удаления частиц от его поверхности со всех сторон;
– снижение уровня концентрационной поляризации благодаря касательному течению разделяемого потока относительно поверхности фильтрующего элемента;
– увеличение производительности за счет снижения уровня концентрационной поляризации;
– расширение диапазона использования фильтра как для грубой фильтрации, так и для мембранных способов очистки.
Формула изобретения
Мембранный аппарат с направленными потоками, содержащий корпус с патрубками ввода исходной жидкости, вывода очищенной жидкости и жидкости с осадком, состоящий из цилиндрической обечайки с эллиптическим верхом и днищем, фильтродержателя с закрепленными в нем фильтрующими элементами и распределительным перфорированным устройством, зажимной плиты и опор в виде ножек, отличающийся тем, что распределительное устройство установлено в центральной части фильтродержателя, причем по периферии обечайки установлены профильные элементы, выполненные по отношению к фильтрующему элементу с образованием сужающегося зазора, в узкой части которого расположен отводящий канал.
РИСУНКИ
|
|