|
|
(21), (22) Заявка: 2006141150/12, 22.11.2006
(24) Дата начала отсчета срока действия патента:
22.11.2006
(46) Опубликовано: 20.08.2008
(56) Список документов, цитированных в отчете о поиске:
US 4246718 А, 27.06.1981. US 4306373 А, 22.12.1981. RU 2071801 С1, 20.01.1997. GB 2231502 А, 21.11.1990. US 2795893 А, 18.06.1957.
Адрес для переписки:
123104, Москва, Тверской б-р, 3, стр.1, ООО “ДЕКО”
|
(73) Патентообладатель(и):
ОБЩЕСТВО С ОГРАНИЧЕННОЙ ОТВЕТСТВЕННОСТЬЮ “ДЕКО” (RU)
|
(54) СПОСОБ ИЗГОТОВЛЕНИЯ ОБЪЕМНЫХ ЗАКРЫТЫХ ПУСТОТЕЛЫХ ЭЛЕМЕНТОВ ИГРУШЕЧНОГО КОНСТРУКТОРА
(57) Реферат:
Изобретение относится к детским строительным наборам и может быть использовано в настольных играх. Способ заключается в том, что из пластмассы методом литья под давлением предварительно отливают две одинаковые половины элемента игрушечного конструктора в виде открытой коробчатой формы с цилиндрическими выступами на несущей грани. При этом на одной половине ее периметра формуют выступающий над краем открытой части половины элемента бортик с направленным наружу продольным выступом сегментообразного, или полусферического, или треугольного, или прямоугольного, или трапециевидного сечения. На другой половине периметра той же самой половины элемента формуют продольную проточку с выемкой одинакового с выступом сечения. Цилиндрические выступы формуют полыми трубчатой формы, направленными в сторону открытой части половины элемента игрушечного конструктора, открытыми со стороны несущей грани и закрытыми с противоположной стороны. По завершении отливки половины элемента располагают симметрично открытыми частями навстречу друг другу так, чтобы бортик с выступом одной половины располагался напротив продольной проточки с выемкой другой половины и наоборот, а затем соединяют эти половины между собой путем совмещения выступов с противолежащими им выемками до полной фиксации выступов в выемках. 2 з.п. ф-лы, 12 ил.
Изобретение относится к области игрушечных конструкторов и может быть использовано для создания объемных закрытых пустотелых элементов игрушечных конструкторов разнообразных форм, размеров и цветов, обладающих конструктивной возможностью соединения друг с другом посредством соединительных элементов.
Заявитель не обнаружил каких-либо известных способов изготовления объемных закрытых пустотелых элементов игрушечного конструктора, которые по совокупности существенных признаков были бы близки к заявленному способу и обеспечивали бы получение схожего технического результата, т.е. могли бы являться его аналогами.
Задача, на решение которой направлено заявляемое изобретение, состоит в расширении арсенала элементов игрушечных конструкторов и в повышении их схожести с реальными строительными элементами.
Изобретение обеспечивает получение новых видов объемных закрытых пустотелых элементов игрушечных конструкторов, в наиболее полной мере адекватных реальным объемным строительным элементам, используемым при возведении различных сооружений, имеющих разнообразные объемные геометрические формы.
Первый вариант изобретения характеризуется следующей совокупностью существенных признаков.
Из пластмассы методом литья под давлением отливают две одинаковые половины элемента игрушечного конструктора открытой коробчатой формы с цилиндрическими выступами на несущей грани, противолежащей открытой части половины элемента. В процессе отливки каждой половины элемента игрушечного конструктора на одной половине ее периметра и в плоскости ее внутренней поверхности со стороны открытой части формуют выступающий над краем открытой части половины элемента бортик с направленным наружу продольным выступом сегментообразного, или полусферического, или треугольного, или прямоугольного, или трапециевидного сечения. Одновременно на другой половине периметра той же самой половины элемента игрушечного конструктора вдоль края ее открытой части зеркально-симметрично расположению продольного выступа на бортике относительно плоскости открытой части половины элемента и относительно плоскости, делящей половину элемента пополам и перпендикулярной несущей грани, формуют продольную проточку с выемкой одинакового с выступом сечения. В процессе отливки каждой половины элемента игрушечного конструктора цилиндрические выступы формуют полыми трубчатой формы, направленными в сторону открытой части половины элемента игрушечного конструктора не далее ее плоскости, открытыми со стороны несущей грани и закрытыми с противоположной стороны. По завершении отливки двух одинаковых половин элемента игрушечного конструктора располагают их симметрично открытыми частями навстречу друг другу таким образом, чтобы бортик одной половины располагался напротив продольной проточки другой половины и наоборот, а затем соединяют эти одинаковые половины элемента игрушечного конструктора между собой путем совмещения выступов в бортиках с противолежащими им выемками в проточках до полной фиксации выступов в выемках.
Второй вариант изобретения характеризуется следующей совокупностью существенных признаков.
Все операции по изготовлению объемного закрытого пустотелого элемента игрушечного конструктора идентичны операциям, составляющим сущность первого варианта способа, и отличаются от него тем, что цилиндрические выступы формуют открытыми с обеих сторон, а вокруг основания каждого цилиндрического выступа во внешней поверхности несущей грани каждой половины элемента формуют соосное с цилиндрическим выступом кольцеобразное углубление с внутренним диаметром, равным внутреннему диаметру цилиндрического выступа.
Третий вариант изобретения характеризуется следующей совокупностью существенных признаков.
Все операции по изготовлению объемного закрытого пустотелого элемента игрушечного конструктора идентичны операциям, составляющим сущность первого варианта способа, и отличаются от него тем, что у одной половины элемента игрушечного конструктора бортик с выступом формуют по всему периметру ее внутренней поверхности, а у другой половины элемента игрушечного конструктора по всему периметру ее внутренней поверхности формуют продольную проточку с выемкой.
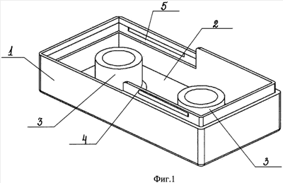
На фиг.1 представлено изображение одной половины элемента игрушечного конструктора с двумя цилиндрическими выступами, изготовленной посредством применения заявленного способа, вид изнутри; на фиг.2 представлено изображение одной половины элемента игрушечного конструктора с двумя цилиндрическими выступами, изготовленной посредством применения заявленного способа, вид снаружи; на фиг.3 представлено изображение элемента игрушечного конструктора с двумя соединительными отверстиями, собранного из двух его одинаковых половин посредством применения заявленного способа; на фиг.4 представлено изображение одной половины элемента игрушечного конструктора с четырьмя цилиндрическими выступами, изготовленной посредством применения заявленного способа, вид изнутри; на фиг.5 представлено изображение одной половины элемента игрушечного конструктора с четырьмя цилиндрическими выступами, изготовленной посредством применения заявленного способа, вид снаружи; на фиг.6 представлено изображение элемента игрушечного конструктора с четырьмя соединительными отверстиями, собранного из двух его одинаковых половин посредством применения заявленного способа; на фиг.7 представлено изображение одной половины элемента игрушечного конструктора криволинейной формы с тремя цилиндрическими выступами, изготовленной посредством применения заявленного способа, вид изнутри; на фиг.8 представлено изображение одной половины элемента игрушечного конструктора криволинейной формы с тремя цилиндрическими выступами, изготовленной посредством применения заявленного способа, вид снаружи; на фиг.9 представлено изображение криволинейного элемента игрушечного конструктора с тремя соединительными отверстиями, собранного из двух его одинаковых половин посредством применения заявленного способа; на фиг.10 представлено изображение одной половины элемента игрушечного конструктора криволинейной формы с бортиком с выступом по всему периметру, вид изнутри; на фиг.11 представлено изображение одной половины элемента игрушечного конструктора криволинейной формы с проточкой с выемкой по всему периметру, вид изнутри; на фиг.12 представлено изображение криволинейного элемента игрушечного конструктора с двумя соединительными отверстиями, собранного посредством применения заявленного способа из двух неодинаковых половин.
На всех представленных изображениях имеются следующие обозначения:
1 – одна половина элемента игрушечного конструктора открытой коробчатой формы;
2 – несущая грань;
3 – цилиндрический выступ;
4 – бортик с выступом;
5 – проточка с выемкой;
6 – кольцеобразное углубление вокруг основания цилиндрического выступа;
7 – вторая половина элемента игрушечного конструктора.
Для изготовления элемента игрушечного конструктора из пластмассы методом литья под давлением используют пресс-форму, в которой обеспечена возможность формовки половины элемента игрушечного конструктора с бортиком с выступом и с проточкой с выемкой. После отливки двух половин элемента их соединяют между собой до фиксации выступов в выемках. Полученный элемент игрушечного конструктора является объемным, закрытым, пустотелым и может использоваться для создания различных конструкций как с применением соединительных элементов, так и без них.
Таким образом, посредством реализации заявленного способа могут быть изготовлены различные оригинальные объемные закрытые пустотелые элементы игрушечного конструктора, расширяющие арсенал элементов игрушечных конструкторов. Изготовленные посредством заявленного способа элементы в наиболее полной мере адекватны реальным объемным строительным элементам, что в значительной степени способствует формированию у ребенка правильных представлений об окружающих предметах и сооружениях. Заявленный способ позволяет изготавливать самый широкий спектр объемных закрытых пустотелых элементов для разнообразных 3D-игрушечных конструкторов.
Формула изобретения
1. Способ изготовления объемных закрытых пустотелых элементов игрушечного конструктора, характеризующийся тем, что из пластмассы методом литья под давлением предварительно отливают две одинаковые половины элемента игрушечного конструктора в виде открытой коробчатой формы с цилиндрическими выступами на несущей грани, противолежащей открытой части, каждая, при этом в процессе отливки каждой половины элемента игрушечного конструктора на одной половине ее периметра и в плоскости ее внутренней поверхности со стороны открытой части формуют выступающий над краем открытой части половины элемента бортик с направленным наружу продольным выступом сегментообразного, или полусферического, или треугольного, или прямоугольного, или трапециевидного сечения, на другой половине периметра той же самой половины элемента игрушечного конструктора вдоль края ее открытой части зеркально-симметрично расположению продольного выступа на бортике относительно плоскости открытой части половины элемента и относительно плоскости, делящей половину элемента пополам и перпендикулярной несущей грани, формуют продольную проточку с выемкой одинакового с выступом сечения, а цилиндрические выступы формуют полыми трубчатой формы, направленными в сторону открытой части половины элемента игрушечного конструктора не далее ее плоскости, открытыми со стороны несущей грани и закрытыми с противоположной стороны, по завершении отливки двух одинаковых половин элемента игрушечного конструктора располагают их симметрично открытыми частями навстречу друг другу таким образом, чтобы бортик с выступом одной половины располагался напротив продольной проточки с выемкой другой половины и наоборот, и затем соединяют эти одинаковые половины элемента игрушечного конструктора между собой путем совмещения выступов с противолежащими им выемками до полной фиксации выступов в выемках.
2. Способ изготовления объемных закрытых пустотелых элементов игрушечного конструктора по п.1, отличающийся тем, что цилиндрические выступы формуют открытыми с обеих сторон, а вокруг основания каждого цилиндрического выступа во внешней поверхности несущей грани каждой половины элемента формуют соосное с цилиндрическим выступом кольцеобразное углубление с внутренним диаметром, равным внутреннему диаметру цилиндрического выступа.
3. Способ изготовления объемных закрытых пустотелых элементов игрушечного конструктора по п.1, отличающийся тем, что у одной половины элемента игрушечного конструктора бортик с выступом формуют по всему периметру ее внутренней поверхности, а у другой половины элемента игрушечного конструктора по всему периметру ее внутренней поверхности формуют продольную проточку с выемкой.
РИСУНКИ
|
|