|
|
(21), (22) Заявка: 2004106297/11, 03.03.2004
(24) Дата начала отсчета срока действия патента:
03.03.2004
(43) Дата публикации заявки: 10.08.2005
(46) Опубликовано: 20.08.2008
(56) Список документов, цитированных в отчете о поиске:
RU 2015702 С1, 15.07.1994. RU 2019216 С1, 15.09.1994. SU 241573 А, 25.04.1969.
Адрес для переписки:
428000, г.Чебоксары, ул. К. Маркса, 54, Чебоксарский ин-т (филиал) Московского государственного открытого университета
|
(72) Автор(ы):
Акимов Александр Петрович (RU), Васильев Анистрад Григорьевич (RU), Васильев Павел Анистрадович (RU), Костин Иван Викторович (RU)
(73) Патентообладатель(и):
Акимов Александр Петрович (RU)
|
(54) РУЧНОЙ ПОЖАРНЫЙ СТВОЛ
(57) Реферат:
Изобретение относится к пожарной технике, а именно к устройствам, предназначенным для тушения пожара огнетушащими жидкостями, преимущественно водой. Ручной пожарный ствол содержит корпус с ручками. На сопле пожарного ствола закреплен один конец прочного тонкостенного шланга, а на другом конце шланга установлен дефлектор для разбивания струи с возможностью регулирования кольцевого зазора. Автоматическое поддержание оптимального кольцевого зазора осуществляется выполнением спиц дефлектора из упругого материала. В нерабочем состоянии шланг и дефлектор укладываются челночно в коробчатый контейнер или спирально в круглый контейнер. Упрощается конструкция и увеличивается надежность работы ручного пожарного ствола при тушении горящих боковых и передних стенок внутри помещения, а также предметов около них осесимметричной веерной мелкодисперсной струей. 2 з.п. ф-лы, 7 ил.
Изобретение относится к пожарной технике, а именно к устройствам, предназначенным для тушения пожара огнетушащими жидкостями, преимущественно водой.
Известен ручной пожарный ствол, состоящий из корпуса с коническим сходящимся насадком-соплом и ручками, размещенной на корпусе катушки с храповым колесом и курком, дефлектора для образования мелкодисперсной осесимметричной веерной струи, связанного с катушкой-барабаном при помощи стальной пружинной проволоки или эластичной трубки [1].
Известен также ручной пожарный ствол, в котором дефлектор связан с катушкой наматывания-сматывания канатиком-леской [2].
Известен также переносной импульсный огнетушитель, в котором компактная часть струи помещена в тонкостенный прочный шланг, один конец которого закреплен на сопле пожарного ствола, а на другом свободном конце установлен дефлектор для разбивания струи с возможностью регулирования кольцевого зазора [3].
Известные [1, 2] пожарные стволы имеют низкую надежность вследствие выпадания каната или пружинной проволоки из компактной части струи и сложны в изготовлении и эксплуатации. Переносной импульсный огнетушитель [3] сложен в изготовлении, в нем не предусмотрено автоматическое изменение зазора в кольцевом сопле.
Цель изобретения – упрощение конструкции и увеличение надежности работы ручного пожарного ствола при тушении горящих боковых и передних стенок внутри помещения, а также предметов около них осесимметричной веерной мелкодиспергированной струей воды. Указанная цель достигается тем, что поддержание оптимального кольцевого зазора осуществляется выполнением спиц дефлектора из упругого материала, а также установкой дефлектора на конце телескопического стержня, установленного по оси ствола внутри свободной струи, в нерабочем положении ствола шланг укладывается челночно в коробчатый контейнер или спирально в круглый контейнер с карманами для дефлектора.
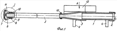
На фиг.1 показан ручной пожарный ствол с тонкостенным прочным шлангом в рабочем состоянии; на фиг.2 – соединение дефлектора со шлангом, на фиг.3 – ствол в нерабочем состоянии при челночной укладке шланга с дефлектором в контейнер; на фиг.4 – спиральная укладка шланга в круглый контейнер (вид сверху); на фиг.5 – вид круглого контейнера с собранным шлангом сбоку; на фиг.6 – связь телескопического стержня с дефлектором и соплом; на фиг.7 – вид катушки для сматывания и наматывания канатика-лески.
Ручной пожарный ствол содержит корпус 1 с полумуфтой 2, насадок-сопло 3, ручки 4, тонкостенный шланг 5, насаженный на сопло и на свободном конце которого закреплен патрубок 6, на резьбовой части которого установлена втулка 8 дефлектора 7. Втулка от самоотворачивания фиксируется контргайкой 9. Шланг 5 на сопле и патрубке закрепляется хомутиками 10. Втулка 8 и отражатель 7 дефлектора связаны спицами 11. Дефлектор и патрубок могут быть металлическими или полимерными. На корпусе и сопле ствола установлен контейнер 12 для шланга, имеющий с передней стороны окно, а с задней – карман 13 для дефлектора. В нерабочем состоянии пожарного ствола шланг укладывается в контейнер челночно. В другой модификации на ось 14 устанавливается круглый контейнер 15 со спицами 16 для спиральной укладки шланга в нерабочем состоянии. Контейнер закрывается крышкой 17. В другом варианте дефлектор 7 внутри струи удерживается при помощи телескопического стержня, установленного в направляющей крестовины 18 сопла 3, большая трубочка 19 удерживается в крестовине головкой 20, трубочки 21 входят друг в друга с возможностью перемещения и концы их завальцованы, на проволочном концевом стержне 22 с одного конца жестко закреплен дефлектор, а другой конец связан канатиком 23 с катушкой 25, установленной на кронштейне 24 изогнутого корпуса 1. Для вращения катушки имеется рукоятка 26.
Ручной пожарный ствол работает следующим образом. При тушении горящих предметов около боковых и передней стенок через окно или дверь, а также самих стенок боец подключает предлагаемый ручной пожарный ствол к пожарному рукаву, направляет ствол в сторону окна и открывает перекрывной кран (не показан). Вода попадает под давлением в шланг 5, уложенный в контейнер 12, и с силой выталкивает шланг и дефлектор из контейнера. Дефлектор ударяет в стекла окна и разбивает их, шланг с дефлектором проникают в помещение. Вода, ударяясь о дефлектор 7, разбрызгивается в виде осесимметричной веерной струи. В зависимости от формы рабочей поверхности дефлектора веерная струя может направляться под конусом назад, вперед, а также перпендикулярно шлангу. Веерная струя обильно смачивает горящие предметы, внутреннюю поверхность передней и боковых стенок, а также пол и потолок, резко снижая температуру и туша огонь. Боец в это время находится вне помещения. При работе со спирально уложенным шлангом в круглый контейнер 15 боец предварительно снимает крышку 17 и шланг отматывается при вращении контейнера 15 вокруг оси 14.
При выполнении удерживающего дефлектора 7 устройства в виде телескопического составного стержня при подаче воды в дефлектор под воздействием струи он увлекается внутрь помещения, выдвигая стержни. Стержни-трубочки 19, 21, 22 при этом находятся в центре струи, изменение зоны тушения достигается увеличением или уменьшением длины телескопического стержня отматыванием или наматыванием канатика-лески 23 на катушку 25.
Стабильность работы ручного пожарного ствола достигается предварительным регулированием кольцевого зазора между рабочей поверхностью дефлектора 7 и патрубком 6 (фиг.2). При выполнении спиц 11 из упругого материала, например резины, величина кольцевого зазора может поддерживаться оптимальной автоматически (при увеличении давления зазор увеличивается).
После окончания работы перекрывают воду, отсоединяют пожарный рукав, пустой шланг с дефлектором укладывают челночно в коробчатый контейнер или спирально в круглый контейнер, а телескопический стержень вдвигают внутрь пожарного ствола наматыванием на катушку канатика-лески.
Предложенные варианты ручных пожарных стволов просты в изготовлении, надежны при эксплуатации, позволяют эффективно тушить внутренние возгорания и не имеют реактивной силы.
Источники, принятые во внимание
1. RU 2015702 С1 (опубл. 15.07.1994).
2. SU 241573 А (опубл. 25.04.1969).
3. RU 2019216 С1 (опубл. 15.09.1994).
Формула изобретения
1. Ручной пожарный ствол, состоящий из корпуса с ручками, конического сходящегося насадка, тонкостенного прочного шланга, один конец которого закреплен на сопле пожарного ствола, а на другом свободном конце установлен дефлектор для разбивания струи с возможностью регулирования кольцевого выходного зазора, отличающийся тем, что автоматическое поддержание оптимального кольцевого зазора осуществляется выполнением спиц дефлектора из упругого материала.
2. Ствол по п.1, отличающийся тем, что укладка шланга при нерабочем положении ствола осуществляется челночно в коробчатый контейнер или спирально в круглый контейнер с карманом для дефлектора.
3. Ствол по п.1, отличающийся тем, что дефлектор удерживается в рабочем положении телескопическим стержнем, установленным по оси ствола в крестовине насадка-сопла с возможностью регулирования выхода дефлектора.
РИСУНКИ
|
|