|
|
(21), (22) Заявка: 2007109374/14, 14.03.2007
(24) Дата начала отсчета срока действия патента:
14.03.2007
(46) Опубликовано: 20.08.2008
(56) Список документов, цитированных в отчете о поиске:
RU 2226373 С2, 10.04.2004. ЕР 0248419 А, 09.12.1987. RU 2202312 С2, 20.04.2003. RU 45265 U1, 10.05.2005. RU 2201725 C1, 10.04.2003.
Адрес для переписки:
400131, г.Волгоград, пр. Ленина, 28, ВолгГТУ, отдел интеллектуальной собственности
|
(72) Автор(ы):
Мишта Валерий Павлович (RU), Мишта Светлана Петровна (RU), Гавриленко Анастасия Валерьевна (RU)
(73) Патентообладатель(и):
Государственное образовательное учреждение высшего профессионального образования Волгоградский государственный технический университет (ВолгГТУ) (RU)
|
(54) ЭЛАСТИЧНЫЙ КОРСЕТ
(57) Реферат:
Изобретение относится к медицинской технике, а именно к бандажам, поясам и корсетам нижнего отдела позвоночника. Техническим результатом изобретения является расширение функциональных возможностей, упрощение конструкции корсета и увеличение эффективности его воздействия на мягкие ткани человека. Сущностью изобретения является то, что пояса, спинки и борта выполнены за единое целое из трубчатого трикотажа, причем корсет состоит из трех участков – верхнего и нижнего, выполненных из нерастяжимой и эластомерной нитей, одновременно провязанных в петли, в которых эластомерная нить образует упругий каркас, и среднего участка, выполненного из нерастяжимых нитей и эластомерной нити, проложенной в виде футера, причем размеры верхнего и нижнего участков меньше размеров тела человека в 1,2-2,4 раза. При этом карманы расположены в местах, необходимых для термического воздействия на отдельные участки тела человека. 3 ил.
Изобретение относится к медицинской технике, а именно к бандажам, поясам и корсетам нижнего отдела позвоночника и может быть использован в процессе лечебного, реабилитационного и эстетического воздействия на мягкие ткани в области позвоночника при остеохондрозе, при травмах после операций, при лечении имеющихся расстройств и для восстановления утраченных функций.
Известен ортопедический пояс, содержащий основание, прокладки для поясничной области, накладки, капки с протяжкой и штрипки. В основании выполнены овальные окна, на наружной его поверхности вшиты пластинки на расстоянии 60-80 мм друг от друга, при этом к концам крайних пластинок прикреплены регулировочные и эластичные тянки, а основание пояса изготовлено из эластичной ткани, например трикотажа, с прокладкой из губчатой резины. (Патент России 2066159, А61F 5/24, БИ №6, 1997 г.).
Недостатком такого устройства является сложность конструкции, что вызывает осложнения в процессе эксплуатации и не обеспечивает эффективного воздействия на ткани организма человека.
Известен ортопедический пояс для фиксации поясничного отдела позвоночника, включающего наружную и внутреннюю пластины различной ширины, центральный уплотняющий элемент и элементы фиксации пояса, а также промежуточную фиксирующую пластину и три сменные утеплительные прокладки со шлевками с внешней стороны. Элементы фиксации выполнены в виде трех ремней-стяжек с самозапирающимися пряжками, закрепленных с помощью трех рядов поперечных петель на внешней стороне наружной фиксирующей пластины, средняя часть которой снабжена петельной частью текстильной ворсовой застежки, а каждый из ремней-стяжек на их внутренней стороне – ответной крючковой частью застежки, при этом на концах утеплительных прокладок выполнены карманы для размещения фиксирующих пластин. (Патент России 2077289, А61F 5/02, БИ №6, 1997 г.).
Недостатком такого устройства является сложность конструкции, что вызывает осложнения в процессе эксплуатации и не обеспечивает эффективного воздействия на ткани организма человека.
Известно устройство для тренировки мышц, выполненное из деталей одежды в виде костюма, в котором детали одежды выполнены из двух слоев, верхний слой которого выполнен из нерастяжимого материала, а нижний слой – из эластичного трикотажа, причем нижний слой в местах соединения с верхним слоем содержит дополнительные ряды из нерастяжимого трикотажа и имеет линейные размеры на 3-22% меньше размеров верхнего слоя. (Патент России 2225736, А63В 21/065, А41D 13/00, БИ №8, 2004 г.).
Недостатком такого устройства является то, что он в процессе эксплуатации малоэффективен и не обеспечивает достаточного воздействия на ткани организма человека.
Наиболее близким к заявляемому объекту по совокупности признаков и выбранному за прототип является эластичный корсет, содержащий пояса, включающие спинку из эластичного материала, расположенные в ней вкладыши, соединенные с противоположными концами спинки два борта с застежками из текстильной ворсовой ткани велкро, и имеет петельные застежки на внешней поверхности концов обоих бортов, которые выполнены с узкой полосой удлинения в направлении спинки не менее чем на две трети длины борта, а также содержит тяж с крючковыми элементами застежек на обоих концах, длина которого в статическом состоянии превышает расстояние между полосами удлинения и короче расстояния между элементами застежки на внешней поверхности бортов, а длина эластичных ремешков, прикрепленных к внутренней поверхности бортов, не превышает расстояния от места прикрепления каждого до конца своего борта. (Патент России 2226373, A61F 05/02 БИ №10, 2004 г.).
Недостатком такого устройства является сложность конструкции, что вызывает осложнения в процессе эксплуатации и не обеспечивает эффективного воздействия на ткани организма человека.
Задачей изобретения является упрощение конструкции корсета и обеспечение эффективности воздействия на ткани организма человека.
При использовании предлагаемого эластичного корсета получают следующий технический результат: расширение функциональных возможностей, упрощение конструкции корсета и увеличение эффективности его воздействия на мягкие ткани человека.
Поставленный технический результат достигается тем, что эластичный корсет, содержащий пояса, включающие спинку и борта, выполнены за одно целое из трубчатого трикотажа, причем корсет состоит из трех участков – верхнего и нижнего, выполненных из нерастяжимой и эластомерной нитей, одновременно провязанных в петли, в которых эластомерная нить образует упругий каркас, и среднего участка, выполненного из нерастяжимых нитей и эластомерной нити, проложенной в виде футера, причем размеры верхнего и нижнего участков меньше размеров тела человека в 1,2-2,4 раза, при этом карманы расположены в местах, необходимых для термического воздействия на отдельные участки тела человека.
Использование трубчатого трикотажного полотна позволяет упростить конструкцию корсета за счет объединения различных участков и обеспечить эффективное воздействие на ткани организма человека.
Использование нерастяжимых нитей при изготовлении корсета позволяет получить гигиеническое взаимодействие между корсетом и телом человека, а также увеличить прочность трикотажного полотна.
Использование эластомерной нити в структуре трикотажа позволяет придать трикотажному полотну упругие и эластичные свойства.
Совместное провязывание нерастяжимой и эластомерной нитей позволяет получить трикотажное полотно, в структуре которого имеется упругий каркас, обеспечивающий давление на ткани человека.
Провязывание эластомерной нити в виде футера позволяет удерживать корсет на теле человека и создавать минимальное давление на ткани человека.
Использование в конструкции корсета трех участков позволяет регулировать давление на ткани человека на всех участках спины, талии и поясницы.
Применяя размеры верхнего и нижнего участков меньше в 1,2 раза размеров тела человека не обеспечивает достаточного давления на ткани тела человека.
Применяя размеры верхнего и нижнего участков больше, чем 2,4 раза размеров тела человека, затрудняет эксплуатацию. корсета и приводит к быстрому разрушению структуры трикотажа.
Использование карманов в эластичном корсете позволяет располагать в них термоаккумулирующий материал, например резиновую крошку, волокна, парафин и т.д., для прогревания отдельных участков тела человека.
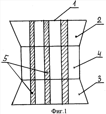
На фиг.1 представлена схема конструкции корсета, на фиг.2 – переплетение трикотажа верхнего и нижнего участков и на фиг.3 представлена графическая запись трикотажа среднего участка.
На фиг.1 представлена схема конструкции корсета 1, состоящая из трех участков – верхнего 2 и нижнего 3, выполненных из нерастяжимой и эластомерной нитей, одновременно провязанных в петли, среднего 4, выполненного из нерастяжимой нити и эластомерной, проложенной в виде футера и карманов 5.
На фиг.2 представлено переплетение верхнего и нижнего участков, выполненных из нерастяжимой 6 и эластомерной 7 нитей, одновременно провязанных в петли, в которых эластомерная нить 7 образует упругий каркас 8.
На фиг.3 представлена графическая запись переплетения среднего участка 4, выполненного из нерастяжимых нитей 9 и эластомерной нити 10, проложенной в виде футера.
Детали для верхнего и нижнего участков изготавливают на плоскофанговой машине 8 класса путем одновременного провязывания в петли 8 нерастяжимой 6 и эластомерной 7 нитей при натяжении нитей нерастяжимой 12 – 23 Н, а эластомерной 30 – 35 Н, ширина заправки вязания зависит от длины участков 2 и 3. При сбрасывании петель с игл петли из эластомерной нити 7 образуют упругий каркас 8, обеспечивающий давление корсета на мягкие мышцы человека. Детали среднего участка вяжутся на такой же машине путем провязывания нерастяжимых нитей 9 и футерной эластомерной нити 10, проложенной под язычки вязальных игл и располагающейся между ними в виде футера. Сборка деталей корсета осуществляется при помощи швейной машины «Оверлок». При изготовлении вертикальных и горизонтальных карманов используют швейную машину 474 класса. В карманы 5 готового изделия размещают термоэлементы, которые воздействуют на мягкие мышцы человека.
Готовое изделие надевают на тело человека таким образом, чтобы карманы 5 располагались в местах, необходимых для лечения или воздействия на мышцы. Под действием упругих сил каркаса 8, образованного эластомерной 7 нитью, корсет 1 фиксируется на теле человека верхним 2 и нижним 3 участками, оказывая силовое действие на мягкие мышцы человека при движении. Под действием футерной эластомерной нити 10 средний участок 4 удерживает корсет в зафиксированном месте на теле человека и не оказывает давления на мышцы человека. Силовое воздействие на мягкие мышцы человека регулируется путем уменьшения или увеличения размера корсета по отношению к размерам человека в пределах 1,2-2,4 раза.
Таким образом, вышеизложенные сведения свидетельствуют о выполнении при использовании заявленного изобретения следующей совокупности условий:
средства, воплощающие заявленное изобретение при его осуществлении, могут быть использованы в процессе лечебного, реабилитационного и эстетического воздействия на мягкие ткани в области позвоночника при остеохондрозе, при травмах после операций, при лечении имеющихся расстройств и для восстановления утраченных функций.
Для заявленного изобретения в том виде, как оно охарактеризовано в независимом пункте нижеизложенной формулы изобретения, подтверждена возможность его осуществления с помощью вышеописанных в заявке или известных до даты приоритета средств и методов.
Формула изобретения
Эластичный корсет, содержащий пояса, включающие спинку из эластичного материала с карманами под вкладыши и борта, отличающийся тем, что пояса, спинки и борта выполнены за одно целое из трубчатого трикотажа, причем корсет состоит из трех участков – верхнего и нижнего, выполненных из нерастяжимой и эластомерной нитей, одновременно провязанных в петли, в которых эластомерная нить образует упругий каркас, и среднего участка, выполненного из нерастяжимых нитей и эластомерной нити, проложенной в виде футера, причем размеры верхнего и нижнего участков меньше размеров тела человека в 1,2-2,4 раза, при этом карманы расположены в местах, необходимых для термического воздействия на отдельные участки тела человека.
РИСУНКИ
|
|