|
|
(21), (22) Заявка: 2007108456/14, 07.03.2007
(24) Дата начала отсчета срока действия патента:
07.03.2007
(46) Опубликовано: 20.08.2008
(56) Список документов, цитированных в отчете о поиске:
RU 2237427 A1, 10.10.2004. SU 950314 A, 15.08.1982. SU 1780714 A1, 15.12.1992. FR 2419057 A, 05.10.1979. US 4304241 A, 08.12.1981.
Адрес для переписки:
127287, Москва, ул. Полтавская, 18, кв.51, Ю.В. Урываеву
|
(72) Автор(ы):
Урываев Юрий Викторович (RU), Донцов Роман Геннадьевич (RU), Мальцев Александр Владимирович (RU)
(73) Патентообладатель(и):
Урываев Юрий Викторович (RU), Донцов Роман Геннадьевич (RU), Мальцев Александр Владимирович (RU)
|
(54) УСТРОЙСТВО ИССЛЕДОВАНИЯ РЕАКТИВНОСТИ СОСУДОВ КОЖИ ЧЕЛОВЕКА И КОЛИЧЕСТВЕННОЙ ОЦЕНКИ ДЕРМОГРАФИЗМА
(57) Реферат:
Изобретение относится к дерматологии. Устройство исследования реактивности сосудов кожи человека и количественной оценки дермографизма содержит корпус, в котором с возможностью перемещения размещен опорный элемент, выполненный с возможностью прикрепления к нему сменных дермографических насадок с соответствующими поверхностями, приходящими в соприкосновение с кожей пациента, а также шкалу и резистивный элемент с функцией формирования сопротивления перемещению опорного элемента в корпусе. Корпус выполнен в виде тонкостенного вытянутого по длине полого элемента, на наружной поверхности которого по его длине нанесена шкала, а внутри размещен опорный элемент в виде полого штифта, в полости которого размещен резистивный элемент, прикрепленный одним концом внутри штифта, а другим – к стенке корпуса устройства, при этом на указанном штифте закреплена индикаторная стрелка, расположенная напротив шкалы индикации давления, а сменные дермографические насадки выполнены с возможностью прикрепления к выступающему из корпуса концу полого штифта. Технический результат заключается в повышении точности и достоверности результатов исследования. 5 з.п. ф-лы, 1 ил., 1 табл.
Изобретение относится к медицине, более конкретно к дерматологии, аллергологии, неврологии, хирургии, физиотерапии, и касается проблемы экспресс-оценки состояния местного кровообращения, аллергизации, периферической чувствительности к механическим стимулам, состояния тонуса вегетативной нервной системы методом дермографии.
Дермографизм – местное изменение окраски кожи при ее механическом раздражении. Местный дермографизм можно вызвать проведением по коже тупым концом палочки диаметром 2-3 мм. Обычно через 8-20 с, иногда несколько позже, появляется белая полоса, которая исчезает через 1-10 мин. При большем давлении на кожу через 5-15 с возникает красный дермографизм, который может сохраняться до 2 ч. Белый и красный Д. обусловлен механическим раздражением стенок капилляров. При этом слабое раздражение вызывает спазм капилляров и белый дермографизм, а более сильное – расширение капилляров и красный дермографизм.
При значительном давлении на кожу тупым предметом появляется возвышенный дермографизм: сначала образуется красная, а через 1-2 мин белая возвышающаяся над окружающей кожей полоса с перифокальной зоной гиперемии, имеющей неровные контуры. Считается, что образование возвышенного дермографизма связано с выделением медиаторов, повышающих проницаемость стенок капилляров и вызывающих местный отек кожи, а также с местной реакцией на возбуждение элементов капиллярной стенки.
Рефлекторный дермографизм вызывается проведением по коже острием иглы. Через 5-30 с появляется ярко-красная полоса шириной 1-6 мм. Длительность реакции колеблется в широких пределах (до 10 мин). Покраснение кожи при рефлекторном дермографизме наступает в результате расширения артериол и является типичным вазомоторным рефлексом. Дуга этого рефлекса замыкается как на спинальном, так и на церебральном уровне регуляции вегетативных рефлексов.
Изучение местного дермографизма способствует выяснению функционального состояния капилляров кожи. При этом реактивность капилляров кожи определяется рядом внешних факторов – температурой кожи, температурой окружающей среды и др. Поэтому придавать значение можно только резким нарушениям местного дермографизма – его отсутствию или значительному усилению. Местный дермографизм, как правило, отсутствует при истощении организма, тяжелых интоксикациях нервной системы. Усиление местного Д. отмечается при некоторых заболеваниях нервной системы, например менингитах, у больных с вегетативным неврозом, при тиреотоксикозе и др. Предполагается, что сужение капилляров активируется симпатической нервной системой, а их расширение и усиление транссудации – парасимпатической. Поэтому резкое усиление белого дермографизма может указывать на преобладание симпатической иннервации, а усиление красного и возвышенный дермографизм – на преобладание парасимпатической. Отсутствие рефлекторного дермографизма в дерматомах, иннервируемых только пораженными сегментами спинного мозга, дает возможность установить верхнюю и нижнюю границы очага, а в дерматомах, иннервируемых как пораженными сегментами, так и нижележащими, – только верхнюю границу очага.
Для исследования дермогафической реакции использовался дермограф пружинного типа, у которого на круглом циферблате нанесены деления, соответствующие давлению, выраженному в граммах (Четвериков Н.С. «Заболевания вегетативной нервной системы», 1968).
Данное устройство лишь приблизительно дозирует нагрузку, т.к. величина погружения дермографа в кожные покровы не стандартизируется, и величина давления при этом может существенно меняться.
Известные конструкции дозирующих устройств для нанесения дермографического стимула также описаны в IN №157088, опубл. 11.11.1986, или в F.Lawlor, А.К.Black, A.M.Ward, R.Morris, M.W.Greaves. Delayed pressure urticaria, objective evaluation of a variable disease using a dermographometer and assessment of treatment using colchicines. British Journal of Dermatology. Volume 120. Issue 3. Page 403. – March 1989.
Известно дозирующее устройство для определения дермографических реакций, содержащее корпус, регистрирующее устройство, пружины и сменные дермографические насадки, отличающееся тем, что содержит гребенчатую шестерню, платформу с бортиками, осуществляющими централизацию дермографических насадок, и сменные спейсорные пластины, дозирующие давление на кожу, причем регистрирующее устройство выполнено в виде шестеренки со стрелкой и циферблата, гребенчатая шестерня выполнена с возможностью движения при отклонении дермографической насадки и вращения шестеренки с указательной стрелкой, а пружины выполнены дозирующей спиральной и стабилизирующей спиральной и одним концом прикреплены к гребенчатой шестерне, при этом нижняя часть корпуса содержит ограничительную муфту (RU №2237427, А61В 5/00, опубл. 10.10.2004).
Данное известное решение имеет следующие недостатки:
1) пластина закрывает обзор и, касаясь кожи, изменяет реактивность ее сосудов,
2) избыточно широкий диапазон давления и меньшая точность,
3) вероятность повреждения кожи используемыми насадками,
4) меньшая чувствительность (10 г против 5 г).
Настоящее изобретение направлено на решение технической задачи по изменению конструкции устройства и обеспечению возможности оперативного регулирования давления на кожу пациента непосредственно в процессе диагностики.
Достигаемый при этом технический результат заключается повышении точности диагностирования и достоверности результатов за счет обеспечения возможности количественно оценивать реактивность сосудов кожи при проведения дермографической пробы путем определения порога сосудистых реакций и нанесения околопороговых (под- и над-) стимулов.
Указанный технический результат достигается тем, что в устройстве исследования реактивности сосудов кожи человека и количественной оценки дермографизма, содержащем корпус, в котором с возможностью перемещения размещен опорный элемент, выполненный с возможностью прикрепления к нему сменных дермографических насадок с соответствующими поверхностями, приходящими в соприкосновение с кожей пациента, а также шкалу и резистивный элемент с функцией формирования сопротивления перемещению опорного элемента в корпусе, корпус выполнен в виде тонкостенного вытянутого по длине полого элемента, на наружной поверхности которого по его длине нанесена шкала, а внутри размещен опорный элемент в виде полого штифта, в полости которого размещен резистивный элемент, прикрепленный одним концов внутри штифта, а другим – к стенке корпуса устройства, при этом на указанном штифте закреплена индикаторная стрелка, расположенная напротив шкалы, а сменные дермографические насадки выполнены с возможностью прикрепления к выступающему из корпуса концу полого штифта.
Для обеспечения возвратно-поступательного движения штифта вдоль его продольной оси в корпусе размещены ограничители боковых смещений штифта в корпусе.
Резистивный элемент может представлять собой пружину или быть выполнен из упругодеформируемого материала (например, резины).
Индикаторная стрелка может быть выведена наружу корпуса со стороны шкалы через продольную прорезь в корпусе. Как вариант исполнения, корпус со стороны шкалы напротив индикаторной стрелки по направлению траектории ее перемещения может быть выполнен прозрачным для визуального соотношения положения стрелки внутри корпуса относительно шкалы снаружи корпуса.
Указанные признаки являются существенными и взаимосвязаны с образованием устойчивой совокупности существенных признаков, достаточной для получения требуемого технического результата.
Настоящее изобретение поясняется конкретным примером исполнения, который, однако, не является единственно возможным, но наглядно демонстрирует возможность достижения требуемого технического результата.
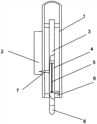
Предлагаемое устройство приведено на чертеже, где показан продольный разрез устройства для исследования реактивности сосудов кожи человека и количественной оценки дермографизма.
Согласно настоящему изобретению рассматривается устройство исследования реактивности сосудов кожи человека и количественной оценки дермографизма (см. чертеж). Данное устройство выполнено в компактной форме и внешне по форме напоминает ручку шариковую, что формирует удобство пользования таким устройством. Устройство содержит корпус 1 в виде тонкостенного вытянутого по длине полого элемента, закрытого с одного торца, на наружной поверхности которого по его длине нанесена шкала индикации давления 2, а внутри размещен опорный элемент в виде полого штифта 3, в полости 4 которого размещен резистивный элемент 5, закрепленный одним концов внутри штифта 3, а другим прикрепленный к стенке корпуса 1 устройства. Резистивный элемент 5 (может представлять собой пружину или быть выполнен из упругодеформируемого материала, например резины) выполнен с функцией формирования сопротивления перемещению опорного элемента в корпусе. Резистивный элемент может быть выполнен сменным, то есть возможна замена одного резистивного элемента с данным сопротивлением перемещению (а следовательно, и величиной давления, которую можно оказать на кожу пациента) на другой, более жесткий или более упругий.
Для обеспечения возвратно-поступательного движения штифта вдоль его продольной оси в корпусе размещены ограничители 6 боковых смещений штифта в корпусе. На указанном штифте закреплена индикаторная стрелка 7, расположенная напротив шкалы индикации давления. Возможны, по крайней мере, два исполнения корпуса со шкалой. Согласно первому исполнению индикаторная стрелка может быть выведена наружу корпуса со стороны шкалы индикации давления через продольную прорезь в корпусе (такой пример показан на чертеже). Согласно второму исполнению корпус со стороны шкалы индикации давления напротив индикаторной стрелки по направлению траектории ее перемещения может быть выполнен прозрачным для визуального соотношения положения стрелки внутри корпуса относительно шкалы индикации давления снаружи корпуса.
Опорный элемент выполнен с возможностью прикрепления к нему сменных дермографических насадок 8 с соответствующими поверхностями, приходящими в соприкосновение с кожей пациента. При этом указанные сменные насадки по одной в порядке их использования в зависимости от проводимых исследований выполнены с возможностью прикрепления к выступающему из корпуса концу полого штифта. Дермографические сменные насадки выполняются с различными поверхностями, приходящими в соприкосновение с кожей, например в виде шарика, в виде вращающихся круглого и фестончатого дисков, в виде калибровочной насадки с отверстием на дистальном конце для закрепления нити для разновесов и т.д. (иллюстративно типы насадок не показаны).
Предпочтительным является применением устройства с округлой полированной насадкой диаметром 2 мм, что позволяет использовать давление не выше 80 г и исключить повреждение кожи и значительные болевые ощущения, которые изменяют реактивность периферических сосудов.
Материалы, из которых изготовлено устройство, позволяют проводить дезинфекцию химическим или УФ-методом.
Устройство используется следующим образом.
При определении дермографической реакции к штифту присоединяется одна из дермографических насадок, и устройство берут за корпус и перемещают его к поверхности кожи пациента. При соприкосновении насадки с кожей осуществляют дальнейшее перемещение корпуса в направлении поверхности кожи. При этом штифт остается неподвижным, а корпус перемещается относительно штифта, растягивая резистивный элемент. Индикаторная стрелка, оставаясь на месте, показывает на шкале индикации соответствующее давление, оказываемое на кожу пациента. Регулируя положение корпуса относительно штифта, обеспечивают требуемое усилие дозированного давления.
Предлагаемым способом обследован 61 человек, примеры указаны в таблице 1.
| Таблица 1 |
| Испытуемые |
Возраст, лет |
Цвет кожи (Fitzpatrick Т.В., 1988) |
Порог, г |
Тип дермографизма |
Латенция, сек |
Восстановление, сек |
| ФА, жен |
35 |
Темная |
40 |
Белый |
15 |
183 |
| АВ, жен |
21 |
Светло-коричневая |
50 |
Белый |
18 |
180 |
| БА, жен |
21 |
Светло-коричневая |
50 |
Уртикарный (эксфолиативный) |
27 |
92 |
Предлагаемое устройство исследования реактивности сосудов кожи человека и количественной оценки дермографизма отличается более высокой точностью дозирования давления на кожу, атравматичностью нанесения стимула, простотой и эргономичностью конструкции, портативностью и удобством считывания показаний давления, позволяющее установить порог изменения цвета кожи и, следовательно, наносить под- и надпороговые стимулы, важные для определения «следовых» реакций.
Формула изобретения
1. Устройство исследования реактивности сосудов кожи человека и количественной оценки дермографизма, содержащее корпус, в котором с возможностью перемещения размещен опорный элемент, выполненный с возможностью прикрепления к нему сменных дермографических насадок с соответствующими поверхностями, приходящими в соприкосновение с кожей пациента, а также шкалу индикации давления и резистивный элемент с функцией формирования сопротивления перемещению опорного элемента в корпусе, отличающееся тем, что корпус выполнен в виде тонкостенного вытянутого по длине полого элемента, на наружной поверхности которого по его длине нанесена шкала, а внутри размещен опорный элемент в виде полого штифта, в полости которого размещен резистивный элемент, закрепленный одним концом внутри штифта, а другим – прикрепленный к стенке корпуса устройства, при этом на указанном штифте закреплена индикаторная стрелка, расположенная напротив шкалы индикации давления, а сменные дермографические насадки выполнены с возможностью прикрепления к выступающему из корпуса концу полого штифта.
2. Устройство по п.1, отличающееся тем, что оно снабжено ограничителями боковых смещений штифта в корпусе.
3. Устройство по п.1, отличающееся тем, что резистивный элемент представляет собой пружину или выполнен из упруго деформируемого материала.
4. Устройство по п.1, отличающееся тем, что индикаторная стрелка выведена наружу корпуса со стороны шкалы индикации давления.
5. Устройство по п.1, отличающееся тем, что корпус со стороны шкалы индикации давления напротив индикаторной стрелки по направлению траектории ее перемещения выполнен прозрачным.
6. Устройство по п.1, отличающееся тем, что резистивный элемент выполнен сменным.
РИСУНКИ
|
|