|
|
(21), (22) Заявка: 2006145506/28, 20.12.2006
(24) Дата начала отсчета срока действия патента:
20.12.2006
(46) Опубликовано: 10.08.2008
(56) Список документов, цитированных в отчете о поиске:
RU 2123739 С1, 20.12.1998. SU 1136666 А1, 30.03.1994. SU 549042 А1, 07.07.1991. GB 2326274 А, 16.12.1998. JP 5101783 А, 23.04.1993.
Адрес для переписки:
141190, Московская обл., г. Фрязино, ул. Вокзальная, 2А, патентный отдел, ФГУП “НПП”Исток”
|
(72) Автор(ы):
Голеницкий Иван Иванович (RU), Котюргин Евгений Алексеевич (RU), Бахарева Галина Петровна (RU), Земчихин Евгений Михайлович (RU), Мелешкевич Павел Михайлович (RU), Пугнин Виктор Иванович (RU), Сапрынская Лариса Александровна (RU)
(73) Патентообладатель(и):
Федеральное государственное унитарное предприятие “Научно-производственное предприятие “Исток” (ФГУП “НПП “Исток”) (RU)
|
(54) МНОГОЛУЧЕВАЯ ЭЛЕКТРОННАЯ ПУШКА
(57) Реферат:
Изобретение относится к электронной технике, в частности к многолучевым электронным пушкам для мощных многолучевых электровакуумных СВЧ-приборов О-типа, например для мощных импульсных многолучевых клистронов и ЛБВ. Многолучевая электронная пушка содержит закрепленные в общей обойме кольцевые катоды, электрически изолированный от них управляющий электрод в виде плоскопараллельной металлической пластины с отверстиями и анод с отверстиями. Каждый из кольцевых катодов содержит внутренний кольцевой керн и коаксиально окружающий его кольцевой эмиттер с вогнутой сферической эмитирующей поверхностью, обращенной в сторону анода. Внутренний кольцевой керн на обращенном в сторону анода торце имеет выступ в виде полого цилиндра и окружающий его кольцевой паз, расположенные соосно внутреннему кольцевому керну. Торец выступа закруглен, а вершина выступа совмещена с плоскостью, проходящей через ближайшую к управляющему электроду кромку сферической эмитирующей поверхности кольцевого эмиттера, внутренний диаметр выступа равен внутреннему диаметру внутреннего кольцевого керна, наружный диаметр выступа равен внутреннему диаметру кольцевого паза, наружный диаметр внутреннего кольцевого керна равен внутреннему диаметру кольцевого эмиттера, при этом расстояние Н от основания паза до вершины выступа, наружный диаметр D2 выступа, радиус закругления R выступа, наружный диаметр D3 кольцевого паза определены заданными условиями. Технический результат: упрощение конструкции многолучевой электронной пушки, повышение электрической прочности, стабильности и надежности работы ее в мощных импульсных многолучевых приборах коротковолновой области диапазона СВЧ. 1 з.п. ф-лы, 7 ил.
Изобретение относится к электронной технике, в частности к многолучевым электронным пушкам для мощных многолучевых электровакуумных СВЧ-приборов О-типа, например для мощных импульсных многолучевых клистронов и ЛБВ.
Известна многолучевая электронная пушка мощного клистрона импульсного действия [1]. Она содержит многоэмиттерный катод, включающий ряд отдельных катодов с плоской или вогнутой сферической эмитирующей поверхностью, расположенных на одной общей плоской обойме, а также управляющий электрод в виде плоскопараллельной пластины и анод, снабженные расположенными соосно отдельным катодам отверстиями для пропускания парциальных электронных пучков.
Недостаток этой пушки связан с отсутствием защиты эмитирующей поверхности катодов от бомбардировки положительно заряженными ионами остаточных газов, генерируемыми в области прохождения парциальных электронных пучков и движущимися в сторону катодов под воздействием ускоряющего электрического поля. Под воздействием ионной бомбардировки происходит разрушение центральной части катодов, напыление материала эмиттера на электроды пушки, ухудшение вакуума в приборе. В результате возникают электрические пробои в электронной пушке, что приводит к нарушению нормального режима работы прибора вплоть до выхода его из строя.
Наиболее близкой по технической сущности (прототипом) является многолучевая электронная пушка с низковольтным управлением [2]. Она содержит многоэмиттерный катод, включающий закрепленные в общей плоской обойме кольцевые катоды с вогнутой сферической эмитирующей поверхностью, электрически изолированный от многоэмиттерного катода управляющий электрод в виде плоскопараллельной металлической пластины с отверстиями для пропускания парциальных электронных пучков и анод с отверстиями, расположенными соосно кольцевым катодам и отверстиям управляющего электрода. Электронная пушка оснащена дополнительными управляющими электродами в виде цилиндрических штырей, проходящих внутри отверстий кольцевых катодов и жестко закрепленных на общем металлическом основании, электрически соединенном с управляющим электродом. Осуществление модуляции по двум управляющим электродам по сравнению с предыдущей конструкцией электронной пушки с одним управляющим электродом позволяет уменьшить величину модулирующего напряжения.
Однако конструкция электронной пушки с двумя управляющими электродами имеет ряд недостатков.
Обращенные в сторону анода торцевые поверхности цилиндрических штырей, расположенных в центре внутренних отверстий кольцевых катодов, подвергаются бомбардировке ионами, летящими по направлению от анода к катоду. В результате этого происходит распыление материала штырей и ухудшение вакуума. Это, в свою очередь, способствует возникновению электрических пробоев в межэлектродных зазорах электронной пушки и снижает надежность работы пушки. Кроме того, локальное усиление напряженности электрического поля на торцах штырей с малыми поперечными размерами, характерными для СВЧ-приборов коротковолнового диапазона длин волн, увеличивает вероятность электрических пробоев между штырями и анодом пушки.
Вследствие большой поверхности изолируемых электродов и малой величины кольцевых зазоров между штырями и внутренней поверхностью кольцевых катодов в многоэмиттерном катоде с большим количеством кольцевых катодов и центральных штырей технически трудно обеспечить надежную электрическую изоляцию между штырями и кольцевыми катодами внутри многоэмиттерного катода.
В многоэмиттерном катоде с большим количеством кольцевых катодов и центральных штырей технически трудно обеспечить их соосность, особенно в рабочем состоянии электронной пушки, когда температура штырей приближается к температуре катода за счет теплового излучения с внутренних поверхностей кольцевых катодов. Термическая деформация штырей, с одной стороны, ухудшает электрическую прочность многоэмиттерного катода вследствие нарушения требуемого кольцевого зазора между штырями и внутренними поверхностями кольцевых катодов. С другой стороны, смещения штырей относительно осей отверстий кольцевых катодов, обусловленное как конструктивно-технологическими трудностями сборки многоэмиттерного катода, так и термическими деформациями штырей, ухудшает фокусировку парциальных электронных лучей в пролетных каналах, снижает токопрохождение многолучевого электронного потока на коллектор прибора и, как следствие, ухудшает выходные параметры прибора. Конструкция такой пушки сложна в изготовлении, требует постоянного контроля положения штырей относительно кольцевых катодов в условиях эксплуатации СВЧ-прибора.
Значимость этих ограничений существенно возрастает при естественном уменьшении поперечных размеров электронной пушки в приборах, предназначенных для работы в коротковолновой части диапазона СВЧ, а также при повышении суммарного первеанса (тока) многолучевой электронной пушки за счет увеличения количества кольцевых катодов с целью повышения уровня выходной мощности, расширения рабочей полосы частот и улучшения других важных технических и эксплуатационных параметров мощных многолучевых СВЧ-приборов.
Актуальной задачей в настоящее время является создание многолучевых электронных пушек для мощных импульсных электровакуумных СВЧ-приборов О-типа, обладающих высокой электрической прочностью и надежностью в эксплуатации, предназначенных для работы в коротковолновой области диапазона СВЧ.
В предлагаемом изобретении эта задача решается путем создания более простой конструкции многолучевой электронной пушки, обеспечивающей высокое токопрохождение, повышение электрической прочности, стабильности и надежности работы ее в мощных импульсных многолучевых приборах средней и коротковолновой части сантиметрового диапазона СВЧ.
Этот технический результат достигается за счет выбора заданной геометрии электронной пушки, не требующей применения в ней сложной системы дополнительных управляющих электродов (штырей), используемых в прототипе.
Предлагается многолучевая электронная пушка, содержащая закрепленные в общей обойме кольцевые катоды, электрически изолированный от них управляющий электрод в виде плоскопараллельной металлической пластины с отверстиями и анод с отверстиями, оси отверстий управляющего электрода и анода совпадают с осями соответствующих кольцевых катодов, каждый из кольцевых катодов содержит внутренний кольцевой керн и коаксиально окружающий его кольцевой эмиттер с вогнутой сферической эмитирующей поверхностью, обращенной в сторону анода, внутренний кольцевой керн на обращенном в сторону анода торце имеет выступ в виде полого цилиндра и окружающий его кольцевой паз, расположенные соосно внутреннему кольцевому керну, торец выступа закруглен, а вершина выступа совмещена с плоскостью, проходящей через ближайшую к управляющему электроду кромку сферической эмитирующей поверхности кольцевого эмиттера, внутренний диаметр выступа равен внутреннему диаметру внутреннего кольцевого керна, наружный диаметр выступа равен внутреннему диаметру кольцевого паза, наружный диаметр внутреннего кольцевого керна равен внутреннему диаметру кольцевого эмиттера, при этом расстояние Н от основания паза до вершины выступа, наружный диаметр D2 выступа, радиус закругления R выступа, наружный диаметр D3 кольцевого паза определяются из условий:
h<Н h+D3-D2, R=0.25(D2-D1), D3
где h – стрела прогиба сферической эмитирующей поверхности кольцевого эмиттера, равная расстоянию между плоскостями, проходящими через ближайшую к управляющему электроду и наиболее удаленную от управляющего электрода кромки сферической эмитирующей поверхности кольцевого эмиттера,
D1 – внутренний диаметр выступа и внутренний диаметр внутреннего кольцевого керна,
D4 – наружный диаметр внутреннего кольцевого керна и внутренний диаметр кольцевого эмиттера.
В многолучевой электронной пушке каждый кольцевой катод может быть снабжен наружным кольцевым керном, коаксиально окружающим кольцевой эмиттер и внутренний кольцевой керн, причем плоскость, проходящая через торец наружного кольцевого керна совмещена с плоскостью, проходящей через ближайшую к управляющему электроду кромку сферической эмитирующей поверхности кольцевого эмиттера.
Выполнение многолучевой электронной пушки с кольцевыми катодами без применения в качестве управляющего электрода центральных штырей внутри кольцевых катодов позволяет отвести положительно заряженные ионы через центральные отверстия во внутренних кольцевых кернах кольцевых катодов за пределы обоймы с кольцевыми катодами. Это позволяет предохранить электроды электронной пушки от ионной бомбардировки, что способствует повышению электрической прочности электронной пушки и стабильности работы СВЧ-прибора.
Кроме того, отсутствие штырей позволяет упростить конструкцию электронной пушки, уменьшить вероятность электрических пробоев внутри многоэмиттерного катода и таким образом повысить электрическую прочность и надежность работы электронной пушки.
Снабжение торцевой части внутреннего кольцевого керна каждого кольцевого катода цилиндрическим выступом в виде полого цилиндра и окружающим его кольцевым пазом, расположенным соосно внутреннему кольцевому керну, закругление торца выступа, совмещение вершины выступа с плоскостью, проходящей через ближайшую к управляющему электроду кромку сферической эмитирующей поверхности катода, выполнение условий, согласно которым внутренний диаметр выступа равен внутреннему диаметру внутреннего кольцевого керна, наружный диаметр выступа равен внутреннему диаметру кольцевого паза, наружный диаметр внутреннего кольцевого керна равен внутреннему диаметру кольцевого эмиттера, а также выбор расстояния Н от основания паза до вершины выступа (то есть высоты выступа со стороны кольцевого паза), наружного диаметра D2 выступа, радиуса закругления R выступа и наружного диаметра D3 кольцевого паза согласно условиям: hh+D3-D2, R=0.25 (D2-D1), D3
Кольцевой паз и цилиндрический выступ на торцевой поверхности внутреннего кольцевого керна катода формируют пространственное распределение (топологию) электростатического поля вблизи внутренней (наиболее удаленной от управляющего электрода) кромки сферической эмитирующей поверхности кольцевого эмиттера, определяющей ход траекторий электронов, вылетающих с этого участка эмиттера. На электроны, вылетающие вблизи внутренней кромки каждого эмиттера, с одной стороны, действует фокусирующая (направленная к оси парциального пучка) сила, обусловленная влиянием пространственного заряда трубчатого электронного пучка. С другой стороны, на них действует противоположно направленная (расфокусирующая) сила электрического поля анода, проникающего в область кольцевого паза и на поверхность цилиндрического выступа. Для формирования ламинарного, то есть с непересекающимися траекториями, электронного потока, оптимального с точки зрения его прохождения сквозь анодные отверстия (пролетные каналы), необходимо обеспечить баланс фокусирующих и расфокусирующих сил, что обеспечивается путем выбора геометрических размеров кольцевого паза и выступа.
Расфокусирующая сила электростатического поля вблизи внутренней кромки кольцевого эмиттера возрастает при уменьшении расстояния Н и увеличении наружного диаметра D2 цилиндрического выступа на внутреннем кольцевом керне кольцевого катода.
С конструктивно-технологической точки зрения вершину выступа целесообразно совмещать с плоскостью, проходящей через ближайшую к управляющему электроду кромку сферической эмитирующей поверхности кольцевого эмиттера кольцевого катода. Это условие позволяет обеспечить для всех кольцевых катодов электронной пушки высокую точность расположения вершины выступа относительно кольцевого эмиттера и уменьшить разброс параметров парциальных пучков (по току, поперечным размерам, условиям согласования входа пучков в фокусирующее магнитное поле) в многолучевой пушке и тем самым улучшить структуру формируемого ею многолучевого электронного потока и высокое токопрохождение сквозь отверстия (пролетные каналы) в аноде. Поэтому расстояние Н от основания паза до вершины выступа естественным образом складывается из заданной (для конкретного типа катода) длины стрелы прогиба h сферической поверхности эмиттера и варьируемой глубины р паза, которая измеряется вдоль продольной оси пушки от основания (дна) паза до плоскости, совмещенной с плоскостью внутренней кромки кольцевого эмиттера (Н=h+р). При уменьшении глубины паза (при приближении поверхности основания паза к внутренней кромке эмиттера) расфокусирующее действие электрического поля на внутреннюю границу трубчатого пучка увеличивается, а при увеличении глубины паза, напротив, действие электрического поля постепенно уменьшается, приближаясь к постоянному пределу, соответствующему глубине паза, равной удвоенной ширине паза р=D3-D2. В заданной области изменения расстояния Н согласно условию h<Н h+D3-D2 реализуется возможность регулировки интенсивности воздействия на внутреннюю границу трубчатого пучка электрического поля, создаваемого электродами пушки, что позволяет обеспечить компенсацию противоположно направленной силы, обусловленной пространственным зарядом трубчатого пучка в широком диапазоне токов пучка и рабочих напряжений, обеспечить ламинарность внутренней структуры пучка и его токопрохождение сквозь анодные отверстия (пролетные каналы).
Аналогичное возрастание расфокусирующей силы электростатического поля вблизи внутренней кромки кольцевого эмиттера происходит в том случае, когда увеличивается наружный диаметр D2 выступа, т.е. при приближении диаметра D2 наружной боковой поверхности выступа к внутреннему диаметру D4 кольцевого эмиттера. Величина диаметра D2 ограничена минимальной (по технологическим возможностям) шириной паза в радиальном направлении и максимальным наружным диаметром D3 паза. Для того чтобы исключить паразитную термоэмиссию с внутренней боковой поверхности кольцевого эмиттера, она должна быть закрыта внутренним керном катода. Толщина закрывающей боковую поверхность эмиттера стенки внутреннего керна катода, как в обычных катодах с держателями-кернами, выбирается минимальной и в соответствии с технологическими возможностями составляет величину порядка 0.1-0.2 мм. С учетом этого максимальный наружный диаметр паза должен быть меньше внутреннего диаметра D4 кольцевого эмиттера на величину толщины защитной стенки, что и отражено в ограничительном условии D3
При одновременном уменьшении расстояния Н и увеличении наружного диаметра D2 выступа воздействие электростатического поля в прикатодной области пушки на внутреннюю границу трубчатого пучка существенно усиливается и это позволяет надежно компенсировать расталкивания пространственного заряда, действующие на внутреннюю границу трубчатых электронных потоков, возрастающие по мере увеличения первеанса Робщ многолучевого потока, по определению равного Робщ=N·Рп, где Рп=Iп/Ua3/2, Iп – ток парциального пучка, Ua – анодное напряжение, N – количество парциальных пучков многолучевого электронного потока.
Закругление торца выступа необходимо для уменьшения напряженности электрического поля на этом участке поверхности. Известно, что на шероховатой (не идеально гладкой) поверхности электрическое поле усиливается на остриях неоднородностей с микронными и субмикронными размерами, что может привести к автоэлектронной (полевой) эмиссии, которая, в свою очередь, является пусковым механизмом для возникновения электрического пробоя между выступом и другими электродами пушки (анодом, управляющим электродом). Величина напряженности электрического поля на закругленном торце выступа обратно пропорциональна квадрату радиуса закругления R. Поэтому для повышения электрической прочности пушки величину радиуса закругления торца выступа целесообразно выполнить максимальной как с учетом отмеченных выше возможностей увеличения наружного диаметра D2 выступа (с учетом рассмотренных выше требований оптимальной фокусировки внутренней границы трубчатого пучка), так и возможностей уменьшения внутреннего диаметра D1 внутреннего керна кольцевого катода.
Внутренний диаметр D1 внутреннего керна кольцевого катода выбирается с учетом возможности свободного прохождения сквозь него положительно заряженных ионов остаточного газа. Положительно заряженные ионы остаточных газов в вакуумной оболочке прибора генерируются в области прохождения парциальных электронных пучков вследствие ионизации атомов остаточного газа электронным ударом, накапливаются в занятом пучками пространстве в областях с пониженным (по сравнению с анодным) потенциалом в приосевой области пролетного канала. Понижение потенциала в приосевой области пролетного канала, связанное с влиянием пространственного заряда пучка, собственно и является причиной дрейфа положительных ионов по направлению к центру канала и накопления их в приосевой области канала в виде тонкого ионного пучка. Под воздействием ускоряющего (для положительно заряженных частиц) электрического поля между анодом и кольцевыми катодами положительно заряженные ионы устремляются в область электронной пушки по направлению к кольцевым катодам. Вследствие большой массы ионов, которая на 2-4 порядка превышает массу электронов, ионы практически не отклоняются поперечным электрическим полем в области электронной пушки и поэтому диаметр ионного потока в области электронной пушки примерно соответствует диаметру области, занятой ионами в области пролетного канала. Экспериментальные данные изучения следов ионных пятен (области активной бомбардировки и эрозии поверхности эмиттера) показывают, что ионы накапливаются в приосевой области пролетного канала, а диаметр ионного пучка составляет от одной до нескольких десятых долей от диаметра пролетного канала.
Таким образом, выбор величины радиуса закругления R торца выступа, внутреннего D1 и наружного D2 диаметров выступа внутреннего кольцевого керна, являющегося внутренним держателем кольцевого катода, согласно условию R=0.25 (D2-D1) позволяет обеспечить электрическую прочность пушки за счет снижения напряженности электрического поля на торце выступа и свободный отвод ионного пучка за пределы обоймы с кольцевыми катодами.
Изобретение поясняется чертежами.
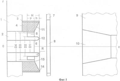
На фиг.1 схематично показана отдельная ячейка предлагаемой многолучевой электронной пушки.
На фиг.2 показан один из возможных конструктивных вариантов выполнения предлагаемой многолучевой электронной пушки.
На фиг.3 показан один из возможных конструктивных вариантов выполнения отдельного кольцевого катода и способа его крепления в общей обойме для предлагаемой многолучевой электронной пушки.
На фиг.4 показан общий вид отдельного кольцевого катода.
На фиг.5 показан один из возможных конструктивных вариантов выполнения многоэмиттерного катодного узла для предлагаемой многолучевой электронной пушки.
На фиг.6 показан общий вид многоэмиттерного катодного узла, изображенного на фиг.5.
На фиг.7 приведены результаты компьютерного моделирования электрического поля и расчета электронных траекторий в отдельной ячейке предлагаемой многолучевой электронной пушки.
Показанная на фиг.1 отдельная ячейка предлагаемой многолучевой электронной пушки содержит следующие элементы:
1 – общая обойма для крепления кольцевых катодов многолучевой электронной пушки (фрагмент);
2 – внутренний кольцевой керн кольцевого катода;
3 – наружный кольцевой керн кольцевого катода;
4 – кольцевой эмиттер;
5 – кольцевой паз во внутреннем кольцевом керне 2 кольцевого катода;
6 – выступ внутреннего кольцевого керна 2 кольцевого катода;
7 – управляющий электрод многолучевой электронной пушки (фрагмент);
8 – отверстие (пролетный канал) в управляющем электроде 7;
9 – анод многолучевой электронной пушки (фрагмент);
10 – отверстие (пролетный канал) в аноде 9;
11 – сферическая эмитирующая поверхность кольцевого эмиттера 4;
12 – вершина выступа 6 внутреннего кольцевого керна 2 кольцевого катода;
13 – внутренняя (наиболее удаленная от управляющего электрода 7) кромка сферической эмитирующей поверхности 11 кольцевого эмиттера 4;
14 – наружная (ближайшая к управляющему электроду 7) кромка сферической эмитирующей поверхности 11 кольцевого эмиттера 4.
Конструкция предлагаемой многолучевой электронной пушки, приведенная на фиг.2, содержит последовательно расположенные многоэмиттерный катодный узел 15 с закрепленными в общей обойме 1 кольцевыми катодами 17 (каждый из которых содержит кольцевой эмиттер 4, закрепленный между внутренним 2 и наружным 3 кольцевыми кернами), управляющий электрод 7 и анод 16, выполненные с отверстиями для пропускания парциальных электронных пучков, установленные на заданном расстоянии и изолированные друг от друга с помощью высоковольтного изолятора 18. В многолучевой электронной пушке использованы двенадцать компактно расположенных в две линии кольцевых катодов. В зависимости от технических требований, предъявляемых к параметрам СВЧ-прибора, в катодном узле 15 может быть выполнено другое, в том числе значительно большее количество кольцевых катодов, расположенных по аналогичной или иной схеме их плотной (то есть на минимальном расстоянии друг от друга) упаковки, например 36 катодов, центры которых расположены на трех концентрических окружностях. При этом благодаря упрощению конструкции катодного узла за счет исключения из нее центральных штырей управляющего электрода обеспечивается идентичность условий работы всех кольцевых катодов и стабильность работы многолучевой электронной пушки.
Показанный на фиг.3 отдельный кольцевой катод многолучевой электронной пушки (общий вид которого показан на фиг.4) может быть изготовлен по традиционной технологии пропитанных металлопористых катодов. Изготовленную с заданными размерами цилиндрическую таблетку кольцевого эмиттера 4 соединяют методом пайки с цилиндрическими заготовками внутреннего 2 и наружного 3 кернов кольцевого катода. Затем с помощью токарной обработки на торцевой поверхности полученного узла создают требуемый профиль эмитирующей поверхности 11 кольцевого катода, заданную геометрию внутреннего 2 и наружного 3 кернов кольцевого катода, в том числе форму и размеры паза 5 и выступа 6 на торце внутреннего керна 2 кольцевого катода, а также определенный радиус закругления вершины 12 выступа внутреннего керна 2. Изготовленные таким образом кольцевые катоды устанавливают в отверстиях общей обоймы 1 и закрепляют с помощью припоя 19.
Многоэмиттерный катодный узел многолучевой электронной пушки, показанный на фиг.5 (общий вид которого показан на фиг.6), содержит закрепленные в общей обойме 1 кольцевые катоды 17, расположенный внутри обоймы 1 катодный подогреватель 20, кольцо держателя катодов 21, которое закреплено на основании держателя катодов 22 с помощью траверс 23, а также внутренний 24 и внешний 25 тепловые экраны и держатель вывода катодного подогревателя 26.
Многолучевая электронная пушка, конструкция и узлы которой показаны на фиг.2, 3 и 5, работает следующим образом.
Между многоэмиттерным катодным узлом 15, включающим находящиеся под одним потенциалом кольцевые катоды 17, и анодом 16 многолучевой электронной пушки подают постоянное анодное напряжение Ua. Между многоэмиттерным катодным узлом 15 и управляющим электродом 7 прикладывается постоянное отрицательное по отношению к катодному узлу 15 запирающее (опорное) напряжение Uзап и переменное импульсное модулирующее напряжение Uупр от импульсного источника питания (модулятора). При отсутствии модулирующего импульса (в паузе между импульсами) на всей поверхности катодного узла 15 создается тормозящее электрическое поле, препятствующее вылету электронов с эмитирующих поверхностей 11 кольцевых катодов 17 (режим запирания электронной пушки). При подаче положительного модулирующего импульса, амплитуда которого равняется или превышает величину запирающего (опорного) напряжения между катодным узлом 15 и управляющим электродом 7, на эмитирующих поверхностях 11 кольцевых катодов 17 создается ускоряющее электрическое поле (режим отпирания пушки). Под воздействием ускоряющего электрического поля электроны стартуют с эмитирующих поверхностей кольцевых катодов 17, проходят через сквозные отверстия (пролетные каналы) 8 в управляющем электроде 7 и попадают в отверстия (пролетные каналы) 10 в аноде 16 для последующего взаимодействия с высокочастотным полем электродинамической системы СВЧ-прибора.
Возможность реализации изобретения подтверждена методом компьютерного моделирования и результатами экспериментального исследования мощного многолучевого клистрона в 3 см диапазоне длин волн с двенадцатилучевой электронной пушкой, изготовленной согласно изобретению.
На фиг.7 приведены результаты компьютерного моделирования отдельной ячейки предлагаемой многолучевой электронной пушки, выполненного на основе двумерной математической модели электронного потока. Все размеры вдоль продольной оси z и по радиусу r заданы в миллиметрах. На чертеже показана расчетная область (контур отдельной ячейки многолучевой пушки), ограниченная сферической эмитирующей поверхностью 11 кольцевого эмиттера 4, поверхностями внутреннего 2 и наружного 3 кольцевых кернов и поверхностями прилегающих участков управляющего электрода 7 и анода 9, а также условной цилиндрической поверхностью 27, на которой заданы требуемые для решения полевой задачи граничные условия, учитывающие наличие в конструкции соседних ячеек электронной пушки. На фиг.7 также приведены рассчитанные траектории электронов 28 и линии равного значения относительного потенциала (эквипотенциальные линии) в области между кольцевым катодом и анодом.
В созданной согласно предлагаемому изобретению конструкции многолучевой электронной пушки внутренний диаметр кольцевого катода, равный внутреннему диаметру внутреннего кольцевого керна, выбран равным D1=1.6 мм, наружный диаметр выступа D2=2.6 мм, наружный диаметр кольцевого паза D3=3.6 мм, внутренний диаметр кольцевого эмиттера D4=4.0 мм, наружный диаметр кольцевого эмиттера, составляет 6.5 мм, наружный диаметр кольцевого катода, равный наружному диаметру наружного керна катода, составляет 6.7 мм, расстояние Н=1.133 мм (величина стрелы прогиба сферической поверхности кольцевого эмиттера кольцевого катода h=0.133 мм, глубина кольцевого паза р=1.0 мм), радиус закругления вершины выступа R=0.25 мм. Расстояние между наружной (ближайшей к управляющему электроду) кромкой сферической эмитирующей поверхности кольцевого эмиттера и обращенной к кольцевому катоду поверхностью управляющего электрода (с отверстиями диаметром 6.5 мм) равно 0.9 мм, а расстояние между управляющим электродом и анодом равно 4.0 мм. Потенциал анода Ua=22000 В, потенциал управляющего электрода в открытом состоянии пушки Uупр=0. Расчетная величина тока парциального пучка в этом режиме составляет Iп=2А (величина микропервеанса парциального пучка Рм=Iп/Ua3/2 равна 0.615 мкА/В3/2). Суммарная величина тока и микропервеанса двенадцатилучевой пушки соответственно равны 24.0 А и 7.38 мкА/В3/2. Расчетная величина запирающего напряжения Uзап=-5900 В, при этом относительная величина запирающего потенциала управляющего электрода Uзап/Ua равна 26.8%.
На фиг.7 показан ход эквипотенциальных линий электрического поля с относительными величинами потенциалов u=U/Ua=0.001, 0.005, 0.01, 0.1, 0.3, 0.5, 0.7, 0.9 и 0.99. Ход эквипотенциальных линий иллюстрирует возможность формирования с помощью кольцевого паза и выступа на торце внутреннего кольцевого керна кольцевого катода топологии электрического поля вблизи внутренней кромки эмитирующей поверхности кольцевого эмиттера, обеспечивающей формирование ламинарного трубчатого электронного потока с траекториями 28, малыми радиальными скоростями электронов на выходе из электронной пушки и, следовательно, благоприятными условиями для прохождение электронного потока сквозь пролетные каналы в аноде. Следует заметить, что в другом режиме работы предлагаемой пушки с положительным по отношению к кольцевому катоду потенциалом управляющего электрода Uупр=+750 В величина запирающего напряжения снижается и составляет Uзап/Ua=18.2%. В пушке с двумя управляющими электродами (управляющим электродом и центральными штырями), построенной в соответствии с пушкой-прототипом при всех прочих равных условиях (по количеству лучей, микропервеансу на луч, размерам пролетных каналов в аноде, анодному потенциалу) расчетная величина запирающего потенциала на управляющем электроде составляет Uзап=-3900 В (относительная величина запирающего потенциала управляющего электрода Uзап/Ua=17.7%, что практически на десятые доли % отличается в меньшую сторону от соответствующей величины запирающего напряжения в предлагаемой пушке, работающей с положительным потенциалом на управляющем электроде.
Проведенное экспериментальное исследование двух пушек, одна из которых была сконструирована по образцу прототипа с центральными штырями и общим управляющим электродом, а другая согласно предлагаемому изобретению – с одним общим управляющим электродом, без центральных штырей, с кольцевыми катодами и видоизмененной формой внутреннего керна кольцевого катода, подтвердили отмеченные преимущества предлагаемой конструкции пушки.
Пушка по образцу прототипа практически не смогла обеспечить стабильной и надежной работы СВЧ-прибора коротковолнового диапазона СВЧ из-за низкой электрической прочности пушки, в которой происходили частые электрические пробои как внутри многоэмиттерного катодного узла, так и в межэлектродных зазорах между центральными штырями и другими электродами пушки.
Пушка, сконструированная согласно предлагаемому изобретению, обеспечила надежную стабильную работу прибора без электрических пробоев даже при большем уровне запирающего потенциала управляющего электрода Uзап=-5900 В. При этом имело место высокое (не менее 95%) токопрохождение многолучевого электронного потока через пролетные каналы анода и получены требуемые высокочастотные параметры мощного многолучевого клистрона.
Таким образом предлагается более простая по конструкции, электрически прочная, стабильная и надежная в эксплуатации, защищенная от ионной бомбардировки и обеспечивающая высокое токопрохождение многолучевая электронная пушка с кольцевыми катодами для мощных импульсных многолучевых клистронов и многолучевых ЛБВ, работающих в коротковолновой области диапазона СВЧ.
Источники информации
1. О.Ю.Масленников, С.А.Абанович. Многоэмиттерные катодно-подогревательные узлы с металлопористыми катодами, устойчивые к термоциклам. – Серия 1, Электроника СВЧ. – Выпуск 2 (466). – 1995. – с.23-30.
2. Патент РФ № 2123739, МКИ6: H01J 3/02, 23/06, опуб. 20.12.1998 г. Многолучевая электронная пушка с низковольтным управлением.
Формула изобретения
1. Многолучевая электронная пушка, содержащая закрепленные в общей обойме кольцевые катоды, электрически изолированный от них управляющий электрод в виде плоскопараллельной металлической пластины с отверстиями и анод с отверстиями, оси отверстий управляющего электрода и анода совпадают с осями соответствующих кольцевых катодов, каждый из кольцевых катодов содержит внутренний кольцевой керн и коаксиально окружающий его кольцевой эмиттер с вогнутой сферической эмитирующей поверхностью, обращенной в сторону анода, отличающаяся тем, что внутренний кольцевой керн на обращенном в сторону анода торце имеет выступ в виде полого цилиндра и окружающий его кольцевой паз, расположенные соосно внутреннему кольцевому керну, торец выступа закруглен, а вершина выступа совмещена с плоскостью, проходящей через ближайшую к управляющему электроду кромку сферической эмитирующей поверхности кольцевого эмиттера, внутренний диаметр выступа равен внутреннему диаметру внутреннего кольцевого керна, наружный диаметр выступа равен внутреннему диаметру кольцевого паза, наружный диаметр внутреннего кольцевого керна равен внутреннему диаметру кольцевого эмиттера, при этом расстояние Н от основания паза до вершины выступа, наружный диаметр D2 выступа, радиус закругления R выступа, наружный диаметр D3 кольцевого паза определяются из условий:
hh+D3-D2,![]()
R=0,25(D2-D1),
D3
где h – стрела прогиба сферической эмитирующей поверхности кольцевого эмиттера, равная расстоянию между плоскостями, проходящими через ближайшую к управляющему электроду и наиболее удаленную от управляющего электрода кромки сферической эмитирующей поверхности кольцевого эмиттера;
D1 – внутренний диаметр выступа и внутренний диаметр внутреннего кольцевого керна;
D4 – наружный диаметр внутреннего кольцевого керна и внутренний диаметр кольцевого эмиттера.
2. Многолучевая электронная пушка по п.1, отличающаяся тем, что каждый кольцевой катод снабжен наружным кольцевым керном, коаксиально окружающим кольцевой эмиттер и внутренний кольцевой керн, причем плоскость, проходящая через торец наружного кольцевого керна совмещена с плоскостью, проходящей через ближайшую к управляющему электроду кромку сферической эмитирующей поверхности кольцевого эмиттера.
РИСУНКИ
,
,>![]()
,
|
|