|
| На основании пункта 1 статьи 1366 части четвертой Гражданского кодекса Российской Федерации патентообладатель обязуется заключить договор об отчуждении патента на условиях, соответствующих установившейся практике, с любым гражданином Российской Федерации или российским юридическим лицом, кто первым изъявил такое желание и уведомил об этом патентообладателя и федеральный орган исполнительной власти по интеллектуальной собственности. |
|
(21), (22) Заявка: 2007110341/28, 21.03.2007
(24) Дата начала отсчета срока действия патента:
21.03.2007
(46) Опубликовано: 10.08.2008
(56) Список документов, цитированных в отчете о поиске:
GB 2410603 А, 03.08.2005. GB 3500666 А, 17.07.1986. DE 2740897 А, 30.03.1978. DE 4307169 А, 15.09.1994.
Адрес для переписки:
105066, Москва, ул. Нижняя Красносельская, 45, кв.171, М.В. Фомину
|
(72) Автор(ы):
Фомин Михаил Владимирович (RU)
(73) Патентообладатель(и):
Фомин Михаил Владимирович (RU)
|
(54) АВТОМАТИЧЕСКАЯ КАССЕТНИЦА
(57) Реферат:
Изобретение относится к устройствам для автоматической смены кассет с носителями информации. Автоматическая кассетница содержит вертикальную стойку с ячейками для кассет и платформу. Причем кассетница снабжена зубчатой рейкой, резьбовым прутком, прутком со шпоночным пазом и откидным подпружиненным толкателем, а также программируемым приводом резьбового прутка и прутка со шпоночным пазом. Вертикальная стойка выполнена в виде трех вертикальных стержней и разделена горизонтальными проволоками на ячейки, резьбовой пруток и пруток со шпоночным пазом установлены с возможностью выполнения функции направляющей для платформы для перемещений зубчатой рейки с откидным подпружиненным толкателем. При этом пруток со шпоночным пазом выполнен с возможностью взаимодействия с зубчатой рейкой, а резьбовой пруток с платформой. Техническим результатом является упрощение конструкции и повышение надежности устройства. 4 ил.
Предлагаемое изобретение относится к устройствам для автоматической смены кассет с носителями информации.
Известно устройство для автоматической смены кассет, содержащее вертикальную ось на которой подвижно установлен цилиндрический блок, который состоит из множества камер для кассет с носителями информации. Блок снабжен приводом вращения, фиксации и механизмом извлечения кассет. Камеры направлены лучеобразно от центра блока к периметру. Против одной из множества камер располагается захват, который снабжен приводом перемещения кассет (см. патент Германии №3500666 А1, G11B 15/68, 1985 г.) – аналог.
Однако цилиндрический блок для размещения множества кассет занимает большую поверхность дефицитной функциональной площади, а маховая масса подвижного блока с суммарной массой кассет требует мощный привод и усиленный механизм вращения, торможения и фиксации. При относительно легкой по весу и компактной по габаритам единичной кассете большая общая площадь и энергетические затраты на работу всего цилиндрического блока с множеством кассет ограничивают применение известного устройства. Офисная площадь является большим дефицитом, а стоимость энергоносителей постоянно растет, по этой причине перспектив массового внедрения известного устройства нет.
Также известно приспособление для смены кассет, которое состоит из двух камер, предназначенных для удержания стопок кассет. Каждая из камер выполнена таким образом, что соответствующая стопка кассет опирается на транспортер, который связывает камеры между собой в нижней своей части, притом между камерами в зоне транспортера имеется приемное устройство (см. патент Германии №2740897 А1, G11B 15/68, 1977 г.) – аналог.
Однако приспособлению для смены кассет присущ существенный недостаток. А именно для извлечения определенной кассеты, которая размещена, например, в середине стопки, необходимо переместить всю последовательность из кассет, которые находятся между приемным устройством и нужной кассетой. Чем богаче архив носителей памяти, которыми являются кассеты, тем большую последовательность кассет необходимо перемещать. Вынужденное перемещение всей последовательности кассет занимает немало времени, что является сдерживающим фактором в наш быстротечный век, который во многих случаях исключает применение известного приспособления.
Наиболее близко к предложенному техническому решению относится устройство для автоматической смены кассет, которое состоит из вертикальной стойки в виде прямоугольной призмы. Призма разделена на горизонтальные платформы для кассет-носителей информации. Вертикальная стойка содержит две направляющие, расположенные по вертикали вдоль противоположных друг другу граней призмы. Вдоль вертикальной стойки перемещается подвижная платформа с двумя индивидуальными двигателями, один из двигателей – для перемещения кассет с платформы, принадлежащей вертикальной стойке, на подвижную платформу и обратно, другой двигатель – для перемещения подвижной платформы вдоль вертикальных направляющих. Подвижная платформа содержит боковины, которые взаимодействуют с направляющими вертикальной стойки. Притом направляющие содержат коммуникации для обеспечения работы приводов подвижной платформы, которые содержат как минимум два электрических двигателя. Устройство снабжено системой обеспечения управления индивидуальных приводов, электрические сигналы которой передаются по коммуникациям вдоль направляющих вертикальной стойки к подвижной платформе (см. патент Германии №4307169 А1, G11B 15/68, 1993 г.) – прототип.
Известное устройство компактно, так как занимает минимальную площадь при достаточно большой вместимости кассет, и обеспечивает рационально быстрый доступ к нужной кассете. Однако подвижная платформа с электрическими двигателями сложна конструктивно. Обеспечение подвода коммуникаций для управления электрическими двигателями на подвижной платформе через направляющие вертикальной стойки требуют тщательной электрической изоляции для исключения поражения током и предотвращения внесения помех. Перечисленные требования существенно усложняют конструктивное выполнение устройства, однако, чем сложнее конструкция, тем меньше надежность – это аксиома. Подвижные гибкие электрические коммуникации существенно сокращают срок эксплуатации устройства, так как усталостные напряжения неизбежны, а перегибов коммуникаций при любом перемещении подвижной платформы не избежать. Подвижная платформа должна перемещаться как поперек вертикальной стойки для извлечения кассеты, так и вдоль направляющих по высоте вертикальной стойки. Две степени свободы подвижной платформы обеспечиваются двумя электрическими двигателями, однако сложность подвода коммуникаций к электрическим двигателям привода перемещения платформы и кассет, сложность обеспечения защиты подводящих коммуникаций, а также снижение надежности существенно ограничивают внедрение в массовое производство известного устройства.
Целью предложенного технического решения является упрощение конструкции и повышение надежности устройства для автоматической смены кассет с носителями информации.
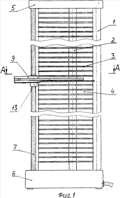
Техническое решение поясняется графическим материалом, где на фиг.1 представлена автоматическая кассетница. На фиг.2 представлено сечение в зоне платформы для кассет в исходном положении, при котором кассета находится в соответствующей ячейке. На фиг.3 представлено сечение в зоне платформы для кассет в промежуточном положении, при этом кассета извлечена из ячейки и находится на платформе. На фиг.4 представлено сечение в зоне платформы в крайнем положении, при котором осуществляется транспортирование кассеты.
Поставленная цель достигается автоматической кассетницей, которая содержит вертикальную стойку 1. Вертикальная стойка выполнена в виде трех вертикальных стержней 2, которые соединены между собой горизонтальными проволоками 3. Горизонтальные проволоки 3 из трех штук образуют между собой множество групп, притом каждая группа образует ячейку для кассеты-носителя информации 4. Группа проволок 3 в плане образует треугольник. Вертикальные стержни 2 соединены плитами 5 и 6, которые обеспечивают жесткость вертикальной стойки 1. Верхняя плита 5 может содержать устройство считывания информации с кассет, а в нижней плите 6 смонтированы два привода с программируемым управлением. Между плитами 5 и 6 смонтированы два подвижных прутка, которые направлены параллельно вертикальным стержням 2, притом один пруток резьбовой 7 выполнен с возможностью вращения вокруг своей оси от одного из приводов, которые размещены в нижней плите 6. Второй пруток 8 – со шпоночным пазом вдоль своей оси и также выполнен с возможностью вращения вокруг своей оси от второго привода, размещенного в нижней плите 6. Пруток резьбовой 7 и пруток 8 выполняют функцию вертикальной направляющей для платформы 9, которая имеет возможность вертикального перемещения вдоль стойки 1. Платформа 9 состоит из участка для транспортирования кассеты-носителя информации 4 и содержит следующие элементы: зубчатую рейку 10, откидной подпружиненный толкатель 11, зубчатую втулку 12 и резьбовую втулку 13. Резьбовая втулка 13 взаимодействует с прутком резьбовым 7 таким образом, что при вращении последнего от привода перемещает платформу 9 вдоль вертикальной стойки 1. Зубчатая втулка 12 взаимодействует с зубчатой рейкой 10 таким образом, что при вращении прутка со шпоночным пазом 8, проходящим сквозь зубчатую втулку 12, перемещает зубчатую рейку 10 в плоскости платформы 9 перпендикулярно вертикальной стойке 1. В хвостовой части зубчатой рейки 10 подвижно смонтирован откидной подпружиненный толкатель 11, который имеет возможность откидываться в крайнем положении зубчатой рейки 10 при взаимодействии с упором на платформе 9. Шаг резьбы прутка резьбового 7 кратен размеру между ячейками для кассет, которые образованы горизонтальными проволоками 3. Отличается предложенное техническое решение от известного решения тем, что снабжено зубчатой рейкой, резьбовым прутком и прутком со шпоночным пазом, а также откидным подпружиненным толкателем. Вертикальная стойка выполнена в виде трех вертикальных стержней и разделена горизонтальными проволоками на ячейки, резьбовой пруток и пруток со шпоночным пазом выполняют функцию направляющей для платформы. По направляющей перемещается зубчатая рейка с откидным подпружиненным толкателем, притом пруток со шпоночным пазом выполнен с возможностью взаимодействия с зубчатой рейкой, а резьбовой пруток с платформой.
Автоматическая кассетница работает следующим образом. Программируемый привод вращает пруток резьбовой 7, при этом платформа 9, в которую вмонтирована резьбовая втулка 13, перемещается до уровня соответствующей ячейки 4. Пруток резьбовой 7 и пруток со шпоночным пазом 8 выполняют функцию направляющей для платформы 9, таким способом исключается перекос плоскости платформы относительно плоскости ячейки 4, смотри фигуру 1. Все элементы платформы 9 находятся в позиции, которая представлена на фигуре 2. Затем включается привод вращения прутка со шпоночным пазом 8. Момент от шпонки передается зубчатой втулке 12, которая взаимодействует с зубчатой рейкой 10. Совместно с зубчатой рейкой 10 начинает перемещаться откидной подпружиненный толкатель 11, который выталкивает из ячейки 4 соответствующую кассету на участок платформы 9 для последующего транспортирования, смотри фигуру 3. Перемещение зубчатой рейки 10 продолжается, при этом откидной подпружиненный толкатель наезжает на упор платформы 9, отклоняется и выходит из зоны ячейки 4, смотри фигуру 4. Программируемый привод вращает пруток резьбовой 7 и платформа 9 совместно с кассетой перемещается до уровня плиты 5 с устройством считывания информации. Работа приводов в обратном порядке транспортирует кассету в свою ячейку, смотри фигуру 2.
Формула изобретения
Автоматическая кассетница, содержащая вертикальную стойку с ячейками для кассет и платформу, отличающаяся тем, что кассетница снабжена зубчатой рейкой, резьбовым прутком, прутком со шпоночным пазом и откидным подпружиненным толкателем, а также программируемым приводом резьбового прутка и прутка со шпоночным пазом, вертикальная стойка выполнена в виде трех вертикальных стержней и разделена горизонтальными проволоками на ячейки, резьбовой пруток и пруток со шпоночным пазом установлены с возможностью выполнения функции, направляющей для платформы для перемещений зубчатой рейки с откидным подпружиненным толкателем, при этом пруток со шпоночным пазом выполнен с возможностью взаимодействия с зубчатой рейкой, а резьбовой пруток с платформой.
РИСУНКИ
|
|