|
|
(21), (22) Заявка: 2006126160/28, 18.02.2004
(24) Дата начала отсчета срока действия патента:
18.02.2004
(30) Конвенционный приоритет:
22.12.2003 JP 2003-424632
(43) Дата публикации заявки: 27.01.2008
(46) Опубликовано: 10.08.2008
(56) Список документов, цитированных в отчете о поиске:
JP 2003261351 А, 16.09.2003. JP 2003255143 А, 10.09.2003. RU 2049487 С1, 10.12.1995. JP 2003137580 А, 14.05.2003. WO 0246114, 13.06.2002. US 2003084684 А, 08.05.2003. SU 1744672 A1, 30.06.1992.
(85) Дата перевода заявки PCT на национальную фазу:
24.07.2006
(86) Заявка PCT:
JP 2004/001803 (18.02.2004)
(87) Публикация PCT:
WO 2005/062088 (07.07.2005)
Адрес для переписки:
129010, Москва, ул. Б. Спасская, 25, стр.3, ООО “Юридическая фирма Городисский и Партнеры”, пат.пов. Ю.Д.Кузнецову, рег.№ 595
|
(72) Автор(ы):
ХАМАДА Такахиро (JP), ФУДЗИМАКИ Мунехиса (JP), ЯМАСИРО Кендзи (JP), ХАРАДА Коити (JP), СИРАКО Юкинари (JP), САВАНО Хироюки (JP)
(73) Патентообладатель(и):
ФУДЗИКУРА ЛТД. (JP)
|
(54) СПОСОБ ОБРАБОТКИ ОПТИЧЕСКОГО ВОЛОКНА И УСТРОЙСТВО ДЛЯ ОБРАБОТКИ ОПТИЧЕСКОГО ВОЛОКНА
(57) Реферат:
Способ и устройство для обработки оптического волокна, в котором газ, содержащий дейтерий, может быть многократно использован для обработки оптического волокна, содержит: первую операцию создания разреженной газовой среды в пространстве, в котором находится оптическое волокно, вторую операцию подачи в это пространство газа, содержащего дейтерий, из резервуара для хранения дейтерия для того, чтобы подвергнуть оптическое волокно воздействию этого газа, третью операцию извлечения находящегося внутри этого пространства газа, содержащего дейтерий, в резервуар для хранения дейтерия, и повторение первой, второй и третьей операций. При этом устройство дополнительно содержит устройство для создания разреженной газовой среды в первом пространстве, до подачи газа, содержащего дейтерий. Технический результат – создание способа обработки оптического волокна, который способен обеспечивать устранение центров «немостиковый кислород» – дырка (NBOHC) в оптическом волокне за короткое время воздействия с использованием газа, содержащего дейтерий с низкой концентрацией, и обеспечение повторного использования газа. 2 н. и 7 з.п. ф-лы, 4 ил.
ОБЛАСТЬ ТЕХНИКИ
Настоящее изобретение относится к способу и к устройству для обработки оптических волокон. По этой заявке на изобретение испрашивается приоритет заявки РСТ/UP 2004/001803 от 18 февраля 2004 г. и заявки Японии №2003-424632 от 22 декабря 2003 г., содержание которых включено в настоящее описание в качестве ссылки.
УРОВЕНЬ ТЕХНИКИ
Оптическое волокно обычно изготавливают путем расплавления и вытягивания волокна из кварцевого стекла (стеклянной заготовки). В частности, стеклянную заготовку расплавляют при высокой температуре, равной приблизительно 2000°C, и расплавленное стекло с ее тонкого конца вытягивают в волокно. Стекло, полученное путем вытяжки, затем быстро охлаждают в канале охлаждения или в аналогичном средстве, а затем поверхность волокна покрывают защитным полимером, завершая таким образом процесс его изготовления.
Известно, что в этом процессе производства оптического волокна при быстром охлаждении расплавленного и вытянутого стекла образуются центры <немостиковый кислород > – дырка (NBOHC). Замедление скорости охлаждения расплавленного и вытянутого стекла способствует рекомбинации центров NBOHC. Количество этих дефектов может быть уменьшено. Однако в процессе производства оптического волокна сложно полностью устранить наличие центров NBOHC в оптическом волокне.
Центры NBOHC, остающиеся в оптическом волокне, соединяются с водородом, выделяющимся из защитного полимера на поверхности оптического волокна или из армировки кабеля и среды, в которую был помещен волоконно-оптический кабель, превращаясь в Si-OH. Когда образуются такие гидроксильные группы (-OH), то возрастают оптические потери на длине волны 1,38 мкм, что ухудшает характеристики прохождения сигнала по оптическому волокну.
Один из подходов к решению проблемы подавления оптических потерь на длине волны 1,38 мкм содержит следующую операцию: оптическое волокно подвергают воздействию газа, содержащего дейтерий, для проведения реакции между центрами NBOHC в стекле с дейтерием (D2) для образования дейтероксильных групп (-OD) (см. публикации заявок на патенты Японии JP-A 2002-148450, JP-A 2003-137580).
Центры NBOHC могут легко вступать в реакцию с дейтерием при комнатной температуре, образуя дейтероксильные группы. Поскольку поглощение света с помощью дейтероксильных групп происходит на длине волны 1,87 мкм, то полоса поглощения может быть сдвинута по длине волны за пределы диапазона длин волн 1,3 мкм, используемого для оптической связи.
Для того чтобы сохранить себестоимость производства, в вышеупомянутом способе проведения реакции центров NBOHC с дейтерием (D2) для образования дейтероксильных групп (-OD) обработку желательно выполнять при коротком времени воздействия с использованием газа, содержащего дейтерий с низкой концентрацией.
Например, в публикации заявки на патент Японии JP-A 2002-148450 раскрыто следующее: чтобы подвергнуть оптическое волокно воздействию газа, содержащего дейтерий, требуется время воздействия, равное одной неделе. Оптическое волокно обычно подвергают воздействию газа, содержащего дейтерий, в состоянии, в котором оно является намотанным на бобину. Однако газ, содержащий дейтерий, с трудом достигает области, расположенной вблизи от сердечника бобины. Так как центры NBOHC в оптическом волокне легко соединяются с дейтерием, образуя дейтероксильные группы, то реакция превращения центров NBOHC в дейтероксильные группы сильно зависит от количества молекул дейтерия, проникающих в оптическое волокно.
Поэтому для оптического волокна, которое было намотано на бобину, проникновение молекул дейтерия в оптическое волокно, расположенное вблизи сердечника бобины, то есть в нижних слоях оптического волокна, занимает некоторое время, что затрудняет реакцию между центрами NBOHC и дейтерием. Например, ликвидация центров NBOHC в оптическом волокне, расположенном вблизи сердечника бобины, то есть в нижних слоях, не происходит даже в том случае, когда оптическое волокно, которое было намотано на бобину или на подобное средство, подвергают воздействию смеси газов, содержащей газообразный дейтерий в концентрации 1%, в течение 24 часов согласно способу, раскрытому в приведенной выше ссылке, в зависимости от количества оптического волокна, намотанного на бобину. Следовательно, для устранения центров NBOHC на всем протяжении оптического волокна требуется газ, содержащий дейтерий с высокой концентрацией, и длительное время воздействия.
Оптическое волокно подвергают воздействию газовой среды с газом, содержащим дейтерий, путем помещения оптического волокна в реактор, путем подачи газа, содержащего дейтерий, в реактор и путем последующей герметизации реактора для обеспечения воздействия в течение заданного промежутка времени в этом состоянии.
До настоящего времени после того, как оптического волокно было подвергнуто воздействию газовой среды с газом, содержащим дейтерий, в течение заданного промежутка времени, газ, содержащий дейтерий, обычно выпускали наружу без его повторного использования. Однако вследствие высокой стоимости газа, содержащего дейтерий, такая технология приводит к увеличению себестоимости производства оптического волокна.
РАСКРЫТИЕ СУЩНОСТИ ИЗОБРЕТЕНИЯ
Следовательно, задачей настоящего изобретения является создание способа обработки оптического волокна, который способен обеспечивать устранение центров <немостиковый кислород> – дырка (NBOHC) в оптическом волокне за короткое время воздействия с использованием газа, содержащего дейтерий с низкой концентрацией. Другой задачей настоящего изобретения является создание устройства для обработки оптического волокна, которое способно обеспечивать повторное использование газа, содержащего дейтерий, и может осуществлять обработку оптического волокна газом, содержащим дейтерий, с низкими затратами.
Согласно первому аспекту настоящего изобретения предусмотрен способ обработки оптического волокна, содержащий, по меньшей мере, первую операцию создания разреженной газовой среды в пространстве, в котором находится оптическое волокно, и вторую операцию подачи в это пространство газа, содержащего дейтерий, для того, чтобы подвергнуть оптическое волокно воздействию этого газа.
Согласно второму аспекту настоящего изобретения предусмотрен способ обработки оптического волокна, в котором газ, содержащий дейтерий, многократно используют для обработки оптического волокна путем многократного повторения следующих операций: первой операции создания разреженной газовой среды в пространстве, в котором находится оптическое волокно, второй операции подачи в это пространство газа, содержащего дейтерий, из резервуара для хранения дейтерия для того, чтобы подвергнуть оптическое волокно воздействию этого газа, и третьей операции извлечения находящегося внутри этого пространства газа, содержащего дейтерий, в резервуар для хранения дейтерия.
Согласно третьему аспекту настоящего изобретения предусмотрено устройство для обработки оптического волокна, содержащее первое пространство, предназначенное для того, чтобы подвергнуть оптическое волокно воздействию газа, содержащего дейтерий, второе пространство, предназначенное для хранения газа, содержащего дейтерий, и третье пространство, предназначенное для соединения первого пространства и второго пространства; при этом упомянутое устройство имеет средство для подачи газа, находящееся в третьем пространстве.
КРАТКОЕ ОПИСАНИЕ ФИГУР ЧЕРТЕЖЕЙ
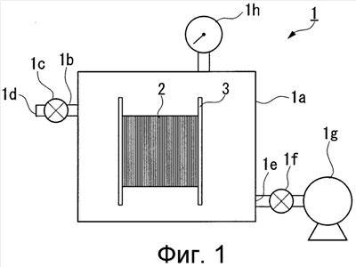
На фиг.1 изображен схематичный вид устройства для обработки оптического волокна.
На фиг.2 изображена диаграмма, на которой показана зависимость между временем задержки аннигиляции центров <немостиковый кислород> – дырка (NBOHC) и давлением разреженной газовой среды при первой операции.
На фиг.3 изображен схематичный вид устройства для обработки оптического волокна согласно настоящему изобретению.
На фиг.4 изображен график, на котором показана зависимость между сохранением парциального давления газа дейтерия в газе, содержащем дейтерий, который был повторно использован для обработки оптического волокна, и количеством операций обработки, осуществленных с использованием этого газа.
ПРЕДПОЧТИТЕЛЬНЫЙ ВАРИАНТ ОСУЩЕСТВЛЕНИЯ ИЗОБРЕТЕНИЯ
Способ обработки оптического волокна согласно настоящему изобретению отличается тем, что содержит, по меньшей мере, первую операцию создания разреженной газовой среды в пространстве, в котором находится оптическое волокно, и вторую операцию подачи в это пространство газа, содержащего дейтерий, для того, чтобы подвергнуть оптическое волокно воздействию этого газа.
Эти признаки настоящего изобретения могут обеспечивать увеличение скорости диффузии газов, содержащих дейтерий, внутри реактора. В результате, даже в том случае, когда оптическое волокно было намотано на бобину, газ, содержащий дейтерий, проходит через очень малые зазоры между намотанным оптическим волокном и быстро достигает области вблизи сердечника бобины.
В вышеописанном способе обработки оптического волокна предпочтительно, чтобы при первой операции давление разреженной газовой среды в упомянутом пространстве было установлено равным, по меньшей мере, 0,01 кПа (килопаскаля), но не большим, чем 76 кПа. Это может обеспечивать распространение газа, содержащего дейтерий, по всему оптическому волокну, намотанному на бобину или на аналогичное средство, что, в свою очередь, позволяет проникать достаточному количеству молекул дейтерия в оптическое волокно вблизи сердечника бобины, обеспечивая возможность активизации реакции между центрами NBOHC и молекулами дейтерия (реакция аннигиляции NBOHC).
В вышеописанном способе обработки оптического волокна предпочтительно, чтобы при второй операции оптическое волокно подвергалось воздействию газа, содержащего дейтерий, при парциальном давлении газа дейтерия, равном, по меньшей мере, 0,1 кПа, но не большем, чем 5 кПа.
Это может обеспечивать концентрацию газообразного дейтерия, которая является достаточной для аннигиляции центров NBOHC, по всему оптическому волокну, намотанному на бобину.
В вышеописанном способе обработки оптического волокна предпочтительно, чтобы при второй операции оптическое волокно подвергалось воздействию газа, содержащего дейтерий, при давлении в упомянутом пространстве, равном, по меньшей мере, 10,1 кПа, но не большем, чем 304 кПа.
Это может обеспечивать быстрое распространение газа, содержащего дейтерий, в область вблизи сердечника бобины, что, в свою очередь, позволяет проникать достаточному количеству молекул дейтерия в оптическое волокно, обеспечивая возможность активизации реакции аннигиляции NBOHC.
В вышеописанном способе обработки оптического волокна предпочтительно, чтобы при второй операции оптическое волокно подвергалось воздействию газа, содержащего дейтерий, в течение периода времени не более чем один день. Это может обеспечивать повышение производительности каждого единичного устройства и снижение себестоимости производства.
Способ обработки оптического волокна согласно настоящему изобретению предпочтительно содержит первое пространство, предназначенное для того, чтобы подвергать оптическое волокно воздействию газа, содержащего дейтерий, второе пространство, предназначенное для хранения газа, содержащего дейтерий, и третье пространство, предназначенное для соединения первого пространства и второго пространства; при этом третье пространство может быть снабжено средством для перекачки газа.
Таким образом, вместо выпуска использованного газообразного дейтерия в атмосферу его собирают в резервуаре для хранения дейтерия, и он может быть снова использован для обработки дейтерием других оптических волокон.
За счет создания разреженной газовой среды внутри реактора, в который было помещено оптическое волокно, и подачи газа, содержащего дейтерий, в реактор в этом состоянии способ обработки оптического волокна согласно настоящему изобретению может обеспечивать прохождение газа, содержащего дейтерий, через очень малые зазоры в намотанном оптическом волокне и его распространение по всему оптическому волокну до области, расположенной вблизи от сердечника бобины, даже в том случае, когда оптическое волокно намотано на бобину.
Этот способ может обеспечивать равномерное воздействие газообразного дейтерия по всей длине оптического волокна, намотанного на бобину. В результате этого аннигиляция центров <немостиковый кислород> – дырка (NBOHC) может быть осуществлена за короткое время воздействия.
Устройство для обработки оптического волокна согласно настоящему изобретению может обеспечивать многократное использование газа, содержащего дейтерий, что позволяет снизить текущие расходы.
Более полное описание вариантов осуществления настоящего изобретения приведено ниже вместе с описанием приложенных чертежей.
Способ обработки оптического волокна
На фиг.1 изображен схематичный вид, на котором показан пример устройства для обработки оптического волокна. Устройство 1 для обработки оптического волокна содержит, по меньшей мере, реактор 1a. Этот реактор 1a представляет собой герметизируемый резервуар, во внутренней части которого может быть размещено оптическое волокно 2. Он имеет такую стойкость к давлению и такую способность к герметизации, что способен выдерживать состояние вакуума с давлением приблизительно 0,1 кПа и состояния с избыточным давлением в диапазоне от атмосферного давления до давления 304 кПа.
Реактор 1a имеет впускное отверстие 1b для газа, которое соединено с каналом 1d подачи газа через двухпозиционный клапан 1c для подвода газа таким образом, что газ, содержащий дейтерий, может подаваться из канала 1d подачи газа в реактор 1a.
Использованный здесь термин “газ, содержащий дейтерий” относится к газообразному дейтерию в чистом виде или к смеси газов, содержащей газообразный дейтерий.
Реактор 1a также имеет выпускное отверстие 1e, которое соединено с вакуумным насосом 1g через двухпозиционный клапан 1f для выпуска газа таким образом, что выпуск воздуха, находящегося внутри реактора 1a, может быть осуществлен вакуумным насосом 1g.
Вместо двухпозиционного клапана 1c для подвода газа реактор 1a может быть снабжен таким устройством, как, например, расходомер, или аналогичным устройством, которое способно регулировать расход газа. В настоящем изобретении может быть использовано любое устройство, способное регулировать расход газа, содержащего дейтерий, который подают в реактор 1a.
Реактор также имеет дифференциальный манометр 1h, обеспечивающий измерение давления внутри реактора 1a. На основании измеренного значения может быть отрегулирована скорость подачи газа, содержащего дейтерий, для создания в реакторе 1a газовой среды из газа, содержащего дейтерий, с предварительно заданным давлением, или же на основании измеренного значения может быть произведено включение или выключение вакуумного насоса 1g для создания в реакторе 1a разреженной газовой среды с предварительно заданным давлением.
Реактор 1a может иметь средство, регулирующее температуру, например нагреватель или охлаждающее средство, а также термометр и регулятор температуры, обеспечивающий регулировку внутренней температуры таким образом, чтобы установить внутри реактора 1a состояние с постоянной температурой, равной 50°C или меньшей.
При первой операции оптическое волокно 2 подвергают воздействию разреженной газовой среды следующим образом. Сначала оптическое волокно 2, намотанное на бобину 3, размещают в состоянии покоя в реакторе 1a устройства 1 для обработки.
В качестве оптического волокна 2 может быть использовано любое оптическое волокно, изготовленное из соответствующего материала, например из кварцевого стекла, но этот пример не является ограничивающим признаком.
Вакуумный насос 1g приводят в действие, а затем открывают двухпозиционный клапан 1f для выпуска газа и производят выпуск воздуха, находящегося внутри реактора 1a, создавая таким образом разреженную газовую среду внутри реактора 1a (то есть в пространстве, в котором находится оптическое волокно 2), и подвергают оптическое волокно воздействию разреженной газовой среды.
Затем при второй операции, выполняемой после вышеупомянутой первой операции, оптическое волокно 2 подвергают воздействию газовой среды с газом, содержащим дейтерий, следующим образом. После того как двухпозиционный клапан 1f для выпуска газа закрыт, производят регулировку температуры внутри реактора 1a таким образом, чтобы она была равна 50°C или меньше.
Затем открывают двухпозиционный клапан 1c для подвода газа и газ, содержащий дейтерий, подают во внутреннюю часть реактора 1a с разреженной газовой средой. После подачи газа, содержащего дейтерий, до тех пор, пока внутри реактора 1a не будет достигнуто предварительно заданное давление, двухпозиционный клапан 1c для подвода газа закрывают, герметизируя внутреннюю часть реактора 1a, и оптическое волокно 2 подвергают воздействию газовой среды с газом, содержащим дейтерий.
Таким образом, оптическое волокно 2 подвергают воздействию газа, содержащего дейтерий, вызывая реакцию центров <немостиковый кислород> – дырка (NBOHC) в стекле с дейтерием (D2) для формирования дейтероксильных групп (-OD) и для предотвращения образования гидроксильных групп (-OH). Таким образом, происходит смещение полосы поглощения по длине волны за пределы диапазона длин волн 1,3 мкм, используемого для оптической связи, что позволяет снизить влияние поглощения света гидроксильными группами в стекле на характеристики пропускания оптического волокна 2.
За счет создания разреженной газовой среды внутри реактора 1a, в который было помещено оптическое волокно 2, и подачи газа, содержащего дейтерий, в реактор 1a в этом состоянии, несмотря на то, что оптическое волокно было намотано на бобину 3, газ, содержащий дейтерий, проходит через очень малые зазоры в намотанном оптическом волокне 2, быстро достигая даже той области внутри бобины 3, которая расположена вблизи от ее сердечника. Это может обеспечивать проникновение достаточного количества молекул дейтерия в оптическое волокно, расположенное вблизи от сердечника бобины 3, что обеспечивает возможность активизации реакции аннигиляции NBOHC.
Центры NBOHC легко соединяются с дейтерием, образуя дейтероксильные группы. Следовательно, количество молекул дейтерия, проникающих в оптические волокна, оказывает сильное влияние на реакцию, при которой центры NBOHC соединяются с дейтерием, образуя дейтероксильные группы (на реакцию аннигиляции центров NBOHC).
При практической реализации настоящего изобретения достаточное количество молекул дейтерия может проникать в оптическое волокно даже вблизи от сердечника бобины 3, такой, которая может обеспечивать возможность активизации реакции аннигиляции центров NBOHC. Следовательно, реакция аннигиляции центров NBOHC может быть активизирована по всей длине оптического волокна 2, намотанного на бобину 3, что обеспечивает возможность устранения центров NBOHC на всем протяжении оптического волокна даже за короткий период воздействия газа, содержащего дейтерий с низкой концентрацией.
Ниже приведено более полное описание настоящего изобретения на основании экспериментальных результатов.
На фиг.2 изображена диаграмма, на которой показана зависимость между временем задержки аннигиляции центров NBOHC в оптическом волокне 2, намотанном на бобину 3, и давлением разреженной газовой среды при первой операции.
Термин “время задержки аннигиляции центров NBOHC” относится здесь к разности в оптическом волокне, намотанном на бобину 3, между временем аннигиляции центров NBOHC для оптического волокна 2 в самом нижнем слое и временем аннигиляции центров NBOHC для оптического волокна 2 в самом верхнем слое; то есть разность между временем аннигиляции центров NBOHC для оптического волокна 2 в самом нижнем слое и временем аннигиляции центров NBOHC для оптического волокна 2 в самом верхнем слое.
Здесь термин “оптическое волокно 2, расположенное в самом нижнем слое” относится к тому участку оптического волокна 2, намотанного на бобину 3, который расположен непосредственно на сердечнике бобины 3 (к участку оптического волокна 2, находящемуся на сердечнике). Термин “оптическое волокно 2, расположенное в самом верхнем слое” относится к тому участку оптического волокна 2, намотанного на бобину 3, который расположен наиболее близко к поверхности (к участку оптического волокна 2, находящемуся в самом верхнем слое).
Более короткое время задержки аннигиляции центров NBOHC означает более короткое время аннигиляции центров NBOHC для оптического волокна 2, расположенного в самом нижнем слое (быстрая реакция аннигиляции центров NBOHC), и, следовательно, более близкое его значение для оптического волокна 2, расположенного в самом нижнем слое, к времени аннигиляции центров NBOHC для оптического волокна 2, расположенного в самом верхнем слое. Более короткое время задержки аннигиляции центров NBOHC означает, что для аннигиляции центров NBOHC по всей длине оптического волокна 2, намотанного на бобину 3, требуется меньшее время.
Термин “время аннигиляции центров NBOHC для оптического волокна 2” относится здесь к результатам, измеренным следующим способом.
Для оптического волокна 2, которое было подвергнуто воздействию дейтерия в течение предварительно заданного промежутка времени, измеряют величину поглощения света на длине волны поглощения центрами NBOHC, равной 0,63 мкм, и исходя из этой величины поглощения света измеряют количество оставшихся центров NBOHC.
Затем определяют изменение во времени количества оставшихся центров NBOHC относительно времени воздействия газа, содержащего дейтерий, на оптическое волокно 2 путем измерений во множестве моментов времени. Было оценено время воздействия газа, содержащего дейтерий, которое требуется для полной аннигиляции центров NBOHC, на основании изменения во времени количества этих оставшихся центров NBOHC, и оно рассматривалось как время аннигиляции центров NBOHC.
Жирные круглые метки на фиг.2 указывают результаты, полученные с использованием газовой среды, представляющей собой смесь газов, имеющую парциальное давление дейтерия, равное 0,5 кПа, при второй операции, а ромбовидные метки указывают результаты, полученные с использованием газовой среды, представляющей собой смесь газов, имеющую парциальное давление дейтерия, равное 1,0 кПа, при второй операции.
При вышеупомянутой первой операции разреженная газовая среда имеет давление в предпочтительном варианте, по меньшей мере, 0,01 кПа, но не более чем 76 кПа, в более предпочтительном варианте – по меньшей мере, 0,01 кПа, но не более чем 50,7 кПа, а в еще более предпочтительном варианте – по меньшей мере, 0,01 кПа, но не более чем 5,1 кПа. Это может обеспечивать распространение газа, содержащего дейтерий, по всему оптическому волокну 2, намотанному на бобину 3 или на аналогичное средство. В результате достаточное количество молекул дейтерия может проникать в оптическое волокно 2, расположенное вблизи от сердечника бобины 3, поэтому может быть активизирована реакция между центрами NBOHC и газообразным дейтерием (реакция аннигиляции центров NBOHC).
Следовательно, таким образом может быть сокращено время аннигиляции центров NBOHC для оптического волокна 2, расположенного в самом нижнем слое, что существенно уменьшает время задержки аннигиляции центров NBOHC, как показано на фиг.2.
При использовании газа, содержащего дейтерий в низкой концентрации, при второй операции аннигиляция центров NBOHC может происходить по всему оптическому волокну 2 даже за короткое время воздействия. В частности, в том случае, когда давление разреженной газовой среды составляет, по меньшей мере, 0,01 кПа, но не превышает 50,7 кПа, время задержки аннигиляции центров NBOHC равно 0 часов, а это означает, что даже в том оптическом волокне 2, которое расположено в самом нижнем слое, центры NBOHC и дейтерий могут быть обеспечены для реакции аннигиляции центров NBOHC со скоростью реакции, которая является сравнимой со скоростью реакции для оптического волокна 2, расположенного в самом верхнем слое.
К тому же при второй операции предпочтительно подвергать оптическое волокно воздействию газа, содержащего дейтерий, с парциальным давлением дейтерия, по меньшей мере, 0,1 кПа, но не более чем 5,1 кПа. Более предпочтительно подвергать оптическое волокно воздействию газа, содержащего дейтерий, с парциальным давлением дейтерия, по меньшей мере, 0,7 кПа, но не более чем 2,0 кПа. Таким образом, достаточное количество молекул дейтерия для аннигиляции центров NBOHC может проникать по всей длине оптического волокна, намотанного на бобину 3.
При парциальном давлении дейтерия менее 0,1 кПа концентрация газообразного дейтерия является низкой, что затрудняет аннигиляцию центров NBOHC по всему оптическому волокну 2. С другой стороны, парциальное давление дейтерия свыше 5 кПа также является нежелательным, поскольку очень высокое парциальное давление дейтерия может вызвать взрыв.
При второй операции при подаче газа, содержащего дейтерий, в реактор 1a, в котором находится оптическое волокно 2, предпочтительно установить давление внутри реактора 1a, по меньшей мере, 10,1 кПа, но не более чем 304 кПа, и подвергать оптическое волокно 2 воздействию газа, содержащего дейтерий, в пределах этого диапазона давления.
При давлении газа, содержащего дейтерий, меньшем, чем 10,1 кПа, внутри реактора 1a, в котором оптическое волокно 2 подвергают его воздействию, проникновение молекул дейтерия в оптическое волокно занимает определенное время, требуя длительного времени реакции аннигиляции центров NBOHC.
С другой стороны, при давлении газа, содержащего дейтерий, большем, чем 203 кПа, внутри реактора 1a, в котором оптическое волокно 2 подвергают его воздействию, должен быть использован реактор, обладающий стойкостью к высокому давлению, что увеличивает стоимость изготовления реактора.
Кроме того, предпочтительно, чтобы при второй операции оптическое волокно было подвергнуто воздействию газа, содержащего дейтерий, в течение времени воздействия, равного одному дню или меньше. Более предпочтительным является время воздействия, равное 12 часам или менее. Это приводит к повышению производительности каждого единичного устройства, поэтому себестоимость производства может быть уменьшена.
Также предпочтительно, чтобы при второй операции оптическое волокно 2 подвергалось воздействию газа, содержащего дейтерий, при температуре, контролируемой внутри реактора 1a, которая не превышает 50°C. Таким образом, нет никакой необходимости обеспечивать способность реактора 1a хорошо удерживать тепло, что позволяет снизить стоимость изготовления реактора 1a. Температуру внутри реактора 1a в наиболее предпочтительном варианте устанавливают равной, по меньшей мере, 15°C, но не более 50°C. При температуре внутри реактора 1a более 50°C может происходить ухудшение качества покрытия из слоя полимера на поверхности оптического волокна 2 из-за нагрева.
Устройство для обработки оптического волокна
На фиг.3 изображен схематичный вид устройства для обработки оптического волокна согласно настоящему изобретению.
Это устройство 4 для обработки оптического волокна имеет реактор 4a, резервуар 4b для хранения дейтерия и трубопровод 4c, соединяющий реактор 4a и резервуар 4b для хранения дейтерия.
Реактор 4a представляет собой герметизируемый резервуар, во внутренней части которого (в первом пространстве) может быть размещено оптическое волокно 2. Он имеет такую стойкость к давлению и такую способность к герметизации, что способен выдерживать состояние вакуума с давлением приблизительно 0,1 кПа и состояния с избыточным давлением в диапазоне от атмосферного давления до давления 304 кПа.
Резервуар 4b для хранения дейтерия представляет собой резервуар, внутри (во втором пространстве) которого может храниться газ, содержащий дейтерий. Подобно реактору 4a он имеет такую же стойкость к давлению и такую способность к герметизации, что способен выдерживать состояние вакуума с давлением приблизительно 0,1 кПа и состояния с избыточным давлением в диапазоне от атмосферного давления до давления 304 кПа.
Резервуар 4b для хранения дейтерия имеет впускное отверстие 4d для газа, которое соединено с каналом 4g подачи газа через двухпозиционный клапан 4f для подвода газа таким способом, что газ, содержащий дейтерий, может подаваться из канала 4g подачи газа в резервуар 4b.
Реактор 4a и резервуар 4b для хранения дейтерия соответственно снабжены отверстиями 4h или 4i для ввода/выпуска газа. Отверстия 4h и 4i для ввода/выпуска газа соединены через двухпозиционные клапаны 4j и 4k с трубопроводом 4c. Реактор 4a и резервуар 4b для хранения дейтерия соединены друг с другом посредством указанного одного трубопровода 4c.
Устройство выполнено таким образом, что, используя внутреннюю часть (третье пространство) трубопровода 4c в качестве проточного канала, газ, содержащий дейтерий, может протекать из реактора 4a в резервуар 4b для хранения дейтерия или в обратном направлении.
Канал трубопровода 4c снабжен переключающим клапаном 4n, и с этим переключающим клапаном 4n соединен канал 4p для выпуска газа и средство 4q для подачи газа.
В качестве средства 4q для подачи газа могут быть, соответственно, использованы нагнетательные/вакуумные насосы двойного назначения, например вакуумный насос винтового типа или сухой вакуумный насос диафрагменного типа.
В качестве переключающего клапана 4n в настоящем изобретении могут быть использованы клапаны, имеющие соединители, по меньшей мере, в трех направлениях. То есть может быть использован клапан, который может переключать направление проточного канала по мере необходимости, например, таким образом, что один соединитель в одном направлении соединяют с одним из двух других соединителей в двух других направлениях. Иллюстративными примерами являются, в том числе, трехходовые клапаны и трехходовые электромагнитные клапаны.
В настоящем описании тот участок трубопровода, который служит в качестве канала от переключающего клапана 4n до отверстия 4h для ввода/выпуска газа в реакторе 4a, ниже именуют каналом 4r со стороны реактора, а тот участок трубопровода, который служит в качестве канала от переключающего клапана 4n до отверстия 4i для ввода/выпуска газа в резервуаре 4b для хранения дейтерия, именуют каналом 4s со стороны резервуара для хранения дейтерия.
В этом варианте осуществления изобретения переключающий клапан 4n может изменять путь протекания потока. Таким образом, можно осуществить управление потоком из одного канала, который выбран из следующих каналов: канала 4r со стороны реактора, канала 4s со стороны резервуара для хранения дейтерия и канала 4p для выпуска газа, в любой один из двух других каналов. Средство 4q для подачи газа может обеспечивать подачу газа из одного направления в другое направление по двум соединенным каналам после переключения.
Реактор 4a может быть снабжен дифференциальным манометром 4t так, что он может измерять давление внутри реактора 4a. В настоящем изобретении можно обеспечить наличие такой конструкции, схемы и т.п., которая может управлять давлением на основании этого измеренного значения, полученного из дифференциального манометра 4t. Например, на основании этого значения может быть произведена регулировка количества газа, содержащего дейтерий, поданного с использованием средства 4q для подачи газа, для создания внутри реактора 4a газовой среды из газа, содержащего дейтерий, с предварительно заданным давлением, и/или внутри реактора 4a может быть создана разреженная газовая среда с требуемым давлением.
Реактор 4a имеет средство, регулирующее температуру, например нагреватель или охлаждающее устройство, а также термометр и регулятор температуры, который может регулировать внутреннюю температуру таким образом, чтобы установить внутри реактора 4a состояние с постоянной температурой, равной 50°C или меньшей.
Далее приведено описание способа обработки, в котором оптическое волокно 2 подвергают воздействию газа, содержащего дейтерий, с использованием устройства 4 для обработки оптического волокна согласно настоящему изобретению.
При первой операции оптическое волокно 2 подвергают воздействию разреженной газовой среды следующим образом. Сначала оптическое волокно 2, которое уже было намотано на бобину 3, размещают в реакторе 4a в состоянии покоя. Температура внутри реактора 4a отрегулирована до температуры, равной или меньшей чем 50°C. Затем переключающий клапан 4n переключают таким образом, чтобы соединить канал 4r со стороны реактора с каналом 4p для выпуска газа. В канале 4r со стороны реактора открывают двухпозиционный клапан 4j и производят выпуск воздуха, находящегося внутри реактора 4a, в канал 4p для выпуска газа посредством средства 4q для подачи газа. Эти узлы, средство и т.п. используют для создания разреженной газовой среды внутри реактора 4a, то есть внутри первого пространства, в котором находится оптическое волокно 2, подвергая таким образом оптическое волокно 2 воздействию разреженной газовой среды.
Затем при второй операции, выполняемой после вышеупомянутой первой операции, оптическое волокно 2 подвергают воздействию газовой среды с газом, содержащим дейтерий, следующим образом.
Внутренняя часть резервуара 4b для хранения дейтерия предварительно заполнена газом, содержащим дейтерий, с заданным давлением, который содержит конкретную концентрацию газообразного дейтерия.
Затем закрывают двухпозиционный клапан 4j в канале 4r со стороны реактора, после чего переключающий клапан 4n переключают таким образом, чтобы канал 4r со стороны реактора и канал 4s со стороны резервуара для хранения дейтерия находились в соединенном состоянии.
Затем открывают оба клапана: двухпозиционный клапан 4j в канале 4r со стороны реактора и двухпозиционный клапан 4k в канале 4s со стороны резервуара для хранения дейтерия, посредством чего соединяют реактор 4a с резервуаром 4b для хранения дейтерия через трубопровод 4c.
Газ, содержащий дейтерий, который находится в резервуаре 4b для хранения дейтерия, течет в реактор 4a с разреженной газовой средой через внутреннюю часть (третье пространство) трубопровода 4c, который служит в качестве проточного канала.
После того как внутри реактора 4a достигнуто конкретное давление, оба клапана: двухпозиционный клапан 4j в канале 4r со стороны реактора и двухпозиционный клапан 4k в канале 4s со стороны резервуара для хранения дейтерия – закрывают, герметизируя внутреннюю часть реактора 4a, и оптическое волокно 2 подвергают воздействию газовой среды с газом, содержащим дейтерий, внутри реактора 4a.
Таким образом, возможно, что оптическое волокно 2 подвергается воздействию газа, содержащего дейтерий, центры NBOHC внутри стекла соединяются с дейтерием, образуя дейтероксильные группы, и происходит ликвидация центров NBOHC. Затем после второй операции выполняют третью операцию, при которой газ, содержащий дейтерий, возвращают обратно, описание чего приведено ниже. Переключающий клапан 4n переключают таким образом, чтобы канал 4r со стороны реактора и канал 4s со стороны резервуара для хранения дейтерия находились в соединенном состоянии. Двухпозиционные клапаны 4j и 4k открывают, соединяя реактор 4a с резервуаром 4b для хранения дейтерия через трубопровод 4c, и активизируют средство 4q для подачи газа, подавая газ, содержащий дейтерий, который находится внутри реактора 4a, в резервуар 4b для хранения дейтерия, и таким образом внутреннюю часть реактора 4a переводят в состояние с пониженным давлением.
Двухпозиционный клапан 4j в канале 4r со стороны реактора закрывают, и в реактор 4a вводят атмосферный воздух, после чего оптическое волокно 2 удаляют из реактора 4a.
Описанным выше способом газ, содержащий дейтерий, который был уже однажды использован, не выпускают наружу, а хранят в резервуаре 4b для хранения дейтерия, и он может быть использован для обработки дейтерием других оптических волокон 2.
На фиг.4 приведен пример, показывающий изменение парциального давления газообразного дейтерия в газе, содержащем дейтерий, при многократном использовании газа, содержащего дейтерий, для обработки оптического волокна 2.
При использовании устройства 4 для обработки оптического волокна согласно настоящему изобретению парциальное давление дейтерия сохранялось на уровне, по меньшей мере, 70% даже после 30 повторных операций обработки дейтерием, что являлось достаточной концентрацией для выполнения обработки дейтерием.
Следовательно, газ, содержащий дейтерий, может быть использован многократно, что обеспечивает существенное снижение текущих расходов, связанных с газообразным дейтерием, и обеспечивает возможность экономичного выполнения обработки дейтерием. Другими словами, имеется возможность многократного использования газа, содержащего дейтерий, и многократного выполнения первой, второй и третьей операций описанного выше способа.
ПРИМЕРЫ
Пример 1
Используя устройство 1 для обработки оптического волокна, показанное на фиг.1, была выполнена обработка для аннигиляции центров NBOHC, при которой оптическое волокно 2, намотанное на бобину 3, было подвергнуто воздействию газа, содержащего дейтерий. Описание способа обработки оптического волокна 2 здесь опущено, потому что этот способ является тем же самым, что и вышеупомянутый вариант осуществления настоящего изобретения, описание которого приведено выше. Использованное оптическое волокно 2 имело оптические потери 0,27 дБ/км на длине волны 1,38 мкм и диаметр оболочки, равный 125 мкм.
При первой операции производилась откачка внутренней части реактора 1a, в котором было размещено оптическое волокно 2, до давления 0,1 кПа.
Затем при второй операции внутрь реактора 1a подавали газ, содержащий дейтерий, в котором парциальное давление газообразного дейтерия было равно 0,51 кПа. Этот газ, содержащий дейтерий, подавали до тех пор, пока давление внутри реактора 1a не стало равным 95 кПа, а затем была произведена герметизация реактора 1a. В этом состоянии оптическое волокно 2 было подвергнуто воздействию газа, содержащего дейтерий, в течение 12 часов. При этом температура внутри реактора 1a была установлена равной 25°C в течение времени, когда оптическое волокно подвергалось воздействию газа, содержащего дейтерий.
Для оптического волокна 2, намотанного на бобину 3, производились измерения величины поглощения света на длине волны поглощения центрами NBOHC, равной 0,63 мкм, через заданные промежутки времени на том участке, который намотан непосредственно на сердечник бобины 3 (оптическое волокно 2, расположенное в самом нижнем слое), и на том его участке, который расположен ближе всего к поверхности (оптическое волокно 2, расположенное в самом верхнем слое), и исходя из этих уровней поглощения света были определены значения количества центров NBOHC, остающихся в соответствующих участках оптического волокна 2.
Затем было определено изменение количества центров NBOHC, остающихся в оптическом волокне 2 (изменение количества относительно длительности воздействия), во времени. На основании этого изменения количества центров NBOHC во времени была произведена оценка времени воздействия газа, содержащего дейтерий, требуемого для полной аннигиляции центров NBOHC, и это значение рассматривалось как время аннигиляции.
При этом была определена разность между временем аннигиляции центров NBOHC для оптического волокна 2, расположенного в самом нижнем слое, и временем аннигиляции центров NBOHC для оптического волокна 2, расположенного в самом верхнем слое (разность времени аннигиляции центров NBOHC в оптическом волокне, расположенном в самом нижнем слое, относительно времени аннигиляции центров NBOHC для оптического волокна 2, расположенного в самом верхнем слое). Это время являлось временем задержки аннигиляции центров NBOHC.
В примере 1 оптическое волокно, которое подвергалось воздействию газа, содержащего дейтерий, имело время задержки аннигиляции центров NBOHC, равное 0 часов, а это указывает на то, что время аннигиляции центров NBOHC для оптического волокна 2, расположенного в самом нижнем слое, и время аннигиляции центров NBOHC для оптического волокна 2, расположенного в самом верхнем слое, являлось одинаковым.
Следовательно, поскольку реакция центров NBOHC и дейтерия в оптическом волокне 2, расположенном в самом нижнем слое, происходила с той же самой скоростью реакции, что и в оптическом волокне, расположенном в самом верхнем слое, то центры NBOHC могут быть ликвидированы. Кроме того, за счет использования газа, содержащего дейтерий с низкой концентрацией, который имел парциальное давление газообразного дейтерия, равное 0,51 кПа, стало возможным ликвидировать центры NBOHC по всей длине оптического волокна за короткое время воздействия.
Сравнительный пример 1
Сравнительный пример 1 отличается от примера 1 тем, что первая операция, при которой внутри реактора 1a, в котором находится оптическое волокно 2, создают разреженную газовую среду, не выполнялась. Вместо этого газ, содержащий дейтерий, подавали в реактор 1a, содержащий воздушную среду при атмосферном давлении, создавая таким образом внутри реактора 1a газовую среду из газа, содержащего дейтерий, имеющую парциальное давление дейтерия, равное 0,51 кПа. Остальные условия были теми же самыми, что в примере 1, и, следовательно, их описание здесь опущено.
Оптическое волокно 2 было подвергнуто воздействию газовой среды из газа, содержащего дейтерий, в течение 12 часов, однако аннигиляция центров NBOHC в самом нижнем слое оптического волокна 2 не произошла и они остались в стекле.
Кажется вероятным следующее: поскольку подача газа, содержащего дейтерий, была произведена без уменьшения давления внутри реактора 1a, в котором находилось оптическое волокно 2, то скорость диффузии газа, содержащего дейтерий, не могла быть увеличена, что затрудняло проникновение газа, содержащего дейтерий, в область вблизи от сердечника бобины. В результате не происходило быстрого вхождения оптического волокна, расположенного в самом нижнем слое, в контакт с газом, содержащим дейтерий, что затрудняло проведение реакции между центрами NBOHC и дейтерием.
Таким образом, обработка, выполненная за короткий период воздействия, равный 12 часам, с использованием газа, содержащего дейтерий с низкой концентрацией, который имеет парциальное давление газообразного дейтерия, равное 0,51 кПа, оставляет после себя в оптическом волокне 2 центры NBOHC, имеющиеся в самом нижнем слое. Следовательно, центры NBOHC не могут быть ликвидированы на всем протяжении оптического волокна 2.
Пример 2
Пример 2 отличается от примера 1 следующими аспектами. При первой операции давление внутри реактора 1a было понижено до 0,01, 10, 20, 50, 70, 90 или 95 кПа; при второй операции оптическое волокно 2 было подвергнуто воздействию газа, содержащего дейтерий, при концентрации газообразного дейтерия, равной 1,0%, и при парциальном давлении дейтерия, равном 0,51 кПа или 1,0 кПа. Остальные условия были тем же самыми, что и в примере 1, и их описание здесь опущено.
Как и в примере 1, было измерено время задержки аннигиляции центров NBOHC, и при первой операции была определена зависимость (см. фиг.2) между этим временем задержки аннигиляции центров NBOHC и давлением разреженной газовой среды. Как показано на фиг.2, за счет установления давления разреженной газовой среды при первой операции равным, по меньшей мере, 0,01 кПа, но не большим, чем 76 кПа, имелась возможность уменьшить время задержки аннигиляции центров NBOHC до 5 часов или менее. В частности, за счет установления давления разреженной газовой среды равным, по меньшей мере, 0,01 кПа, но не большим, чем 51 кПа, имелась возможность уменьшить время задержки аннигиляции центров NBOHC до величины, не большей, чем 0 часов.
Пример 3
При второй операции оптическое волокно 2 было подвергнуто воздействию газа, содержащего дейтерий, при различных значениях давления газа, содержащего дейтерий, внутри реактора 1a, и при этой второй операции была определена зависимость между временем задержки аннигиляции центров NBOHC и давлением газа, содержащего дейтерий, внутри реактора 1a.
Пример 3 отличается от примера 1 следующими аспектами. При второй операции газ, содержащий дейтерий, который имеет концентрацию газообразного дейтерия, равную, по меньшей мере, 0,5%, но не большую, чем 5,0%, подают в реактор 1a таким образом, чтобы парциальное давление дейтерия внутри реактора 1a было равным 0,51 кПа и чтобы давление газа, содержащего дейтерий, внутри реактора 1a было равным, по меньшей мере, 10,1 кПа, но не большим, чем 304 кПа. Остальные условия были теми же самыми, что и в примере 1, и их описание здесь опущено.
При этом было измерено время задержки аннигиляции центров NBOHC, в результате чего за счет установления давления газа, содержащего дейтерий, внутри реактора 1a равным, по меньшей мере, 10,1 кПа, но не большим, чем 304 кПа, при второй операции, как и в примере 1, время задержки аннигиляции центров NBOHC составляло 0 часов. Таким образом, имелась возможность ликвидировать центры NBOHC на всем протяжении оптического волокна за короткое время воздействия.
Для снижения стоимости изготовления реактора 1a предпочтительно, чтобы при выполнении операции 2 давление газа, содержащего дейтерий, внутри реактора 1a было более низким, чем 203 кПа.
Пример 4
Этот пример отличается от примера 2 тем, что температура внутри реактора 1a была установлена равной, по меньшей мере, 5°C, но не большей, чем 50°C. Остальные условия были теми же самыми, что и в примере 1, и их описание здесь опущено.
Результаты, аналогичные результатам из примера 2, были получены даже в том случае, когда температура внутри реактора 1a была установлена равной, по меньшей мере, 5°C, но не большей, чем 50°C. Однако в том случае, когда температура в реакторе 1a превышает 50°C, может происходить ухудшение качества слоя покрытия из полимера на поверхности оптического волокна 2 из-за нагревания, в дополнение к чему может затрудняться регулирование температуры реактора 1a, что ставит под угрозу эффективность работы и т.п.
Пример 5
Используя устройство 4 для обработки оптического волокна, показанное на фиг.3, была выполнена обработка стекловолокна, при которой тот же самый газообразный дейтерий многократно возвращали обратно для того, чтобы подвергнуть оптические волокна 2, обработка которых еще не была произведена, воздействию газа, содержащего дейтерий, а затем была исследована зависимость между парциальным давлением газообразного дейтерия и количеством операций обработки, выполненных с использованием этого газа.
Описание последовательности операций здесь опущено, поскольку она была той же самой, что и в описанном выше варианте осуществления настоящего изобретения. Оптическое волокно, использованное в примере 5, имело оптические потери 0,27 дБ/км на длине волны 1,38 мкм и диаметр оболочки, равный 125 мкм.
При первой операции производилось понижение давления внутри реактора 1a, в котором было размещено оптическое волокно 2, до давления 0,1 кПа.
Затем при второй операции внутрь реактора 1a подавали газ, содержащий дейтерий, в котором парциальное давление газообразного дейтерия было равно 2,0 кПа. Этот газ, содержащий дейтерий, подавали до тех пор, пока давление внутри реактора 1a не стало равным 98 кПа, после чего была произведена герметизация реактора 1a. В этом состоянии оптическое волокно 2 было подвергнуто воздействию газа, содержащего дейтерий, в течение 12 часов. Температура внутри реактора 1a была установлена равной 25°C в течение времени, когда оптическое волокно 2 подвергалось воздействию газа, содержащего дейтерий.
Затем при третьей операции посредством насоса была осуществлена подача газа, находящегося в реакторе 1a, содержащего дейтерий, в резервуар для хранения дейтерия и давление внутри реактора 1a было уменьшено до 1,0 кПа, а затем был произведен возврат давления к атмосферному давлению.
При каждой обработке во время вышеуказанной второй операции измерялось парциальное давление дейтерия в газе, содержащем дейтерий, который подавали в реактор 4a. Газ, содержащий дейтерий, использовался многократно, и была определена зависимость между сохранением парциального давления дейтерия в газе, содержащем дейтерий, после обработки оптического волокна 2 и количеством операций обработки (см. фиг.4). Здесь термин “сохранение парциального давления дейтерия” относится к отношению парциального давления газообразного дейтерия при многократном использовании газа конкретное количество раз к парциальному давлению газообразного дейтерия только лишь при однократном использовании газа, выраженному в процентах.
Парциальное давление дейтерия сохранялось на уровне более 70% даже после 30 повторных операций обработки дейтерием, что являлось концентрацией, полностью способной обеспечивать аннигиляцию центров NBOHC в оптическом волокне 2. Центры NBOHC были фактически ликвидированы по всей длине всех оптических волокон, технологическая обработка которых дейтерием производилась в этом примере.
ПРОМЫШЛЕННАЯ ПРИМЕНИМОСТЬ
Настоящее изобретение может обеспечивать аннигиляцию центров <немостиковый кислород> – дырка (NBOHC) в оптическом волокне за короткое время воздействия с использованием газа, содержащего дейтерий с низкой концентрацией, позволяя таким образом получать оптические волокна с низкими потерями, которые могут быть использованы в качестве, например, оптических волокон для оптической связи в диапазоне длин волн 1,3 мкм или для аналогичных целей. В настоящем изобретении также предложен способ обработки оптического волокна, который способен обеспечивать равномерную обработку оптического волокна, намотанного на бобину, газом, содержащим дейтерий, за короткое время по всей его длине и устройство для обработки оптического волокна, которое может обеспечивать повторное использование газа, содержащего дейтерий, и может выполнять обработку оптического волокна газом, содержащим дейтерий, с низкими затратами.
Формула изобретения
1. Устройство для обработки оптического волокна, содержащее первое пространство, предназначенное для того, чтобы подвергнуть оптическое волокно воздействию газа, содержащего дейтерий, второе пространство для хранения газа, содержащего дейтерий, и третье пространство, предназначенное для соединения первого пространства и второго пространства, при этом упомянутое устройство имеет средство для подачи газа, находящееся в третьем пространстве.
2. Устройство по п.1, дополнительно содержащее устройство для создания разреженной газовой среды в первом пространстве, до подачи газа, содержащего дейтерий.
3. Способ обработки оптического волокна, в котором газ, содержащий дейтерий, может быть многократно использован для обработки оптического волокна, содержащий первую операцию создания разреженной газовой среды в пространстве, в котором находится оптическое волокно; вторую операцию подачи в это пространство газа, содержащего дейтерий, из резервуара для хранения дейтерия для того, чтобы подвергнуть оптическое волокно воздействию этого газа; третью операцию извлечения находящегося внутри этого пространства газа, содержащего дейтерий, в резервуар для хранения дейтерия; и повторение первой, второй и третьей операций.
4. Способ по п.3, в котором при первой операции в разреженной газовой среде внутри пространства устанавливают давление, равное, по меньшей мере, 0,01 кПа, но не большее, чем 75 кПа.
5. Способ по п.3, в котором при первой операции в разреженной газовой среде внутри пространства устанавливают давление, равное, по меньшей мере, 0,01 кПа, но не большее, чем 50 кПа.
6. Способ по п.3, в котором при второй операции оптическое волокно подвергают воздействию газа, содержащего дейтерий, при парциальном давлении газообразного дейтерия, равном, по меньшей мере, 0,1 кПа, но не большем, чем 5 кПа.
7. Способ по п.3, в котором при второй операции оптическое волокно подвергают воздействию газа, содержащего дейтерий, при давлении в упомянутом пространстве, равном, по меньшей мере, 10,1 кПа, но не большем, чем 203 кПа.
8. Способ по п.3, в котором при второй операции оптическое волокно подвергают воздействию газа, содержащего дейтерий, в течение промежутка времени, не превышающего один день.
9. Способ по п.3, в котором при второй операции оптическое волокно подвергают воздействию газа, содержащего дейтерий, при температуре не более 50°С.
РИСУНКИ
|
|