|
|
(21), (22) Заявка: 2004108862/03, 25.03.2004
(24) Дата начала отсчета срока действия патента:
25.03.2004
(30) Конвенционный приоритет:
26.03.2003 (пп.1-14) FR 03 03742
(43) Дата публикации заявки: 20.10.2005
(46) Опубликовано: 10.08.2008
(56) Список документов, цитированных в отчете о поиске:
ЕР 1167948 А, 02.01.2002. SU 928202 A1, 15.05.1982. SU 918430 A1, 07.04.1982. SU 1064187 A1, 30.12.1983. SU 1803819 A1, 23.03.1993. SU 1732237 A1, 07.05.1992. RU 2132560 C1, 27.06.1999. RU 21619 U1, 27.01.2002. RU 2181883 C1, 27.04.2002. RU 28181 U1, 10.03.2003. US 5832409 A, 03.11.1998. US 4253327 A, 03.03.1981.
Адрес для переписки:
129090, Москва, ул. Б.Спасская, 25, стр. 3, ООО “Юридическая фирма Городисский и Партнеры”, пат.пов. Ю.Д. Кузнецову, рег.№ 595
|
(72) Автор(ы):
ЛЕНОРМАН Ролан (FR), ЭЖЕРМАНН Патрик (FR), ТАМПЛИЕ Арно (FR)
(73) Патентообладатель(и):
ЭНСТИТЮ ФРАНСЭ ДЮ ПЕТРОЛЬ (FR)
|
(54) СПОСОБ И УСТРОЙСТВО ДЛЯ ОЦЕНКИ ФИЗИЧЕСКИХ ПАРАМЕТРОВ ПОДЗЕМНОГО МЕСТОРОЖДЕНИЯ ПОЛЕЗНЫХ ИСКОПАЕМЫХ НА ОСНОВЕ ИССЛЕДОВАНИЯ ОТОБРАННЫХ ИЗ ЭТОГО МЕСТОРОЖДЕНИЯ ФРАГМЕНТОВ ГОРНОЙ ПОРОДЫ
(57) Реферат:
Изобретение относится к нефтедобывающей промышленности и предназначено для исследования образцов горной породы, отобранной из пористой среды, раздробленной естественным или искусственным способом. Техническим результатом изобретения является повышение точности и простоты определения проницаемости и пористости породы за счет измерения объема поданной в камеру жидкости косвенным путем. Для этого измеряют пористость исследуемых фрагментов породы посредством тестирования давления гелия или любого другого газа в соответствии с известным протоколом. Камера фрагментов, которая содержит упомянутые фрагменты породы, соединяется с резервуаром известного объема, содержащим гелий под известным давлением. При равновесии давлений можно вывести величину твердого объема. Измеряют также огибающий объем фрагментов исследуемой породы и массу этих фрагментов. Комбинируя определенным образом эти измерения, определяют пористость исследуемых образцов породы, а также их плотность. Затем измеряют их проницаемость, погружая эти фрагменты в жидкость и соединяя камеру с жидкостью первоначально под определенным давлением, содержащейся в специальном резервуаре, чтобы сжать газ, заключенный в порах фрагментов исследуемой породы. Посредством моделирования изменения объема жидкости, подаваемой в камеру, и итеративной корректировки определяют величины упомянутых физических параметров. 2 н. и 12 з.п. ф-лы, 8 ил.
Настоящее изобретение касается способа и устройства для оценки с использованием одного и того же оборудования и в одно и то же время пористости и абсолютной проницаемости любой более или менее пористой среды, раздробленной естественным или искусственным образом, на основе исследования образцов горной породы, отобранных из этой среды. В данном случае речь может идти, например, о горных породах из зоны подземного месторождения текучих сред (месторождение углеводородного сырья, водоносный слой и т.п.) или, в случае необходимости, горных пород с очень малой проницаемостью, таких, например, как глины или сланцы. Речь идет, например, об образцах, полученных в процессе бурения скважин: пустая порода, полученная при бурении, или порода, полученная при дроблении более крупных образцов: кернов или боковых колонок образцов, отобранных в скважинах.
В контексте состояния нефтяной отрасли производители настойчиво интересуются новыми перспективными зонами месторождений (прибрежными или в открытом море), а также новыми типами месторождений (второстепенные структуры, располагающиеся в непосредственной близости от существующих скважин). Принимая во внимание затраты на бурение, связанные с тяжелыми условиями окружающей среды новых разведываемых месторождений или с ограниченными размерами некоторых структур, производители не могут позволить бурение дополнительных разведочных или оценочных скважин без риска поставить под сомнение экономическую осуществимость проекта. Таким образом, стратегия развития, принятая перед началом эксплуатации, должна быть менее строгой, чтобы иметь возможность приспосабливаться “в реальном времени” к характеру информации, собранной в процессе бурения эксплуатационных скважин. При этом говорят об оценочном развитии.
Нефтефизические измерения играют ключевую роль в оценке качества нефтяного резервуара. Однако задержки при указанном типе измерений часто бывают длительными и несовместимы с быстротой, необходимой для успеха разведки и оценки. Таким образом, ведутся поиски новых средств оценки, дающих результаты, необходимые для принятия соответствующих решений в более короткие сроки и при меньших затратах на их получение.
Фрагменты породы, полученные при бурении и поднятые на поверхность буровым раствором, уже на протяжении длительного времени являются объектом исследований на буровых площадках. Эти исследования выполняются группами специалистов, ответственных за анализ бурового раствора, и служат в основном для дополнения описания геологических слоев, проходимых в процессе бурения, осуществляемого на основе геофизического метода исследования скважин.
Известно, что проводились работы по оценке нефтефизических свойств исходя из фрагментов породы, полученных в процессе бурения. Например, проводились измерения акустических свойств для волн типа S и Р (сдвиг и сжатие). Были также исследованы другие параметры, такие как твердость и деформирование фрагментов породы или их пористость и проницаемость.
Известен способ для измерения проницаемости, в котором кусок породы предварительно покрывается оболочкой из смолы. Затем из этого покрытого оболочкой куска породы вырезают пластину небольшой толщины и помещают ее в измерительную камеру. Измерительная камера содержит средства, предназначенные для подачи в нее текучей среды под давлением с контролируемым расходом, а также средства измерения потери давления, создаваемой испытуемым образцом. Поскольку смола является непроницаемой, абсолютная проницаемость породы выводится из уравнения Darcy, принимая во внимание реальную поверхность, занимаемую фрагментами этой породы.
Указанный способ описан, например, в следующих публикациях: Santarelli F.J. и др. “Formation evaluation from logging on cuttings”, SPERE, июнь 1998, или Marsala А.F. и др. “Transient Method Implemented under Unsteady State Conditions for Low and Very Low Permeability Measurements on Cuttings”, SPE/ISRM, №47202, Тронхейм, 8-10 июля 1998 г.
Измерения такого типа могут быть осуществлены только в лабораторных условиях после выполнения продолжительных операций доведения исследуемых фрагментов до соответствующих кондиций.
Другой известный способ основан на измерении ЯМР (ядерного магнитного резонанса), которое осуществляется непосредственно на полученных из буровой скважины фрагментах породы после их промывки с последующим насыщением рассолом. Этот тип измерений дает пригодное для использования значение пористости. При этом проницаемость K определяется посредством соотношений того же характера, что и соотношения, применяемые в рамках геофизического метода исследования скважин с использованием ЯМР.
Указанный способ раскрыт в публикации Nigh Е. и др. Р-К “Wellsite Determination of Porosity and Permeability Using Drilling Cuttings”, CWLS Journal, том.13, №1, декабрь 1984.
Из патентной заявки ЕР 1167948 и патентных заявок FR 02/02242 и 03/00429 известны несколько систем и способов, предназначенных для оценки таких физических параметров, как абсолютная проницаемость пористых горных пород из зоны подземного месторождения на основе каменистых фрагментов этих пород, отобранных в исследуемой зоне и поднятых на поверхность вместе с буровым раствором. Эти способы содержат этап погружения фрагментов, содержащихся в замкнутой камере, в вязкую текучую среду и создание давления в этой камере, содержащей упомянутые фрагменты, таким образом, чтобы обеспечить сжатие газа, заключенного в порах этой породы.
Подают текучую среду под давлением, возрастающим с течением времени до некоторого определенного порогового значения, таким образом, чтобы сжать газ, заключенный в порах исследуемой породы. После фазы подачи текучей среды под давлением следует фаза релаксации с прекращением подачи этой текучей среды. Изменение давления в течение двух этих фаз регистрируется.
В соответствии с другим способом реализации камера, содержащая фрагменты горной породы, соединяется с резервуаром, содержащим вязкую текучую среду под определенным давлением. Поскольку этап этого соединения является очень коротким, обеспечивается быстрое повышение давления в камере и сжатие газа, содержащегося в порах горной породы, после чего происходит период релаксации, осуществляемый после изоляции данной камеры, и в этих условиях измеряют изменение давления в камере в процессе осуществления двух этих периодов.
В соответствии с еще одним способом реализации упомянутая камера, содержащая фрагменты горной породы, соединяется с резервуаром, содержащим вязкую текучую среду под определенным и постоянным давлением, чтобы вызвать быстрое и продолженное увеличение давления в камере и сжатие газа, содержащегося в порах горной породы, и измеряют изменение объема поданной текучей среды в функции времени.
При использовании любого из упомянутых способов было промоделировано изменение давления или объема текучей среды, поданной в камеру, на основе исходных величин, выбранных для физических параметров используемых фрагментов, причем компьютер обеспечивал итеративную корректировку этих параметров, чтобы обеспечить наилучшее совпадение смоделированной кривой изменения давления или объема с соответствующей реально измеренной кривой изменения давления или объема.
Задачей настоящего изобретения является создание способа оценки, при использовании одного и того же оборудования, физических параметров, таких как абсолютная проницаемость и пористость содержащей поры естественным или искусственным образом фрагментированной среды, на основе фрагментов породы, отобранных из исследуемой среды.
Указанный способ в соответствии с предлагаемым изобретением заключается в том, что погружают фрагменты породы, содержащиеся в замкнутой камере, в более или менее вязкую жидкость и периодически соединяют эту камеру с источником жидкости под давлением, содержащим резервуар с упругой жидкостью, чтобы обеспечить сжатие газа, находящегося в порах этой породы, измеряют объем поданной жидкости, моделируют изменение объема поданной жидкости на основе исходных величин, выбранных априори по меньшей мере для проницаемости и насыщения остаточным газом, и осуществляют итеративную корректировку величин физических параметров фрагментов породы, чтобы промоделированное изменение подаваемого в камеру объема текучей среды наилучшим образом коррелировалось с измеренным изменением объема этой текучей среды, поданной в камеру.
Предлагаемый способ характеризуется согласно изобретению тем, что на этапе погружения в жидкость фрагментов, содержащихся в замкнутой камере, измеряют объем поданной в камеру жидкости путем измерения сопутствующего изменения давления в резервуаре.
Этап моделирования может быть реализован на основе исходных выбранных априори величин также для пористости. Указанный способ также может содержать предварительный этап введения промытых и просушенных фрагментов породы в камеру удержания, которую прежде всего соединяют с резервуаром сжатого газа под некоторым давлением, чтобы определить твердый объем фрагментов с измерением огибающего объема и массы этих фрагментов с тем, чтобы вывести из этих данных характеристики пористости и плотности фрагментов породы. В этом случае этап моделирования содержит моделирование изменения объема поданной в камеру жидкости на основе выбранных априори исходных величин для проницаемости и насыщения остаточным газом, а также предварительно измеренной величины пористости.
В соответствии с одним из способов реализации сообщение камеры с резервуаром осуществляют так, чтобы вызвать быстрое возрастание давления в камере и сжатие газа, заключенного в порах исследуемой породы, с последующим периодом релаксации после изолирования камеры, для чего осуществляют измерение уровня изменения давления в камере в процессе выполнения двух этих последовательных фаз.
Можно загрузить камеру удержания, например, буровым шламом, фрагментами породы, полученными в результате дробления кернов, взятых в скважине, в частности кернов, полученных в результате бокового отбора проб из скважины, фрагментами породы, захваченными буровым раствором, предварительно очищенными фрагментами породы и т.д.
Устройство в соответствии с предлагаемым изобретением позволяет оценить такие физические параметры, как абсолютная проницаемость и пористость фрагментированной естественным или искусственным образом пористой среды типа зоны подземного месторождения, на основе фрагментов, отобранных в этой среде, и содержит систему обработки, камеру удержания для фрагментов, систему подачи жидкости в камеру, предназначенную для первоначального заполнения жидкостью камеры, содержащей фрагменты породы, и для реализации цикла, содержащего фазу подачи в эту камеру жидкости под давлением, причем система содержит резервуар, содержащий упругий объем жидкости, и средства, управляемые системой обработки и предназначенные для контроля присоединения этого резервуара к камере, содержащей фрагменты породы. Специальные средства используются для измерения давления в камере. Система обработки предназначена для моделирования изменения объема подаваемой жидкости на основе исходных величин, выбранных для физических параметров фрагментов породы, и для итеративной корректировки заданных величин этих физических параметров, чтобы смоделированное изменение физической величины наилучшим образом согласовывалось с измеренным изменением этой величины в камере.
Предлагаемое устройство характеризуется тем, что содержит средства измерения изменений давления в резервуаре, а также тем, что система обработки предназначена для расчета объема жидкости, подаваемой в камеру и поступающей из резервуара, на основе изменения давления, зафиксированного средствами измерения давления.
Предлагаемое устройство содержит резервуар для газа, который может быть присоединен к камере посредством клапана, прибор для измерения огибающего объема (типа пикнометра с порошком), предназначенный для определения пористости фрагментов, и средство для измерения массы фрагментов.
Упругий объем жидкости в резервуаре ограничен либо при помощи некоторого объема газа, причем в этом случае зависимость обеспечивается путем применения закона идеального газа, либо при помощи упругой мембраны или любого другого подвижного элемента, причем в этом случае зависимость обеспечивается при помощи предварительной калибровки деформаций или перемещений.
Предлагаемый способ оказывается удовлетворительным для весьма разнообразных горных пород в широком диапазоне проницаемости и пористости. Этот способ является также весьма точным вследствие того, что измерение объема поданной в камеру жидкости не осуществляется непосредственно, а выполняется косвенным образом путем измерения изменений давления в резервуаре, что можно сделать достаточно просто и с высокой точностью.
Принимая во внимание небольшое пространство, занимаемое устройством, простоту его использования, а также быстроту, с которой можно реализовать измерения и установление соответствия между теоретическими данными и экспериментально полученными результатами, предлагаемый способ особенно хорошо подходит к условиям буровой площадки. Таким образом, можно рассматривать измерения и их интерпретацию непосредственно на месте бурения и в очень короткие сроки и без измерений, общих с теми измерениями, которые необходимы для получения эквивалентных результатов при помощи лабораторных методов. Это обстоятельство открывает важные перспективы в смысле определения нефтефизических характеристик в области нефтедобычи и в гидрологии для оценки проницаемости, пористости, плотности горной породы и т.д., поскольку можно извлечь определенную пользу из этого нового источника информации в качестве основы для интерпретации результатов электрического каротажа и уточнить оценку скважины с точки зрения ее производительного потенциала. Это также открывает существенные перспективы в области определения нефтефизических характеристик любой другой фрагментированной естественным или искусственным образом пористой среды.
Другие характеристики и преимущества способа и устройства в соответствии с предлагаемым изобретением будут лучше поняты из приведенного ниже описания со ссылками на сопровождающие чертежи, на которых:
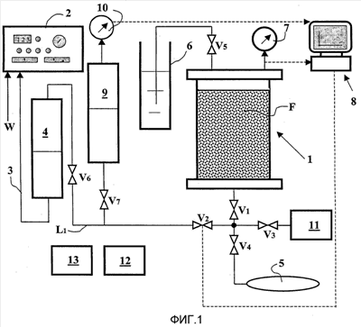
фиг.1 изображает схему предлагаемого устройства, согласно изобретению;
фиг.2 – схему фрагмента или частицы пористой горной породы, в которой моделируют эффекты впрыскивания жидкости с высокой вязкостью типа масла, согласно изобретению;
фиг. 3А и 3В – диаграммы изменения давления, измеренного в процессе тестирования с изменением объема подаваемой в камеру жидкости в функции соответствующего времени, рассчитанного на основе законов поведения идеального газа, согласно изобретению;
фиг. 4А-4С – диаграммы изменения объема подаваемой в камеру жидкости в функции времени, полученные на основе изменения давления в камере устройства, для трех различных образцов горной породы, согласно изобретению;
фиг.5 – диаграмму удовлетворительного соответствия между значениями проницаемости, полученными для нескольких типов горной породы при помощи классического способа измерения на отобранных из скважины образцах и при помощи способа в соответствии с предлагаемым изобретением;
фиг.6А-6С – диаграммы корректированных кривых смоделированного объема подаваемой в камеру жидкости по отношению к аналогичным кривым, полученным экспериментальным образом для трех выше упомянутых образцов горной породы, согласно изобретению;
фиг.7 – диаграмму удовлетворительного соответствия между величинами пористости (Ф или Phiс) фрагментов исследуемой горной породы и величинами пористости (Phis), которые получают для образцов или кернов в случае, когда итеративным образом одновременно корректируют используемые и принятые априори величины пористости и проницаемости, согласно изобретению;
фиг.8 – диаграмму результатов определения пористости фрагментов исследуемой горной породы в случае, когда экспериментальным образом предварительно измеряют пористость (Phiс) этих фрагментов, согласно изобретению.
Устройство для оценки физических параметров подземного месторождения полезных ископаемых, схематически представленное на фиг.1, содержит камеру 1 удержания, в которую сначала вводят фрагменты полученной при бурении породы. Система 2 впрыскивания жидкости сообщается при помощи трубопровода 3 с основанием буферного резервуара 4, содержащего некоторую более или менее вязкую жидкость, адаптированную к подлежащей измерению проницаемости, например масло. Противоположный конец буферного резервуара 4 сообщается при помощи клапана V6 с линией L1. Первый конец камеры 1 удержания сообщается с линией L1 при помощи двух клапанов V1, V2. Противоположный конец камеры 1 удержания сообщается при помощи клапана V5 изолирования с сепаратором 6. Манометр 7 присоединен к выходной части камеры 1 удержания. Изменения давления, измеренные манометром 7, регистрируются запоминающими средствами микропроцессора 8. Клапан V2 управляется непосредственно микропроцессором 8. Линия L1 также сообщается через клапан V7 с резервуаром 9, содержащим более или менее вязкую жидкость, находящуюся под определенным давлением при помощи газового колпака под давлением, гибкой мембраны или способного перемещаться элемента. Манометр 10 присоединен к выходной части резервуара 9. Изменения давления, которые измеряет манометр, также регистрируются микропроцессором 8.
Можно также использовать фрагменты породы, получаемые после очистки, откуда предварительно были удалены все текучие среды. В том случае, когда камеру 1 удержания загружают очищенными фрагментами, можно, открывая клапан V4, подавать газ, например гелий, поступающий из баллона 5, чтобы удалить воздух из камеры 1.
Камера 1 связана также с резервуаром 11 известного объема, заполненным гелием, при помощи клапанов V1 и V3. Камера 1 может быть связана с резервуаром 11, находящимся изначально под давлением, путем открытия клапана V1 или V3 при условии, что клапаны V2 и V4 закрыты.
Кроме того, предлагаемое устройство содержит весы 12 и прибор 13 типа пикнометра с порошком, который позволяет измерить огибающий объем введенных в камеру 1 фрагментов.
I) Измерение пористости
Определение пористости содержит этап получения экспериментальных измерений огибающего объема Ve введенных в камеру фрагментов, твердого объема Vs введенной горной породы и массы mе введенной горной породы, а также этап расчета пористости и плотности этой породы.
а) Проведение измерений
Сухие и очищенные фрагменты предварительно взвешиваются на весах 12 и их огибающий объем измеряется прибором 13. Затем фрагменты вводятся в камеру 1 удержания, которая содержит газовую атмосферу (например, атмосферу гелия) в результате соединения камеры 1 с резервуаром 5, чтобы удалить воздух. Затем камера 1 соединяется с резервуаром 11 известного объема, заполненным гелием, путем открытия клапанов V1 и V3, причем в этом случае клапаны V2 и V4 закрыты. Давление равновесия позволяет вывести величину твердого объема горной породы на основе исходных значений давления в камере 1 и в резервуаре 11, а также их объемов. Все эти измерения позволяют определить пористость исследуемых образцов. Плотность исследуемой горной породы также определяется путем измерения массы введенных в камеру фрагментов.
Огибающий объем Ve определяется при помощи пикнометра с порошком в соответствии с технологией, хорошо известной специалистам в данной области техники.
В последующем изложении будут использованы следующие условные обозначения: Р1 представляет собой исходное давление в камере 1, Ph представляет собой исходное давление в резервуаре 11, Ре представляет собой давление равновесия после установления сообщения, U1 представляет собой объем камеры 1, Vh представляет собой объем резервуара 11 и mc представляет собой массу используемых в данном случае фрагментов.
При этом Vs, ф и d обозначают соответственно твердый объем, пористость и плотность исследуемой горной породы.
Имеют место следующие соотношения:



На фиг.8 показано, что получают весьма удовлетворительную оценку пористости исследуемых горных пород.
II) Оценка проницаемости
Оценка абсолютной проницаемости содержит главным образом три этапа:
1) этап получения экспериментальных измерений величин изменения давления (или изменения объема поданной в камеру текучей среды), исходя из полученных при бурении фрагментов горной породы, дающих экспериментальные кривые;
2) этап моделирования физических явлений, происходящих в недрах полученных при бурении фрагментов на протяжении одного и того же эксплуатационного цикла, для произвольных величин искомых физических параметров (проницаемость K и пористость Ф), используемых в модели, что позволяет получить аналогичные теоретические кривые; и
3) этап корректировки или уточнения, на котором определяют величины, которые следует придать физическим параметрам, используемым в модели, чтобы экспериментальная и теоретическая кривые совместились наилучшим образом.
1) Проведение измерений
Камеру 1 заполняют той или иной более или менее вязкой жидкостью, причем вязкость жидкости адаптирована к подлежащей измерению проницаемости, например масло, глицерин, вода, любой вязкий водный раствор и т.п., или посредством системы подачи. При этом жидкость занимает свободное пространство между полученными при бурении фрагментами породы и проникает также путем спонтанного пропитывания внутрь этой породы. При этом происходит дегазация, интенсивность и продолжительность которой зависит от характера испытуемой породы (главным образом от пористости этой породы). Дегазация затрагивает только некоторую часть газа. При этом некоторый остаточный объем газа остается заключенным в полученных при бурении фрагментах породы в форме не связанных друг с другом скоплений.
Процедура состоит главным образом в присоединении камеры 1, содержащей фрагменты породы С, к резервуару 9, содержащему жидкость под давлением (Рini), путем открытия клапана V2, управляемого микропроцессором 8.
В исходном состоянии клапан закрыт. При этом со стороны резервуара 9 давление имеет величину, равную Рini, тогда как со стороны камеры 1 давление равно давлению окружающей среды. Клапан V2, управляемый процессором 8, открывается на несколько десятых долей секунды, чтобы обеспечить быстрое повышение давления в камере 1 до уровня Рmax. Упругость объема резервуара 9, обеспеченная при помощи газового колпака, гибкой мембраны, деформирующейся под действием изменения давления, или подвижного элемента, предварительно откалибрована таким образом, чтобы можно было измерять снижение давления на несколько бар в резервуаре 9 в процессе проведения испытаний. Это измеренное изменение давления позволяет легко рассчитать изменение объема жидкости, поданной из резервуара 9 в камеру 1, на основе закона поведения идеального газа (в случае, когда используется газовый колпак) или на основе калибровочной кривой (в случае, когда используется гибкая мембрана или поддающийся перемещению подвижный элемент).
По сравнению с процедурами, подробно описанными в упомянутых выше патентах, предлагаемый подход позволяет упростить развертывание эксперимента без использования расходомера или дифференциального датчика, предназначенного для введения, как в предшествующем уровне техники, в линию L1, связывающую резервуар с камерой удержания, для измерения объема поданной в камеру жидкости, сохраняя при этом удовлетворительный контроль за поданным в камеру объемом жидкости, что облегчает получение соответствующих измерений и интерпретацию полученных при помощи имитатора результатов. С другой стороны, устранение расходомера или дифференциального датчика, предназначенного для измерения поданного в камеру объема жидкости, позволяет:
существенно уменьшить размеры измерительного прибора, поскольку можно проводить измерение только с 1 см3 фрагмента;
укоротить линии связи между резервуаром 9 и камерой 1, что сокращает время создания давления в этой камере, содержащей фрагменты породы, и повышает чувствительность прибора. Можно, таким образом, тестировать фрагменты породы, имеющие средний диаметр порядка 1 мм для проницаемостей, доходящих до нескольких сотен миллидарси;
измерять очень малые изменения поданного в камеру объема жидкости (менее 0,03 см3 суммарно поданной жидкости), что трудно было реализовать при использовании расходомера или дифференциального датчика;
применять измерительный прибор для жидкостей переменной вязкости без необходимости адаптировать систему измерения подаваемого в камеру объема жидкости, что повышает эксплуатационную гибкость данного прибора.
На фиг.4А-4С представлены примеры кривых изменения поданного в камеру объема жидкости в функции времени для трех различных фрагментов горных пород. Здесь можно видеть существенные изменения кривых заполнения в зависимости от характера тестируемых фрагментов породы. При этом чем меньше проницаемость данной породы, тем наблюдается более медленная кинетика заполнения: более 80 секунд для наименее проницаемой из представленных пород (фиг.4А) и менее 2 секунд для наиболее проницаемой из представленных пород (фиг.4С).
На двух последующих этапах на основе измерений давления или объема поданной в камеру жидкости осуществляют оценку одной только проницаемости K (если предварительно измерена пористость, как об этом было сказано выше) или совместную оценку проницаемости K и пористости (Ф).
2) Моделирование
В данном случае полагают, что полученные при бурении фрагменты породы имеют однородные размеры и сферическую форму, и газ предполагается идеальным. Потеря напора газа является пренебрежимо малой по сравнению с потерей напора жидкости, принимая во внимание различие между значениями их вязкости. Остаточный газ, заключенный в исследуемых фрагментах породы после спонтанного смачивания жидкостью, представляется в форме разъединенных скоплений, распределенных гомогенным образом. Полагают также, что капиллярное давление в данном случае пренебрежимо мало.
Принимая во внимание сферическую форму фрагментов породы, говорят о куполе толщиной dr (фиг.2) и рассчитывают изменение давления на границе частицы породы, когда в камеру подается расход q жидкости.
Полагают, что N частиц породы принимают на себя общий расход Q поданной в камеру жидкости равномерным образом и что каждая частица получает расход:

Законы поведения идеального газа позволяют вывести значение локального насыщения газом Sg после того, как становится известным давление Р:

(Р0 представляет собой давление жидкости). В куполе устанавливают баланс материала на жидкости. Накопление равно разности между тем, что входит, и тем, что выходит. Отсюда получают:

Поскольку:

получают, что:

В то же время, поскольку:

(здесь K представляет собой проницаемость и о представляет собой вязкость жидкости) и капиллярное давление в данном случае может рассматриваться как пренебрежимо малое, что приводит к соотношению Р0=Рgaz=Р, предыдущее уравнение может быть записано в виде:

Из этого следует, что:

Таким образом получают классическую форму уравнения типа диффузии, но с членом 1/Р2, являющимся коэффициентом накопления, который происходит из сжимаемого характера газа.
В сферических координатах лапласиан равен:

Окончательно подлежащее решению уравнение записывается в следующем виде:

где:

В процессе размещения в камере жидкость вытесняет воздух в свободное пространство между фрагментами полученной при бурении породы и проникает в породу путем спонтанного смачивания. Несмотря на некоторые предосторожности, возможно, что будет оставаться некоторый объем газа, удерживаемый снаружи вследствие неправильной формы полученных при бурении фрагментов породы. Этот захваченный объем (Vgp) оказывает непосредственное влияние на общую форму реакции по давлению и должен быть принят во внимание при решении.
Также необходимо принимать во внимание некоторую сжимаемость жидкости в экспериментальном устройстве. Она обусловлена как камерой и линиями связи, так и свойствами жидкости. Наблюдаемая эквивалентная сжимаемость имеет величину порядка 0,0005 бар-1 (50 Па).
Поскольку используемая жидкость насыщена газом при атмосферном давлении, явления растворения происходят в том случае, когда давление повышается в процессе измерения. Эти аспекты принимаются во внимание путем введения параметра диффузии, выражающейся в обменах молекулами на уровне поверхностей раздела газ/жидкость.
Уравнение диффузии решается с использованием метода конечных разностей с определенно выраженной схемой и задавая граничные условия во времени Р(r,0)=Patm и в пространстве Р(R,t)=Pext, а также:

В рамках эксперимента, подробно описанного выше, непосредственно измеряют изменение давления в камере, содержащей фрагменты породы, то есть давление Pext. Таким образом можно непосредственно решить уравнение, описывающее изменение давления в исследуемой породе. Изменение объема поданной в камеру жидкости, моделируемое в функции времени, рассчитывается при помощи разности между объемом газа, первоначально присутствующим в исследуемой породе при давлении Patm, и объемом, занимаемым этим газом в момент времени t в процессе проводимого испытания в процессе фазы сжатия.
3) Коррекция модели по экспериментальным результатам
Модель загружают в вычислитель, например в микрокомпьютер 8 (фиг.1), в форме программного обеспечения, и вводят в контур итеративной оптимизации. Затем “прокручивают” загруженную модель с величиной проницаемости K и величиной насыщения остаточным газом, выбранными априори, задавая для величины пористости (Ф) значение, полученное экспериментальным образом, и сравнивают смоделированную таким образом кривую поданного в камеру объема жидкости с экспериментальной кривой и кривыми, полученными в результате последовательных итераций с изменением величины К и величины остаточного насыщения газом в модели. При этом определяют те кривые, которые позволяют наилучшим образом обеспечить совмещение теоретических кривых с экспериментальной кривой в соответствии с классическим способом оптимизации, например, методом Ньютона или градиентным методом.
В том случае, когда предварительно не выполняется экспериментальное измерение пористости (Ф), упомянутую модель “прокручивают” с величиной проницаемости K, величиной насыщения остаточным газом и величиной пористости, выбранными априори, и сравнивают смоделированную таким образом кривую поданного в камеру объема жидкости с экспериментальной кривой и кривыми, полученными в результате последовательных итераций с изменением величины K, величины пористости Ф и величины остаточного насыщения газом в модели. На фиг.7 показано, что получают удовлетворительную оценку пористости исследуемых горных пород.
Когда становится известной величина пористости, полученная в результате предварительного измерения, существует только одна величина K проницаемости, подлежащая уточнению на этапе моделирования. Вследствие этого моделирование выполняется очень быстро. Оно также является более точным, как это очень четко продемонстрировано на фиг.5.
На фиг.6А-6С представлено сравнение, полученное в результате последовательных итераций между теоретическими кривыми и экспериментальными кривыми для трех типов фрагментов исследуемой горной породы. Во всех этих случаях отмечается очень хорошее совпадение между результатами моделирования и экспериментальными результатами. При этом результаты, полученные с применением заявляемого способа, в полной мере сопоставимы с результатами, полученными в лабораторных условиях после длительного времени доведения исследуемой породы до соответствующих кондиций при помощи известных способов для нескольких типов пород с различной степенью проницаемости (фиг.5).
Программирование этой модели с использованием одного кода позволяет отрегулировать экспериментальные данные при помощи контура оптимизации, что дает возможность быстро вывести соответствующую величину K.
Формула изобретения
1. Способ оценки при использовании одного и того же оборудования, физических параметров – абсолютной проницаемости и пористости, содержащей поры, и естественным или искусственным образом фрагментированной среды подземного месторождения полезных ископаемых на основе фрагментов породы (F), отобранных из этой среды, заключающийся в том, что погружают фрагменты породы, содержащиеся в камере (1) удержания, в жидкость и периодически соединяют камеру с источником жидкости под давлением, содержащим резервуар (9) с упругой жидкостью, чтобы обеспечить сжатие газа, находящегося в порах фрагментов этой породы, измеряют объем поданной в камеру жидкости, моделируют изменение объема поданной жидкости на основе исходных величин, выбранных априори по меньшей мере для проницаемости (K) и насыщения фрагментов породы остаточным газом, осуществляют итеративную корректировку величин физических параметров фрагментов исследуемой породы, чтобы промоделированное изменение подаваемого в камеру объема жидкости наилучшим образом совпадало с измеренным изменением объема поданной в камеру жидкости, отличающийся тем, что при погружении в жидкость фрагментов исследуемой породы, содержащихся в замкнутой камере (1) удержания, измеряют объем поданной в камеру жидкости путем измерения сопутствующего изменения давления в резервуаре (9).
2. Способ по п.1, отличающийся тем, что осуществляют моделирование пористости (Ф) на основе исходных и выбранных априори величин.
3. Способ по п.1, отличающийся тем, что предварительно вводят промытые и просушенные фрагменты исследуемой породы в замкнутую камеру (1) удержания, которую прежде всего соединяют с резервуаром сжатого газа под определенным давлением, чтобы определить твердый объем фрагментов породы, измеряют огибающий объем и массу этих фрагментов и выводят из этих данных характеристики пористости (Ф) и плотности исследуемых фрагментов породы, причем при моделировании осуществляют моделирование изменения объема поданной в камеру жидкости на основе выбранных априори исходных величин для проницаемости (K) и насыщения остаточным газом, а также измеренной величины пористости (Ф).
4. Способ по п.1, отличающийся тем, что сообщают камеру удержания с резервуаром, чтобы вызвать в первый момент быстрое возрастание давления в этой камере и сжатие газа, заключенного в порах исследуемой породы, с последующим периодом релаксации после изолирования камеры, при этом осуществляют измерение степени изменения давления в камере в процессе двух этих периодов.
5. Способ по п.3, отличающийся тем, что сообщают камеру удержания с резервуаром, чтобы вызвать в первый момент быстрое возрастание давления в этой камере и сжатие газа, заключенного в порах исследуемой породы, с последующим периодом релаксации после изолирования камеры, при этом осуществляют измерение степени изменения давления в камере в процессе двух этих периодов.
6. Способ по любому из пп.1-5, отличающийся тем, что камеру удержания загружают буровым шламом.
7. Способ по любому из пп.1-5, отличающийся тем, что камеру удержания загружают фрагментами породы, полученными в результате дробления кернов, взятых в скважине, в частности, кернов, полученных в результате бокового отбора проб из скважины.
8. Способ по любому из пп.1-5, отличающийся тем, что камеру удержания загружают фрагментами породы, захваченными буровым раствором.
9. Способ по любому из пп.1-5, отличающийся тем, что камеру удержания загружают предварительно очищенными фрагментами породы.
10. Устройство оценки физических параметров – абсолютной проницаемости и пористости фрагментированной естественным или искусственным образом пористой среды подземного месторождения на основе фрагментов породы (F), отобранных из этой среды, содержащее систему (8) обработки, камеру (1) удержания фрагментов породы, систему подачи жидкости в камеру, предназначенную для первоначального заполнения этой камеры, содержащей фрагменты породы, и для реализации цикла, содержащего фазу подачи в камеру жидкости, при этом система содержит резервуар (9), имеющий упругий объем жидкости, и средства (V2), управляемые системой обработки и предназначенные для контроля присоединения резервуара (9) к камере (1) удержания, содержащей фрагменты породы, средства (7) для измерения давления в камере, причем система (8) обработки предназначена для моделирования изменения объема подаваемой в камеру жидкости на основе исходных величин, выбранных для физических параметров фрагментов исследуемой породы, и для итеративной коррекции выбранных величин этих физических параметров, чтобы смоделированное изменение физической величины наилучшим образом согласовывалось с измеренным изменением этой величины в камере, отличающееся тем, что устройство содержит средства (10) измерения изменений давления в резервуаре (9), а система (8) обработки предназначена также для расчета объема жидкости, подаваемой в камеру и поступающей из резервуара, на основе изменения давления, зафиксированного средствами (10) измерения давления.
11. Устройство по п.10, отличающееся тем, что содержит резервуар (11) для газа, который может быть присоединен к камере (1) посредством клапана (V3), прибор (13) для измерения огибающего объема, предназначенный для определения пористости фрагментов породы, и средство (12), предназначенное для измерения массы фрагментов.
12. Устройство по п.11, отличающееся тем, что средства, для измерения огибающего объема исследуемых фрагментов породы содержат пикнометр с порошком.
13. Устройство по п.11 или 12, отличающееся тем, что упругий объем жидкости в резервуаре (9) ограничен объемом газа, причем в этом случае упомянутая зависимость обеспечивается путем применения законов поведения идеального газа.
14. Устройство по п.11 или 12, отличающееся тем, что упругий объем жидкости в резервуаре (9) ограничен при помощи упругой мембраны или при помощи подвижного элемента, в этом случае упомянутая зависимость обеспечивается при помощи предварительной калибровки деформаций мембраны или перемещений подвижного элемента.
РИСУНКИ
|
|