|
|
(21), (22) Заявка: 2006117687/06, 25.09.2004
(24) Дата начала отсчета срока действия патента:
25.09.2004
(30) Конвенционный приоритет:
23.10.2003 DE 20316372.9
(43) Дата публикации заявки: 10.12.2007
(46) Опубликовано: 27.07.2008
(56) Список документов, цитированных в отчете о поиске:
US 5131694 А, 21.07.1992. DE 4136799 А, 13.05.1993. US 5131694 А, 21.07.1992. DE 4136799 А, 13.05.1993. GB 1124199 А, 21.08.1968. US 4350346 А, 21.09.1982. SU 1425406 А1, 23.09.1988.
(85) Дата перевода заявки PCT на национальную фазу:
23.05.2006
(86) Заявка PCT:
DE 2004/002143 (25.09.2004)
(87) Публикация PCT:
WO 2005/040661 (06.05.2005)
Адрес для переписки:
119034, Москва, Пречистенский пер., 14, стр.1, 4 этаж, “Гоулингз Интернэшнл Инк.”, В.Н.Дементьеву
|
(72) Автор(ы):
ХОЛЦХОЙ Петер (DE)
(73) Патентообладатель(и):
ФЕЙ ЛАМЕЛЛЕНРИНГЕ ГМБХ ЭНД КО. КГ (DE)
|
(54) ФЛАНЦЕВОЕ СОЕДИНЕНИЕ
(57) Реферат:
Изобретение относится к фланцевому соединению с одной как минимум плоской прокладкой, установленной между обращенными друг к другу поверхностями фланцев, находящихся под давлением рабочей среды аккумулирующих или проводящих элементов конструкции, таких как трубопроводы или резервуары. В направлении действия напора перед плоской прокладкой размещено как минимум одно плоское или тарельчатое кольцо, которое установлено в кольцевой канавке, прижимающееся за счет внутреннего напряжения к расположенной напротив кольцевой канавки в радиальном направлении поверхности с рабочим диаметром. Изобретение повышает надежность уплотнения фланцевого соединения. 10 з.п. ф-лы, 8 ил.
Уровень техники
Изобретение относится к фланцевому соединению с одной, как минимум, плоской прокладкой, установленной между обращенными друг к другу поверхностями фланцев, находящихся под давлением рабочей среды аккумулирующих или проводящих элементов конструкции, таких как трубопроводы или резервуары.
Подобные фланцевые соединения известны в современной технике, причем плоская уплотнительная прокладка служит для создания максимально возможного герметичного уплотнения фланцевого соединения от окружающей среды. Уплотнение фланцевого соединения, полностью исключающее или допускающее крайне незначительную утечку загрязняющих окружающую среду веществ, таких как, например, масла, кислоты или токсичные газы, приобретает на фоне возросшего экологического самосознания и ужесточившихся законодательных предписаний все более и более серьезное значение.
Однако подобным фланцевым соединениям часто присущ такой недостаток: из-за постоянного контакта с агрессивными и/или имеющими высокую температуру рабочими средами, протекающими по трубопроводу или содержащимися в резервуаре под давлением, материал плоских прокладок разлагается или растворяется, и через определенный промежуток времени прокладки требуют замены, сопряженной с высокими затратами на рабочую силу.
Целью настоящего изобретения является совершенствование конструкции фланцевого соединения упомянутого типа таким образом, чтобы его плоская уплотнительная прокладка обладала более высоким сроком службы и фланцевое соединение почти не требовало технического обслуживания.
Сущность изобретения
В направлении действия напора (если смотреть со стороны нагнетания в сторону выхода в атмосферу) перед плоской прокладкой размещено как минимум одно плоское кольцо, которое установлено в кольцевой канавке, прижимающееся за счет внутреннего напряжения к расположенной напротив кольцевой канавки в радиальном направлении поверхности с рабочим диаметром так, что зазор почти отсутствует. Под рабочим диаметром, сопряженным с наружной поверхностью плоских колец, подразумевают диаметр поверхности, которая расположена напротив кольцевой канавки, в которой установлено плоское кольцо, и по которой находящаяся под давлением рабочая среда могла бы протекать под действием напора, направленного со стороны нагнетания в сторону атмосферы.
Предварительное напряжение, созданное в плоском кольце, обеспечивает беззазорное уплотнение в месте контакта с поверхностью рабочего диаметра, в то время как между дном кольцевой канавки и внутренней поверхностью плоского кольца оставлен незначительный зазор. Поэтому принцип действия такого плоского кольца основан на принципе действия щелевых или лабиринтных уплотнений, т.е. оно отводит поток от поверхности рабочего диаметра ко дну канавки, где в результате наличия узкого, но проходимого зазора, возникает эффект дросселирования, на который затрачивается энергия давления. Следовательно, благодаря изменению потока и дросселированию плоское кольцо снижает высокий уровень давления до более низкого, препятствуя прохождению потока по поверхности рабочего диаметра.
Плоское кольцо действует как защитное уплотнение для расположенной за ним плоской уплотнительной прокладки и предохраняет ее от износа, в особенности от действия высокого давления, высокой температуры и агрессивных веществ, таких как кислоты или токсичные газы. Подобные плоские кольца изготавливаются из тонколистовой стальной ленты или полосы, а также из других материалов, они конструктивно просты и после монтажа занимают немного места как в осевом, так и в радиальном направлениях. Поэтому в существующих конструкциях фланцевых соединений они легко устанавливаются. Кроме того, они обладают необходимой теплостойкостью и прочны на излом, поэтому очень хорошо подходят для того, чтобы защищать плоскую уплотнительную прокладку от агрессивных и имеющих высокую температуру веществ.
Установка таких плоских колец согласно изобретению позволяет существенно продлить срок службы плоских уплотнительных прокладок. Учитывая тот факт, что, например, в технологических установках и в аппаратостроении часто имеется много фланцевых соединений, применение фланцевых соединений согласно изобретению может существенно снизить затраты на техническое обслуживание и стоимость последнего.
Предпочтительной является установка плоского кольца в кольцевую канавку с незначительным осевым зазором, что позволит компенсировать деформацию вследствие теплового расширения.
Имеется возможность установки нескольких плоских колец в одну кольцевую канавку в осевом направлении друг за другом, причем ввиду неоднократного изменения направления потока находящейся под давлением рабочей среды в созданном таким образом лабиринтном уплотнении будут оптимальные условия работы, если в пакете плоских колец хотя бы одно кольцо со стороны нагнетания и одно кольцо со стороны выхода в атмосферу будет прижато к поверхности рабочего диаметра и хотя бы одно плоское кольцо, расположенное в осевом направлении между вышеуказанными двумя кольцами, будет прижато внутренней поверхностью отверстия ко дну кольцевой канавки. Как и в лабиринтном уплотнении, поток рабочей среды затем последовательно несколько раз обогнет отдельные плоские кольца, что приведет к образованию турбулентных потоков и потерь на трение, в результате чего энергия давления истощится, выгодно повысив герметизирующий эффект. В случае применения нескольких установленных в кольцевой канавке плоских колец предпочтительно использовать кольца одного типа.
При этом можно, например, использовать одно или несколько одновитковых плоских колец с осевым замком (разрез в кольце) из плоской стальной ленты. Подобные одновитковые плоские кольца очень рентабельны в изготовлении и их давление при контакте на дно кольцевой канавки или на поверхность рабочего диаметра легко регулируется.
В другом варианте для установки в кольцевую канавку могут использоваться одновитковые тарельчатые плоские кольца из стальной ленты или полосы, которой придана форма тарельчатой пружины. Благодаря наличию угла наклона у плоских колец кромки стальной полосы или ленты могут под действием предварительного напряжения плотно прилегать к поверхностям кольцевой канавки как уплотнительные кромки, что также повышает герметизирующий эффект. Особенно предпочтительно их применение в случае, когда хотя бы одна пара составлена из двух плоских тарельчатых колец, обращенных вогнутой поверхностью в разные стороны в осевом направлении, так как в этом случае имеются две подобные уплотнительные кромки.
Согласно следующему варианту применяются плоские двухвитковые кольца, причем концы свитого вдвое плоского кольца в свободном его состоянии, отклоняясь от круглой формы остальной части кольца, выступают внутрь или наружу, а в рабочем (в сжатом или, соответственно, разжатом) состоянии двухвиткового плоского кольца они вписываются в данную окружность Выступающие внутрь или наружу за габариты сферической части концы затем работают таким образом, что витки в рабочем состоянии разжимаются или сжимаются соответственно. Круглая форма замкнутых двойных витков обеспечивает по всей окружности прочный контакт с дном кольцевой канавки или с поверхностью рабочего диаметра.
Если оба сопряженных фланцевым соединением конструктивных элемента имеют зону взаимного перекрытия цилиндрических поверхностей, образующуюся за счет того, что один из конструктивных элементов имеет в осевом направлении выступающий вперед цилиндрический бурт, который вставлен в дополнительную цилиндрическую расточку другого конструктивного элемента, внутренняя окружная поверхность которого образует поверхность рабочего диаметра, то радиальная кольцевая канавка может быть образована в выступающем вперед в осевом направлении цилиндрическом бурте того из двух конструктивных элементов, в котором устанавливается плоское кольцо (или несколько плоских колец).
Описание чертежей
Примеры воплощений изобретения представлены на чертежах и подробно объясняются в приведенном ниже описании. На чертежах показаны:
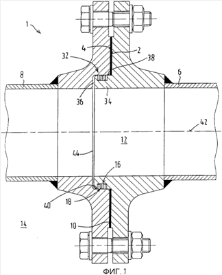
Фиг.1. Вид в сечении фланцевого соединения согласно изобретению в предпочтительном исполнении с тремя расположенными друг за другом в осевом направлении плоскими двухвитковыми кольцами.
Фиг.2. Отдельный вид сверху одного из двухвитковых плоских колец, показанных на Фиг.1, в свободном состоянии.
Фиг.3. Вид сбоку двухвиткового плоского кольца, показанного на Фиг.2.
Фиг.4. Отдельный вид сверху одного из двухвитковых плоских колец, показанных на Фиг.2, в рабочем состоянии.
Фиг.5. Выносной элемент в увеличенном масштабе вида в сечении на Фиг.1
Фиг.6. Выносной элемент в увеличенном масштабе следующего исполнения.
Фиг.7. Выносной элемент в увеличенном масштабе следующего исполнения.
Фиг.8. Выносной элемент в увеличенном масштабе следующего исполнения.
Примеры осуществления изобретения
На Фиг.1 представлено предпочтительное исполнение фланцевого соединения 1 согласно изобретению. В состав фланцевого соединения 1 входят плоская прокладка 10, установленная между обращенными друг к другу поверхностями 2, 4 фланцев двух находящихся под давлением рабочей среды аккумулирующих или проводящих элементов конструкции 6, 8. В отношении элементов конструкции речь может идти, например, о цилиндрической трубе газопровода 6, 8 или трубопровода, причем газ находится под избыточным по отношению к окружающей среде давлением. Однако можно представить также любое другое фланцевое соединение, например, предназначенное для крепления деталей резервуара. При этом фланцевое соединение может быть неподвижным или двигаться, например вращаться вместе с трубами. Уплотнительная прокладка 10 должна служить герметичным уплотнением, не пропускающим наружу газ, находящийся во внутреннем пространстве 12 трубы.
Согласно изобретению, если смотреть по направлению напора со стороны нагнетания с повышенным давлением во внутреннем пространстве 12 труб 6, 8 в сторону атмосферы 14 с пониженным давлением, перед плоской прокладкой размещено как минимум одно плоское кольцо 18, которое установлено в кольцевой канавке 16 и прижимается за счет предварительного напряжения к расположенной в радиальном направлении напротив кольцевой канавки 16 поверхности 40 с рабочим диаметром так, что зазор почти отсутствует. Предпочтительным здесь является то, что одно или несколько плоских колец 18 установлены в кольцевой канавке 16 с незначительным осевым зазором и параллельно плоскости поверхности фланцев 2, 4, предпочтительным является исполнение на Фиг.1 с тремя двухвитковыми плоскими кольцами 20, 22, 24, размещенными в кольцевой канавке друг за другом (Фиг.5).
Плоские двухвитковые кольца 20, 22, 24 выполняются предпочтительно из двух лежащих друг на друге слоев стальной ленты одинаковой ширины на всей длине или из ленты, изготовленной из другого металла. В качестве материала предпочтительно применение пружинной полосовой стали С75, СК60 или хромоникелевой стали N 1.4310, N 1.4571 или N 1.4980.
На Фиг.2 показано обращенное в сторону нагнетания, прижимающееся к поверхности 40 рабочего диаметра и потому распорное двухвитковое плоское кольцо 20, которое идентично двухвитковому плоскому кольцу 24, находящемуся со стороны атмосферы. У таких распорных двухвитковых плоских колец 20, 24 свободные концы 26, 28 двух витков в свободном состоянии двухвитковых плоских колец 20, 24, показанном на Фиг.2, отклоняясь от круглой формы остальной части кольца 20, выдаются внутрь. Под воздействием выступающих внутрь за пределы круглой формой концов 26, 28 витки двухвитковых плоских колец 20, 24 в рабочем состоянии разжимаются, прижимая кольцо к поверхности рабочего диаметра 40 почти без зазора. В рабочем состоянии двухвитковых плоских колец 20, 24 концы 26, 28 затем оказываются соосны с этой круглой формой, как показано на Фиг.4.
У стягивающего двухвиткового плоского кольца 22, прижимающегося ко дну кольцевой канавки 16, свободные концы двух витков в свободном состоянии двухвиткового плоского кольца 22, отклоняясь от круглой формы остальной части кольца 22, выступают наружу. Под воздействием выступающих наружу концов 26, 28 витки двухвиткового плоского кольца 22 в рабочем состоянии стягиваются в радиальном направлении, прижимаясь к поверхности дна кольцевой канавки 16 почти без зазора.
Чтобы получить плоскую, ровную торцевую поверхность без выступов, стальные полосы двухвитковых плоских колец 20, 22, 24 в зоне свободных концов 26, 28 имеют небольшой отогнутый участок 30 (Фиг.3).
Как показано на Фиг.1, обе трубы 6, 8 имеют зону 32 взаимного перекрытия цилиндрических поверхностей, образующуюся за счет того, что одна из труб 6 имеет выступающий вперед в осевом направлении цилиндрический бурт 34, который вставлен в дополнительную цилиндрическую расточку 36 другой трубы 8. Для установки трех двухвитковых плоских колец 20, 22, 24 в выступающем вперед в осевом направлении цилиндрическом бурте 34 трубы 6 образована кольцевая канавка 16, открытая в радиальном направлении наружу. Наружная цилиндрическая поверхность 38 бурта 34 и внутренняя цилиндрическая поверхность расточки 36 лежат при этом на воображаемой цилиндрической поверхности, ось которой совпадает с осью 42 трубы. Между торцевой поверхностью цилиндрического бурта 34 трубы 6 и кольцевым внутренним торцом расточки 36 другой трубы 8 имеется небольшой зазор 44 для компенсации в осевом направлении деформаций труб 6, 8 вследствие теплового расширения.
Под рабочим диаметром, сопряженным с наружной поверхностью плоских колец, подразумевают диаметр поверхности, которая расположена напротив кольцевой канавки 16, в которой установлены плоские кольца, и по которой находящаяся под давлением рабочая среда могла бы протекать под действием напора, направленного со стороны нагнетания в сторону атмосферы. Следовательно, в данном случае внутренняя цилиндрическая поверхность 40 расточки 36 другой трубы 8 образует поверхность рабочего диаметра, которая сжимает в радиальном направлении двухвитковые плоские кольца 20, 24.
Соответственно между другими расположенными по окружности поверхностями двухвитковых плоских колец 20, 22, 24 и дном кольцевой канавки 16 или поверхностью 40 рабочего диаметра имеется небольшой зазор 46. В результате этого образуется лабиринтное уплотнение. При этом газ, подаваемый под давлением во внутреннее пространство 12 труб 6, 8, оказывается в радиальном зазоре 44 и, в частности, у двухвиткового плоского кольца 20, находящегося со стороны нагнетания и прижимающегося за счет внутреннего напряжения к поверхности рабочего диаметра. За счет попеременной установки распорных и стягивающих двухвитковых плоских колец 20, 22, 24, прижимающихся к поверхности 40 рабочего диаметра и, соответственно, сжимающихся вокруг дна кольцевой канавки 16 и тем самым неизбежно связанным с этим чередованием в определенной последовательности положения свободного зазора 46 (внутри, снаружи, внутри), изменяется направление потока, главным образом в радиальном направлении, в результате которого достигается сильное дросселирование или, соответственно, значительная потеря давления, так что по поверхности рабочего диаметра 40 к плоской уплотнительной прокладке 10 прорывается совершенно незначительный объем газа или газ вообще не доходит до нее.
Для изменения направления потока, присущего лабиринтным уплотнениям, в числе нескольких установленных друг за другом в осевом направлении плоских колец должно использоваться как минимум одно плоское кольцо 20 со стороны нагнетания и одно плоское кольцо 24 со стороны выхода в атмосферу. Кольца за счет внутреннего напряжения прижимаются к поверхности 40 рабочего диаметра, а как минимум одно плоское кольцо 22, находящееся между этими двумя кольцами 20, 24, также за счет внутреннего напряжения прижимается ко дну кольцевой канавки 16.
На Фиг.6 показано следующее исполнение, в котором вместо трех двухвитковых плоских колец в кольцевой канавке 16 находится только одно двухвитковое плоское кольцо 48, прижимающееся за счет внутреннего напряжения к поверхности 40 рабочего диаметра, ширина которого соответствующим образом подобрана для того, чтобы обеспечить минимальный осевой зазор.
На Фиг.7 показано исполнение, при котором вместо трех двухвитковых плоских колец в кольцевой канавке 16 установлено три одновитковых плоских кольца 50, 52, 54 из плоской стальной полосы или ленты одинаковой ширины по всей длине или из другого металла. Легко можно представить, что такое одновитковое плоское кольцо 50, 52, 54 имеет между своими свободными концами замок, с помощью которого можно регулировать усилие давления кольца на поверхность 40 рабочего диаметра. Три одновитковых плоских кольца 50, 52, 54 все вместе являются, таким образом, распорными плоскими кольцами, прижимающимися за счет внутреннего напряжения к внутренней цилиндрической поверхности 40 расточки 36 другой трубы 8.
На фиг.8, наконец, представлено исполнение, в котором применяются два одновитковых конусообразных распорных плоских кольца 56, 58, прижимающихся за счет внутреннего напряжения к поверхности 40 рабочего диаметра, изготовленных из конусообразной по типу тарельчатой пружины стальной полосы или ленты, причем в кольцевой канавке 16 они установлены так, что обращены вогнутой поверхностью в разные стороны в осевом направлении. Благодаря наличию угла наклона у конусообразных плоских колец 56, 58 кромки стальной полосы или ленты могут стягиваться под действием усилия предварительного напряжения, плотно прилегая к поверхностям кольцевой канавки 16 как уплотнительные кромки.
Изобретение не ограничивается описанными исполнениями. Возможны и другие типы колец и сочетания различных плоских колец, установленных в одной кольцевой канавке.
Согласно другим исполнениям, не приведенным на чертежах, обе трубы 6, 8 могут иметь на своих концах осевое углубление по типу расточки 36, в которое отдельное, симметричное относительно своей средней плоскости кольцо входит в осевом направлении, которое снабжено двумя, расположенными в осевом направлении рядом друг с другом и на одном и том же диаметре кольцевыми канавками. Затем одна кольцевая канавка принадлежит поверхности рабочего диаметра одной трубы 6 и другая кольцевая канавка принадлежит поверхности рабочего диаметра другой трубы 8. В этом случае концы труб предпочтительно можно изготавливать по стандартной технологии.
Формула изобретения
1. Фланцевое соединение (1) как минимум с одной плоской прокладкой (10), установленной между обращенными друг к другу поверхностями (2, 4) фланцев, находящихся под давлением рабочей среды аккумулирующих или проводящих элементов конструкции (6, 8), таких как трубопроводы или резервуары, отличающееся тем, что перед плоской прокладкой в направлении действия напора размещено как минимум одно плоское или тарельчатое кольцо (20, 22, 24; 48; 50, 52, 54; 56; 58), которое установлено в кольцевой канавке (16), прижимающееся за счет внутреннего напряжения к расположенной напротив кольцевой канавки (16) в радиальном направлении поверхности (40) с рабочим диаметром.
2. Фланцевое соединение по п.1, отличающееся тем, что плоское кольцо (20, 22, 24; 48; 50, 52, 54; 56; 58) установлено в кольцевой канавке (16) с незначительным осевым зазором.
3. Фланцевое соединение по п.2, отличающееся тем, что плоское кольцо (20, 22, 24; 48; 50, 52, 54; 56; 58) установлено в кольцевой канавке (16) параллельно плоскости поверхности фланцев (2, 4).
4. Фланцевое соединение по любому из пп.1-3, отличающееся тем, что в кольцевой канавке (16) установлено несколько плоских колец (20, 22, 24; 48; 50, 52, 54; 56; 58) в осевом направлении друг за другом.
5. Фланцевое соединение по п.4, отличающееся тем, что как минимум одно кольцо (20) со стороны нагнетания и одно кольцо (24) со стороны выхода в атмосферу прижимаются за счет внутреннего напряжения к поверхности рабочего диаметра, а как минимум одно кольцо (22), находящееся между этими двумя кольцами (20, 24), прижимается за счет внутреннего напряжения ко дну кольцевой канавки (16).
6. Фланцевое соединение по п.1, отличающееся тем, что кольцо (50, 52, 54; 56; 58) является одновитковым плоским кольцом с осевым замком, изготовленным из плоской стальной ленты.
7. Фланцевое соединение по п.1, отличающееся тем, что кольцо является одновитковым кольцом (56; 58) тарельчатой формы из стальной ленты или полосы, которой придана форма тарельчатой пружины.
8. Фланцевое соединение по п.7, отличающееся тем, что как минимум одна пара колец составлена из двух тарельчатых колец (56; 58), обращенных вогнутой поверхностью в разные стороны в осевом направлении.
9. Фланцевое соединение по п.1, отличающееся тем, что кольцо является двухвитковым плоским кольцом (20, 22, 24) из плоской стальной полосы одинаковой ширины по всей длине или из другого металла, причем концы (26, 28) двухвиткового плоского кольца (20, 22, 24) в свободном его состоянии, отклоняясь от круглой формы остальной части кольца, выступают внутрь или наружу, а в рабочем состоянии двухвиткового плоского кольца (20, 22, 24) оказываются соосны с этой круглой формой.
10. Фланцевое соединение по п.1, отличающееся тем, что оба элемента конструкции (6, 8) имеют зону (32) взаимного перекрытия цилиндрических поверхностей, образующуюся за счет того, что один из элементов конструкции (6) имеет в осевом направлении выступающий вперед цилиндрический бурт (34), который вставлен в дополнительную цилиндрическую расточку (36) другого элемента конструкции (8), внутренняя окружная поверхность которого образует поверхность (40) рабочего диаметра.
11. Фланцевое соединение по п.10, отличающееся тем, что кольцевая канавка (16), открытая в радиальном направлении наружу, образована в выступающем в осевом направлении цилиндрическом бурте (34) элемента конструкции (6).
РИСУНКИ
|
|