|
|
(21), (22) Заявка: 2007102546/11, 23.01.2007
(24) Дата начала отсчета срока действия патента:
23.01.2007
(46) Опубликовано: 27.07.2008
(56) Список документов, цитированных в отчете о поиске:
RU 2226633 С1, 04.10.2004. RU 2152419 С1, 10.08.2000. GB 2018937 А, 24.10.1979. US 4760989, 02.08.1988.
Адрес для переписки:
424000, Республика Марий Эл, г.Йошкар-Ола, пл.Ленина, 3, Марийский ГТУ, ОИС
|
(72) Автор(ы):
Кудрявцев Игорь Аркадьевич (RU)
(73) Патентообладатель(и):
Государственное образовательное учреждение высшего профессионального образования Марийский государственный технический университет (RU)
|
(54) ЭЛЕКТРОПРИВОД
(57) Реферат:
Изобретение относится к области электропривода и может быть использовано для управления запорной арматурой магистральных нефтепроводов. Электропривод содержит ручной дублер и обеспечивает выходному звену самоторможение. Это достигается тем, что электропривод содержит двухступенчатый редуктор, в котором в качестве первой ступени применен червячный редуктор с корпусом, имеющим возможность расфиксации и являющимся поворотным элементом ручного дублера. Технический результат заключается в упрощении конструкции электропривода. 3 ил.
Изобретение относится к арматуростроению, в частности к трубопроводной арматуре, и может быть использовано для управления запорной арматурой магистральных нефтепроводов.
Известен электропривод арматуры (А.с. СССР 1672075), содержащий электродвигатель, редуктор с ручным дублером в виде штока и полумуфт сцепления и муфту ограничения крутящего момента в виде подпружиненной подвижной и неподвижной полумуфт, а также автоматический фиксатор положения муфты ограничения крутящего момента в виде подпружиненной подвижной втулки с хвостовиком, размещенной на подвижной полумуфте, и поворотного упора с двумя поверхностями контакта, закрепленного на оси на корпусе, причем одна поверхность контакта расположена под хвостовиком подвижной втулки с возможностью изменения точки контакта относительно оси, а другая поверхность – под подвижной полумуфтой.
Недостатком известного устройства является сложность конструкции.
Известен электропривод (Пат. RU 2154219), содержащий корпус, в котором расположены электродвигатель, редуктор, ручной дублер с неподвижной полумуфтой сцепления и муфта ограничения крутящего момента в виде подпружиненной подвижной и неподвижной полумуфт, снабженный преобразователем и соединенным с ним регистрирующим устройством, причем преобразователь кинематически связан с муфтой ограничения крутящего момента, подпружиненная подвижная полумуфта которой выполнена двусторонней и установленной с возможностью попеременного взаимодействия с соответствующими неподвижными полумуфтами ручного дублера и муфты ограничения крутящего момента.
Недостатком известного устройства является сложность конструкции.
Техническим результатом, который обеспечивается изобретением, является упрощение конструкции электропривода.
Указанный технический результат достигается тем, что электропривод содержит электродвигатель, двухступенчатый редуктор и ручной дублер, причем выходной ступенью редуктора является планетарно-цевочный редуктор, а входной ступенью редуктора является червячный редуктор, корпус которого выполнен с возможностью соосного вращения относительно корпуса планетарно-цевочного редуктора и стопорения, при этом на корпусе червячного редуктора установлена рукоятка ручного дублера.
Отличительными признаками в заявляемом изобретении в сравнении с прототипом является то, что выходной ступенью редуктора является планетарно-цевочный редуктор, а входной ступенью редуктора является червячный редуктор, корпус которого выполнен с возможностью соосного вращения относительно корпуса планетарно-цевочного редуктора и стопорения, при этом на корпусе червячного редуктора установлена рукоятка ручного дублера.
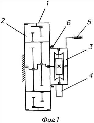
Конструкция электропривода поясняется чертежами, где
на фиг.1 изображена кинематическая схема электропривода,
на фиг.2 – кинематическая схема электропривода с приведенным в действие ручным приводом,
на фиг.3 – кинематическая схема электропривода, вариант исполнения.
Электропривод с выходным вращательным звеном 1 содержит двухступенчатый редуктор, выходная ступень которого представляет собой планетарно-цевочный редуктор 2, а входная ступень – червячный редуктор 3, кинематически связанный с электродвигателем 4, ручной дублер, представляющий собой рукоятку 5, закрепленную на корпусе червячного редуктора 3. Корпус червячного редуктора 3 связан с корпусом планетарно-цевочного редуктора 2 с возможностью соосного относительного вращения. Фиксация корпуса червячного редуктора 3 на корпусе планетарно-цевочного редуктора 2 осуществляется посредством фиксаторов 6, например, в виде винтов.
Электропривод работает следующим образом.
Вращение вала электродвигателя 4 преобразуется двухступенчатым редуктором в редуцированное вращение выходного звена 1 электропривода. При этом корпус червячного редуктора 3 должен быть зафиксирован относительно корпуса планетарно-цевочного редуктора 1. Для приведения в действие ручного дублера необходимо разфиксировать корпус червячного редуктора 3 относительно корпуса планетарно-цевочного редуктора 2 и отсоединить электропитание электродвигателя 4, при этом вращение от рукоятки 5 преобразуется выходной ступенью двухступенчатого редуктора в редуцированное вращение выходного звена 1 электропривода. При разных компоновочных схемах (фиг.3) выходное звено 1 электропривода меняет свое расположение.
Данный электропривод имеет простую конструкцию притом, что содержит ручной дублер и обеспечивает выходному звену самоторможение.
Формула изобретения
Электропривод, содержащий электродвигатель, двухступенчатый редуктор и ручной дублер, отличающийся тем, что выходной ступенью редуктора является планетарно-цевочный редуктор, а входной ступенью редуктора является червячный редуктор, корпус которого выполнен с возможностью соосного вращения относительно корпуса планетарно-цевочного редуктора и стопорения, при этом на корпусе червячного редуктора установлена рукоятка ручного дублера.
РИСУНКИ
|
|