|
|
(21), (22) Заявка: 2007100795/03, 09.01.2007
(24) Дата начала отсчета срока действия патента:
09.01.2007
(46) Опубликовано: 27.07.2008
(56) Список документов, цитированных в отчете о поиске:
КОПРИВИЦ Б. Применение каркасной системы ИМС для строительства жилых и общественных зданий. Жилищное строительство, N 1, 1984, с.30-32. RU 2085677 C1, 27.07.1997. RU 2001104547 А, 19.02.2001. RU 2250206 С1, 20.04.2005. GB 1084094 А, 20.09.1967. RU 2161598 С2, 10.01.2001. SU 918287 А, 07.04.1982.
Адрес для переписки:
308002, г.Белгород, пр-кт Б. Хмельницкого, 133в, ООО “СВОЙ ДОМ”, генеральному директору
|
(72) Автор(ы):
Шичкин Александр Иванович (RU), Рагозин Александр Николаевич (RU), Магомедов Муртазали Махулавович (RU), Нечаев Николай Демьянович (RU)
(73) Патентообладатель(и):
Общество с ограниченной ответственностью “СВОЙ ДОМ” (RU)
|
(54) СПОСОБ ВОЗВЕДЕНИЯ КАРКАСНЫХ ЗДАНИЙ С ПРЕДНАПРЯЖЕНИЕМ ВЫСОКОПРОЧНОЙ АРМАТУРЫ И УСТРОЙСТВО ДЛЯ ПРОГРЕВА ИНЪЕЦИРОВАННЫХ КАНАЛОВ В КОЛОННАХ КАРКАСА
(57) Реферат:
Изобретение относится к области строительства, в частности к каркасному зданию с преднапряжением арматуры и устройству для прогрева инъецированных каналов в колоннах каркаса. Технический результат заключается в ускорении процесса схватывания цементно-песчаного раствора в каналах, возможности проведения строительных работ в условиях пониженных температур. Электропрогрев песчано-цементной смеси в каналах колонн каркаса осуществляют с помощью электронагревательных элементов из одной или нескольких изолированных или нихромовых, или вольфрамовых, или углеволокнистых нитей накаливания, которые устанавливают перед инъецированием и придают им в каналах либо форму прямого участка, либо спирали, охватывающей по винтовой линии предварительно натянутые канаты. После инъецирования каналов колонн цементно-песчаной смесью электронагревательные элементы последовательно или параллельно подключают к источнику постоянного или переменного тока, при этом температуру каждого электронагревательного элемента в течение прогрева изменяют ступенчато в пределах 40-60, 60-80, 80-100°С. 2 н.п. ф-лы, 5 ил.
Изобретение относится к строительству жилых железобетонных каркасных зданий, а также общественного и производственного назначения, и может быть использовано при проведении инъецирования каналов в колоннах, через которые проходят предварительно натянутые канаты, с последующим электропрогревом в условиях пониженных температур.
Из технического уровня известен способ натяжения высокопрочной арматуры при возведении железобетонных каркасных зданий [П СФРЮ ВР 25-452, заявлен 07.12.1962], характеризующийся тем, что через специальные отверстия в колоннах и осевых швах между плитами перекрытий пропускают высокопрочные канаты. После горизонтального натяжения канатов производят инъецирование каналов с канатами в отверстиях колонн цементным раствором. После твердения этого раствора производят оттяжку преднапряженных канатов, а затем бетонируют все осевые швы с канатами. Инъецирование каналов в колоннах после натяжения канатов является важнейшей технологической операцией, от качества выполнения которой зависит качество сооружения всего здания. Однако на отверждение цементного раствора требуется значительное время, а в зимний период требуется дополнительный прогрев инъецированных каналов.
Из технического уровня известен способ прогрева бетона в опалубках, основанный на передаче тепловой энергии от теплоэлектронагревателей. Для повышения эффективности теплового воздействия на бетон за счет снижения теплопотерь теплоэлектронагреватели устанавливают в цилиндрических полостях на высоту бетонирования конструкции. Указанные полости образованы путем установки оставляемых элементов (труб), например из картона, до процесса укладки бетонной смеси. Для повышения долговечности нагревательных элементов ТЭНы помещают в металлический кожух (трубу) с заполнением пространства смесью песка с жидким стеклом торцы труб закрывают крышками, а после тепловой обработки полости заполняют бетонной смесью, что обеспечивает сохранение несущей способности конструкций [Заявка RU №96104195, публ. 1997.10.27].
Недостатком способа является его узкая функциональная возможность, сложность и трудоемкость.
Известен способ электропрогрева каменной кладки, заключающийся в размещении внутри кладки тепловыделяющих элементов в виде стальной неизолированной проволоки диаметром 0,1-0,2 мм, при этом проволоку размещают в горизонтальных швах каменной кладки [Заявка RU №2001104547, заявл. 2001.02.19].
Этот способ не может быть использован для прогрева инъецированных каналов из-за возможности короткого замыкания цепи на стальных канатах.
Известен способ электропрогрева бетона в зимних условиях. Способ включает прогревание с помощью электронагревательных матов и размещение на поверхности свежеотформованной бетонной смеси защитного покрытия. При этом перед размещением защитного покрытия на наружный слой свежеотформованной бетонной смеси наносят ряд насечек в произвольно выбранном порядке и утапливают в него смесь из просушенного мелкозернистого материала, после чего в качестве покрытия накладывают на этот наружный слой двойную склеенную по периметру пластмассовую пленку, верхняя часть которой выполнена сплошной, а нижняя часть перфорирована с площадью перфорации 30-40% [П RU №2250206, опубл. 20030825].
К недостаткам известного способа следует отнести сложность его реализации для прогрева каналов в колоннах каркаса.
В качестве прототипа выбран способ возведения каркаса железобетонных зданий по индивидуально-монтажной схеме [Копривиц Б. Применение каркасной системы ИМС для строительства жилых и общественных зданий. Жилищное строительство, №1, 1984, с.30-32].
Известный способ возведения каркаса железобетонных зданий, устанавливаемых с преднапряжением перекрытий, включает установку колонн с каналами для пропуска высокопрочной арматуры, установку перекрытий, натяжение высокопрочной арматуры и бетонирование швов с напряженной высокопрочной арматурой.
Недостатком способа является ограничение процесса возведения каркаса железобетонных изделий в период низких температур.
Задачей изобретения является создание способа возведения каркасных зданий с преднапряженной высокопрочной арматурой, работоспособного при низких температурах и устройства для электропрогрева цементно-песчаной смеси в каналах колонн каркаса.
Техническими результатами, которые могут быть получены при реализации изобретения, являются для способа:
– ускорение процесса схватывания цементно-песчаного раствора в каналах;
– возможность проведения строительных работ в зимних условиях;
– возможность управления процессом схватывания цементно-песчаного раствора;
– повышение прочности песчано-цементного раствора в каналах;
– возможность автоматизации процесса схватывания цементно-песчаного раствора в каналах,
для устройства:
– простота изготовления;
– надежность;
– возможность широкого использования независимо от количества инъецированных каналов;
– возможность подключения к любым источникам электрического тока.
Решение указанной задачи и достижение вышеперечисленных результатов стало возможным
для способа:
благодаря тому, что известный способ возведения каркасных зданий с преднапряжением высокопрочной арматуры в виде канатов, включающий предварительное натяжение канатов, проходящих через каналы колонн, подготовку цементно-песчаного раствора, инъецирование каналов цементно-песчанным раствором, дополнительно включает электропрогрев песчано-цементной смеси в каналах с помощью электронагревательных элементов из одной или нескольких изолированных или нихромовых, или вольфрамовых, или углеволокнистых нитей накаливания, которые устанавливают перед инъецированием и придают им в каналах либо форму прямого участка, параллельного предварительно натянутому канату, либо спирали, охватывающей по винтовой линии предварительно натянутые канаты, а после инъецирования каналов колонн цементно-песчаной смесью, электронагревательные элементы последовательно или параллельно подключают к источнику постоянного или переменного тока, при этом температуру каждого электронагревательного элемента в течение прогрева изменяют ступенчато в пределах 40-60, 60-80, 80-100°С,
для устройства:
благодаря тому что устройство для прогрева инъецированных каналов в колоннах каркаса оснащено датчиком температуры и электрическим реле, а электронагревательный элемент выполнен из одной или нескольких изолированных или нихромовых, или вольфрамовых, или углеволокнистых нитей накаливания, имеющих в полости канала или форму прямого участка, параллельного предварительно натянутому канату, или форму спирали, обвивающей каждый предварительно натянутый канат по винтовой линии с постоянным или переменным шагом навивки, а их концы или последовательно, или параллельно подключены к источнику электрического тока.
Заявляемая совокупность существенных признаков позволяет создать более надежный и более экономичный способ инъецирования каналов колонн в условиях пониженных температур.
Использование или вольфрамовых, или нихромовых, или углеволокнистой нитей накаливания позволяет расширить арсенал средств, применяемых для прогрева инъецированных каналов.
Последовательное или параллельное включение в электрическую цепь нагревательных элементов позволяет регулировать расход электрической энергии в наиболее экономических пределах.
Ступенчатое регулирование температуры нагревательных элементов в пределах 40-60°С, 60-80°С, 80-100°С и поддержание этих пределов температур в течение заданного промежутка времени стало возможным благодаря наличию датчика температуры и электрического реле, что позволяет создать наиболее благоприятные условия для схватывания цементно-песчаного раствора, создавая наиболее рациональный влажностно-температурный режим.
Одинаковая длина нитей накаливания нагревательных элементов во всех колоннах в силу их равного электрического сопротивления обеспечивает одинаковый температурный режим в каналах каждой колонны.
Использование цепей постоянного или переменного тока расширяет перечень используемых источников электрической энергии.
Заявляемое изобретение иллюстрируют следующие фигуры:
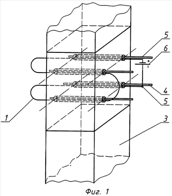
Фиг.1. Устройство для прогрева инъецированных каналов в колоннах каркаса: колонна, преднапряженная арматура в виде канатов, нить накаливания, источник тока, оксонометрия.
Фиг.2. Устройство для прогрева инъецированных каналов в колоннах каркаса: колонна, канал, натянутый канат, нить накаливания в канале параллельна натянутому канату, вертикальный разрез по оси канала.
Фиг.3. Устройство для прогрева инъецированных каналов в колоннах каркаса: колонна, канал, натянутый канат, нить накаливания в канале имеет форму спирали, вертикальный разрез по оси канала.
Фиг.4. Схема последовательного подсоединения нитей накаливания к электрической цепи переменного тока.
Фиг.5. Схема параллельного подсоединения нитей накаливания к электрической цепи переменного тока.
Заявляемое устройство для прогрева инъецированных каналов в колоннах каркаса включает одну или несколько изолированных нитей накаливания 1 (фиг.1), выполненных или из нихромового, или из вольфрамового, или из углеволокнистого материала. Нити накаливания 1 в области каналов 2, выполненных в колоннах 3, имеют или форму прямого участка 4 (фиг.2), или форму спирали, надетой на предварительно натянутый канат 5 (фиг.3). Концы нити накаливания 1 подсоединяют к источнику 6 постоянного или переменного тока. Нагревательные элементы 1 разных колонн 3 могут подсоединяться как последовательно (фиг.4), так и параллельно (фиг.5). Все нити накаливания 1, используемые при прогреве каналов 2 в группе колонн 3, имеют одинаковую длину и одинаковое электрическое сопротивление.
Способ возведения каркасного здания с преднапряжением каркасной арматуры осуществляют следующим образом. Сооружают каркас здания (не показан), осуществляют предварительное натяжение канатов 5. Устанавливают в полостях каналов 2 в колоннах 3 электронагревательные элементы, состоящие из одной или нескольких или вольфрамовых, или нихромовых, или углеволокнистых нитей накаливания 1 и подключают к источнику 6 тока. Инъецируют цементно-песчаный раствор в полости каналов 2 колонн 3. При пониженной температуре воздуха подают к электронагревателям постоянный или переменный ток. Нагревают нити накаливания 1 от 40 до 60°С и предварительно прогревают цементно-песчаную смесь в канале 3. Под действием повышенной температуры создаются благоприятные условия для схватывания раствора и набора прочности цементного камня. Через промежуток времени температуру нити накаливания 1 повышают до 60-80°С, аналогично выдерживают, а затем окончательно повышают ее до 80-100°С и поддерживают температуру в этом интервале до набора заданной прочности цементного камня.
Практическую применимость изобретения показывают следующие примеры конкретного исполнения.
Пример 1.
При сооружении каркаса здания и натяжения канатов в каналах колонн устанавливают нагревательные элементы, состоящие из одной изолированной нихромовой нити накаливания, имеющей форму спирали в полостях каналов, через которую проходит предварительно натяженный канат. Затем концы каждой нити накаливания по пяти колоннам последовательно соединяют в цепь и подсоединяют к источнику переменного тока с напряжением 220 В через автотрансформатор. Устройство снабжено датчиком температуры и электрическим реле. Температура воздуха (-5°С).
Для измерения температуры нити накаливания используют лазерный дистанционный термометр. Меняя сопротивление в автотрансформаторе устанавливают температуру нити накаливания 37°С, которую выдерживают 2 часа, затем через 2 часа повышают температуру до 61°С и повторно выдерживают 2 часа. После этого температуру повышают до 85°С и поддерживают в течение 8 часов. Затем отключают электрический ток. В результате получено надежное сцепление цементно-песчаного камня со стенками каналов и натянутыми канатами.
Пример 2.
По примеру 1. Вместо изолированной нихромовой нити накаливания использована неизолированная. В процессе нагревания произошло короткое замыкание и цепь разомкнулась.
Пример 3.
По примеру 1. В связи с недостаточным диаметром канала намотать вольфрамовую нить накаливания вокруг натянутого каната невозможно. В этом случае взяли несколько объединенных вольфрамовых нитей и расположили их параллельно натянутому канату. Нагрев достаточен для поддержания заданного температурного режима.
Пример 4.
По примеру 1. В качестве нагревательного элемента выбрана углеволокнистая нить накаливания. Прогрев цементно-песчаной смеси в каналах ведут сразу при 105°С. В результате интенсивного испарения воды из цементно-песчаного раствора не произошло его полное схватывание, в результате чего получается рыхлый цементный камень с низкими прочностными свойствами.
Пример 5.
По примеру 1. Изолированные нихромовые нити накаливания подсоединяют параллельно к источнику постоянного тока с напряжением 36 В. Прогрев осуществляют ступенчато в течение 10 часов. Сформированный цементный камень обладает высокими прочностными характеристиками.
Пример 6.
По примеру 1. Изолированную вольфрамовую нить накаливания нагревают до 18°С. Длительность процесса схватывания цементно-песчаного раствора составила 19 часов.
Как видно из примеров 1, 3, 4, заявляемая совокупность существенных признаков основного пункта заявляемого изобретения, а также дополнительных пунктов позволяет получить такие результаты, как ускорение процесса схватывания цементно-песчаного раствора в каналах, возможность проведения строительных работ в зимних условиях; возможность управления процессом схватывания цементно-песчаного раствора, повышение прочности песчано-цементного раствора в каналах, возможность автоматизации процесса схватывания цементно-песчаного раствора в каналах, а также достичь простоты изготовления устройства, обеспечить его надежность, возможность широкого использования независимо от количества инъецированных каналов и возможность подключения к любым источникам электрического тока.
Формула изобретения
1. Способ возведения каркасных зданий с преднапряжением высокопрочной арматуры в виде канатов, включающий предварительное натяжение канатов, проходящих через каналы колонн, подготовку цементно-песчаного раствора, инъецирование каналов цементно-песчаным раствором, отличающийся тем, что он дополнительно включает электропрогрев песчано-цементной смеси в каналах с помощью электронагревательных элементов из одной или нескольких изолированных или нихромовых, или вольфрамовых, или углеволокнистых нитей накаливания, которые устанавливают перед инъецированием и придают им в каналах либо форму прямого участка, параллельного предварительно натянутому канату, либо спирали, охватывающей по винтовой линии предварительно натянутые канаты, а после инъецирования каналов колонн цементно-песчаной смесью, электронагревательные элементы последовательно или параллельно подключают к источнику постоянного или переменного тока, при этом температуру каждого электронагревательного элемента в течение прогрева изменяют ступенчато в пределах 40-60, 60-80, 80-100°С.
2. Устройство для прогрева инъецированных каналов в колоннах каркаса характеризуется тем, что оно оснащено датчиком температуры и электрическим реле, а электронагревательный элемент выполнен из одной или нескольких изолированных или нихромовых, или вольфрамовых, или углеволокнистых нитей накаливания, имеющих в полости канала или форму прямого участка, параллельного предварительно натянутому канату, или форму спирали, обвивающей каждый предварительно натянутый канат по винтовой линии с постоянным, или переменным шагом навивки, а их концы или последовательно, или параллельно подключены к источнику электрического тока.
РИСУНКИ
|
|