|
|
(21), (22) Заявка: 2007114480/11, 17.04.2007
(24) Дата начала отсчета срока действия патента:
17.04.2007
(46) Опубликовано: 27.07.2008
(56) Список документов, цитированных в отчете о поиске:
JP 2006193058 А, 27.07.2006. SU 1344649 А1, 15.10.1987. KR 20050012979 А, 02.02.2005. KR 20020092528 А, 12.12.2002.
Адрес для переписки:
390014, г.Рязань, Рязанский военный автомобильный институт имени генерала армии В.П. Дубынина, А.Д. Герасимову
|
(72) Автор(ы):
Бугаёв Сергей Васильевич (RU), Васильченков Василий Федорович (RU), Гуськов Александр Юрьевич (RU), Борсук Павел Васильевич (RU)
(73) Патентообладатель(и):
Рязанский военный автомобильный институт имени генерала армии В.П. Дубынина (RU)
|
(54) УСТРОЙСТВО ЖИДКОСТНОГО ОХЛАЖДЕНИЯ АВТОМОБИЛЬНЫХ ШИН
(57) Реферат:
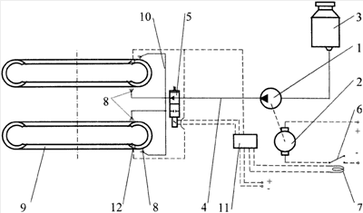
Изобретение относится к области транспортного машиностроения, в частности, может использоваться в ходовой части колесных транспортных средств. Устройство жидкостного охлаждения автомобильных шин (9) содержит гидронасос (1) с электроприводом (2), подключенный к емкости (3) с охлаждающей жидкостью и к магистрали (4) подачи охлаждающей жидкости к тормозным механизмам, в которую встроен нормально закрытый электромагнитный клапан (5). Электропривод (2) гидронасоса (1) соединен с источником питания посредством выключателя (6), имеющего управление от электромагнита (7). В устройство установлен нормально закрытый электромагнитный клапан (5) с дополнительным выходом, а также введены форсунки (8) для охлаждения автомобильных шин (9), соединенные с дополнительным выходом нормально закрытого электромагнитного клапана (5) магистралью (10). Открытие дополнительного выхода управляется пороговым устройством (11), подключенным к датчикам (12) температуры, расположенным в зоне боковины шины (9) на границе с беговой дорожкой. Пороговое устройство (11) включено в цепь питания электромагнита (7). Технический результат направлен на предотвращение теплового разрушения шин при движении на высоких скоростях, на повышение долговечности шин и безопасности движения. 1 ил.
Изобретение относится к области транспортного машиностроения, в частности, может использоваться в ходовой части колесных транспортных средств.
Известно транспортное средство, содержащее тормозные механизмы, устройство жидкостного охлаждения тормозных механизмов, электрическую систему сигнализации и стеклоомыватель, включающий резервуар с жидкостью, насос и электродвигатель привода насоса, электрически связанный с источником питания через выключатель, в магистрали, сообщающей насос со стеклоомывателем, установлен двухпозиционный электромагнитный клапан, вход которого соединен с насосом, нормально открытый выход со стеклоомывателем, нормально закрытый выход с устройством охлаждения тормозных механизмов через нормально закрытый электромагнитный клапан, причем электромагнит двухпозиционного клапана подключен к цепи сигнализации торможения, электромагнит нормально закрытого клапана – к пороговому устройству, электрически связанному с источником питания и датчикам температуры тормозных механизмов, а включатель снабжен электромагнитным приводом включения, подключенным к цепи сигнализации торможения (патент СССР №1257006, МПК В60Т 5/00, 1986).
Недостатком данной конструкции является невозможность снижения температуры шин с ее помощью.
Наиболее близким техническим решением, выбранным в качестве прототипа, является объединенная система жидкостного охлаждения тормозов и стеклоомывателя, содержащая гидронасос с электроприводом, подключенный к магистрали для подачи жидкости в стеклоомыватель и к магистрали для подачи жидкости к тормозным механизмам, в которую встроен нормально закрытый электромагнитный клапан, обмотка которого подключена к источнику питания через пороговое устройство, подключенное к датчикам температуры в тормозных механизмах, а электропривод насоса соединен с источником питания посредством выключателя, имеющего управления от рычага и электромагнита, а также она снабжена краном, установленным в магистрали для подачи жидкости в стеклоомыватель и связанным с рукояткой, и дополнительным пороговым устройством с более низким порогом срабатывания, включенным в цепь питания электромагнита и подключенным к датчикам температуры (патент СССР №1344649, МПК В60Т 5/00, 1987).
Недостатком данной конструкции является то, что известное устройство позволяет снизить температуру только тормозных механизмов, а при эксплуатации колесного транспортного средства в результате циклической деформации шин из-за потерь на внутреннее трение в материале шины наблюдается повышение ее температуры, что снижает долговечность шин [1], кроме того, при высоких скоростях движения температура шин увеличивается вплоть до их теплового разрушения [2].
Технический результат направлен на предотвращение теплового разрушения шин при движении на высоких скоростях, повышение долговечности шин и безопасности движения.
Технический результат достигается тем, что устройство жидкостного охлаждения автомобильных шин, содержащее гидронасос с электроприводом, подключенный к емкости с охлаждающей жидкостью и к магистрали подачи жидкости к тормозным механизмам, в которую встроен нормально закрытый электромагнитный клапан, электропривод гидронасоса соединен с источником питания посредством выключателя, имеющего управление от электромагнита, при этом в устройство установлен нормально закрытый электромагнитный клапан с дополнительным выходом, а также введены форсунки для охлаждения автомобильных шин, соединенные с дополнительным выходом нормально закрытого электромагнитного клапана магистралью, причем открытие дополнительного выхода управляется пороговым устройством, подключенным к датчикам температуры, расположенным в зоне боковины шины на границе с беговой дорожкой, пороговое устройство включено в цепь питания электромагнита.
Отличительными признаками от прототипа является то, что в устройстве жидкостного охлаждения автомобильных шин установлен нормально закрытый электромагнитный клапан с дополнительным выходом, а также введены форсунки для охлаждения автомобильных шин, соединенные с дополнительным выходом нормально закрытого электромагнитного клапана магистралью, причем открытие дополнительного выхода управляется пороговым устройством, подключенным к датчикам температуры, расположенным в зоне боковины шины на границе с беговой дорожкой, пороговое устройство включено в цепь питания электромагнита.
Сопоставительный анализ заявляемого решения и выбранного в качестве прототипа показывает, что предлагаемое устройство жидкостного охлаждения автомобильных шин позволяет снизить температуру шин при движении на высоких скоростях, тем самым улучшить параметры внутреннего рабочего процесса шины.
На чертеже показано устройство жидкостного охлаждения автомобильных шин. Устройство состоит из гидронасоса 1 с электроприводом 2, подключенным к емкости 3 с охлаждающей жидкостью и к магистрали 4 подачи жидкости к тормозным механизмам, в которую встроен нормально закрытый электромагнитный клапан 5, электропривод 2 гидронасоса 1 соединен с источником питания посредством выключателя 6, имеющего управление от электромагнита 7, нормально закрытый электромагнитный клапан 5 имеет дополнительный выход, также введены форсунки 8 для охлаждения автомобильных шин 9, соединенные с дополнительным выходом нормально закрытого электромагнитного клапана 5 магистралью 10, причем открытие дополнительного выхода управляется пороговым устройством 11, подключенным к датчикам температуры 12, расположенным в зоне боковины шины 9 на границе с беговой дорожкой, пороговое устройство 11 включено в цепь питания электромагнита 7.
Устройство жидкостного охлаждения автомобильных шин работает следующим образом. В процессе движения колесного транспортного средства температура шин 9 повышается, электрический сигнал от датчиков температуры 12 поступает в пороговое устройство 11. При достижении шинами 9 температуры 100°С (температура выбрана согласно [1]) пороговое устройство 11 подает электрический ток на электромагнитный клапан 5, который соединяет через дополнительный выход магистраль 10 и магистраль 4, подключенную к гидронасосу 1, пороговое устройство 11 подает электрический ток на электромагнит 7. В результате контакты выключателя 6 источника питания электропривода 2 замыкаются, электропривод 2 соединяется с источником питания и приводит в действие гидронасос 1, который подает охлаждающую жидкость из емкости 3 через магистраль 4, открытый дополнительный выход электромагнитного клапана 5, магистраль 10 и форсунки 8 на боковины шины. В процессе конвективного теплообмена между охлаждающей жидкостью и поверхностью шины, а также при испарении жидкости происходит охлаждение шины. Охлаждение шины приводит к снижению электрического сигнала от датчиков температуры 12, вследствие чего пороговое устройство 11 обесточивает электромагнитный клапан 5 и электромагнит 7, выключатель 6 питания электропривода 2 и гидронасос 1 перестает подавать охлаждающую жидкость в магистраль 4.
Организация рабочего процесса шин с помощью указанного устройства приводит к улучшению тепловых условий их работы и, как следствие, к повышению долговечности шин и предотвращению их теплового разрушения при движении на высоких скоростях за счет снижения температуры шин при достижении критического значения.
Использованные источники
1. В.И.Кнороз. Работа автомобильной шины. – М.: Транспорт, 1976 г. – 114 с.
2. Отчет о НИР «Разработка типажа шин для серийных и перспективных образцов ВАТ». Итоговый отчет по этапу 8. ФГУП 21 НИИИ AT МО РФ г.Бронницы. Инв. №8560 2002 г. – 139 с.
Формула изобретения
Устройство жидкостного охлаждения автомобильных шин, содержащее гидронасос с электроприводом, подключенный к емкости с охлаждающей жидкостью и к магистрали подачи охлаждающей жидкости к тормозным механизмам, в которую встроен нормально закрытый электромагнитный клапан, электропривод гидронасоса соединен с источником питания посредством выключателя, имеющего управление от электромагнита, отличающееся тем, что в устройство установлен нормально закрытый электромагнитный клапан с дополнительным выходом, а также введены форсунки для охлаждения автомобильных шин, соединенные с дополнительным выходом нормально закрытого электромагнитного клапана магистралью, причем открытие дополнительного выхода управляется пороговым устройством, подключенным к датчикам температуры, расположенным в зоне боковины шины на границе с беговой дорожкой, пороговое устройство включено в цепь питания электромагнита.
РИСУНКИ
MM4A – Досрочное прекращение действия патента СССР или патента Российской Федерации на изобретение из-за неуплаты в установленный срок пошлины за поддержание патента в силе
Дата прекращения действия патента: 18.04.2009
Извещение опубликовано: 20.09.2010 БИ: 26/2010
|
|