|
|
(21), (22) Заявка: 2003136343/11, 15.12.2003
(24) Дата начала отсчета срока действия патента:
15.12.2003
(43) Дата публикации заявки: 20.05.2005
(46) Опубликовано: 27.07.2008
(56) Список документов, цитированных в отчете о поиске:
GB 339081 А, 04.12.1930. GB 162690 А, 12.05.1921. Автотракторные колеса. Справочник./ Под ред. И.В.Балабина. – М.: Машиностроение, 1985, с.79, р.2.1.
Адрес для переписки:
150003, г.Ярославль, ул. Республиканская, 32, кв.45, П.В. Курманову
|
(72) Автор(ы):
Курманов Павел Васильевич (RU)
(73) Патентообладатель(и):
Курманов Павел Васильевич (RU)
|
(54) КОЛЕСО С РАЗЪЕМНЫМ ОБОДОМ
(57) Реферат:
Изобретение относится к машиностроению и может быть использовано в конструкции колес с разъемным ободом для транспортных средств. Колесо выполнено из двух оснований, связанных между собой. Основания обода охвачены друг другом и соединены между собой при помощи нескольких Г-образных пазов, выполненных на одном основании обода в осевом направлении, и по меньшей мере одного пальца, закрепленного на другом основании обода. На одном основании обода по окружности может быть выполнено несколько идентичных Г-образных пазов, а на другом закреплено такое же количество пальцев. Технический результат – изменение ширины колеса для малоразмерной «запаски» и в зависимости от состояния дороги. 2 з.п. ф-лы, 3 ил.
Изобретение относится к машиностроению, в частности к конструкциям колес с разъемным ободом для транспортных средств.
Известны колеса с разъемным ободом, в которых основания обода жестко связаны между собой, что не позволяет изменять ширины колеса, см. Автотракторные колеса: Справочник / Под общ. ред. И.В. Балабина. – М.: Машиностроение, 1985, рис.2.1, стр.79.
Цель изобретения – изменение ширины колеса.
Поставленная цель достигается тем, что колесо с разъемным ободом, выполненным из двух оснований, связанных между собой, отличающееся тем, что основания обода охвачены друг другом и соединены между собой при помощи нескольких Г-образных пазов, выполненных на одном основании обода в осевом направлении, и по меньшей мере одного пальца, закрепленного на другом основании обода.
При этом может быть выполнено несколько идентичных Г-образных пазов по окружности и в осевом направлении.
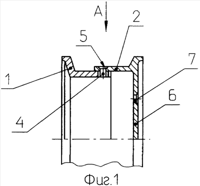
Сущность предлагаемого технического решения поясняется чертежами, где на фиг.1 показано колесо с разъемным ободом, на фиг.2 – вид на место соединения, на фиг.3 – колесо с разъемным ободом и последовательными Г-образными пазами.
Предлагаемое колесо содержит основание обода 1, охваченное по наружной поверхности основанием обода 2.
На основании обода 1 выполнен Г-образный паз 3, в котором свободно перемещается палец 4, закрепленный в отверстии 5 основания обода 2, последний изготовлен заодно целое с диском 6, снабженным отверстиями 7 для крепления колеса к ступице. Для сборки колеса Г-образный паз, выполненный на основании обода 1, совмещают с отверстием 5 основания обода 2, в котором закрепляют палец 4.
Для изменения ширины колеса поворачивают основание обода 2 против часовой стрелки, фиг.2, до совмещения пальца 4 с продольным пазом Г-образного паза и смещают в осевом направлении до упора. Для приведения в рабочее состояние обод 2 смещают в обратном направлении и поворачивают по часовой стрелке до упора. Такое выполнение колеса обеспечивает уменьшение габаритов при транспортировке и для малогабаритного запасного колеса.
Выполнение на основании обода 1 по окружности нескольких идентичных Г-образных пазов обеспечивает высокую надежность колесу с разъемным ободом.
Выполнение на основании обода 1 в осевом направлении нескольких Г-образных пазов 3, 8, 9 фиг.3 обеспечивает изменение ширины на установленную величину, что позволяет использовать колесо для шин одного посадочного диаметра, но разной ширины, т.е. делает его универсальным.
При эксплуатации, в зависимости от состояния дороги, можно также изменять ширину колеса для улучшения сцепления.
Кроме того, в аварийных ситуациях, когда произошел прокол камеры или бескамерной шины и необходимо доехать до мастерской, можно установить минимальную ширину колеса, что повысит жесткость шины.
Формула изобретения
1. Колесо с разъемным ободом, выполненным из двух оснований, связанных между собой, отличающееся тем, что основания обода охвачены друг другом и соединены между собой при помощи нескольких Г-образных пазов, выполненных на одном основании обода в осевом направлении, и по меньшей мере одного пальца, закрепленного на другом основании обода.
2. Колесо с разъемным ободом по п.1, отличающееся тем, что на одном основании обода по окружности выполнено несколько идентичных Г-образных пазов, а на другом закреплено такое же количество пальцев.
3. Колесо с разъемным ободом по п.1 или 2, отличающееся тем, что Г-образный паз выполнен сквозным.
РИСУНКИ
|
|