|
|
(21), (22) Заявка: 2006120400/12, 19.10.2004
(24) Дата начала отсчета срока действия патента:
19.10.2004
(30) Конвенционный приоритет:
12.11.2003 DE 10352700.1
(43) Дата публикации заявки: 27.12.2007
(46) Опубликовано: 27.07.2008
(56) Список документов, цитированных в отчете о поиске:
ЕР 0521414 А, 07.01.1993. DE 20205662 U1, 25.07.2002. US 4288275 A, 08.09.1981. WO 03086779, 23.10.2003. SU 93477 A, 01.01.1952.
(85) Дата перевода заявки PCT на национальную фазу:
13.06.2006
(86) Заявка PCT:
DE 2004/002329 (19.10.2004)
(87) Публикация PCT:
WO 2005/047019 (26.05.2005)
Адрес для переписки:
129010, Москва, ул. Б.Спасская, 25, стр.3, ООО “Юридическая фирма Городисский и Партнеры”, пат.пов. С.А.Дорофееву
|
(72) Автор(ы):
МИТЗАМ Райнвальд (DE)
(73) Патентообладатель(и):
ЛЕОНХАРД КУРЦ ГМБХ УНД КО. КГ (DE)
|
(54) УЗЕЛ ТИСНЕНИЯ ДЛЯ УСТРОЙСТВА ДЛЯ ТИСНЕНИЯ
(57) Реферат:
Изобретение может быть использовано в полиграфической промышленности и предназначено для перевода переводного слоя пленки для тиснения на запечатываемый материал. Узел для тиснения имеет два опорных валка и по меньшей мере один направляющий валок. Валки расположены на расстоянии друг от друга и осепараллельно друг другу. Вокруг опорных и направляющего валков вращается лента для тиснения. Между опорными валками предусмотрено подпирающее ленту для тиснения опорное тело с гладкой поверхностью скольжения. Опорное тело образует плоскостной контакт между пленкой для тиснения и запечатываемым материалом. Устройство позволяет повысить качество и скорость тиснения. 8 з.п. ф-лы, 7 ил.
Изобретение относится к узлу тиснения для устройства для тиснения, который предусмотрен для перевода переводного слоя пленки для тиснения на подвергаемый тиснению элемент, в частности на подвергаемый тиснению поверхностный элемент стабильной формы, причем узел для тиснения имеет два расположенных на расстоянии друг от друга и осепараллельных друг другу опорных валка и, по меньшей мере, один, установленный на расстоянии от опорных валков и осепараллельно им, направляющий валок, вокруг которых вращается лента для тиснения, причем опорными валками задан участок тиснения ленты для тиснения.
Подобный узел для тиснения известен из DE 20205662 U1. Для того чтобы повысить качество соединения переводного слоя пленки для тиснения с подвергаемым тиснению элементом, в частности с подвергаемым тиснению, имеющим стабильную форму поверхностным элементом, там предлагается между обоими, задающими участок тиснения ленты для тиснения опорными валками предусмотреть, по меньшей мере, один, прилегающий к ленте для тиснения стабилизирующий валок. Эти стабилизирующие валки имеют меньший диаметр, чем опорные валки, чтобы можно было предусмотреть соответствующее количество стабилизирующих валков между обоими опорными валками и таким образом повысить число линейных контактов. Вследствие меньшего диаметра соответственно является более высоким число оборотов стабилизирующих валков. Это повышенное число оборотов стабилизирующих валков способствует снижению срока службы подшипников стабилизирующих валков.
Из DE 10159662 A1 известен направляющий ролик для машины для тиснения, с помощью которого возможно повышение мощности, т.е. повышение скорости машины, т.е. повышение числа оборотов валков, благодаря тому, что на расположенной неподвижно относительно машины оправке установлена пористая, пропускающая воздух втулка оправки, на которой расположена роликовая втулка, причем роликовая оправка имеет канал для сжатого воздуха для нагружения втулки оправки сжатым воздухом, который предусмотрен для образования воздушной подушки между втулкой оправки и роликовой втулкой. Благодаря упомянутой воздушной подушке получается значительное снижение потерь на трение этого известного направляющего ролика.
Устройство для перевода (переноса) узора с пленки для тиснения на полосу материала известно, например, из EP 0521414 B1.
Подогреваемый и охлаждаемый ролик с почти не испытывающей трения опорой описан в DE 4416421 A1. Этот известный ролик служит для транспортировки и темперирования материала, имеющего форму полосы, причем для поддержания вращающейся на установленном неподвижно цилиндрическом стержне оболочки ролика используется жидкость, которая протекает между оболочкой ролика и стержнем ролика преимущественно в окружном направлении. Эта жидкость может использоваться одновременно для темперирования оболочки ролика.
Поддерживаемый воздухом ролик известен, например, из US 3349462 A.
Так как в узле для тиснения указанного вначале типа качество соединения переводного слоя пленки для тиснения с подвергаемым тиснению элементом, в частности с подвергаемым тиснению поверхностным элементом стабильной формы, а также скорость тиснения в значительной степени зависит от количества линейных контактов вдоль участка тиснения между лентой для тиснения и подвергаемым тиснению поверхностным элементом, то вследствие этого возникает требование улучшить качество и увеличить скорость тиснения за счет повышения числа линейных контактов.
В основе изобретения лежит задача создания узла для тиснения указанного вначале типа, который, будучи выполнен сравнительно просто, позволяет повысить скорость тиснения, сопутствующую улучшению качества тиснения.
Эта задача согласно изобретению решается с помощью признаков п.1 формулы изобретения, т.е. благодаря тому, что между обоими опорными валками предусмотрено поддерживающее ленту для тиснения опорное тело, которое имеет поверхность скольжения, расположенную в соединяющей между собой оба опорных валка касательной плоскости. Поверхность скольжения опорного тела образует, таким образом, не только несколько линейных контактов, но и плоскостной контакт, благодаря которому улучшается качество тиснения и одновременно увеличивается скорость тиснения.
Поверхность скольжения предусмотренного между обоими опорными валками опорного тела проходит от одного до другого опорного валка и, таким образом, почти вдоль всего участка тиснения ленты для тиснения, так что опорное тело между лентой для тиснения, пленкой для тиснения и подвергаемым тиснению элементом, в частности подвергаемым тиснению элементом стабильной формы, образует плоскостной контакт вместо линейных контактов.
Так как под лентой для тиснения подразумевают, например, снабженную механическим усилением силиконовую ленту так, что между лентой для тиснения и поверхностью скольжения опорного тела имеется трение, которым нельзя пренебречь, то является целесообразным, если лента для тиснения на своей обращенной к обоим опорным валкам и к поверхности скольжения опорного тела внутренней стороне имеет слой с малыми потерями на трение. В случае слоя с малыми потерями на трение речь может идти о имеющем малые потери на трение покрытии ленты для тиснения. Оснащенная таким образом лента для тиснения, однако, является относительно дорогостоящей, так что с позиций снижения затрат может быть целесообразным, если согласно изобретению использовать обычную ленту для тиснения и если вокруг обоих опорных валков вращается лента скольжения, на обращенной от опорных валков наружной стороне которой предусмотрена лента для тиснения. Эта лента скольжения обвивает оба опорных валка и окружает опорное тело. Лента для тиснения прилегает к поверхности скольжения опорного тела. Лента скольжения имеет относительно малый коэффициент трения по отношению к опорному телу. Для этой цели предпочтительно, если лента скольжения имеет на несущем слое покрытие с малыми потерями на трение, которое обращено к обоим опорным валкам и к поверхности скольжения опорного тела.
Лента скольжения с помощью натяжного устройства может натягиваться вокруг обоих опорных валков. Преимущество указанного выше варианта осуществления состоит в том, что лента скольжения при замене ленты для тиснения, т.е. при замене, например, использованной ленты для тиснения новой, не бывшей в употреблении лентой для тиснения, может оставаться в узле для тиснения, т.е. на обоих опорных валках.
Однако, если в окружающем пространстве соответствующего изобретению узла для тиснения, например, имеется абразивная пыль, то это приводит к относительно сильному износу не только ленты для тиснения, но и в данном случае также к сильному износу ленты скольжения, а также в экстремальных случаях опорного тела. Для того чтобы избежать такого нежелательного преждевременного износа, является предпочтительным, если в соответствующем изобретению узле для тиснения опорное тело имеет газопроницаемый пористый поверхностный элемент, с помощью которого образована поверхность скольжения опорного тела. Для образованного таким образом узла для тиснения испрашивается самостоятельная патентная защита. Упомянутый газопроницаемый пористый поверхностный элемент может состоять из порошкового металла с открытыми порами или из металлокерамики с открытыми порами, причем поверхность скольжения соответственно подвергнута поверхностной обработке, чтобы достичь гладкой поверхности скольжения.
Для узла для тиснения упомянутого последним типа является предпочтительным, если газопроницаемый пористый поверхностный элемент закрывает выполненное в опорном теле полое пространство, в котором оканчивается подающее сжатый газ устройство. При сжатом газе речь может идти, например, о сжатом воздухе.
Является целесообразным, если газопроницаемый пористый поверхностный элемент имеет обращенную к ленте для тиснения основную поверхность и две расположенные по бокам напротив друг друга, обращенные к обоим обращенным друг от друга продольным краям ленты для тиснения боковые поверхности, причем при работе узла для тиснения между лентой для тиснения и пористым поверхностным элементом образована воздушная подушка. Эта воздушная подушка между лентой для тиснения и пористым поверхностным элементом опорного тела является причиной пренебрежимо малого трения между опорным телом и лентой для тиснения, причем, кроме того, предпочтительным образом предотвращается отложение абразивной пыли на ленте для тиснения и на опорном теле. Пористый поверхностный элемент опорного тела делает возможными между лентой для тиснения и подвергаемым тиснению элементом настолько высокие усилия поверхностного прижатия, что на процесс тиснения не оказывается никакого вредного воздействия. Кроме того, благодаря соответствующему выбору материала для пористого поверхностного элемента, т.е. благодаря соответствующему выбору размеров пористости поверхностного элемента, потребление сжатого газа является настолько малым, что охлаждение ленты для тиснения во время процесса тиснения с помощью сжатого газа является пренебрежимо малым. С позиции возможного, нежелательного охлаждения является целесообразным, если опорное тело и/или подающее сжатый газ устройство снабжено/снабжены нагревательным устройством. С помощью такого нагревательного устройства можно подходяще нагревать опорное тело и/или сжатый газ, которым нагружается опорное тело, чтобы компенсировать соответствующую потерю энергии. Упомянутое нагревательное устройство предпочтительным образом может использоваться для того, чтобы способствовать нагреванию узла для тиснения при его запуске.
Другие подробности, особенности и преимущества следуют из дальнейшего описания схематично представленных на чертежах примеров осуществления соответствующего изобретению узла для тиснения. На чертежах показано:
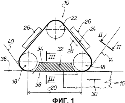
Фиг.1 – первый вариант осуществления узла для тиснения, схематично на виде сбоку;
Фиг.2 – сечение по линии II-II на Фиг.1 пленки для тиснения;
Фиг.3 – сечение по линии III-III на Фиг.1 опорного тела, ленты для тиснения и пленки для тиснения;
Фиг.4 – аналогичный Фиг.1 вид сбоку второго варианта осуществления узла для тиснения;
Фиг.5 – сечение по линии V-V на Фиг.4 опорного валка, ленты скольжения и ленты для тиснения;
Фиг.6 – аналогичный Фиг.1 и 4 вид сбоку третьего варианта осуществления узла для тиснения; и
Фиг.7 – сечение по линии VII-VII на Фиг.6 опорного тела и ленты для тиснения.
Фиг.1 показывает выполнение узла 10 для тиснения устройства для тиснения, который предусмотрен для переноса переводного слоя 12 (см. Фиг.2) пленки 14 для тиснения на подвергаемый тиснению элемент, в частности подвергаемый тиснению поверхностный элемент 16 стабильной формы. Под «поверхностным элементом 16 стабильной формы» понимают, например, панель для мебели, как, например, столешница или т.п., доски или панели для пола, стен или потолка или пластмассовые профили и т.п.
Узел 10 для тиснения имеет два расположенных на расстоянии друг от друга и осепараллельных друг другу опорных валка 18, которые задают участок 20 тиснения узла 10 для тиснения. На расстоянии от этих опорных валков 18 и осепараллельно к ним предусмотрен направляющий валок 22. Вокруг обоих опорных валков 18 и вокруг направляющего валка 22 направляется бесконечная лента 24 для тиснения.
Схематически в виде блока обозначено нагревательное устройство 26 для нагревания ленты 24 для тиснения. Лента 24 для тиснения вращается (движется), например, в направлении стрелки 28 вокруг опорных валков 18 и направляющего валка 22. С той же скоростью перемещается подвергаемый тиснению поверхностный элемент 16 вдоль участка 20 тиснения мимо узла 10 для тиснения. Это показано стрелкой 30. Между обоими опорными валками 18 расположено опорное тело 32. Опорное тело 32 имеет поверхность 34 скольжения, которая предусмотрена в соединяющей между собой оба опорных валка касательной плоскости 36.
Как видно из Фиг.3, поверхность 34 скольжения опорного тела 32 на своих обоих противоположных краях выполнена с боковыми полками 38, которые служат для бокового направления вращающейся ленты 24 для тиснения и пленки 14 для тиснения вдоль участка 20 тиснения.
На Фиг.1 на левой стороне, т.е. отходя от левого опорного валка 18, обозначен несущий слой 40 пленки 14 для тиснения (см. также Фиг.2). У входа в узел 10 для тиснения, т.е. у входа на участок 20 тиснения узла 10 для тиснения, пленка 14 для тиснения образована несущим слоем 40 и предусмотренным на несущем слое 40 с возможностью отделения переводным слоем 12. Такая пленка 14 для тиснения сама по себе известна, так что здесь не требуется более подробного описания.
На участке 20 тиснения переводной слой 12 пленки 14 для тиснения переводится с несущего слоя 40 на поверхностный элемент 16.
Для того чтобы снизить трение между опорным телом 32 вдоль поверхности 34 скольжения и вращающейся вокруг опорных валков 18 и направляющего валка 22 лентой 24 для тиснения, лента 24 для тиснения на своей обращенной к обоим опорным валкам 18 и опорному телу 32 внутренней стороне имеет слой 42 с малыми потерями на трение (см. Фиг.3), который образован покрытием из соответствующего материала.
Фиг.4 показывает аналогичное Фиг.1 принципиальное представление другого варианта осуществления узла 10 для тиснения, причем вокруг обоих опорных валков 18 проходит лента 44 скольжения, на обращенной от опорных валков 18 наружной стороне 46 которой предусмотрена лента 24 для тиснения, как пояснено также на Фиг.5. Лента 24 для тиснения вращается вокруг обоих опорных валков 18 и вокруг направляющего валка 22. Лента 44 скольжения имеет несущий слой 48 и нанесенное на него покрытие 50 с малыми потерями на трение. Покрытие 50 с малыми потерями на трение обращено к обоим опорным валкам 18 и поверхности 34 скольжения предусмотренного между обоими опорными валками 18 опорного тела 32. Лента 44 скольжения с помощью натяжного устройства 52 может натягиваться до заданного значения вокруг обоих опорных валков 18.
Одинаковые элементы на Фиг.4 и 5 обозначены теми же ссылочными позициями, что и на Фиг.1-3, так что нет необходимости описывать эти элементы еще раз для Фиг.4 и 5.
Фиг.6 показывает на аналогичном Фиг.1 и 4 принципиальном виде сбоку третий вариант осуществления узла 10 для тиснения, причем предусмотренное между обоими опорными валками 18 опорное тело 32 имеет газопроницаемый пористый поверхностный элемент 54, с помощью которого образована поверхность 34 скольжения опорного тела 32, как, в частности, видно также из Фиг.7. Газопроницаемый, т.е. обладающий открытыми порами поверхностный элемент 54 из металлокерамики закрывает снаружи образованное в опорном теле 32 полое пространство 56. В полом пространстве 56 оканчивается подающее сжатый газ устройство 58. Подающее сжатый газ устройство 58 и/или опорное тело 32 снабжены нагревательным устройством 60.
Как, в частности, показывает Фиг.7, газопроницаемый пористый поверхностный элемент 54 имеет обращенную к ленте 24 для тиснения основную поверхность 62 и две расположенных по бокам напротив друг друга, согласованные с обеими обращенными друг от друга продольными кромками 64 ленты 24 для тиснения боковые поверхности 66 так, что при работе узла 10 для тиснения, т.е при нагружении полого пространства 56 опорного тела 32 сжатым газом, между лентой 24 для тиснения и пористым поверхностным элементом 54 опорного тела 32 образуется воздушная подушка 68, благодаря которой лента 24 для тиснения всеми сторонами находится на незначительном расстоянии от опорного тела 32 так, что трение между лентой 24 для тиснения и опорным телом 32 является пренебрежимо малым.
Одинаковые элементы на Фиг.6 и 7 обозначены теми же ссылочными позициями, что и на Фиг.1-4, так что нет необходимости описывать эти элементы подробно еще раз для Фиг.6 и 7.
Формула изобретения
1. Узел для тиснения для устройства для тиснения, который предусмотрен для перевода переводного слоя (12) пленки (14) для тиснения на подвергаемый тиснению элемент, причем узел (10) для тиснения имеет два расположенных на расстоянии друг от друга и осепараллельно друг другу опорных валка (18) и, по меньшей мере, один расположенный на расстоянии от опорных валков (18) и осепараллельно им, направляющий валок (22), вокруг которых вращается лента (24) для тиснения, причем опорными валками (18) задан участок (20) тиснения ленты (24) для тиснения, отличающийся тем, что между обоими опорными валками (18) предусмотрено подпирающее ленту (24) для тиснения опорное тело (32), которое имеет поверхность (34) скольжения, расположенную в соединяющей между собой оба опорных валка (18) касательной плоскости (36).
2. Узел по п.1, отличающийся тем, что лента (24) для тиснения на своей, обращенной к обоим опорным валкам (18) и к опорному телу (32) внутренней стороне, имеет слой (42) с малыми потерями на трение.
3. Узел по п.1, отличающийся тем, что вокруг обоих опорных валков (18) вращается лента (44) скольжения, на обращенной от опорных валков (18) наружной стороне (46) которой предусмотрена лента (24) для тиснения.
4. Узел по п.3, отличающийся тем, что лента (24) скольжения имеет на несущем слое (48) покрытие (50) с малыми потерями на трение, которое обращено к обоим опорным валкам (18) и к поверхности (34) скольжения опорного тела (32).
5. Узел по п.3 или 4, отличающийся тем, что лента (44) скольжения установлена с возможностью натягивания вокруг опорных валков (18) с помощью натяжного устройства (52).
6. Узел по п.1, отличающийся тем, что опорное тело (32) имеет газопроницаемый пористый поверхностный элемент (54), который образован поверхностью (34) скольжения.
7. Узел по п.6, отличающийся тем, что газопроницаемый пористый поверхностный элемент (54) закрывает образованное в опорном теле (32) полое пространство (56), в котором оканчивается подающее сжатый газ устройство (58).
8. Узел по п.6 или 7, отличающийся тем, что газопроницаемый пористый поверхностный элемент (54) имеет обращенную к ленте (24) для тиснения основную поверхность (62) и две расположенные по бокам напротив друг друга, согласованные с обеими обращенными друг от друга продольными кромками (64) ленты (24) для тиснения боковые поверхности (66), причем при работе узла (10) для тиснения между лентой (24) для тиснения и газопроницаемым пористым поверхностным элементом (54) опорного тела (32) образована газовая подушка (68).
9. Узел по п.7, отличающийся тем, что опорное тело (32) и/или подающее сжатый газ устройство (58) снабжено/снабжены нагревательным устройством (60).
РИСУНКИ
|
|