|
|
(21), (22) Заявка: 2006126757/03, 24.07.2006
(24) Дата начала отсчета срока действия патента:
24.07.2006
(43) Дата публикации заявки: 27.01.2008
(46) Опубликовано: 27.07.2008
(56) Список документов, цитированных в отчете о поиске:
RU 2242650 C2, 20.12.2004. RU 2057005 C1, 27.03.1996. SU 411990 A1, 26.07.1974. SU 733977 A1, 15.05.1980. SU 982906 A1, 23.12.1982. DE 2640385 A1, 09.03.1978.
Адрес для переписки:
117449, Москва, ул. Дм. Ульянова, 27/12, корп.1, кв.11, Н.Г.Морозову
|
(72) Автор(ы):
Морозов Николай Григорьевич (RU), Морозова Анна Николаевна (RU), Крылов Виктор Михайлович (RU)
(73) Патентообладатель(и):
Морозов Николай Григорьевич (RU), Морозова Анна Николаевна (RU), Крылов Виктор Михайлович (RU)
|
(54) ЛЕСОПИЛЬНАЯ РАМА
(57) Реферат:
Изобретение относится к лесопильным рамам, предназначенным для распиловки бревен. Рама содержит станину, механизм главного движения с планетарным преобразователем вращательного движения в возвратно-поступательное, где на колене вала привода жестко закреплен сателлит, а находящийся в зацеплении с ним эпицикл смонтирован вместе с нижней поперечиной пильной рамки. На боковых сторонах верхней поперечины пильной рамки шарнирно установлены двуплечие рычаги, удерживаемые коромыслами, смонтированными на станине. Вторые концы двуплечих рычагов шарнирно соединены с шатунами-толкателями, кинематически связанными с эксцентриком вала привода через рычажно-шатунную пару или шарнирно установленными непосредственно на эксцентриках вала привода. Межосевое расстояние между продольной осью вала привода и осью сателлита выполнено не равным межосевому расстоянию между осью сателлита и осью эпицикла. Изобретение повышает производительность лесопильной рамы и уменьшает ее материалоемкость. 1 з.п. ф-лы, 3 ил.
Изобретение относится к машиностроению и может быть использовано в промышленности, специализирующейся на выпуске высокопроизводительных лесопильных рам.
Известны лесопильные рамы, в кинематике которых предусматривается качание пильной рамки, которое позволяет несколько увеличить и производительность, и качество распиловки (см. патент Швеции в СССР №476737 В27В 3/10, 1975 г.; авторские свидетельства СССР №946925 В27В 3/00, 1982 г.; №622666 В27В 3/12, 1980 г.; №923801, В27В 3/12, 1982 г.; №1085814 В27В 3/00, 1984 г.; патент России №2057005 В27В 3/12 от 1996 г.). Однако возможности совершенствования этих процессов еще далеко не исчерпаны, не говоря уже о том, что и некоторые сопутствующие проблемы далеки от своего разрешения, особенно, такие как снижение энергоемкости пиления, исключение скобления зубьев о дно пропила на обратном ходе, пиление тонкими пилами, обеспечение равномерной нагрузки на зубья пил, а также габаритные и весовые параметры станочного оборудования и долговечность его работы.
Наиболее близким техническим решением к заявленному является лесопильная рама, содержащая станину, привод с планетарными преобразователями и пильную рамку, нижняя поперечина которой шарнирно установлена на выходных звеньях планетарных преобразователей, а ее верхняя поперечина соединена с шарнирным четырехзвенником, одно из коромысел которого закреплено на станине, а другое кинематически связано с водилом планетарного преобразователя (см. а.с. №1065189 В27В 3/12, 1984 г.).
Недостатком этого прототипа является сложность и громоздкость всей конструкции из-за наличия в нем двух самостоятельных планетарных преобразователей вращательного движения в возвратно-поступательное. К тому же оказалось невозможным обеспечить высокое совпадение траекторий движения выходных звеньев левой и правой планетарных передач. Для данной лесопильной рамы характерны также низкий КПД ее механизма главного движения и недостаточная устойчивость в работе верхней поперечины пильной рамки из-за ее крепления в одной точке.
У заявленного изобретения с этим прототипом совпадают функциональные возможности, однако конструктивно они достигнуты иными техническими решениями. Так, в заявленном решении верхняя поперечина пильной рамки сочленена с двумя двуплечими рычагами, кинематически связанными не с водилом планетарной передачи, как в прототипе, а с валом привода наоборотного планетарного преобразователя, как это он поименован в техническом решении по патенту России №2242650 В27В 3/00, 2004 года – второй прототип. Но в отличие от этого прототипа межосевое расстояние между продольной осью вала привода и осью сателлита выполнено заведомо не равным межосевому расстоянию между осью сателлита и осью эпицикла, что позволило для нижней поперечины пильной рамки обеспечить замкнутую траекторию движения по вытянутому эллипсу при этом еще и с наклоном.
Цель изобретения – достижение оптимальных режимов набегания верхних и нижних частей рамных пил на распиливаемое бревно и обеспечение за счет этого высокой производительности, качества и экономичности процесса пиления.
Для достижения этих целей в лесопильной раме, содержащей станину, механизм главного движения с планетарным преобразователем вращательного движения в возвратно-поступательное, где на колене вала привода жестко закреплен сателлит, а находящийся в зацеплении с ним эпицикл смонтирован вместе с нижней поперечиной пильной рамки, а на боковых сторонах верхней поперечины пильной рамки шарнирно установлены двуплечие рычаги, удерживаемые коромыслами, смонтированными на станине, при этом вторые концы двуплечих рычагов шарнирно соединены с шатунами-толкателями, кинематически связанными с эксцентриком вала привода через рычажно-шатунную пару или шарнирно установленными непосредственно на эксцентриках вала привода, причем межосевое расстояние между продольной осью вала привода и осью сателлита выполнено не равным межосевому расстоянию между осью сателлита и осью эпицикла.
Соотношение плеч рычагов, межосевые расстояния взаимодействующих элементов и их взаимное положение относительно друг друга выбраны так, что траектория движения верхней поперечины пильной рамки – «восьмерка», а траектория нижней поперечины – вытянутый эллипс, причем обе траектории наклонены в противоположную сторону от распиливаемого бревна.
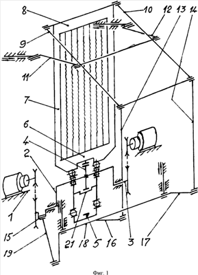
На фиг.1 изображена кинематическая схема лесопильной рамы.
На фиг.2 изображена кинематическая схема лесопильной рамы в упрощенном варианте.
На фиг.3 представлены траектории движения верхней и нижней поперечин пильной рамки.
Лесопильная рама (см. фиг.1) содержит станину 1, механизм главного движения с планетарным преобразователем вращательного движения в возвратно-поступательное, где на колене 2 вала привода 3 жестко закреплен сателлит 4, а находящийся в зацеплении с ним эпицикл 5 смонтирован вместе с нижней поперечиной 6 пильной рамки 7. На боковых сторонах верхней поперечины 8 пильной рамки шарнирно установлены двуплечие рычаги 9 и 10, удерживаемые коромыслами 11 и 12, смонтированными на станине.
Вторые концы двуплечих рычагов шарнирно соединены с шатунами-толкателями 13 и 14, кинематически связанными с эксцентриком 15, жестко установленным на валу привода, через рычаги 16 и 17, закрепленные на валу 18, и шатун 19.
В упрощенном варианте лесопильной рамы (см. фиг.2) шатуны-толкатели 13 и 14 шарнирно установлены на эксцентрики 15 и 20 непосредственно.
Лесопильная рама работает следующим образом. При включении электродвигателей через клиноременную передачу вращение передается на вал привода 3, а вместе с ним через колено 2 и на сателлит 4. Сателлит обкатывается по эпициклу 5 и сообщает ему возвратно-поступательное перемещение вместе с нижней поперечиной пильной рамки 7.
При перемещении пильной рамки в вертикальном направлении происходит вынужденный поворот рычагов 9 и 10 относительно осей их соединения с коромыслами 11 и 12, а самих коромысел относительно станины 1. Эти два поворота становятся неизбежными, поскольку одновременно вторые концы двуплечих рычагов 9 и 10 опираются на шатуны-толкатели 13 и 14. Поворот рычагов 9 и 10 относительно коромысел и самих коромысел вокруг их шарнирного соединения на станине, вместе складываясь, обеспечивают движение верхней поперечины пильной рамки по строго определенной незамкнутой траектории.
Одновременно от эксцентрика 15, а соответственно и эксцентрика 20 (см. фиг.2), по кинематической цепочке шатунам-толкателям 13 и 14 сообщается перемещение в вертикальном направлении, передаваемое на вторые концы двуплечих рычагов 9 и 10. Эти дополнительные перемещения вызывают дополнительный поворот коромысел 11 и 12 относительно станины, что ведет к смещению двуплечих рычагов 9 и 10 в горизонтальном направлении, а вместе с ними и верхней поперечины пильной рамки.
Движение верхней поперечины пильной рамки в вертикальном направлении и ее смещение в горизонтальном направлении, складываясь вместе, обеспечивают перемещение верхней поперечины пильной рамки по строго заданной замкнутой траектории движения.
Характер траекторий движения верхней и нижней поперечин зависит от соотношения плеч рычагов и межосевых расстояний взаимодействующих элементов и их взаимного положения относительно друг друга. Наибольшая экономичность и качество распиловки достигаются при исполнении траектории движения верхней поперечины пильной рамки по форме несимметричной «восьмерки» с несколько большими размерами ее верхней части и траектории движения нижней поперечины по форме вытянутого эллипса, и обе эти траектории должны быть наклонены в противоположную сторону от распиливаемого бревна (см. фиг.3).
Сам процесс распиловки происходит следующим образом.
Находясь в верхней мертвой точке, нижняя поперечина пильной рамки с повышенной скоростью набегает на бревно. Верхняя поперечина в этот момент, напротив, убегает от бревна и тоже с наивысшей скоростью. Складываясь, эти скорости обеспечивают мягкое вхождение пил в дно пропила, начиная прямо от верхней мертвой точки. В середине рабочего хода скорость вертикального перемещения пил наибольшая. В этот момент и набегание верхней поперечины на бревно вместе с поперечиной нижней тоже оказывается наибольшим. К концу рабочего хода и верхняя, и нижняя поперечины с нарастающей скоростью уходят от бревна, а пилы – от дна пропила, и в нижней мертвой точке этот уход завершается окончательно.
При таком пилении на всем протяжении рабочего хода нагрузка на зубья пил остается примерно одинаковой и это делает раму более производительной.
В процессе холостого хода между зубьями пил и дном пропила сохраняется зазор. Поэтому скобления зубьев о дно пропила не происходит. Экономится энергия, дополнительно повышается качество распиловки, и появляется возможность пиления тонкими пилами. Потери энергии снижаются еще и оттого, что передача движения на пильную рамку осуществляется прямо от сателлита, то есть с минимальными потерями в преобразователе.
Чтобы изменить наклон траектории движения верхней поперечины пильной рамки уже в готовом изделии, нужно приподнять или опустить вал 18 с рычагами 16 и 17, а для того чтобы изменить наклон пильной рамки, а соответственно и постава пил, следует сместить узлы крепления коромысел на станине в горизонтальном направлении.
В этой заявке, как и в патенте №2242650 В27В 3/00, преобразователь вращательного движения в возвратно-поступательное автором назван наоборотным. Это обусловлено тем, что используемые в нем элементы планетарной передачи работают как бы наоборот. Так в новой передаче водило 21 ничего не ведет. Оно выполняет лишь пассивную роль, неся на себе подшипники и тем обеспечивая неизменность межосевых расстояний между валом привода, сателлитом и эпициклом. Сателлит не выполняет пассивной роли передатчика вращения, как в обычной планетарной передаче. Наоборот, он активен. Обкатываясь по эпициклу, он одновременно сообщает ему возвратно-поступательное перемещение, которое передается и пильной рамке. В обычной планетарной передаче свойства горизонтального или вертикального перемещения эпициклу не присущи. Ну а то, что в «нормальных» преобразователях именуется выходным звеном, совершающим возвратно-поступательное перемещение, в наоборотном преобразователе закреплено на станине в виде вала привода, который только и может крутиться вокруг своей оси и оставаться на месте.
Благодаря наоборотности отпала необходимость использовать два редуктора, как в первом прототипе, или даже четыре редуктора, как в патенте №2057005 В27В 3/12, 1980 года.
Привод получился и много компактнее, чем в техническом решении по авторскому свидетельству №918091 В27В 3/12, 1982 года, так как хоть там редуктор и один, пильная рамка не может опуститься ниже внешних габаритов этого редуктора, да и охватывающие его ноги (связи поз.22 и 23) только бесполезно утяжеляют всю конструкцию.
В итоге патентуемое техническое решение лесопильной рамы позволяет ее исполнить более компактной, более производительной, с более качественным пилением, более энергосберегающей и намного экономичней, так как позволяет пилить тонкими пилами.
По новой лесопильной раме разработаны рабочие чертежи и в настоящее время изготавливается ее опытный образец.
Формула изобретения
1. Лесопильная рама, содержащая станину, механизм главного движения с планетарным преобразователем вращательного движения в возвратно-поступательное, где на колене вала привода жестко закреплен сателлит, а находящийся в зацеплении с ним эпицикл смонтирован вместе с нижней поперечиной пильной рамки, отличающаяся тем, что на боковых сторонах верхней поперечины пильной рамки шарнирно установлены двуплечие рычаги, удерживаемые коромыслами, смонтированными на станине, при этом вторые концы двуплечих рычагов шарнирно соединены с шатунами-толкателями, кинематически связанными с эксцентриком вала привода через рычажно-шатунную пару или шарнирно установленными непосредственно на эксцентриках вала привода, причем межосевое расстояние между продольной осью вала привода и осью сателлита выполнено не равным межосевому расстоянию между осью сателлита и осью эпицикла.
2. Рама по п.1, отличающаяся тем, что соотношение плеч рычагов, межосевые расстояния взаимодействующих элементов и их взаимное положение относительно друг друга выбраны так, что траектория движения верхней поперечины пильной рамки – восьмерка, а траектория движения нижней поперечины – вытянутый эллипс, причем обе траектории наклонены в противоположную сторону от распиливаемого бревна.
РИСУНКИ
|
|