|
|
(21), (22) Заявка: 2006125902/12, 17.07.2006
(24) Дата начала отсчета срока действия патента:
17.07.2006
(43) Дата публикации заявки: 27.01.2008
(46) Опубликовано: 27.07.2008
(56) Список документов, цитированных в отчете о поиске:
SU 1801627 А1, 15.03.1993. SU 425679 А, 18.10.1974. WO 8602293 А1, 24.04.1986.
Адрес для переписки:
450055, г.Уфа, пр. Октября, 144/3, ГУП “ИПТЭР”, патентный отдел, В.Г. Карамышеву
|
(72) Автор(ы):
Гумеров Асгат Галимьянович (RU), Карамышев Виктор Григорьевич (RU), Подъяпольский Антон Иванович (RU), Эпштейн Аркадий Рувимович (RU), Самородов Алексей Аркадьевич (RU), Мерзабеков Хафиз Таймасович (RU)
(73) Патентообладатель(и):
Государственное унитарное предприятие “Институт проблем транспорта энергоресурсов” ГУП “ИПТЭР” (RU)
|
(54) УСТРОЙСТВО ДЛЯ ОЧИСТКИ ВНУТРЕННЕЙ ПОВЕРХНОСТИ ТРУБОПРОВОДА
(57) Реферат:
Изобретение относится к трубопроводному транспорту, в частности к устройствам для очистки внутренней поверхности трубопровода от асфальтосмолистых и грязепарафиновых отложений, предупреждения коррозии и для вытеснения продуктов и инородных предметов из внутренней полости труб. Устройство содержит корпус с размещенными на нем манжетами, выполненными из диэлектрического материала, на наружной и внутренней поверхностях которых установлены расходуемые пластины из материала, обеспечивающего электролиз воды в стальном трубопроводе, например магния. Пространство между манжетами заполняют минерализованной водой. Изобретение обеспечивает повышение эффективности очистки и предупреждение усталостного и коррозионного износа нижней образующей поверхности трубопровода. 1 ил.
Изобретение относится к трубопроводному транспорту, в частности к устройствам для очистки трубопроводов от отложений, образовавшихся в процессе эксплуатации при транспортировке по трубопроводам нефтеводогазовых смесей.
Известны поролоновые или резиновые очистные устройства, предназначенные для очистки внутренней поверхности труб, от мягких отложений, удаления конденсата, проверки проходимости трубопровода, проведения работ по продувке, испытанию и консервации строящихся и эксплуатируемых магистральных и промысловых трубопроводов, разделения разносортных нефтепродуктов при перекачке их последовательно по трубопроводу (1).
Однако эти устройства, отличающиеся простотой, хорошей проходимостью, имеют недостаточную эффективность очистки и низкую надежность при транспортировке водосодержащих сред.
Наиболее близким по технической сущности к изобретению является устройство для очистки внутренней поверхности трубопроводов, содержащее корпус с размещенными на нем манжетами, выполненными из резины или полиуретана, включающее дополнительное навесное оборудование, состоящее из щеточного, калибровочного или магнитных блоков, и предназначенное при необходимости для очистки внутренней полости трубопровода от окалины, накипи, плотных асфальтосмолистых отложений и калибровки (2).
Однако это устройство, принятое за прототип, имеет недостаточную эффективность очистки трубопроводов при транспортировании жидкостей с высоким содержанием минерализованных вод и не препятствует предупреждению усталостно-коррозионному разрушению трубопровода, особенно, при наличии абразивных включений, происходящих преимущественно на восходящих участках трассы.
Цель изобретения – повышение эффективности очистки и предупреждение усталостного и коррозионного износа нижней образующей внутренней поверхности трубопровода.
Это достигается тем, что в очистном устройстве, содержащем корпус и манжеты, выполненные из диэлектрического материала, например резины, на внешних и внутренних плоскостях манжет дополнительно установлены пластины из материала, обеспечивающего электролиз воды в стальном трубопроводе, например магния.
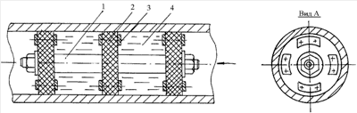
На чертеже показано устройство для очистки внутренней поверхности трубопровода.
Устройство включает корпус 1, на котором установлены очистные элементы манжеты 2, выполненные, как правило, из резины или полиуретана и предназначенные для удаления асфальтосмолистых и грязепарафиновых отложений и для вытеснения продукта и инородных предметов из внутренней полости трубопровода. Кроме того, манжеты служат для центрирования устройства. На манжетах равномерно смонтированы расходуемые пластины 3 из магния, имеющие гарантированный зазор с поверхностью трубопровода. Пространство между манжетами заполняется минерализованной водой – 4.
Устройство для очистки внутренней поверхности трубопровода вводится в полость очищаемого трубопровода через специальные камеры пуска и приема скребков, причем полость между манжетами заполняется минерализованной водой. Перемещение устройства осуществляется благодаря перепаду давления, создаваемому манжетами 2. Создаваемые в результате электрохимических реакций разложения воды газовые пузырьки водорода Н2, образующиеся на внутренней поверхности стального трубопровода, обладающие хорошей проникающей способностью в жидкой среде (минерализованной воде) и создающие на загрязненной (парафин, соли, гидраты и продукты коррозии) стальной поверхности микровоздействия, нарушают сцепление загрязняющих микрочастиц со стальной поверхностью, обеспечивая разрушение загрязнений, их отрыв от стальной поверхности и облегчая их удаление манжетами и другими элементами возможного дополнительного навесного оборудования (блок с калибровочными дисками, щеточный блок и т.п.), а также поверхностно-активными веществами, образующимися в процессе электролиза воды. Одновременно на очищенной стальной поверхности образуется защитная с малой шероховатостью пассивирующая пленка магнетита F3O4, обеспечивающая иммунитет от коррозии и устранение дефектных зон вдоль трубопровода. Учитывая, что электрическое сопротивление оксидной пленки значительно больше сопротивления чистого металла, большая часть тока, шунтируя защищенные оксидной пленкой участки поверхности, потечет к новым участкам стальной поверхности трубопровода, тем самым, обеспечивая защиту более удаленных участков от места прохождения очистного устройства вдоль трубопровода. Анализ бело-серых известковых отложений на поверхности оборудования выявил также наличие солей натрия, магния и кальция, особенно карбонатов и сульфатов. Дополнительно формируемая пленка придает пассивность стали доступной коррозии или катодным реакциям, обеспечивая также и иммунитет от коррозии впоследствии.
Образование пленок магнетита и известковых отложений под действием электролиза воды в результате сформированного гальванического (Fe-Mn) источника тока ведет к блокировке дефектов поверхности и означает, что нет доступа электролита к поверхности, следовательно, нет условий для развития коррозии. Очищающий и защитный эффекты проявляются на поверхностях трубы, имеющей достаточный электрический потенциал, около 1 В.
Изобретение позволяет увеличить эффективность очистки трубопровода, предотвратить коррозионный износ его нижней образующей, «канавочное» разрушение и тем самым повысить ресурс безаварийной работы трубопровода.
Литература
1. А.С. № 425679, МПК В08В 9/04, 1972.
2. Патент 2030223, МПК 6 В08В 9/04.
Заявлено 05.07.1991. Опубл. 10.03.95; бюл. № 7.
Формула изобретения
Устройство для очистки внутренней поверхности трубопровода, содержащее корпус с размещенными на нем манжетами, выполненными из диэлектрического материала, отличающееся тем, что на наружных и внутренних поверхностях манжет дополнительно установлены расходуемые пластины из материала, обеспечивающего электролиз воды в стальном трубопроводе, например магния, при этом пространство между манжетами заполняют минерализованной водой.
РИСУНКИ
MM4A – Досрочное прекращение действия патента СССР или патента Российской Федерации на изобретение из-за неуплаты в установленный срок пошлины за поддержание патента в силе
Дата прекращения действия патента: 18.07.2008
Извещение опубликовано: 10.07.2010 БИ: 19/2010
|
|