|
|
(21), (22) Заявка: 2007105082/15, 12.02.2007
(24) Дата начала отсчета срока действия патента:
12.02.2007
(46) Опубликовано: 27.07.2008
(56) Список документов, цитированных в отчете о поиске:
RU 2183494 С2, 20.06.2002. RU 2091130 С1, 27.09.1997. RU 2161061 C1, 27.10.2000. SU 433293 А, 25.06.1974. SU 461733 А, 28.02.1975. US 3870638 А, 11.03.1975. GB 961320 А, 17.06.1964.
Адрес для переписки:
600016, г.Владимир, а/я 11, А.В. Тарасову
|
(72) Автор(ы):
Крыгин Сергей Евгеньевич (RU), Курышин Юрий Александрович (RU), Тарасов Александр Валентинович (RU)
(73) Патентообладатель(и):
Общество с ограниченной ответственностью Научно-Производственное Предприятие “ТЕХНОФИЛЬТР” (RU)
|
(54) СПОСОБ РЕГЕНЕРАЦИИ ФИЛЬТРУЮЩЕГО ЭЛЕМЕНТА
(57) Реферат:
Изобретение относится к способам регенерации фильтрующих элементов, применяемых для очистки жидкостей, и может найти применение в пищевой, винодельческой и других отраслях промышленности. Способ включает последовательное сжатие газа, которым наполнено демпфирующее устройство, останов фильтруемой жидкости, приведение в действие демпфирующего устройства, перенаправление потока фильтруемой жидкости. При этом используют дополнительный фильтр, снабженный обратным клапаном. Регенерацию фильтрующего элемента осуществляют путем обратной подачи отфильтрованной жидкости на регенерируемый фильтрующий элемент. Жидкость, уносящая осадок, образовавшийся на регенерируемом фильтрующем элементе, через клапан сброса давления подают в дополнительный фильтр, где происходит накопление осадка. Технический результат: повышение ресурса работы фильтрующих элементов, снижение расхода электроэнергии и металлоемкости. 2 з.п. ф-лы, 1 ил.
Заявляемое изобретение относится к устройствам для очистки жидкостей, содержащих различного рода примеси в виде микрочастиц, в форме осадков и взвесей, в частности хозяйственной и технической воды, соков, вино-водочных изделий, различного рода растворов, и может найти применение при создании и реконструкции современных производств систем водоподготовки, а также в пищевой, винодельческой, фармацевтической и других отраслях промышленности.
Известные фильтрационные технологии, применяемые в указанной области, автоматизированы и заключаются, как правило, в последовательно осуществляемых фильтрации и регенерации фильтрующих элементов, применяемой по мере необходимости. Ресурс работы фильтров, применяемых в установках подобного типа, зависит от условий их эксплуатации, а именно коллоидного индекса фильтруемой среды, ее температуры и вязкости, содержания твердых частиц, а также возможности своевременного проведения регенерации фильтров. Регенерация фильтров проводится чаще всего очищенной водой или регенерирующим раствором на основе очищенной воды с использованием сжатого воздуха в условиях полной остановки действующего оборудования. Особенно актуальны процессы регенерации фильтрующих элементов при применении мембранных технологий.
Известен способ регенерации напорного двухступенчатого фильтра по патенту РФ №2256481 (опубл. 2005 г.), по заявке Японии №2005211804 (опубл. 2005 г.), предусматривающий автоматическое управление процессом промывки, заключающийся в промывке водой с последующим отводом загрязненной промывной воды. Недостатком указанного способа является технологическая громоздкость и высокая металлоемкость, обусловленная техническим решением способа регенерации фильтров.
Известен способ регенерации фильтров воздействием вибрацией по авторскому свидетельству СССР №1376299 (опубл. 1996 г.), по заявке Японии №60216815 (опубл. 1985 г.). Способ заключается в снижении скорости фильтрации с последующей промывкой фильтратом, подаваемым с заданной скоростью, наложением вибраций на фильтрующий элемент. Указанный способ осуществляется в периодическом чередовании режима фильтрации и режима регенерации фильтрующего элемента. Недостатком известного способа являются его высокие металло- и энергоемкость.
Известен способ регенерации фильтра, предназначенного для очистки воды, по авторскому свидетельству СССР №1710098, (опубл. 1992 г.), заключающийся в импульсной обработке фильтрующей загрузки с использованием принудительно подаваемого водяного пара, который, расширяясь, приводит к резкому нарастанию давления в фильтрующем элементе и тем самым обеспечивает перенос загрязнений по всему объему фильтрующего элемента. Недостатком известного способа является его высокая энергоемкость и необходимость технологических остановов для осуществления регенерации.
Наиболее близким техническим решением к заявляемому является способ очистки фильтрующих элементов по патенту РФ №2183494 (опубл. 2002 г.). Указанное изобретение ставило целью повышение производительности очистки фильтрующего элемента и эксплуатационной надежности фильтра в целом. В соответствии с решением прототипа указанный способ заключается в воздействии энергии давления воздушной пробки на загрязненную поверхность фильтрующего элемента, формируемой в гидроаккумуляторе (демпфирующем устройстве) и постоянно контактирующей с поверхностью очищенной жидкости, находящейся в гидроаккумуляторе, путем останова фильтруемой жидкости, приведения в действие гидроаккумулятора и перенаправления потока фильтруемой жидкости. Причиной, препятствующей достижению обозначенного ниже технического результата, является отсутствие в известном способе специального технологического приема, установки давления для регенерации фильтрующих элементов в режиме самоочистки. Кроме того, использование указанного способа при его применении для регенерации фильтрующих элементов, используемых для очистки жидкостей, приводит к снижению степени регенерации фильтрующих элементов.
Суть изобретения заключается в следующем.
Технической задачей, на решение которой направлено заявленное изобретение, является разработка эффективного способа регенерации фильтрующих элементов, используемых для очистки жидкостей, содержащих микрочастицы, взвеси, коллоиды.
Техническим результатом заявляемого изобретения является увеличение ресурса работы фильтрующих элементов, снижение расходов электроэнергии.
В основу работы заявленного способа заложен принцип самоочистки фильтрующего элемента путем формирования и использования энергии давления сжатого газа, образуемой резким скачком давления фильтруемой жидкости в момент ее останова.
В процессе фильтрации управляющий микроконтроллер автоматически поддерживает заданное давление фильтруемой жидкости на выходе фильтрующей установки. При останове фильтруемой жидкости наблюдается резкий скачок давления на выходе. Учитывая известное свойство жидкостей не поддаваться сжатию под действием давления и свойство газов поддаваться сжатию под воздействием давления, для осуществления технической идеи, положенной в основу изобретения, авторы предлагают использовать демпфирующее устройство. Используемое для осуществления изобретения демпфирующее устройство представляет собой замкнутую металлическую емкость с патрубком внизу, заполненную до двух трети объема газом (как правило, воздухом, при частном случае осуществления – любым инертным газом, преимущественно азотом, используемым для предотвращения окисления фильтруемых жидкостей: соков, вин и т.п.). Достижение давления в фильтруемой жидкости в системе выше допустимого приводит к повышению давления в демпфирующем устройстве и сжатию наполняющего его газа, т.е. генерированию энергии давления сжатого газа. Под воздействием энергии сжатого газа, которым заполнено демпфирующее устройство, образуется обратный импульс, который направляет поток фильтруемой жидкости в направлении, обратном направлению фильтрации. Загрязнения, образовавшиеся в порах фильтрующего материала, взрыхляются, а частицы фильтрата выбиваются из фильтрующего материала потоком фильтруемой жидкости. Подобные импульсы возникают с заданным интервалом: их формированием руководит специальной клапан в технологической линии. Указанная последовательность стадий в сочетании с аппаратурным оформлением способа обеспечивает тем самым режим саморегенерации фильтрующего материала, не допуская глубокого проникновения микрочастиц в поры фильтрующего материала, и, как следствие, максимальную эффективность восстановления эксплуатационных характеристик используемых фильтрующих элементов.
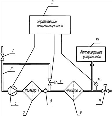
На чертеже представлена принципиальная технологическая схема способа регенерации фильтрующих элементов.
Принципиальная технологическая схема способа регенерации фильтрующих элементов включает узел подачи 1; транспортирующий трубопровод 2; управляющий микроконтроллер 3, соединенный с электронасосом 4, клапаном сброса давления 5 и датчиком давления на выходе 6; первый фильтр, он же – фильтр-накопитель 7; обратный клапан (запирающий) 8, второй фильтр – фильтр тонкой очистки 9; демпфирующее устройство 10, клапан на выходе 11.
Способ регенерации фильтрующего элемента осуществляется следующим образом. Фильтруемая жидкость поступает через узел подачи 1 по транспортирующему трубопроводу 2 в электронасос 4, работой которого руководит управляющий микроконтроллер 3, объединяя работу электронасоса 4, клапана сброса давления 5 и датчика давления на выходе 6 в единый контур. Далее фильтруемая жидкость поступает в первый фильтр 7, снабженный обратным клапаном 8, затем – во второй фильтр 9. Через автоматически заданный промежуток времени закрывается клапан 11, срабатывает управляющий микроконтроллер 3, который одновременно открывает клапан сброса давления 5, отключает электронасос 4 и останавливает таким образом фильтруемую жидкость. Газ (воздух, инертный газ), которым заполнено демпфирующее устройство 10, резко сжимается, на участке транспортирующего трубопровода 2, примыкающем к демпфирующему устройству 10, в отфильтрованной жидкости образуется обратный импульс, который выталкивает фильтруемую жидкость в направлении, обратном направлению фильтрации. В результате часть очищенной жидкости попадает во второй фильтр 9, унося осадок, образовавшийся на поверхности материала фильтрующего элемента, в первый фильтр 7, где происходит его накопление.
В качестве материалов фильтрующих элементов могут быть использованы традиционно применяемые в данной области техники нетканые полотна, выполненные из полипропиленового, лавсанового и целлюлозного волокон, однако наилучшие результаты достигаются при использовании полимерных полупроницаемых мембран.
В качестве фильтрующих элементов могут быть использованы рукавные фильтры, насыпные фильтры, однако наилучшие результаты достигаются при использовании патронных фильтров.
Конкретные режимы осуществления способа, а именно максимальное давление в демпфирующем устройстве, интервал времени между возникновением импульсов, зависят от заданных технологических режимов, типа фильтрующего материала, мощности фильтрующей установки и могут составлять: максимальное давление в демпфирующем устройстве – от 0,05 МПа (для полимерных полупроницаемых мембран) до 0,15 МПа для (для насыпных фильтров).
Преимущества заявленного способа подтверждаются сравнительными показателями ресурса работы фильтрующего элемента по изобретению и по прототипу, выраженного в объеме отфильтрованной жидкости.
При использовании патронного фильтра высотой 250 мм, снабженного полупроницаемой полимерной мембраной, выполненной, в частности, из полиамида, ресурс работы фильтра составляет:
– при очистке водопроводной воды – 7-8 м3 (по решению прототипа – 4-5 м3);
– при получении воды для инъекций для фармацевтической промышленности – 10 м3 (по решению прототипа – 6-7 м3);
– при производстве водки – 62 м3 (по решению прототипа – 16 м3);
– при производстве вина и соков – 20 м3 (по решению прототипа – 8 м3).
Примечание: в качестве газа, заполняющего демпфирующее устройство, в первых трех случаях был использован воздух, в последнем – азот.
При использовании рукавного фильтра высотой 250 мм, выполненного с использованием нетканых материалов, ресурс работы фильтра составляет:
– при очистке водопроводной воды – 22 м3 (по решению прототипа – 10 м3);
– при получении воды для инъекций для фармацевтической промышленности – 40 м3 (по решению прототипа – 15 м3);
– при производстве водки – 130 м3 (по решению прототипа – 60 м3);
– при производстве вина и соков – 40 м3 (по решению прототипа – 22 м3).
Примечание: в качестве газа, заполняющего демпфирующее устройство, в первых трех случаях был использован воздух, в последнем – азот.
При использовании насыпного фильтра высотой 250 мм ресурс работы фильтра составляет:
– при очистке водопроводной воды – 30 м3 (по решению прототипа – 15 м3);
– при получении воды для инъекций для фармацевтической промышленности – 100 м3 (по решению прототипа – 60 м3);
– при производстве водки – 160 м3 (по решению прототипа – 90 м3);
– при производстве вина и соков – 40 м3 (по решению прототипа – 22 м3).
Примечание: в качестве газа, заполняющего демпфирующее устройство, в первых трех случаях был использован воздух, в последнем – азот.
Преимущество заявленного способа состоит в том, что возможность его реализации существенно повышает технологические возможности регенерации фильтрующих элементов, в частности существенно повышает ресурс работы фильтра. Отсутствие в способе отдельных стадий промывки снижает энергоемкость способа, а также исключает применение промывной воды и сжатого воздуха.
Библиографические данные
1. Патент РФ №2256481, опубл. 2005 г.
2. Заявка Японии №2005211804, опубл. 2005 г.
3. Авторское свидетельство СССР №1376299, опубл. 1996 г.
4. Заявка Японии №60216815, опубл. 1985 г.
5. Авторское свидетельство СССР №1710098, опубл. 1992 г.
6. Патент РФ №2276618, опубл. 2006 г. (прототип).
Формула изобретения
1. Способ регенерации фильтрующего элемента путем воздействия отфильтрованной жидкости под давлением сжатого газа, включающий последовательное сжатие газа, останов фильтруемой жидкости, приведение в действие демпфирующего устройства, перенаправление потока фильтруемой жидкости, отличающийся тем, что используют дополнительный фильтр, снабженный обратным клапаном, при этом регенерацию фильтрующего элемента осуществляют путем обратной подачи отфильтрованной жидкости на регенерируемый фильтрующий элемент, после которого жидкость, уносящая осадок, образовавшийся на регенерируемом фильтрующем элементе, через клапан сброса давления подают в дополнительный фильтр, где происходит накопление осадка.
2. Способ по п.1, отличающийся тем, что в качестве сжатого газа используют сжатый инертный газ, преимущественно азот.
3. Способ по п.1, отличающийся тем, что в качестве фильтрующего элемента используют патронный фильтр, снабженный полупроницаемой полимерной мембраной.
РИСУНКИ
|
|