|
|
(21), (22) Заявка: 2006144005/15, 01.12.2006
(24) Дата начала отсчета срока действия патента:
01.12.2006
(46) Опубликовано: 27.07.2008
(56) Список документов, цитированных в отчете о поиске:
SU 1643030 A1, 23.04.1991. RU 2094092 C1, 27.10.1997. RU 2056893 C1, 27.03.1996. FR 1483111 A, 02.06.1967. DE 1794104 A, 17.12.1970. WO 0160478 A, 23.08.2001. DE 4024588 A, 06.02.1992.
Адрес для переписки:
420107, г.Казань, ул. Эсперанто, 62, кв.56, ООО “Инженерно-внедренческий центр “ИНЖЕХИМ”, М.И. Фарахову
|
(72) Автор(ы):
Фарахов Мансур Инсафович (RU), Салимгареев Ильдар Борисович (RU), Шигапов Ильяс Масгутович (RU), Ахлямов Марат Наильевич (RU), Хасанов Рустам Музагитович (RU), Асибаков Ленар Ильдарович (RU)
(73) Патентообладатель(и):
ООО “Инженерно-внедренческий центр “ИНЖЕХИМ” (RU)
|
(54) ГАЗОРАСПРЕДЕЛИТЕЛЬНОЕ УСТРОЙСТВО ДЛЯ МАССООБМЕННЫХ АППАРАТОВ
(57) Реферат:
Изобретение относится к газораспределителям, используемым в колонных насадочных аппаратах для проведения массообменных процессов в системе газ-жидкость. Газораспределительное устройство, содержащее корпус (1) и перфорированное основание, выполнено в форме треугольной призмы, на боковых сторонах призмы установлены блоки (3) из вертикальных гофрированных листов (4), гофры которых расположены под углом к горизонту, а в смежных листах блока гофры выполнены перекрестно. Устройство устанавливают внутри корпуса (5) насадочного колонного аппарата против патрубка ввода газа (6) с зазором к корпусу аппарата, при этом перфорированное основание расположено ниже патрубка ввода газа (6). Изобретение позволяет улучшить сепарацию мелкодисперсных потоков, уменьшить габаритные размеры устройства и материалоемкость, упростить конструкцию и его монтаж в колонные аппараты. 6 ил.
Изобретение относится к газораспределителям, используемым в насадочных колонных аппаратах для проведения массообменных процессов в системе газ-жидкость, таких как ректификация, абсорбция, и предназначено для равномерного распределения газа по сечению массообменного аппарата, и может быть использовано в нефтехимической и нефтеперерабатывающей промышленности.
Известно устройство для осуществления сепарации жидкости от газа в вертикальном корпусе, включающее перфорированную обечайку, установленную внутри корпуса аппарата против патрубка ввода газа с зазором к корпусу, перекрытым в верхней части перегородкой, на обечайке против перфорации размещены вертикально ориентированные ряды пористых объемных элементов, перекрывающих каналы перфорации, а зазор между обечайкой и корпусом и верх обечайки перекрыты полуглухой тарелкой с патрубками для прохода газа, соединенными с внутренней полостью обечайки.
Преимущественное выполнение:
обечайка в нижней части снабжена гидрозатвором или частично перекрыта;
обечайка выполнена из плоских элементов, замкнутых корпусом аппарата, см. Патент RU 2279302, МПК В01D 3/32, В01D 53/18 (2006.01), 2006.
Недостатками известного устройства являются повышенное гидравлическое сопротивление устройства, связанное с наличием большого числа местных сопротивлений, недостаточная степень сепарации мелкодисперсных потоков, громоздкость и повышенная материалоемкость, сложность изготовления и монтажа.
Наиболее близким по технической сущности является газораспределительное устройство для массообменных аппаратов, выполненное в форме цилиндра с перфорированным основанием и установленное внутри корпуса аппарата эксцентрично относительно его оси против патрубка ввода газа с зазором к корпусу аппарата, а перфорированное основание расположено ниже патрубка ввода газа, на основании установлена цилиндрическая обечайка, которая соединена с корпусом перегородкой, расположенной выше патрубка ввода газа, при этом обечайка выполнена с каналами, имеющими переменное сечение для прохода газа, уменьшающееся к оси расположения патрубка входа газа.
Преимущественное выполнение:
обечайка выполнена каплевидной формы с ориентацией острой кромки, образующей в сторону патрубка входа газа и размещена эксцентрично относительно оси аппарата;
обечайка у патрубка входа газа разделена продольной перегородкой, концы которой пропущены через противоположные каналы и отбортованы в сторону патрубка входа газа, см. Патент RU 1643030 А1, МПК В01D 3/20, 1991.
Недостатками этого устройства являются недостаточная степень сепарации мелкодисперсных потоков, сложность и громоздкость конструкции устройства, повышенная его материалоемкость и сложность монтажа.
Задачей изобретения является улучшение сепарации мелкодисперсных потоков, уменьшение габаритных размеров и материалоемкости устройства, упрощение его конструкции и монтажа.
Техническая задача решается тем, что газораспределительное устройство для массообменных аппаратов, снабженное перфорированным основанием, установлено внутри корпуса аппарата против патрубка ввода газа с зазором к корпусу, а перфорированное основание расположено ниже патрубка ввода газа, в котором устройство выполнено в форме треугольной призмы, на боковых сторонах которой установлены блоки из вертикальных гофрированных листов, гофры которых расположены под углом к горизонту, а в смежных листах блока гофры выполнены перекрестно.
Решение технической задачи позволяет улучшить сепарацию мелкодисперсных потоков, уменьшить габаритные размеры и материалоемкость устройства, упростить его конструкцию и монтаж в новые и существующие колонные аппараты.
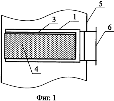
Газораспределительное устройство, содержащее корпус 1, снабженный перфорированным основанием 2, выполнено в форме треугольной призмы, на боковых сторонах призмы установлены блоки 3 из вертикальных гофрированных листов 4, гофры которых расположены под углом к горизонту, а в смежных листах блока гофры выполнены перекрестно. Устройство устанавливают внутри корпуса 5 насадочного колонного аппарата против патрубка ввода газа 6 с зазором к корпусу аппарата, при этом перфорированное основание 2 расположено ниже патрубка ввода газа 6, см. Фиг.1 – расположение газораспределительного устройства в аппарате; Фиг.2 – вид устройства со стороны патрубка ввода газовой фазы; Фиг.3 – вид устройства сверху; Фиг.4 – вид устройства снизу; Фиг.5 – вид устройства сбоку; Фиг.6 – расположение гофрированных листов в блоках.
Предлагаемое газораспределительное устройство для массообменных аппаратов работает следующим образом.
Газовую фазу с содержащимися в ней дисперсными частицами подают радиально через патрубок ввода газа 6 в газораспределительное устройство, содержащее корпус 1 с перфорированным основанием 2, выполненное в форме треугольной призмы.
Поток газа в газораспределительном устройстве проходит через блоки 3, выполненные из вертикальных гофрированных листов 4, гофры которых расположены под углом к горизонту, а в смежных листах блока – перекрестно. Острые кромки гофрированных листов на входе в блоки рассекают поток газа на отдельные струи, которые, проходя между листами, обтекают гофры, при этом под действием инерционных сил происходит осаждение на поверхности листов дисперсных частиц и образование на них жидкой пленки, которая под действием гравитационных сил стекает вниз и выводится из устройства через отверстия перфорации основания 2, а на выходе из блоков, благодаря призматической форме распределительного устройства, струи равномерно распределяются по сечению насадочного колонного аппарата.
Устройство легко монтируется из составных частей, что позволяет подавать их в аппарат через люк и устанавливать устройство в новые и существующие колонные аппараты.
Таким образом, заявляемая конструкция газораспределительного устройства позволяет добиться улучшения сепарации мелкодисперсных частиц путем выравнивания скоростей при распределении и сепарации газожидкостной смеси при минимальных скоростях, на максимальной поверхности и в минимальном объеме, уменьшить габаритные размеры устройства и материалоемкость, упростить его конструкцию и монтаж в новые и существующие колонные аппараты.
Формула изобретения
Газораспределительное устройство для массообменных аппаратов, снабженное перфорированным основанием, установлено внутри корпуса аппарата против патрубка ввода газа с зазором к корпусу, а перфорированное основание расположено ниже патрубка ввода газа, отличающееся тем, что устройство выполнено в форме треугольной призмы, на боковых сторонах которой установлены блоки из вертикальных гофрированных листов, гофры которых расположены под углом к горизонту, а в смежных листах блока гофры выполнены перекрестно.
РИСУНКИ
|
|