|
|
(21), (22) Заявка: 2006140338/15, 15.11.2006
(24) Дата начала отсчета срока действия патента:
15.11.2006
(46) Опубликовано: 20.07.2008
(56) Список документов, цитированных в отчете о поиске:
RU 2221625 C1, 20.01.2004. RU 52731 U1, 27.04.2006. FR 2489167 A1, 05.03.1982. DE 1205496 A, 25.11.1965.
Адрес для переписки:
69068, Украина, г. Запорожье, ул. 8 Марта, 15, ОАО “Мотор Сич”
|
(72) Автор(ы):
Мартыненко Борис Георгиевич (UA), Зубченко Валерий Ефимович (UA)
(73) Патентообладатель(и):
ОАО “Мотор Сич” (UA)
|
(54) СЕПАРАТОР ТОПЛИВНОГО ГАЗА
(57) Реферат:
Сепаратор предназначен для очистки топливного газа. Сепаратор содержит вертикальный цилиндрический корпус, горизонтальную крышку, входной, выходной и сливной патрубки, дефлектор, вертикальный цилиндрический пакет плоских изогнутых пластин, образующих щелевые каналы, размещенный соосно корпусу и выходному патрубку, расположенному над его верхним торцом с образованием кольцевого лабиринта. Внутри цилиндрического пакета пластин установлен перевернутый полый усеченный конус, основание которого закреплено на уровне верхнего торца цилиндрического пакета пластин. На усеченной вершине конуса закреплены конусное ложное днище, образующее кольцевой зазор с внутренней поверхностью корпуса сепаратора, и конусное днище, расположенное на уровне нижнего торца цилиндрического пакета пластин, образующее кольцевой зазор с внутренней поверхностью цилиндрического пакета пластин. Между конусным днищем и ложным конусным днищем расположены радиальные пластины-успокоители вращающегося газового потока. В нижней части перевернутого полого усеченного конуса выполнены отбортованные наружу отверстия, к которым прилегают закрепленные на наружной поверхности конуса спирально-винтовые пластины, направленные по ходу вращения газового потока. Технический результат: повышение эффективности очистки, упрощение конструкции и улучшение технологичности. 2 з.п. ф-лы, 3 ил.
Изобретение предназначено для высокоэффективного отделения и вывода из газового потока аэрозольных, жидких мелкодисперсных фракций и твердых частиц, с целью использования очищенного газа в качестве топлива в газотурбинных установках, и применяется в газовой, энергетической, машиностроительной и химической отраслях промышленности.
Известен сепаратор (патент RU 2188062, B01D 45/12, 02.07.2001), содержащий вертикальный цилиндрический корпус, кольцевую перегородку, разделяющую корпус на нижнюю и верхнюю камеры, входной, выходной и сливной патрубки. Входной патрубок расположен в верхней части нижней камеры и снабжен завихрителем, имеющим спиральные лопасти с углом поворота по длине завихрителя 180°. На выходе из входного патрубка установлен дефлектор с желобом-отбойником, после которого соосно корпусу сепаратора установлен цилиндрический пакет, содержащий плоские изогнутые пластины, образующие щелевые каналы и две дугообразные пластины, между которыми по всей длине цилиндрического пакета расположены сужающиеся к стенке корпуса сепаратора желоба. В нижней части цилиндрического пакета пластин установлено плоское ложное днище с закрепленными на нем вертикальными пластинами-успокоителями вращения газового потока. В верхней камере, выше кольцевой перегородки, установлен двухступенчатый лабиринт – между верхним торцом внутренней поверхности цилиндрического пакета пластин и нижним торцом стенки выпускного патрубка, предназначенный для сбора и отвода с внутренней поверхности цилиндрического пакета пластин жидких капельно-пленочных фракций, перемещаемых газовым потоком к выпускному патрубку.
Недостатками известного устройства являются снижение производительности сепаратора при увеличении в газовом потоке концентрации мелкодисперсных и аэрозольных составляющих, а также сложность конструкции. Низкая производительность сепаратора при большой концентрации жидкостных составляющих заставляет снижать нагрузку по газовой фазе на входе, во избежание начала процесса коалесцирования жидкой фазы газового потока, проходящего через щелевые каналы цилиндрического пакета пластин и уноса образовавшихся крупных капель в выходной патрубок и далее в магистраль. Сужение сечения выпускного патрубка приводит к увеличению потерь напора на выходе. Наличие двухступенчатого лабиринта между верхним торцом внутренней поверхности цилиндрического пакета пластин и нижним торцом стенки выпускного патрубка делает конструкцию этого узла сложной и нетехнологичной.
Более близким к предлагаемому является сепаратор (патент RU 2221625, B01D 45/12, 04.01.2003), содержащий вертикальный цилиндрический корпус, горизонтальную крышку, входной, выходной и сливной патрубки. Входной патрубок расположен в верхней части корпуса. На выходе из входного патрубка установлен дефлектор, после которого соосно корпусу сепаратора закреплен цилиндрический пакет пластин, содержащий плоские изогнутые пластины, образующие щелевые каналы и две дугообразные пластины, между которыми по всей длине закреплены прямоугольные желоба и клиновидные направляющие пластины для сбора и отвода капельно-пленочных жидких составляющих газового потока, перемещающихся по внутренней поверхности цилиндрического пакета пластин. В верхней части цилиндрического пакета плоских изогнутых и дугообразных пластин между его торцом и нижним торцом стенки выходного патрубка образован кольцевой лабиринт (карман-ловушка) для отвода капельно-пленочных составляющих газового потока, движущихся по внутренней поверхности цилиндрического пакета пластин к выпускному патрубку.
Наличие желобов, расположенных по всей высоте цилиндрического пакета пластин, приводит к увеличению сопротивления газового потока, ограничивая производительность сепаратора по газовой и жидкостной фазам, поскольку занимают значительную часть сечения между внутренней поверхностью корпуса сепаратора и цилиндрическим пакетом пластин, а также приводит к образованию жидких капельных составляющих на поверхностях желобов и уносу их газовым потоком через щелевые каналы цилиндрического пакета пластин в выходной патрубок, снижая эффективность очистки газового потока. Дугообразные и клиновидные пластины значительно усложняют конструкцию цилиндрического пакета, а также образуют в известном сепараторе часть площади цилиндрического пакета, не участвующей в процессе окончательной очистки газового потока, что приводит к увеличению скорости прохождения газового потока через щелевые каналы пакета изогнутых пластин, способствующей появлению процесса коалесцирования жидкой фазы газового потока в щелевых каналах и последующему уносу образованных крупных капель в выходной патрубок и далее в магистраль. Сужение сечения выпускного патрубка приводит к увеличению потерь напора на выходе.
Такие недостатки известного устройства приводят к ограничению основных технических характеристик по эффективной очистке газового потока и производительности по газовой и жидкостной фазам. При этом конструкция этого сепаратора является сложной и нетехнологичной.
Задачей изобретения является повышение производительности сепаратора по газовым и жидкостным фазам при сохранении его геометрических размеров за счет снижения сопротивления сепаратора очищаемому газовому потоку, при одновременном повышении эффективности очистки газового потока за счет введения эффективной дополнительной защиты от уноса газовым потоком капель, образованных при коалесцировании жидкой фазы газового потока в щелевых каналах, при одновременном упрощении конструкции и повышении ее технологичности.
Задача достигается тем, что в сепараторе, содержащем вертикальный цилиндрический корпус, горизонтальную крышку, входной, выходной и сливной патрубки, дефлектор, вертикальный цилиндрический пакет плоских изогнутых пластин, образующих щелевые каналы, размещенный соосно корпусу и выходному патрубку, расположенному над его верхним торцом с образованием кольцевого лабиринта, согласно изобретению, внутри цилиндрического пакета пластин установлен перевернутый полый усеченный конус, основание которого закреплено на уровне верхнего торца цилиндрического пакета пластин, а на усеченной вершине конуса, выходящей за пределы нижнего торца цилиндрического пакета пластин, закреплены конусное ложное днище, образующее кольцевой зазор с внутренней поверхностью корпуса сепаратора, и конусное днище, расположенное на уровне нижнего торца цилиндрического пакета пластин, образующее кольцевой зазор с внутренней поверхностью цилиндрического пакета пластин; между конусным днищем и ложным конусным днищем расположены радиальные пластины-успокоители вращающегося газового потока; в нижней части перевернутого полого усеченного конуса выполнены отбортованные наружу отверстия, площадь которых составляет 1/9÷1/10 части площади сечения корпуса сепаратора, к которым прилегают закрепленные на наружной поверхности конуса спирально-винтовые пластины с углом винтовой линии 10÷15° к оси конуса, направленные по ходу вращения газового потока.
Входной патрубок сепаратора и дефлектор расположены в горизонтальной крышке, при этом дефлектор выполнен в виде винтовой улитки.
Кольцевой лабиринт образован верхним торцом усеченного конуса и радиусной кольцевой проточкой, расположенной на нижнем торце выходного патрубка.
Предложенная конструкция сепаратора позволяет повысить производительность по газовой и жидкой фазам, значительно снизив сопротивление сепаратора, так как существенно расширяются проходные сечения сепаратора. При этом очистка газового потока от примесей происходит более эффективно благодаря введению дополнительной защиты от уноса газовым потоком в выпускной патрубок капельных фракций, прошедших щелевые каналы цилиндрического пакета пластин, выполненной в виде перевернутого полого усеченного конуса, расположенного внутри цилиндрического пакета пластин, имеющего отбортованные отверстия для отвода очищенного газового потока к выпускному патрубку, к которым прилегают закрепленные на наружной поверхности конуса спирально-винтовые пластины для отвода отделенной жидкой фракции из внутренней полости цилиндрического пакета пластин.
Кроме того, в сепараторе повышена эффективность предварительной очистки газового потока в дефлекторе за счет выполнения его в виде винтовой улитки.
Эффективная работа сепаратора при внештатных режимах по газовой и жидкостной фазах обеспечивается за счет улавливания и отвода к сливному патрубку капельно-пленочных жидкостных фаз, транспортируемых газовым потоком по внутренней поверхности усеченного конуса без выброса их в выпускной патрубок, что обеспечивается предложенной конструкцией кольцевого лабиринта.
Упрощение конструкции сепаратора, а также улучшение технологичности изготовления, технического обслуживания и ремонта, достигается за счет применения в цилиндрическом пакете одинаковых пластин и крепления его совместно с перевернутым полым конусом на горизонтальной крышке, обеспечивая возможность их совместной сборки и демонтажа.
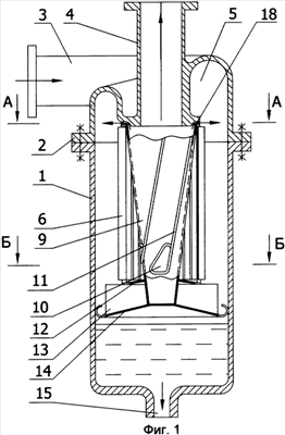
На фиг.1 изображен сепаратор в сечении, на фиг.2 – разрез А-А на фиг.1, на фиг.3 – разрез Б-Б на фиг.1.
Сепаратор топливного газа состоит из вертикального цилиндрического корпуса 1, горизонтальной крышки 2 с входным 3 и выходным патрубком 4 и дефлектором 5, выполненным в виде винтовой улитки, вертикального цилиндрического пакета 6 плоских изогнутых пластин 7, образующих щелевые каналы 8.
Внутри цилиндрического пакета 6 установлен перевернутый полый усеченный конус 9 с отбортованными наружу отверстиями 10, предназначенными для отвода очищенного газового потока к выпускному патрубку, площадь которых составляет 1/9÷1/10 части площади сечения корпуса сепаратора. Уменьшение площадей этих отверстий увеличит сопротивление сепаратора, а увеличение снизит эффективность очистки сепаратора, так как уменьшается площадь усеченного конуса 9, предназначенная для защиты от уноса газовым потоком капель жидкой фазы, что приведет к необходимости снижения производительности сепаратора. Спирально-винтовые пластины 11 закреплены на наружной поверхности усеченного конуса с углом винтовой линии 10÷15° к оси усеченного конуса и направлены по ходу вращения газового потока. Уменьшение угла винтовой линии пластин увеличит сопротивление жидкости, транспортируемой газовым потоком вдоль винтовых пластин, сопровождаемое повышением уровня и перетеканием жидкости через пластины, что значительно ухудшит процесс отвода жидкости к сливному патрубку 15. Увеличение угла винтовой линии пластин приведет к его совпадению с направлением движения газового потока, при этом жидкость будет транспортироваться к сливному патрубку 15 через отбортованные отверстия 10, что образует возможность перетекания жидкости через бурты отверстий на внутреннюю поверхность усеченного конуса 9 и приведет к необходимости снижения производительности сепаратора.
В нижней части усеченного конуса закреплены конусное днище 12, с образованием кольцевого зазора 16 с нижним торцом цилиндрического пакета пластин 6, радиальные пластины 13 и ложное конусное днище 14, с образованием кольцевого зазора 17 с корпусом 1 сепаратора. Верхний торец усеченного конуса 9 образует с нижним торцом выходного патрубка 4 кольцевой лабиринт 18. В нижней части корпуса сепаратора расположен сливной патрубок 15.
Сепаратор работает следующим образом.
Газовый поток подводится в сепаратор через входной патрубок 3 в винтовую улитку дефлектора 5, формирующую вращательно-винтовое движение входного газового потока, где за счет действия центробежных сил происходит отделение и осаживание на стенки дефлектора жидких мелкодисперсных фракций и твердых частиц и дальнейшее их перемещение под воздействием газового потока, движущегося по нисходящей спирали, и сил гравитации по стенке корпуса 1 к сливному патрубку 15.
Аэрозольные жидкие фракции, оставшиеся в газовом потоке после прохождения дефлектора 5, отделяются цилиндрическим пакетом пластин 6 и усеченным конусом 9 следующим образом:
– при небольшой производительности по газовой и жидкостной фазам аэрозольные жидкие фракции, проходя через щелевые каналы 8 цилиндрического пакета пластин 6, оседают на их поверхностях, образуя пленочную жидкую фракцию, которая под воздействием газового потока нисходящего по спирали к отбортованным отверстиям 10 усеченного конуса 9 и сил гравитации, перемещается вниз по внутренней поверхности цилиндрического пакета пластин 6 и далее через зазоры 16 и 17 к сливному патрубку 15;
– при увеличении производительности по газовой и жидкостной фазам аэрозольные жидкие фракции, проходя через щелевые каналы 8 цилиндрического пакета пластин 6, коалесцируются в крупные капли жидкой фракции и уносятся газовым потоком во внутрь цилиндрического пакета пластин 6, где они оседают на наружной поверхности усеченного конуса 9 и под воздействием газового потока, нисходящего к отбортованным отверстиям 10, направляемые спирально-винтовыми пластинами 11 движутся к днищу 12 и далее через кольцевой зазор 16 и 17 к сливному патрубку 15. Радиальные пластины 13 выполняют функцию успокоителей газового потока, предотвращая вращение отделенной жидкой фракции в районе сливного патрубка.
При аварийном увеличении жидкостной составляющей газового потока, характерном при запуске газовых систем, может произойти повышение уровня жидкой фазы, отводимой по наружной поверхности усеченного конуса 9, до высоты отбортовки отверстий 10, после чего жидкость будет транспортироваться газовым потоком по внутренней поверхности усеченного конуса 9 до щелей кольцевого лабиринта 18, с помощью которого она выводится на наружную поверхность цилиндрического пакета 6, где захватывается и отбрасывается к стенке корпуса 1 центробежной силой входящего в сепаратор газового потока и транспортируется к сливному патрубку 15.
Экспериментальным образом установлено, что наилучшие конструктивные параметры сепаратора таковы. Отношение площади поперечного сечения корпуса сепаратора к основным геометрическим параметрам составляет: к площади минимального сечения входного патрубка – 14, к площади сечения выходного патрубка – 9, к площади сечения цилиндрического пакета пластин – 2÷2.5, к проходной площади щелевых каналов цилиндрического пакета пластин – 2÷2.5, к площади сечения кольцевого зазора между конусным днищем и цилиндрическим пакетом пластин – 12÷15, к площади отбортованных отверстий усеченного конуса – 9÷10.
Формула изобретения
1. Сепаратор топливного газа, содержащий вертикальный цилиндрический корпус, горизонтальную крышку, входной, выходной и сливной патрубки, дефлектор, вертикальный цилиндрический пакет плоских изогнутых пластин, образующих щелевые каналы, размещенный соосно корпусу и выходному патрубку, расположенному над его верхним торцом с образованием кольцевого лабиринта, отличающийся тем, что внутри цилиндрического пакета пластин установлен перевернутый полый усеченный конус, основание которого закреплено на уровне верхнего торца цилиндрического пакета пластин, а на усеченной вершине конуса, выходящей за пределы нижнего торца цилиндрического пакета пластин, закреплены конусное ложное днище, образующее кольцевой зазор с внутренней поверхностью корпуса сепаратора, и конусное днище, расположенное на уровне нижнего торца цилиндрического пакета пластин, образующее кольцевой зазор с внутренней поверхностью цилиндрического пакета пластин, между конусным днищем и ложным конусным днищем расположены радиальные пластины-успокоители вращающегося газового потока, в нижней части перевернутого полого усеченного конуса выполнены отбортованные наружу отверстия, площадь которых составляет 1/9-1/10 части площади сечения корпуса сепаратора, к которым прилегают закрепленные на наружной поверхности конуса спирально-винтовые пластины с углом винтовой линии 10÷15° к оси конуса, направленные по ходу вращения газового потока.
2. Устройство по п.1, отличающееся тем, что входной патрубок и дефлектор расположены в горизонтальной крышке, при этом дефлектор выполнен в виде винтовой улитки.
3. Устройство по п.1, отличающееся тем, что кольцевой лабиринт образован верхним торцом усеченного конуса и радиусной кольцевой проточкой, расположенной на нижнем торце выходного патрубка.
РИСУНКИ
|
|