|
|
(21), (22) Заявка: 2004125654/09, 14.01.2003
(24) Дата начала отсчета срока действия патента:
14.01.2003
(30) Конвенционный приоритет:
24.01.2002 GB 0201594.9
(43) Дата публикации заявки: 27.01.2006
(46) Опубликовано: 27.06.2008
(56) Список документов, цитированных в отчете о поиске:
ЕР 0848553 А2, 17.06.1998. RU 2137132 C1, 20.09.1999. US 5774666 А, 30.06.1998.
(85) Дата перевода заявки PCT на национальную фазу:
24.08.2004
(86) Заявка PCT:
IB 03/00076 (14.01.2003)
(87) Публикация PCT:
WO 03/063492 (31.07.2003)
Адрес для переписки:
129010, Москва, ул. Б. Спасская, 25, стр.3, ООО “Юридическая фирма Городисский и Партнеры”, пат.пов. Ю.Д.Кузнецову, рег.№ 595
|
(72) Автор(ы):
ЭШЛИ Алексис С. Р. (NL), ХИКМАН Эндрю Дж. (NL), МОРРИС Октавиус Дж. (NL)
(73) Патентообладатель(и):
КОНИНКЛЕЙКЕ ФИЛИПС ЭЛЕКТРОНИКС Н.В. (NL)
|
(54) УСОВЕРШЕНСТВОВАННАЯ ПЕРЕДАЧА АССОЦИИРОВАННЫХ ИДЕНТИФИКАТОРОВ СОДЕРЖИМОГО (CRID) TV-ANYTIME
(57) Реферат:
Изобретение относится к технике передачи звуковой и видеоинформации. Технический результат состоит в передаче звуковой и видеоинформации с ассоциируемым идентификатором. Для этого способ включает мультиплексирование компонента видеоинформации, компонента звуковой информации, ассоциированного идентификатора содержимого и пакета семантических данных, содержащего информацию о соотношении между компонентом видеоинформации и ассоциированным идентификатором содержимого. Раскрыты устройство для приема потока звуковой/видео информации и устройство для передачи потока звуковой/видео информации. 4 н. и 6 з.п. ф-лы, 4 ил.
Настоящее изобретение относится к способу создания потока звуковой/видео информации, устройству для передачи потока звуковой/видео информации, устройству для приема потока звуковой/видео информации и непосредственно к потоку звуковой/видео информации.
Обычно, малое количество телевизионных каналов и единственный способ передачи (беспроводное телевизионное вещание) означал, что конечный пользователь мог легко отслеживать расписания программ для контроля поставляемого ему содержимого. Однако, после внедрения цифрового телевидения и Интернета, быстро увеличилось количество каналов (теперь исчисляющееся сотнями) и содержимого, доступного для конечного пользователя. В равной степени также увеличилось количество способов передачи, включая телевизионное вещание через волоконно-оптический кабель и хорошо известную телефонную сеть, использующую медный провод. Конечному пользователю тяжело отслеживать даже малую часть доступного содержимого, в результате чего сокращается использование доступных услуг.
Различные заинтересованные стороны работают над несколькими способами решения этой проблемы. Одной такой группой является Форум TV-Anytime (“Телевидение – всегда”) (www.tv-anytime/org), который разрабатывает систему для поиска, выбора, определения местоположения и извлечения содержимого, где (т.е. традиционное телевизионное вещание, вещание на основе Интернет и т.д.), или когда (т.е. по расписанию или в данный момент), оно делается доступным. Для реализации этой концепции Форум определил три отдельных технических области с требованиями на стандартизацию, которыми являются метаданные, снабжение содержимого ссылками (ассоциирование содержимого) и управление правами. Предполагается, что эти три области охватывают минимальные базовые характеристики, необходимые для реализации реальной сквозной системы TV – Anytime, в которой потребители могут осуществлять поиск содержимого, выбирать и извлекать содержимое для просмотра или записи.
Документ TV038r2 (от 7 апреля 2000 г.) “Requirements Series: R4 on Content Referencing Requirements (Normative)”, созданный Форумом TV – Anytime, относится к различным аспектам ассоциирования содержимого. Содержание этого документа включено в содержание изобретения по ссылке. Форум TV – Anytime определил Ассоциированный Идентификатор Содержимого (CRID), который идентифицирует определенный элемент содержимого, но не определяет, где может быть обнаружен этот элемент содержимого. Однако существуют проблемы, связанные с ассоциированным идентификатором содержимого и его передачей конечному пользователю так, чтобы это было удобно конечному пользователю.
Следовательно, задачей изобретения является усовершенствование передачи ассоциированного идентификатора содержимого.
Согласно первому аспекту настоящего изобретения предложен способ создания потока звуковой/видео информации, включающий мультиплексирование компонента видеоинформации, компонента звуковой информации, ассоциированного идентификатора содержимого и пакета семантических данных, содержащего информацию о зависимости (соотношении) между компонентом видеоинформации и ассоциированным идентификатором содержимого.
Согласно второму аспекту настоящего изобретения предложено устройство для передачи потока звуковой/видео информации, содержащее мультиплексор для мультиплексирования компонента видеоинформации, компонента звуковой информации, ассоциированного идентификатора содержимого и пакета семантических данных, содержащего информацию о зависимости между компонентом видеоинформации и ассоциированным идентификатором содержимого, и средство передачи для передачи результирующего потока звуковой/видео информации.
Согласно третьему аспекту настоящего изобретения предложено устройство для приема потока звуковой/видео информации, содержащее средство приема для приема потока звуковой/видео информации, содержащего компонент видеоинформации, компонент звуковой информации, ассоциированный идентификатор содержимого и пакет семантических данных, содержащий информацию о зависимости между компонентом видеоинформации и ассоциированным идентификатором содержимого, и демультиплексор для демультиплексирования упомянутого потока звуковой/видео информации.
Согласно четвертому аспекту настоящего изобретения предложен поток звуковой/видео информации, содержащий компонент видеоинформации, компонент звуковой информации, ассоциированный идентификатор содержимого и пакет семантических данных, содержащий информацию о зависимости между составляющей видеоинформации и ассоциированным идентификатором содержимого.
Благодаря изобретению конечный пользователь просто и удобно обеспечивается ассоциированными идентификаторами содержимого, включая семантическую информацию о зависимости между компонентом видеоинформации и ассоциированным идентификатором содержимого. Посредством категоризации различных возможных зависимостей между ассоциированным идентификатором содержимого и компонентом видеоинформации и маркирования семантики этих зависимостей, устройство приема потока звуковой/видео информации может распознавать идентификатор и создавать, соответственно, предусмотренные интерфейсы пользователя.
Предпочтительно, пакет семантических данных содержит информацию о том, является ли ассоциированный идентификатор содержимого текущим или связанным ассоциированным идентификатором содержимого. Поток звуковой/видео информации может содержать второй ассоциированный идентификатор содержимого, и пакет семантических данных содержит информацию относительно обоих ассоциированных идентификаторах содержимого. Предпочтительно, пакет семантических данных содержит информацию относительно того, является ли каждый ассоциированный идентификатор содержимого критичным по времени.
Устройство для передачи потока звуковой/видео информации передает упомянутый поток звуковой/видео информации через соединение беспроводной связи (такое как линия радиосвязи) или через соединение проводной связи (такое как оптоволоконный кабель). Устройством для приема потока звуковой/видео информации, предпочтительно, является приемник цифрового телевидения.
Поток звуковой/видео информации может передаваться любым соответствующим однонаправленным способом передачи, включая стандартное телевизионное вещание, широковещание через Интернет и передачу “один к одному” через файловый сервер.
Варианты осуществления изобретения будут описаны, исключительно посредством возможных вариантов, согласно приложенным чертежам.
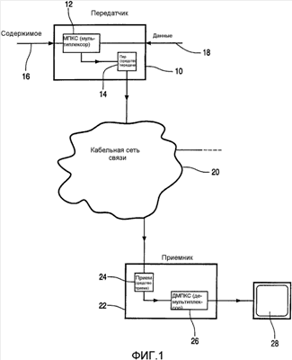
Фиг.1 – схематическое представление устройства для передачи потока звуковой/видео информации в устройство для приема потока звуковой/видео информации через кабельную сеть связи.
Фиг.2 – схематическое представление потока звуковой/видео информации.
Фиг.3 – схематическое представление второго потока звуковой/видео информации.
Фиг.4 – таблица связанных ассоциированных идентификаторов содержимого.
На фиг.1 устройством для передачи потока звуковой/видео информации является передатчик 10, который содержит мультиплексор 12 и средство 14 передачи. Мультиплексор 12 предназначен для мультиплексирования компонента видеоинформации, компонента звуковой информации, ассоциированного идентификатора содержимого и пакета семантических данных в поток звуковой/видео информации для передачи через соответствующую сеть передачи.
Компонент видеоинформации и компонент звуковой информации изображены подаваемыми на мультиплексор 12 в едином потоке 16 содержимого, который может быть извлечен из базы данных или сформирован в реальном времени, например, из спортивного события. В равной степени, мультиплексор 12 может принимать компоненты видеоинформации и звуковой информации по отдельности. Аналогично, ассоциированный идентификатор содержимого и пакет семантических данных подаются на мультиплексор 12 в одном потоке 18 данных, хотя, как компоненты видеоинформации и звуковой информации, они могут подаваться по отдельности.
Пакет семантических данных содержит информацию о зависимости между компонентом видеоинформации и ассоциированным идентификатором содержимого. Это более подробно описано ниже. Ассоциированный идентификатор содержимого является однозначным для подаваемого содержимого и действует как идентифицирующая метка для этого содержимого. Ассоциированный идентификатор содержимого формируется в соответствии с предварительно определенной рубрикой, управляемой поставщиком содержимого.
Поток звуковой/видео информации, содержащий компонент видеоинформации, компонент звуковой информации, ассоциированный идентификатор содержимого и пакет семантических данных передается средством 14 передачи через кабельную сеть 20 связи в приемники, соединенные с этой сетью 20 связи. В равной степени, средство 14 передачи может передавать поток через соединение беспроводной связи, например, в виде стандартного модулированного телевизионного сигнала или посредством спутникового телевизионного вещания.
Один такой приемник 22, в виде приемника цифрового телевидения (обычно определяемого, как компьютерная приставка к телевизору), изображен соединенным с кабельной сетью 20 связи. Это устройство для приема потока звуковой/видео информации содержит средство 24 приема для приема потока звуковой/видео информации и демультиплексор 26 для демультиплексирования потока звуковой/видео информации. Дополнительно, приемник снабжен стандартными компонентами, такими как центральный процессор (ЦП, CPU), кэш-память, основная память и т.д., которые для ясности не изображены.
Средство 24 приема приемника 22 принимает поток звуковой/видео информации, содержащий компонент видеоинформации, компонент звуковой информации, ассоциированный идентификатор содержимого и пакет семантических данных, и подает этот поток на демультиплексор 26, который разделяет поток на составляющие части. При нормальном режиме демультиплексор 26 подает компонент видеоинформации на устройство 28 отображения, которое, обычно должно иметь функциональные возможности обработки звукового сигнала для дополнительного приема компонента звуковой информации.
Следовательно, конечный пользователь будет видеть поток видеоинформации для выбранного им канала, отображенный на устройстве 28 отображения. В кэш-памяти приемника 22 должны храниться ассоциированный идентификатор содержимого и пакет семантических данных. С использованием соответствующего интерфейса пользователя, например дистанционного управления, пользователь, обычно посредством системы меню экрана, может получить доступ к функциям приемника 22.
В случае самого простого применения, ассоциированный идентификатор содержимого должен относиться непосредственно к потоку видеоинформации, в который он внедрен, являясь просто меткой этого текущего содержимого. Такой текущий ассоциированный идентификатор содержимого может использоваться для таких случаев, как получение посредством интерфейса пользователя расширенной информации относительно текущей программы. Для получения информации относительно текущей программы пользователь может выбрать опцию из меню экрана. Если опция выбрана, то приемник 22 извлекает ассоциированный идентификатор содержимого из кэш-памяти и использует его для получения дополнительной информации относительно программы, которая может быть извлечена из соответствующего web-сайта или из данных, переданных передатчиком 10.
Однако, во многих случаях ассоциированный идентификатор содержимого не будет относиться непосредственно к выдаваемому содержимому, или в потоке звуковой/видео информации будет существовать более одного ассоциированного идентификатора содержимого. В этих случаях, функциональные возможности приемника 22 значительно расширяются наличием информации о зависимости между компонентом видеоинформации потока звуковой/видео информации и ассоциированным идентификатором содержимого или ассоциированными идентификаторами содержимого. Это достигается благодаря наличию в потоке звуковой/видео информации пакета семантических данных, который содержит информацию относительно указанной зависимости. ЦП программируется для интерпретации пакета семантических данных и соответствующей настройки работы приемника 22.
Например, если показывается анонс предстоящей программы, то ассоциированный идентификатор содержимого, внедренный в поток, не будет относиться к анонсу, но будет относиться к фактической программе, которая анонсируется. Пакет семантических данных должен содержать информацию, указывающую приемнику 22, что выдаваемое содержимое является анонсом будущей программы и что ассоциированный идентификатор содержимого относится к будущей программе. Если затем пользователь приемника 22 в течение трансляции анонса выберет функцию записи, то приемник не будет записывать представляемые компоненты видеоинформации и звуковой информации потока звуковой/видео информации. Вместо этого, приемник 22 должен передать ассоциированный идентификатор содержимого, ассоциированный с потоком, из его кэша в буфер в основной памяти. Приемник 22 может извлечь содержимое выбранной программы, согласно способу стандарта ассоциирования содержимого TV – Anytime.
Когда поток звуковой/видео информации содержит второй идентификатор содержимого, возникает несколько сложных ситуаций. В этом возможном варианте, пакет семантических данных содержит информацию относительно обоих ассоциированных идентификаторов содержимого. Если имеется более двух идентификаторов, то пакет семантических данных содержит информацию относительно всех ассоциированных идентификаторов содержимого и об их связях с компонентом видеоинформации потока звуковой/видео информации.
Например, при трансляции фильма, поток звуковой/видео информации будет содержать ассоциированный идентификатор содержимого непосредственно для фильма, но может содержать также идентификатор для “понимания” программы, которая скоро должна транслироваться, а также может содержать идентификатор для продолжения к фильму. Пакет семантических данных будет содержать информацию категоризации относительно различных ассоциированных идентификаторов содержимого, такую, что приемник 22 сможет различить, к чему относится каждый идентификатор, и воспроизвести эту информацию в удобном для конечного пользователя виде. Вновь рассматривая возможный вариант записи, если конечный пользователь выбирает функцию записи, то будут показаны подробности о фильме и различных программах, связанных с фильмом, и затем будет обеспечена возможность выбора содержимого, которое действительно требуется записать.
Если транслируемая программа имеет иерархическую структуру, в соответствии с которой полная программа имеет меньшие составные части, то в дополнение к ассоциированному идентификатору содержимого для полной программы, будут назначены отдельные идентификаторы для частей для обеспечения их записи по отдельности. Таким возможным вариантом является спортивная программа, состоящая из различных спортивных событий, иллюстрируемая фиг.2. Приемник 22 на основе содержимого соответствующего пакета семантических данных может различать разные иерархические типы идентификатора и, вследствие этого, по-разному обрабатывать данные и представлять их пользователю в соответствующем режиме. Подобные ситуации возникают в программах формата “сборника” и “журнала”, которые должны иметь ассоциированные идентификаторы содержимого для полной программы и для различных блоков внутри программы.
Поток звуковой/видео информации может также содержать два различных ассоциированных идентификатора содержимого для двух программ, которые следуют друг за другом. Две программы, примыкающие друг к другу, могут совместно использовать некоторое общее содержимое, которое телевизионная вещательная компания полагает полезным для извлечения приемником 22 при записи любой из программ, что иллюстрирует фиг.3. Это могут быть, например, рекламные объявления, или присоединяющиеся разделы. Вновь такая информация содержится в семантическом пакете данных для обработки приемником 22.
Комбинация двух вышеупомянутых сценариев (например, двух примыкающих друг к другу программ формата журнала) может привести к одновременной передаче четырех или большего количества ассоциированных идентификаторов содержимого. Приемник 22 получает информацию относительно типа и связи каждого идентификатора посредством пакета семантических данных.
Фактически существует два типа ассоциированных идентификаторов содержимого, текущий и связывающий ассоциированный идентификатор содержимого. Пакет семантических данных содержит информацию о том, является ли ассоциированный идентификатор содержимого текущим или связывающим ассоциированным идентификатором содержимого. Текущий ассоциированный идентификатор содержимого относится непосредственно к содержимому, в которое он внедрен, в то время как связывающим ассоциированным идентификатором содержимого является идентификатор, который относится к другой программе, то есть не к содержимому, в которое он внедрен. Фиг.4 изображает таблицу различных связывающих идентификаторов и подробности относительно типа информации, которую должен нести семантический пакет данных. Ссылка на “содержимое A/V” на фиг.4 относится к звуковому/видео содержимому потока звуковой/видео информации. Столбец, называемый “Группа” относится к тому, относится ли ассоциированный идентификатор содержимого к группе программ или к одной программе.
Некоторые ассоциированные идентификаторы содержимого являются критичными по времени, и пакет семантических данных содержит информацию относительно того, является ли ассоциированный идентификатор содержимого (ассоциированные идентификаторы содержимого) критичными по времени. Например, текущие ассоциированные идентификаторы содержимого являются критичными по времени, так как приемник 22 должен начать запись в нужное время, в то время как связывающий идентификатор, который относится к связанным программам, не является критичным по времени. Приемник 22 обрабатывает указанную информацию для возможности эффективного определения критичных по времени ассоциированных идентификаторов содержимого, чтобы действие могло предприниматься в своевременном режиме.
Формула изобретения
1. Способ создания потока звуковой/видеоинформации, содержащий мультиплексирование компонента видеоинформации, компонента звуковой информации, ассоциированного идентификатора содержимого, который идентифицирует определенный элемент содержимого, и пакета семантических данных, причем существует соотношение между компонентом видеоинформации и ассоциированным идентификатором содержимого, и причем пакет семантических данных содержит семантическую информацию о соотношении между компонентом видеоинформации и ассоциированным идентификатором содержимого.
2. Способ по п.1, в котором упомянутый пакет семантических данных содержит информацию о том, является ли ассоциированный идентификатор содержимого текущим или связывающим ассоциированным идентификатором содержимого.
3. Способ по любому из п.1 или 2, в котором упомянутый поток звуковой/видеоинформации содержит второй ассоциированный идентификатор содержимого, и пакет семантических данных содержит информацию относительно обоих ассоциированных идентификаторов содержимого.
4. Способ по любому из п.1 или 2, в котором упомянутый пакет семантических данных содержит информацию о том, является ли ассоциированный идентификатор содержимого или каждый ассоциированный идентификатор содержимого критичным по времени.
5. Устройство для передачи потока звуковой/видеоинформации, содержащее мультиплексор для мультиплексирования компонента видеоинформации, компонента звуковой информации, ассоциированного идентификатора содержимого и пакета семантических данных, содержащего информацию о соотношении между компонентом видеоинформации и ассоциированным идентификатором содержимого, и средство передачи для передачи результирующего потока звуковой/видеоинформации.
6. Устройство по п.5, в котором упомянутое средство передачи передает упомянутый поток звуковой/видеоинформации через соединение беспроводной связи.
7. Устройство по п.5, в котором упомянутое средство передачи передает упомянутый поток звуковой/видеоинформации через соединение проводной связи.
8. Устройство для приема потока звуковой/видеоинформации, содержащее средство приема для приема потока звуковой/видеоинформации, содержащего компонент видеоинформации, компонент звуковой информации, ассоциированный идентификатор содержимого и пакет семантических данных, содержащий информацию о соотношении между компонентом видеоинформации и ассоциированным идентификатором содержимого, и демультиплексор для демультиплексирования упомянутого потока звуковой/видеоинформации.
9. Устройство по п.8, в котором упомянутое устройство является приемником цифрового телевидения.
10. Сигнал для передачи через сеть передачи данных, представляющий поток звуковой/видеоинформации, содержащий компонент видеоинформации, компонент звуковой информации, ассоциированный идентификатор содержимого, который идентифицирует определенный элемент содержимого и пакет семантических данных, причем существует соотношение между компонентом видеоинформации и ассоциированным идентификатором содержимого, и причем пакет семантических данных содержит семантическую информацию о соотношении между компонентом видеоинформации и ассоциированным идентификатором содержимого.
РИСУНКИ
|
|