|
|
(21), (22) Заявка: 2004113091/09, 24.09.2002
(24) Дата начала отсчета срока действия патента:
24.09.2002
(30) Конвенционный приоритет:
28.09.2001 (пп.1-18) US 09/967,653
(43) Дата публикации заявки: 27.10.2005
(46) Опубликовано: 27.06.2008
(56) Список документов, цитированных в отчете о поиске:
WO 01/61884 A1, 23.08.2001. RU 2114508 C1, 27.06.1998. US 5570353 A, 29.10.1996. EP 0515335 A2, 25.11.1992. WO 92/11736 A1, 09.07.1992. US 5828677 A, 27.10.1998.
(85) Дата перевода заявки PCT на национальную фазу:
28.04.2004
(86) Заявка PCT:
US 02/30389 (24.09.2002)
(87) Публикация PCT:
WO 03/030401 (10.04.2003)
Адрес для переписки:
129010, Москва, ул. Б. Спасская, 25, стр.3, ООО “Юридическая фирма Городисский и Партнеры”, пат.пов. Ю.Д.Кузнецову, рег.№ 595
|
(72) Автор(ы):
ЧЕН Тао (US)
(73) Патентообладатель(и):
КВЭЛКОММ ИНКОРПОРЕЙТЕД (US)
|
(54) СПОСОБ И УСТРОЙСТВО ДЛЯ УПРАВЛЕНИЯ ВО ВНЕШНЕМ КОНТУРЕ МОЩНОСТЬЮ МНОГОКАНАЛЬНОЙ ОБРАТНОЙ ЛИНИИ СВЯЗИ
(57) Реферат:
Изобретение относится к системам беспроводной связи и может использоваться для управления мощностью многоканальной обратной линии связи. Достигаемый технический результат – повышение надежности. Приемник в системе беспроводной связи включает в себя основной канал обратной лини связи и дополнительный канал обратной линии связи и содержит модуль вычисления значения дельты, формирующий дельту порогового значения, модуль поддержки и подстройки порогового значения, выполненный с возможностью приема коэффициента стирания кадров из основного канала обратной линии связи, сумматор и компаратор, предназначенный для сравнения установочного значения внешнего контура с уровнем принятого сигнала. Способ генерирования целевого отношения сигнала к шуму и помехам в приемнике включает этапы, на которых определяют стирание кадров в основном канале обратной линии связи, определяют коэффициент стирания кадров, поддерживают и подстраивают базовое пороговое значение, определяют дельту порогового значения, которую добавляют к базовому пороговому значению для получения установочного значения внешнего контура. 2 н. и 16 з.п. ф-лы, 5 ил.
Область техники
Настоящее изобретение относится к системам беспроводной связи, более конкретно, к способу и устройству управления во внешнем контуре мощностью многоканальной обратной линии связи для систем беспроводной связи множественного доступа с кодовым разделением каналов (МДКР).
Предшествующий уровень техники
Системы МДКР обеспечивают повышенную пропускную способность и надежность связи. Пропускная способность сотовой системы важна для провайдера услуг сотовой связи, так как это напрямую влияет на доход компании. В принципе, пропускная способность системы беспроводной связи МДКР ограничена взаимными помехами. Следовательно, выгодно уменьшать величину взаимных помех в системе беспроводной связи МДКР.
В общем, наибольшее количество взаимных помех генерируется от других мобильных устройств, таких как сотовые телефоны, работающих в пределах сотовой ячейки или в соседних ячейках. В обратной линии связи, т.е. при передаче от мобильного устройства на базовую станцию, мобильное устройство в системе связи МДКР посылает псевдо-шумовые (ПШ) последовательности на базовую станцию. Базовая станция принимает этот сигнал, как и ПШ- последовательности, излучаемые другими мобильными устройствами. ПШ-последовательности имеют такое свойство, что корреляция между задержанными версиями одной последовательности значительно ниже, чем между двумя последовательностями, выровненными во времени, таким образом задержанная ПШ последовательность является шумом для приемника, согласованным во времени для приема второй ПШ- последовательности с другой задержкой. Таким образом, в системе МДКР множество мобильных устройств могут осуществлять передачи на одной и той же частоте на одну и ту же базовую станцию. Переданный от мобильного пользователя системы МДКР сигнал вносит свой вклад в помехи по отношению к сигналам, переданным от всех других пользователей.
Так как сигнал от каждого мобильного устройства в типовой сотовой среде МДКР создает помехи сигналам других мобильных устройств, проблема взаимных помех получила название проблемы «ближнего-дальнего». Для иллюстрации проблемы «ближнего- дальнего» рассмотрим случай двух мобильных устройств, осуществляющих связь с одной базовой станцией. Предположим, что первое мобильное устройство находится вблизи от базовой станции и имеет малые потери на распространение, а второе мобильное устройство удалено от базовой станции и имеет большие потери на распространение. Также предположим, что оба мобильных устройства осуществляют передачу с одинаковой мощностью. Поскольку оба мобильных устройства осуществляют передачу с одинаковой мощностью, но имеют различные величины потерь на распространение, базовая станция может принимать более слабый сигнал от второго мобильного устройства, чем сигнал от первого мобильного устройства. В системе МДКР передаваемый сигнал от каждого мобильного устройства добавляет помехи всем другим мобильным устройствам. Можно видеть, что с точки зрения базовой станции первое мобильное устройство становится источником относительно больших помех для второго мобильного устройства, чем второе мобильное устройство для первого. Таким образом мобильное устройство, находящееся близко к базовой станции, заглушает сигнал от мобильного устройства, удаленного от базовой станции. Для преодоления проблемы «ближнего-дальнего» в системах МДКР используется управление мощностью для управления передаваемой мощностью каждого мобильного устройства.
В принципе, в системах беспроводной связи МДКР используются три типа систем управления мощностью для обратной линии связи:
система управления мощностью в незамкнутом контуре,
система управления мощностью в замкнутом контуре и
система управления мощностью во внешнем контуре.
В последующем описании в качестве примера используется терминология из стандарта IS-2000. В системах управления мощностью в незамкнутом контуре мобильное устройство использует оцененную принятую мощность от базовой станции для управления своей передаваемой мощностью. Обычно, система управления мощностью в незамкнутом контуре сама по себе недостаточна, потому что прямая линия связи (т.е. от базовой станции к мобильному устройству) и обратная линия связи (т.е. от мобильного устройства к станции) используют различные полосы частот. Поэтому характеристики затенения и замирания для прямой и обратной линии связи могут различаться. Таким образом, беспроводные системы связи МДКР также используют (а) управление мощностью в замкнутом контуре для регулирования передаваемой мощности мобильного устройства так, что отношение принятого сигнала к шуму и помехам на базовой станции максимально приближается к желаемому уровню и (б) управление мощностью во внешнем контуре, предусматривающее определение того, каким должно быть это отношение.
По идее, управление мощностью в замкнутом контуре стремится отрегулировать передаваемую мощность мобильного устройства так, чтобы передаваемый им сигнал, принятый на базовой станции, был максимально близок к пороговому значению. На базовой станции при управлении мощностью в замкнутом контуре передается команда «увеличить/уменьшить» к мобильному устройству, если определено, что мобильному устройству необходимо увеличить или уменьшить свою передаваемую мощность. При управлении мощностью в замкнутом контуре используется выходной сигнал внешнего контура управления мощностью, т.е. желаемое отношение сигнала к шуму и помехам, называемое установочным значением, в качестве порога для определения, является ли принятый от мобильного устройства на базовой станции сигнал слишком сильным или слишком слабым.
Управление мощностью во внешнем контуре реализуется на базовой станции таким образом, чтобы заданный коэффициент стирания кадров (FER) или другой показатель качества достигался при минимальной передаваемой мощности для канала, в отношении которого осуществляется управление. Если качество линии связи слишком низкое или слишком высокое, базовая станция регулирует установочное значение внешнего контура для его повышения или понижения, чтобы достичь желаемое качество линии связи. В регулировании установочного значения внешнего контура заключается управление мощностью во внешнем контуре.
Стандарты систем беспроводной связи МДКР, такие как IS-2000, предлагают более высокие скорости передачи данных по сравнению со скоростями, предусмотренными в более старых стандартах МДКР. В обратной линии связи стандарта IS-2000 мобильное устройство может осуществлять передачу на более высоких скоростях передачи данных, используя один или более обратных дополнительных каналов (R-SCH) в дополнение к основному обратному каналу (R-FCH), который обычно используется для меньших скоростей передачи данных. Обратные дополнительные каналы R-SCH работают на уровнях отношения принятого сигнала к шуму и помехам, отличных от тех, которые имеются в основном обратном канале R-FCH.
На более низких скоростях передачи данных, в общем случае, мобильное устройство осуществляет передачу либо по R-FCH, либо по обратному выделенному каналу управления R-DCCH. Базовая станция отслеживает коэффициент стирания кадров FER в каналах R-SCH или R-DCCH и регулирует установочное значение внешнего контура на основе этого коэффициента FER. Когда мобильное устройство осуществляет передачу на более высоких скоростях передачи данных, оно использует для передачи обратный дополнительный канал R-SCH в дополнение к основному обратному каналу R-FCH, обратному выделенному каналу управления R-DCCH, или обоим.
Как упоминалось выше, R-SCH в основном работает с другими уровнями отношения принятого сигнала к шуму и помехам нежели R-FCH или R-DCCH. Это, в свою очередь влияет на оптимальный для базовой станции уровень отношения принятого сигнала к шуму и помехам для Обратного Пилотного Канала R-PICH. Базовая станция использует другое установочное значение внешнего контура для отношения принятого по R-PICH сигнала к шуму и помехам, когда мобильное устройство осуществляет передачу по каналу R-SCH. Чтобы подстроить установочное значение внешнего контура, когда используется R-SCH, базовая станция может использовать способ отслеживания FER или других метрик декодера канала R-SCH и использовать их во внешнем контуре для подстройки установочного значения внешнего контура.
Однако имеется несколько проблем при отслеживании FER канала R-SCH для подстройки установочного значения внешнего контура. Одна проблема заключается в том, что мобильному устройству разрешено осуществить передачу по каналу R-SCH только в течение ограниченного времени. Этот ограниченный период не обеспечивает достаточного времени наблюдения для генерации достаточной статистики коэффициента FER, которая необходима для точной настройки установочного значения внешнего контура. Другая проблема в том, что передача по каналу R-SCH может быть неожиданно прервана мобильным устройством. Например, мобильное устройство может не иметь соответствующей величины радиочастотной мощности или данных для передачи по каналу R-SCH. В результате этого непредвиденного прекращения передачи по каналу R-SCH в базовой станции становится затруднительным получение оценки FER. Даже когда прекращение передачи по каналу R-SCH происходит в соответствии с предварительно установленным расписанием, управление мощностью во внешнем контуре должно осуществлять переходы между каналами R-SCH и R-FCH или R-DCCH. Если внешний контур на R-SCH или R-DCCH не был обновлен, такие переходы могут создать период установки, где в иных условиях излишне высокая передаваемая мощность потребовалась бы для поддержания качества линии связи по каналам R-SCH или R-DCCH. Подобные потери эффективности возникают на переходе внешнего контура к декодеру(ам) канала(ов) R-SCH.
В параллель с установочным значением внешнего контура для канала R-SCH подобные проблемы могут существовать для канала R-DCCH вследствие пачечного характера его передачи. Это значит, что установочное значение внешнего контура может не установиться на корректном уровне, если в данном канале не происходят часто повторяющиеся передачи. Когда в обратной линии связи мобильного устройства используется только канал R-DCCH в дополнение к каналу R-PICH, имеется необходимость увеличить отношение принимаемого пилотного сигнала к шуму и помехам с учетом того факта, что установочное значение внешнего контура не следует менять часто. Так как стандарт IS-2000 определяет фиксированное отношение передаваемого трафика к пилотному сигналу для каналов R-FCH и R-DCCH независимо от их вероятных рабочих циклов передач, необходимо подстроить пилотное эталонное отношение только для R-DCCH.
Несмотря на использование новых методов управления мощностью во внешнем контуре, когда мобильное устройство осуществляет передачу с использованием множества каналов, мобильное устройство может передавать больше мощности, чем надо для необходимой надежности связи. Это, в свою очередь может уменьшить срок службы батареи питания в мобильном устройстве и снизить пропускную способность обратной линии связи сотовой системы. Следовательно, имеется необходимость в управлении мощностью во внешнем контуре, когда мобильное устройство осуществляет передачу с использованием множества каналов. Также желательно, чтобы решение задачи управления мощностью во внешнем контуре было несложным, особенно в условиях выхода на рынок. Простое решение уменьшит необходимые настройки, снизит вероятность ошибок при реализации и повысит надежность системы в неожиданных рабочих условиях. К тому же, решение, которое может быть реализовано с минимальными изменениями в аппаратном и программном обеспечении, уменьшит время на разработку, что в свою очередь уменьшит расходы на проектирование.
СУЩНОСТЬ ИЗОБРЕТЕНИЯ
Варианты осуществления, описанные ниже, отвечают вышеуказанным потребностям за счет обеспечения целевых отношений сигнала к шуму и помехам для мобильного устройства, осуществляющего передачи по множеству каналов в обратной линии связи в системе беспроводной связи МДКР.
Раскрытые варианты осуществления относятся к способу и устройству для управления мощностью во внешнем контуре, когда мобильное устройство осуществляет передачи с использованием множества каналов. В соответствии с одним аспектом настоящего изобретения, модуль поддержки и регулирования порогового значения принимает входные данные от декодера первого канала и выдает корректное базовое установочное значение по обратному пилотному каналу, который активирует управление мощностью в одноканальном режиме работы. Далее, модуль вычисления дельты вырабатывает дельту порогового значения, которая затем прибавляется к базовому пороговому значению. Результирующая сумма представляет собой установочное значение внешнего контура, которое используется в компараторе в многоканальном режиме работы в обратной линии связи. Компаратор сравнивает уровень принятого сигнала с установленным значением внешнего контура. Выходной сигнал компаратора вводится в модуль генерации команд увеличения/уменьшения. Модуль генерации команд увеличения/уменьшения передает команду уменьшения, если уровень принятого сигнала больше, чем установочное значение внешнего контура, в противном случае он передает команду увеличения.
КРАТКОЕ ОПИСАНИЕ ЧЕРТЕЖЕЙ
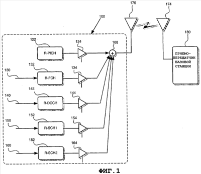
Фиг.1 – каналы физического уровня линии обратной связи.
Фиг.2 – подстройки на установочное значение внешнего контура во времени.
Фиг.3 – примерная базовая станция со средствами управления мощностью во внешнем контуре.
Фиг.4 – блок-схема, иллюстрирующая управление мощностью во внешнем контуре.
Фиг.5 – блок-схема, иллюстрирующая управление мощностью во внешнем контуре с использованием различия пилотного эталонного уровня для изменения эффективного установочного значения внешнего контура, когда имеется множество каналов.
ПОДРОБНОЕ ОПИСАНИЕ
Раскрытые варианты осуществления относятся к способу и аппаратуре для управления мощностью многоканальной обратной линии связи во внешнем контуре. Последующее описание содержит подробную информацию, касающуюся реализации настоящего изобретения. Специалистам в данной области техники должно быть понятно, что настоящее изобретение может быть реализовано иначе, чем конкретно описано в данной заявке. Более того, некоторые специфические детали изобретения не описываются, чтобы не затенять сущность изобретения. Такие детали, не описанные в данной заявке, известны специалистам в данной области техники.
Чертежи в данной заявке и относящееся к ним описание представляют только примерные варианты осуществления изобретения. Для краткости, другие варианты осуществления изобретения, использующие принципы настоящего изобретения, конкретно не описаны в данной заявке и показаны на чертежах. Слово «примерные» используется здесь исключительно в смысле «служат в качестве примера, варианта или иллюстрации». Любой вариант осуществления, описанный здесь как «примерный», не обязательно следует толковать как предпочтительный или имеющий преимущества над другими вариантами осуществления.
Фиг.1 иллюстрирует каналы физического уровня обратной линии связи, которые могут передаваться мобильным устройством 100 при осуществлении связи с базовой станцией 180 в сотовой системе стандарта IS-2000. Хотя только часть типичного мобильного устройства показана в мобильном устройстве 100, оно будет называться в данной заявке мобильным устройством 100.
Физический уровень – это часть коммуникационных протоколов, ответственная за передачу и прием. Физический уровень содержит в себе несколько каналов. В мобильном устройстве 100 показано только подмножество каналов физического уровня обратной линии связи. Мобильное устройство 100 может передавать данные на вход 130 канала R-FCH, на вход 140 канала R-DCCH, на вход 150 канала R-SCH1, или на вход 160 канала R-SCH2. Мобильное устройство 100 в общем случае осуществляет передачу с использованием каналов R-FCH 132, R-DCCH 142, или их обоих. Когда мобильному устройству надо передавать данные на высоких скоростях, оно может осуществлять передачу по дополнительному каналу, такому как R-SCH1 152 и/или R-SCH2 162, в дополнение к используемым R-FCH 132 или R-DCCH 142. Каналы R-FCH 132, R-DCCH 142, R-SCH1 152 и R-SCH2 162 физического уровня называются каналами трафика обратной линии связи.
Мобильное устройство 100 использует обратный пилотный канал R-PICH 122 для обеспечения опорной фазы и оценки качества сигнала для когерентной демодуляции и объединения многолучевых составляющих сигнала в базовой станции 180. Сигнал канала R-PICH 122 представляет собой немодулированный сигнал, не несущий данных. Сигнал канала R-PICH 122 также обеспечивает базовой станции 180 средство для измерения уровня принятого сигнала. Измерение уровня принятого сигнала может быть использовано для управления мощностью по обратной линии связи.
Каждый физический канал имеет свое собственное усиление относительно R-PICH, применяемое к нему до передачи, как показано усилителями 124, 134, 144, 154 и 164. Во время работы мобильное устройство 100 должно поддерживать уровень мощности каждого канала, используя соответствующие коэффициенты усиления для усилителей 124, 134, 144, 154 и 164. В общем случае, уровни мощности для каналов трафика и каналов управления поддерживаются постоянными относительно усиления пилотного канала 122 обратной линии связи. Эти отношения также называются отношениями сигнала трафика к пилот-сигналу.
Когда в определенный момент времени поддерживается один канал обратной линии связи, требуемое отношение уровня принятого пилотного сигнала к шуму и помехам зависит от скорости передачи данных, длины кадра, кодирования с прямым исправлением ошибок (FEC), желаемого качества линии связи, разнесения антенн в мобильном устройстве и в базовой станции, а также других факторов. В результате в стандарте IS-2000 выбрано одно значение для отношения принятого R-PICH – сигнала к шуму и помехам, которое соответствовало обобщенной ситуации, в качестве рабочей точки для каждой комбинации скорости передачи данных, длины кадра, FEC и целевого FER. Эти принятые уровни пилот-сигнала, выраженные относительно требуемого при скорости передачи данных 9600 б/с, длительности кадра 20-мс, сверточном кодировании R-FCH/ROCCH, работающих при 1% FER, называются опорными уровнями пилот-сигнала (PRL). Отношения сигнала трафика к пилот-сигналу для этих комбинаций также определены в стандарте IS-2000. В общем случае, передатчик 180 базовой станции настраивает опорные уровни пилот-сигнала каждого канала трафика и управления на определенный уровень для поддержания конкретного значения FER.
Выходные сигналы усилителей 124, 134, 144, 154 и 164 затем суммируются сумматором 168 и передаются антенной 170 мобильного устройства. Переданный сигнал мобильного устройства 100 принимается антенной 174 базовой станции и обрабатывается приемопередатчиком 180 базовой станции.
Системы беспроводной связи МДКР, такие как соответствующие стандарту IS-2000, управляют передаваемой мощностью мобильного устройства 100. Измеряя уровень принятого от мобильного устройства 100 сигнала и обеспечивая обратную связь для мобильного устройства 100, базовая станция 180 осуществляет управление мощностью в замкнутом контуре. В одном варианте осуществления обратная связь к мобильному устройству представляет собой последовательность команд увеличения и уменьшения мощности.
Если принимаемая мощность от мобильного устройства 100 слишком высока, то базовая станция 180 выдает мобильному устройству 100 команду уменьшения мощности. Наоборот, если принимаемая мощность от мобильного устройства 100 слишком низка, то базовая станция 180 выдает мобильному устройству 100 команду увеличения мощности. Команды увеличения и уменьшения мощности обычно изменяются с положительными и отрицательными приращениями 1dB, но могут использоваться и другие величины. Базовая станция 180 определяет, следует ли выдать команду увеличения или уменьшения мощности посредством измерения отношения принятого сигнала к шуму и помехам и сравнения его с установочным значением внешнего контура. Могут также использоваться отклики обратной связи в других формах. В одном примерном варианте осуществления отклик обратной связи обеспечивает действительное значение коррекции для мобильной станции 100 для изменения ее выходной мощности. То есть отклик обратной связи содержит как знак, так и величину. Как упоминалось ранее, управление мощностью во внешнем контуре непрерывно поддерживает и подстраивает установочное значение внешнего контура для достижения конечной FER или других желаемых характеристик качества канала.
Пример того, как осуществляются настройки во внешнем контуре во времени, показан на Фиг.2. График на Фиг.2 показывает подстройку установочного значения внешнего контура во времени. В момент времени 202 базовой станцией 180 фиксируется стирание кадра. Это стирание приводит к возрастанию коэффициента стирания кадров FER. Если FER слишком велик к моменту времени 202, то управление мощностью во внешнем контуре увеличивает установочное значение на величину «D увеличения» 204. В общем случае «D увеличения» 204 больше, чем величина «D уменьшения» 206, так что базовая станция 180 может быстро увеличить установочное значение внешнего контура в случае, когда увеличивается FER. Во время с 202 по 208 базовая станция 180 не обнаруживает стираний и постепенно понижает установочное значение внешнего контура на величину «D уменьшения» 206. Примерный диапазон настроек для установочного значения внешнего контура может быть от 4,0 дБ до 4,5 дБ, как показано на Фиг.2. В другом примере модуль поддержания и подстройки порогового значения изменяет базовое пороговое значение, т.е. установочное значение согласно результату декодирования канала R-FCH, канала R-DCCH, или их обоих. Если декодирование успешно и метрики декодера показывают очень высокий уровень надежности, пороговое значение уменьшается. Если декодирование неуспешно и метрики декодера показывают низкий уровень надежности, пороговое значение увеличивается.
Обобщая пример, представленный на Фиг.2, управление мощностью во внешнем контуре можно основывать на FER канала R-FCH 132. Когда мобильное устройство 100 осуществляет передачи с использованием канала R-FCH 132 или канала R-DCCH 142 и также осуществляет передачи с использованием канала R-SCH, мобильное устройство 100 можно рассматривать как осуществляющее передачи по множеству каналов.
Отметим, что последующее объяснение использует наличие R-SCH вместе с R-FCH или R-DCCH для иллюстрации настоящего изобретения. Другие варианты применения, включающие необходимость подстройки установочного значения внешнего контура, могут быть выведены из данного примера. Когда мобильное устройство 100 передает по множеству каналов, базовая станция может использовать FER канала R-SCH для поддержания и подстройки установочного значения внешнего контура. Однако этот способ имеет проблемы, упомянутые выше. Один вариант осуществления использует FER или другую метрику качества канала R-FCH или R-DCCH для поддержания и подстройки установочного значения внешнего контура, когда мобильное устройство 100 осуществляет передачи по множеству каналов.
На Фиг.3 показана примерная система 380, детализирующая части базовой станции 180 для управления мощностью в замкнутом контуре и во внешнем контуре. Хотя система 380 иллюстрирует только часть действительной базовой станции, в данной заявке она упоминается как базовая станция 380. Для упрощения чертежа многие другие функции, включая разнесенные приемные антенны, многоотводные приемники и их соединения, не показаны на Фиг.3.
Примерная базовая станция 380 принимает сигнал обратной линии связи от мобильного устройства 100 посредством антенны 374 базовой станции. Дуплексор 302 связан с антенной 374 базовой станции, так что антенна базовой станции может быть использована для приема и передачи сигналов. Выходной сигнал дуплексора 302 подается на вход модуля 303 восстановления и фильтрации пилотного канала, выходной сигнал которого подается на вход приемников 332, 334, 336, 338 индивидуальных каналов, а также на модуль 304 измерения уровня принимаемого сигнала. Модуль 306 измерения уровня принимаемого сигнала подключен ко входу компаратора 308.
Компаратор 308 также принимает входной сигнал с сумматора 310. Сумматор 310 добавляет базовое пороговое значение 326 из модуля 312 поддержки и подстройки порогового значения замкнутого контура и дельты 324 порогового значения из модуля 314 вычисления дельты. Выходной сигнал сумматора 310 обеспечивает установочное значение 322 внешнего контура для компаратора 308. Выходной сигнал компаратора 360 подается на вход модуля 316 генерации команд увеличения/уменьшения мощности. Модуль 316 генерации команд увеличения/уменьшения выдает команды 362 увеличения/уменьшения, которые мультиплексируются с данными 320 прямой линии связи посредством мультиплексора 318. Выходной сигнал мультиплексора 318 передается на вход дуплексора 302 для передачи по прямой линии связи.
Вход 350 модуля поддержки и подстройки порогового значения замкнутого контура может принимать FER или другие метрики декодера от одного из каналов трафика или управления физического уровня обратной линии связи, таких как R-FCH 348, R-DCCH 346, R- SCH1 344 или R-SCH2 342. FER и другие метрики декодера R-FCH 348 вырабатываются демодулятором-декодером 338 канала R-FCH. Аналогичным образом FER и другие метрики декодера каналов-DCCH 346, R-SCH 1 344 и R-SCH2 342 вырабатываются демодуляторами-декодерами 336, 334 и 332, соответственно. Демодулятор-декодеры 332, 334, 336, 338 получают входной сигнал с выхода дуплексора 302, а также от модуля 303 восстановления и фильтрации пилотного канала.
Управление мощностью в замкнутом контуре стремится настроить передаваемую мощность мобильного устройства 100 так, чтобы уровень принимаемого сигнала был близок к установочному значению 322 внешнего контура. В одном варианте осуществления управление мощностью в замкнутом контуре регулирует мощность, передаваемую мобильным устройством 100, посредством команд увеличения/уменьшения мощности. Базовая станция 380 посылает мобильному устройству 100 команду увеличения мощности, если уровень 306 принятого сигнала меньше или равен установочному значению 322 внешнего контура, что определяется компаратором 308. В противном случае базовая станция 380 посылает мобильному устройству 100 команду уменьшения мощности, если уровень 306 принятого сигнала больше установочного значения 322 внешнего контура, что определяется компаратором 308.
При управлении в замкнутом контуре мощностью обратной линии связи модуль 304 измерения уровня принимаемого сигнала измеряет и выдает уровень 306 принятого сигнала путем оценки
Ec/(Io + No),
где Ес – энергия пилот-сигнала на кодовую посылку, Io – спектральная плотность мощности помех и No – спектральная плотность мощности шума.
Управление мощностью во внешнем контуре поддерживает и регулирует базовое пороговое значение 326, используемое при управлении мощностью в замкнутом контуре. Управление мощностью во внешнем контуре настраивает базовый порог 326 для управления мощностью в замкнутом контуре для поддержания целевого FER или других характеристик качества линии связи для канала или каналов, которые используются чаще других. В этом примере это каналы R-FCH или R-DCCH. В одном варианте осуществления модуль 312 поддержки и подстройки порогового значения замкнутого контура действует следующим образом: если FER увеличивается, модуль 312 поддержки и подстройки порогового значения замкнутого контура увеличивает базовое пороговое значение 326 на величину «D увеличения» 204. В противном случае, если FER снижается, модуль 312 поддержки и подстройки порогового значения замкнутого контура снижает базовый порог 326 на величину «D уменьшения» 206.
Если мобильное устройство 100 осуществляет передачу по каналу R-FCH, или R-DCCH или по ним обоим, базовое пороговое значение 326 используется в качестве установочного значения внешнего контура непосредственно для управления мощностью в замкнутом контуре. Это осуществляется согласно Фиг.3 путем установки дельты 324 порогового значения равным нулю.
Когда мобильное устройство 100 осуществляет передачу по множеству каналов, FER канала R-FCH 348 или FER канала R-DCCH 346 передаются на вход модуля 350 поддержки и подстройки порогового значения замкнутого контура. В общем случае, согласно стандарту IS-2000, мобильное устройство 100 передает по каналу R-FCH 348 и по каналу R-DCCH 346 чаще и регулярнее, чем по каналу R-8CH1 344 или R-SCH2 342 т.к. их доступность определяется доступностью ресурсов сотовой системы. Обычно мобильное устройство 100 осуществляет передачу по каналу R-SCH1 344 или по каналу R-8CH2 342, когда мобильное устройство получает авторизацию от базовой станции 380 после посылки запроса. В результате базовая станция 380 «знает» о планируемом начале и конце передач по каналам R-SCH1 или R-SCH2. Используя FER канала R-FCH 348 или FER канала R-DCCH 346 в качестве входного сигнала модуля 312 поддержки и подстройки порогового значения замкнутого контура, система, показанная на Фиг.3, преодолевает ограничение недостаточности статистики для FER, обеспеченной демодулятором 334 канала R-SCH1 или демодулятором 332 канала R-8CH2.
Как упоминалось ранее, для обратной линии связи стандарта IS-2000 в общем случае каждому типу канала назначается определенный уровень передаваемой мощности относительно уровня передаваемой мощности канала R-PICH 122. Также уровень передаваемой мощности относительно уровня передаваемой мощности канала R-PICH 122 изменяется в соответствии с желаемым FER и другими факторами. В общем случае, желаемое значение FER канала R-SCH1 152 (R-SCH1 344 на Фиг.3) и канала R-SCH2 162 (R-8CH2 342 на Фиг.3) согласно стандарту IS-2000 составляет 5%, в то же время желаемое значение FER канала R-FCH 132 (R-FCH 348 на Фиг.3) и канала R-DCCH 142 (R-DCCH 346 на Фиг.3) составляет 1%.
Так как скорости передачи данных различны, каналы R-SCH 1 152 (R-SCH 1 344 на Фиг.3) и R-SCH2 162 (R-SCH2 342 на Фиг.3) осуществляют передачи с опорными уровнями пилот-сигнала, отличными от соответствующих уровней в каналах R-FCH 132 (R-FCH 348 на Фиг.3) и R-DCCH 142 (R-DCCH 346 на Фиг.3). То есть уровень 306 принимаемого сигнала должен отличаться, когда мобильное устройство 100 осуществляет передачи по множеству каналов. Таким образом, когда мобильное устройство осуществляет передачи по множеству каналов, базовая станция 380 не может сразу использовать то же самое установочное значение внешнего контура, используемое, когда мобильное устройство 100 не осуществляет передачи по множеству каналов, т.е. когда данные посылаются по каналу R-FCH 332, R-DCCH 336, или по ним обоим, но не по каналу R-SCH1 344 или R-SCH2 342. Следовательно, базовое пороговое значение 326, выработанное модулем 312 поддержки и подстройки порогового значения замкнутого контура, не готово для использования из-за разных желаемых уровней 306 сигнала R-PICH, когда мобильное устройство осуществляет передачи по множеству каналов.
Чтобы надлежащим образом учесть различные скорости передачи данных, желаемое значение FER и желаемый уровень принимаемого сигнала, когда мобильное устройство 100 осуществляет передачи по множеству каналов, базовая станция 380 добавляет дельту 324 порогового значения к базовому пороговому значению 326. Дельта 324 порогового значения выдается модулем 314 вычисления дельты. Модуль 314 вычисления дельты определяет дельту порогового значения = (максимум опорных уровней пилот-сигналов каналов трафика обратной линии связи) – (опорный уровень пилот-сигнала R-FCH), где максимум опорных уровней пилот-сигналов – это наивысший опорный уровень пилот-сигналов, требуемый всеми одновременно передаваемыми мобильным устройством 100 каналами трафика физического уровня обратной линии связи. Дельта 324 порогового значения добавляется к базовому пороговому значению 326 сумматором 310 для образования установочного значения 322 внешнего контура. Дельта 324 порогового значения используется для компенсации различий в отношениях мощности пилот-сигнала к сигналу трафика между каналами R-FCH 348 и R-SCH1 344 и R-SCH2 342, когда мобильное устройство осуществляет передачи по множеству каналов. Дельта 324 порогового значения добавляется к базовому пороговому значению 326 только когда мобильное устройство осуществляет передачи по множеству каналов. Наоборот, когда мобильное устройство осуществляет передачу по одному каналу, базовая станция 380 устанавливает дельту 324 порогового значения равным нулю либо не прибавляет ее к базовому пороговому значению 326. Опять же, т.к. базовая станция 380 «знает» о планируемом начале и конце передач каналов R-SCH1 или RSCH2, система на Фиг.3 также в состоянии свободно переключаться между дельтой 324 порогового значения, установленной на ноль, и дельтой 324 порогового значения, не установленной на ноль, когда начинаются и кончаются передачи каналов R-SCH1 или RSCH2. Будет иметь место небольшая потеря эффективности, когда будет происходить такое переключение согласно данному изобретению.
Фиг.4 иллюстрирует блок-схему согласно варианту осуществления данного изобретения. Базовая станция 380 начинает процедуру на этапе 402. На этапе 404 базовая станция 380 устанавливает дельту 324 порогового значения равной нулю, затем базовая станция ждет следующего запроса от мобильного устройства 100 по каналу R-SCH1 или R-SCH2. Когда запрос для передачи по каналу R-SCH1 или R-SCH2 принят, базовая станция 380 переходит к этапу 406.
На этапе 406 базовая станция 380 авторизует мобильное устройство 100 для передачи по каналу R-SCH1 или R-SCH2, такому как канал R-SCH1 152 (R-SCH1 344 на Фиг.3) или канал R-SCH2 162 (R-SCH2 342 на Фиг.3), на фиксированную продолжительность и время начала передачи. Затем базовая станция 380 переходит к этапу 408.
На этапе 408 базовая станция 380 определяет дельту 324 порогового значения для использования в начальное время посредством модуля 314 вычисления дельты. Этап 408 представлен более подробно на блок-схеме на Фиг.5. Дельта 324 порогового значения и базовое пороговое значение 326 суммируются вместе сумматором 310 для образования установочного значения 322 внешнего контура.
На этапе 410 базовая станция 380 продолжает использовать установочное значение 322 внешнего контура, пока не завершится фиксированный промежуток времени. Базовая станция 380 может дополнительно обнаружить конец передачи по авторизованным каналам R-SCH 1 или R-SCH2. По завершении временного интервала или при обнаружении завершения до конца планового промежутка базовая станция 380 переходит к этапу 412.
На этапе 412 базовая станция 380 устанавливает дельту 324 порогового значения на ноль и ожидает следующий запрос на дополнительный канал трафика. После приема запроса на дополнительный канал трафика, таких как R-SCH1 152 (R-SCH1 344 на Фиг.3) или R-SCH2 162 (R-SCH2 342 на Фиг.3), базовая станция 380 переходит к этапу 406.
Фиг.5 иллюстрирует блок-схему алгоритма еще одного варианта осуществления, который иллюстрирует этап 408 более подробно. Процедура начинается на этапе 502. На этапе 510 модуль 314 вычисления дельты определяет дельту 324 порогового значения. Дельта 324 порогового значения равна максимальному опорному уровню пилот-сигналов всех текущих активных обратных каналов трафика минус опорный уровень пилот-сигнала каналов R-FCH 132 (R-FCH 348 на Фиг. 3) или R-DCCH 142 (R-DCCH 346 на Фиг.3).
На этапе 512 дельта 324 порогового значения добавляется к базовому пороговому значению 326 для образования установочного значения 322 внешнего контура. Условное значение 322 внешнего контура затем используется компаратором 308.
Базовая станция 380 переходит к концу процедуры на этапе 520. В случае выполнения настроек установочного значения внешнего контура между периодами наличия канала R-FCH и наличия только канала R-DCCH опорный уровень пилот-сигнала канала R-FCH или R-DCCH на этапе 510 заменяется на опорный уровень пилот-сигнала канала R-FCH вследствие требования непрерывной передачи по каналу R-FCH.
Так, способом, описанным выше, изобретение обеспечивает способ и устройство для управления во внешнем контуре мощностью многоканальной обратной линии связи. Специалистам в данной области техники должно быть понятно, что информация и сигналы могут быть представлены с использованием любого из множества способов и технологий. Например, данные, инструкции, команды, информация, сигналы, биты, символы, элементы сигнала, на которые имеются ссылки в приведенном выше описании, могут быть представлены напряжениями, токами, электромагнитными волнами, магнитными полями или частицами или любыми комбинациями перечисленного.
Специалистам в области техники должно быть понятно, что различные приведенные для иллюстрации логические блоки, модули, схемы и этапы алгоритмов, описанные в связи с раскрытыми вариантами осуществления, могут быть реализованы как электронные аппаратные средства, компьютерное программное обеспечение или комбинация того и другого. Для иллюстрации такой взаимозаменяемости аппаратных средств и программного обеспечения различные иллюстративные компоненты, блоки, модули, схемы и этапы алгоритмов описаны выше на уровне функциональных возможностей. То, реализованы ли такие функциональные возможности как аппаратные средства или программное обеспечение, зависит от конкретного применения и ограничений при проектировании, наложенных на всю систему. Специалисты в данной области техники могут реализовать описанные функциональные возможности различными способами для каждого конкретного применения, однако такие варианты реализации не должны рассматриваться как выходящие за пределы данного изобретения.
Различные иллюстративные логические блоки, модули, схемы, описанные в связи с раскрытыми вариантами осуществления, могут быть реализованы или выполнены с помощью процессора общего назначения, цифровым процессором сигналов (DSP), специализированной интегральной схемы (ASIC), программируемой пользователем вентильной матрицы (FPGA), или других программируемых логических устройств, дискретной вентильной или транзисторной логики, дискретных компонент аппаратного обеспечения, или любой комбинации перечисленного для выполнения описанных функций. Процессор общего назначения может представлять собой микропроцессор или любой обычный процессор, контроллер, микроконтроллер или конечный автомат. Процессор может также быть выполнен как комбинация вычислительных устройств, например комбинация DSP и микроконтроллера, множество микропроцессоров, один или несколько микропроцессоров во взаимосвязи с ядром DSP, или в любой другой конфигурации.
Этапы способа или алгоритм, описанные в связи с раскрытыми вариантами осуществления, могут быть реализованы непосредственно в виде аппаратных средств, как модуль программы, выполняемый процессором, или как комбинация того и другого. Модуль программы может находиться в оперативной памяти, во флеш-памяти, ROM, EPROM EEPROM, в регистрах, на жестком диске, на сменном диске, CD-ROM или в любой другой форме носителя для записи данных. Такой носитель (среда) для записи данных связывается с процессором таким образом, что процессор может считывать с него информацию и записывать информацию на данный носитель. В качестве альтернативы, среда для записи данных может быть интегрирована в процессор. Процессор и среда для записи данных могут находиться в составе ASIC. ASIC может находиться в мобильном устройстве, передатчике базовой станции, в спутниковом приемопередатчике. В качестве альтернативы, процессор и носитель для записи данных могут располагаться как отдельные компоненты в пользовательском терминале.
Изложенное выше описание вариантов осуществления изобретения приведено для обеспечения возможности специалистам в данной области техники создать или использовать данное изобретение. Различные модификации вариантов осуществления будут очевидны для специалистов в данной области техники, и основные раскрытые принципы могут быть применены к другим вариантам осуществления без отклонения от сущности и объема изобретения. Таким образом, настоящее изобретение не ограничивается раскрытыми вариантами осуществления, а имеет самый широкий объем, соответствующий раскрытым принципам и новым признакам.
Таким образом, в настоящей заявке описаны способ и устройство для управления во внешнем контуре мощностью многоканальной обратной линии связи.
Формула изобретения
1. Приемник в системе беспроводной связи, включающей в себя основной канал обратной линии связи и дополнительный канал обратной линии связи, причем упомянутый приемник содержит: модуль вычисления значения дельты, выполненный с возможностью формирования дельты порогового значения; модуль поддержки и подстройки порогового значения, выполненный с возможностью приема коэффициента стирания кадров из основного канала обратной линии связи; сумматор, предназначенный для выработки установочного значения внешнего контура посредством суммирования базового порогового значения, предоставленного модулем поддержки и подстройки порогового значения, и дельты порогового значения, предоставленной модулем вычисления значения дельты; компаратор, предназначенный для сравнения установочного значения внешнего контура с уровнем принятого сигнала, причем выходной сигнал компаратора используется для подстройки передаваемой мощности мобильного устройства.
2. Приемник по п.1, отличающийся тем, что упомянутый модуль поддержки подстройки порогового значения выполнен с возможностью приема упомянутого коэффициента стирания кадров из выделенного канала управления обратной линии связи.
3. Приемник по п.1, отличающийся тем, что включает в себя модуль генерации команд увеличения/уменьшения мощности, использующий упомянутый выходной сигнал компаратора для настройки передаваемой мощности мобильного устройства.
4. Приемник по п.1, отличающийся тем, что дельта порогового значения равна разности опорного уровня пилот-сигнала канала и опорного уровня пилот-сигнала основного канала обратной линии связи.
5. Приемник по п.1, отличающийся тем, что дельта порогового значения установлена на ноль, когда отсутствует прием по дополнительному каналу обратной линии связи.
6. Приемник по п.1, отличающийся тем, что уровень принятого сигнала выдается модулем измерения уровня принятого сигнала.
7. Приемник по п.1, отличающийся тем, что упомянутый модуль поддержки и подстройки порогового значения увеличивает базовое пороговое значение на величину « увеличения», когда возникает стирание кадра.
8. Приемник по п.1, отличающийся тем, что упомянутый модуль поддержки и подстройки порогового значения снижает базовое пороговое значение на величину « уменьшения», когда не возникает стирание кадра.
9. Приемник по п.6, отличающийся тем, что упомянутый модуль измерения уровня принятого сигнала оценивает уровень сигнала в канале пилот-сигнала обратной линии связи.
10. Приемник по п.1, отличающийся тем, что упомянутый модуль поддержки и подстройки порогового значения запоминает базовое пороговое значение.
11. Способ генерирования целевого отношения сигнала к шуму и помехам в приемнике, включающий в себя этапы, на которых определяют стирание кадров в основном канале обратной линии связи; определяют коэффициент стирания кадров; поддерживают и подстраивают базовое пороговое значение; определяют дельту порогового значения; добавляют дельту порогового значения к базовому пороговому значению для получения установочного значения внешнего контура.
12. Способ по п.11, отличающийся тем, что дополнительно включает в себя этап, на котором сравнивают уровень принятого сигнала с установочным значением внешнего контура.
13. Способ по п.12, отличающийся тем, что дополнительно включает в себя этап, на котором передают команду увеличения мощности к мобильному устройству, когда уровень принятого сигнала меньше, чем установочное значение внешнего контура.
14. Способ по п.12, отличающийся тем, что дополнительно включает в себя этап, на котором передают команду уменьшения мощности к мобильному устройству, когда уровень принятого сигнала больше, чем установочное значение внешнего контура.
15. Способ по п.11, отличающийся тем, что дельта порогового значения равна разности опорного уровня пилот-сигнала канала максимальной скорости передачи и опорного уровня пилот-сигнала основного канала обратной линии связи.
16. Способ по п.12, отличающийся тем, что уровень принятого сигнала определяют в канале пилот-сигнала обратной линии связи.
17. Способ по п.11, отличающийся тем, что этап поддержки и подстройки порогового значения включает в себя этап увеличения базового порогового значения на величину « увеличения», когда обнаруживают стирание кадра.
18. Способ по п.11, отличающийся тем, что этап поддержки и подстройки порогового значения включает в себя этап уменьшения базового порогового значения на величину « уменьшения», когда не обнаруживают стирания кадра.
РИСУНКИ
|
|