|
|
(21), (22) Заявка: 2006146581/28, 25.12.2006
(24) Дата начала отсчета срока действия патента:
25.12.2006
(46) Опубликовано: 27.06.2008
(56) Список документов, цитированных в отчете о поиске:
Технический отчет по ОКР «Пух», №22907, Воронеж, инв. №Д41356, 1985 г. RU 2190899 С1, 10.10.2002. RU 2229183 С1, 20.05.2004. SU 1679922 А1, 27.07.1996. US 4393392 А, 12.07.1983.
Адрес для переписки:
394006, г.Воронеж, Университетская пл., 1, ГОУ ВПО “Воронежский государственный университет”, Центр трансфера технологий
|
(72) Автор(ы):
Булгаков Олег Митрофанович (RU), Петров Борис Константинович (RU)
(73) Патентообладатель(и):
Государственное образовательное учреждение высшего профессионального образования ВОРОНЕЖСКИЙ ГОСУДАРСТВЕННЫЙ УНИВЕРСИТЕТ (RU)
|
(54) МОЩНЫЙ ВЧ- И СВЧ-ТРАНЗИСТОР
(57) Реферат:
Изобретение относится к полупроводниковой электронике и может быть применено в конструкциях мощных ВЧ- и СВЧ-полупроводниковых приборов. Изобретение позволяет повысить коэффициент усиления по мощности мощного ВЧ- и СВЧ-транзистора, транзисторные ячейки которого образуют ряд, разделенный посередине на две равные части, и в состав каждой транзисторной ячейки входит обособленная от других ячеек металлизированная площадка для соединения транзисторной ячейки с входным электродом посредством проволочного проводника. Для этого металлизированные площадки и проволочные проводники располагаются симметрично относительно середины ряда транзисторных ячеек. Это приводит к уменьшению потоков взаимоиндукции токов транзисторных ячеек, протекающих по проволочным проводникам, и за счет этого неоднородности индуктивностей входных контуров транзисторных ячеек, что обеспечивает более точное совпадение резонансных частот этих контуров с основной рабочей частотой транзистора. 2 ил.
Заявляемое изобретение относится к полупроводниковой электронике и может быть применено в конструкциях мощных ВЧ и СВЧ полупроводниковых приборов.
Известен мощный ВЧ- и СВЧ-транзистор, содержащий ряд транзисторных ячеек, каждая из которых включает в себя две металлизированных площадки, на первую из которых через проволочный проводник подается потенциал входного электрода (эмиттерного в схеме с общей базой, электрода затвора в схеме с общим истоком и т.п.), а на вторую через проволочный проводник подается потенциал одного из двух оставшихся электродов, чаще – общего электрода (базового в схеме с общей базой и т.п.). В целях снижения паразитной емкости металлизированных площадок одноименные площадки, принадлежащие разным транзисторным ячейкам, изолированы друг от друга. Проводник, соединенный с первой площадкой, своим другим концом контактирует с обкладкой конденсатора внутреннего входного согласующего LC-звена, соединенной с входным электродом (US №4393392, МПК H01L 23/02, 12.07.1983).
Недостатком такого транзистора является уменьшение процента выхода годных изделий по мере повышения выходной мощности прибора. Повышение выходной мощности сопровождается увеличением количества транзисторных ячеек, т.е. увеличением площади прямоугольной полупроводниковой подложки, на которой размещаются транзисторные структуры. Это приводит к увеличению вероятности дефектов в пределах площади подложки.
Наиболее близким по совокупности признаков является мощный СВЧ-транзистор, в котором ряд из 2N транзисторных ячеек пространственно разделен на две одинаковые части по N транзисторных ячеек в каждой (Технический отчет по ОКР «Пух», №22907, Воронеж, 1985 г. (инв. № Д41356)). Расстояние между ячейками с номерами N и N+1 выбирается достаточным для их разделения используемыми методами резки полупроводниковых пластин. Это позволяет повысить процент выхода изделий той же мощности по сравнению с конструкциями с однородным рядом транзисторных ячеек, так наличие дефекта в одной из двух частей ряда приводит к отбраковке не всех 2N, а только половины транзисторных ячеек ряда.
0.
Реактивные элементы входной цепи i-й транзисторной ячейки из их общего количества 2N представляют собой последовательно соединенные индуктивности входного электрода Lвхi (индуктивность соединения первой металлизированной площадки с обкладкой конденсатора входного согласующего LC-звена) и общего электрода Loi (индуктивность соединения шины общего электрода усилителя с металлизированной площадкой, контактирующей с соответствующей ему активной областью транзисторной ячейки), а также емкость конденсатора входного согласующего LC-звена C1, общую для всех транзисторных ячеек.
Таким образом, в составе полной индуктивности входного контура i-й транзисторной ячейки: L*вхi=Lвхi+Loi, имеется, по меньшей мере, одна индуктивность, образованная проволочным проводником, подающим на металлизированную площадку потенциал соответствующего ей электрода.
Неодинаковое пространственное взаиморасположение контуров, ограниченных проволочными проводниками, и взаимоиндукция токов, протекающих по этим проводникам, приводят к различию, как минимум, индуктивностей Lвхi, что обуславливает разницу значений L*вхi, i=1, …, 2N. Это в свою очередь приводит к различию резонансных частот входных цепей транзисторных ячеек

между собой и от основной рабочей частоты транзистора f0. Вследствие этого часть входной мощности Рвх на частоте f0 отражается в предоконечный каскад усилителя, за счет чего пропорционально уменьшается и выходная мощность P1. Неполное поглощение входной мощности и уменьшение выходной мощности приводит к снижению коэффициента усиления по мощности транзистора КР=P1/Рвх на его основной рабочей частоте f0.
Заявляемое изобретение предназначено для уменьшения неоднородности значений резонансных частот входных цепей отдельных транзисторных ячеек за счет уменьшения разницы потоков взаимоиндукции в их входных контурах.
Технический результат заключатся в увеличении коэффициента усиления по мощности транзистора.
Технический результат достигается тем, что в известном мощном ВЧ- и СВЧ-транзисторе, содержащем ряд из 2N транзисторных ячеек, пространственно разделенный на две одинаковые части по N транзисторных ячеек в каждой, причем каждая транзисторная ячейка включает в себя изолированные от других транзисторных ячеек первую металлизированную площадку, соединенную проволочным проводником с обкладкой конденсатора, на которую подается потенциал входного электрода корпуса, и вторую металлизированную площадку, на которую через проволочный проводник подается потенциал другого электрода корпуса, так что первые и вторые металлизированные площадки в каждой части ряда транзисторных ячеек чередуются, согласно изобретению на смежных краях частей ряда транзисторных ячеек располагаются вторые металлизированные площадки.
Таким образом, заявляемый технический результат, а именно увеличение коэффициента усиления по мощности транзистора, достигается за счет того, что ориентация двух частей ряда транзисторных ячеек указанным способом увеличивает взаимную удаленность друг от друга проволочных проводников, соединяющих первые металлизированные площадки с входным электродом корпуса, что обеспечивает уменьшение потерь мощности во входных цепях транзисторных ячеек за счет уменьшения неоднородности их индуктивностей и отличия их резонансных частот от основной рабочей частоты транзистора f0.
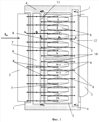
На фиг.1 схематично показан заявляемый мощный ВЧ- и СВЧ-транзистор, вид сверху. На фиг.2 изображена схема соединений отдельных ячеек заявляемого мощного ВЧ- и СВЧ-транзистора.
Мощный ВЧ- и СВЧ-транзистор состоит из основания корпуса 1, на котором расположены электроды: входной 2, коллекторный 3 и общего вывода 4 (фиг.1). Для данного примера исполнения транзистора 2 и 4 соответственно электроды эмиттера и базы. Две полупроводниковые подложки 5, на каждой из которых расположено по N транзисторных ячеек 6, являются в данном примере областями коллектора для всех ячеек. Первые металлизированные площадки 7 транзисторных ячеек соединены проводниками 8 с верхней обкладкой МДП-конденсатора 9 внутреннего согласующего LC-звена и далее – с входным электродом 2. Вторые металлизированные площадки 10 транзисторных ячеек соединены проводниками 8 с металлизированной шиной 11 и металлической балкой 12, непосредственно контактирующими с электродом общего вывода 4.
При работе мощного ВЧ- и СВЧ-транзистора в составе каскада усиления мощности за счет протекания рабочих токов по проводникам 8 в контурах BiCiDiEi, BiCiDiFiG1H1Ei, BiCiDiFiG1H1Ei (i=1, …, 2N) наводятся потоки самоиндукции и взаимоиндукции, обуславливающие индуктивности входных цепей транзисторных ячеек (Булгаков О.М. Композиционные модели индукционных взаимодействий в мощных ВЧ и СВЧ транзисторах. / О.М.Булгаков, Б.К.Петров. – Воронеж: Воронежский государственный университет, 2005. – 253 с.)

где , – комплексные амплитуды 1-х гармоник соответственно полного магнитного потока во входном контуре i-й транзисторной ячейки и входного тока транзистора. Ввиду параллельного соединения контуров BiCiDiEi, BiCiDiFiG1H1Ei, BiCiDiFiG1H1Ei величины в них равны, поэтому для расчета можно рассматривать любой из трех контуров, например, BiCiDiEi.
Выражение (2) может быть записано в виде

где – комплексные амплитуды 1-х гармоник соответственно магнитного потока самоиндукции, одинакового для всех ячеек ввиду их конструкционной идентичности, и магнитных потоков взаимоиндукции, наводимых токами транзисторных ячеек ряда в рассматриваемом контуре i-й ячейки.
В свою очередь

где слагаемые в правой части – потоки взаимоиндукции, создаваемые в контуре BiCiDiEi токами, протекающими по проводникам соответственно BkCk, DkEk, AkBk и DkFk.
С учетом (3) выражение (2а) запишется в виде:

Величины в правой части (3) являются монотонно возрастающими функциями длин проводников (|BkCk|, |DkEk|, |AkBk|, |DkFk|) и монотонно убывающими функциями расстояния от проводников до рассматриваемого контура (|CkCi| и |DkCi|, если kkDi| и |CkDi|, если k
Ввиду различного набора расстояний: |CkCi|, |DkCi|, k=1, …, i-1 и |DkDi|, |CkDi|, k=i+1, …, 2N для всех i=1, …, 2N, суммы потоков взаимоиндукции в (2а) и (2б) различны для всех контуров BiCiDiEi. Это в свою очередь приводит к зависимости от i числителей в фигурных скобках (2а), следовательно, величин L*вх i и fрез вх i. Однако симметричное относительно середины ряда ячеек 6 расположение площадок контактной металлизации 7 и 10 для присоединения проводников 8 на полупроводниковых подложках 5 (фиг.1) приводит к тому, что для всех контуров BiCiDiEi, i=1, …, 2N:
1) уменьшается сумма потоков взаимоиндукции за счет уменьшения слагаемых , k=N+1, …, 2N, для i N; или k=1, …, N, для i N, вследствие увеличения расстояний от соответствующих проводников BkCk до контура ВiСiDiЕi;
2) уменьшается сумма за чет уменьшения слагаемых k=N+1, …, 2N, для i N; или k=1, …, N, для i N, вследствие увеличения расстояний от соответствующих проводников AkBk до контура BiCiDiEi;
3) увеличиваются суммы однако При этом знак противоположен знаку ввиду противоположного направления токов в проводниках DkFk и DkEk.
Общим итогом действия всех перечисленных выше факторов будет уменьшение суммы потоков взаимоиндукции в правой части (2а) относительно потока самоиндукции, следовательно – уменьшение разницы L*вх i и fрез вх i по сравнению с прототипом. Это обеспечивает возможность за счет подбора емкости C1 уменьшить по сравнению с прототипом отклонения резонансных частот транзисторных ячеек от основной рабочей частоты: |f0 – fрез вх i|, тем самым снизить потери входной мощности на частоте f0 и увеличить КР.
Формула изобретения
Мощный ВЧ- и СВЧ-транзистор, содержащий ряд из 2N транзисторных ячеек, разделенный на две одинаковые части по N транзисторных ячеек в каждой, причем каждая транзисторная ячейка включает в себя изолированные от других транзисторных ячеек первую металлизированную площадку, соединенную проволочным проводником с обкладкой конденсатора, на которую подается потенциал входного электрода корпуса, и вторую металлизированную площадку, на которую через проволочный проводник подается потенциал другого электрода корпуса, так что первые и вторые металлизированные площадки в каждой части ряда транзисторных ячеек чередуются, отличающийся тем, что на смежных краях частей ряда транзисторных ячеек располагаются вторые металлизированные площадки.
РИСУНКИ
MM4A – Досрочное прекращение действия патента СССР или патента Российской Федерации на изобретение из-за неуплаты в установленный срок пошлины за поддержание патента в силе
Дата прекращения действия патента: 26.12.2008
Извещение опубликовано: 10.08.2010 БИ: 22/2010
)>;> |
|