|
(21), (22) Заявка: 2006116171/28, 12.05.2006
(24) Дата начала отсчета срока действия патента:
12.05.2006
(43) Дата публикации заявки: 10.12.2007
(46) Опубликовано: 27.06.2008
(56) Список документов, цитированных в отчете о поиске:
SU 1257695 А1, 15.09.1986. FR 1323722 А, 12.04.1963. US 3890723 А, 24.06.1975.
Адрес для переписки:
125430, Москва, ул. Митинская, 30, В.А. Гнездилову
|
(72) Автор(ы):
Гнездилов Владимир Алексеевич (RU)
(73) Патентообладатель(и):
Гнездилов Владимир Алексеевич (RU)
|
(54) УСТРОЙСТВО ДЛЯ ИСПЫТАНИЯ ТРАНСПОРТНОГО СРЕДСТВА
(57) Реферат:
Изобретение относится к испытаниям транспортных средств и может быть использовано для испытания тележек аттракционов. Устройство содержит гибкую емкость, наполняемую текучим балластом, закрепляемую на сидении транспортного средства. Емкость прижимается к сиденью фиксатором, сила прижатия может регулироваться в необходимых пределах. В качестве балласта может использоваться вода. Технический результат заключается в облегчении обращения с устройством, возможности регулировки веса и расположения центра тяжести балласта. 6 з.п. ф-лы, 1 ил.
Изобретение относится к средствам для испытания транспортных средств, в частности для испытания тележек катальных горок.
В настоящее время для испытания тележек катальных гор используются жесткие емкости, заполняемые водой, или мешки с песком.
Недостатком первых устройств является громоздкость и невозможность изменения веса емкости в соответствии с необходимым положением центра тяжести балласта.
Недостатком вторых устройств является невозможность регулирования высоты центра тяжести балласта.
Технический результат, на достижение которого направлено изобретение, заключается в устранении отмеченных выше недостатков.
Указанный результат достигается тем, что устройство для испытания транспортного средства, содержащее наполняемую текучим балластом емкость, закрепляемую на сидении транспортного средства, снабжено пластиковым фиксатором емкости на сидении, которая выполнена гибкой. Емкость может быть выполнена в виде мешка, а в качестве балласта целесообразно использовать воду. Пластиковый фиксатор может быть выполнен S-образного профиля с углублением для средства закрепления на транспортном средстве в зоне среднего перегиба.
Для имитации пассажиров разной комплекции емкость выполняется из секций разного объема, разделенных продольными стенками, при этом емкость может содержать на противоположных концах отдельные секции определенного объема.
Сущность изобретения поясняется чертежом.
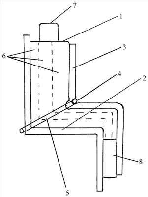
Устройство для испытания транспортного средства состоит из заполняемого водой мешка 1, поджатого к сидению 2 пластиковым фиксатором 3, имеющим -образный профиль. Профиль фиксатора позволяет имитировать положение человека на сидении.
В зоне среднего перегиба фиксатор 3 имеет углубление 4 для средства 5 его закрепления на сидении.
Емкость может состоять из отдельных секций 6 разного объема и может иметь концевые секции 7 и 8, имитирующие соответственно голову и нижние конечности пассажиров.
При проведении испытаний степень заполнения мешка (соответствующих секций) балластом, а значит, и его вес можно изменять в любых выбранных пределах. Выбор веса можно сочетать с выбором положения центра тяжести. Положение центра тяжести регулируется за счет силы прижатия фиксатора 3 к сидению 2.
Формула изобретения
1. Устройство для испытания транспортного средства, содержащее наполняемую текучим балластом емкость, закрепляемую на сиденьи транспортного средства, отличающееся тем, что снабжено пластиковым фиксатором емкости на сиденьи, которая выполнена гибкой.
2. Устройство по п.1, отличающееся тем, что емкость выполнена в виде мешка.
3. Устройство по п.1, отличающееся тем, что в качестве балласта использована вода.
4. Устройство по любому из пп.1-3, отличающееся тем, что пластиковый фиксатор выполнен -образного профиля.
5. Устройство по п.4, отличающееся тем, что пластиковый фиксатор в зоне среднего перегиба выполнен с углублением для средства закрепления на транспортном средстве.
6. Устройство по любому из пп.1-3, 5, отличающееся тем, что емкость состоит из секций разного объема, разделенных продольными стенками.
7. Устройство по п.6, отличающееся тем, что емкость выполнена на противоположных концах с отдельными секциями.
РИСУНКИ
|