|
(21), (22) Заявка: 2006135607/11, 09.10.2006
(24) Дата начала отсчета срока действия патента:
09.10.2006
(46) Опубликовано: 27.06.2008
(56) Список документов, цитированных в отчете о поиске:
SU 1755083 A1, 15.08.1992. SU 305381 A1, 04.06.1971. WIARF А. Установка для испытания подвижного состава на удар. Tentative de crash avec catapulte: 16.0.11.2 Vie rail. 1996, N 2563, с.4-5. 1997 – 12 TR01 ВИНИТИ [ISSN 1561-722X].
Адрес для переписки:
607188, Нижегородская обл., г. Саров, пр. Мира, 37, ФГУП “РФЯЦ-ВНИИЭФ”, начальнику ОПИНТИ
|
(72) Автор(ы):
Бердников Вячеслав Александрович (RU), Крот Михаил Романович (RU), Мельник Анатолий Викторович (RU), Никулин Виталий Михайлович (RU), Синев Дмитрий Александрович (RU)
(73) Патентообладатель(и):
Российская Федерация в лице Федерального агентства по атомной энергии (RU), Федеральное государственное унитарное предприятие “Российский федеральный ядерный центр-Всероссийский научно-исследовательский институт экспериментальной физики”-ФГУП “РФЯЦ-ВНИИЭФ” (RU)
|
(54) СПОСОБ ИСПЫТАНИЙ ОБЪЕКТА НА ВОЗДЕЙСТВИЕ ПРИ ТРАНСПОРТНЫХ АВАРИЯХ
(57) Реферат:
Разгоняют транспортное средство (1) с закрепленным на нем объектом по направляющей (4) переменной кривизны, имеющей горизонтальный прямолинейный участок, плавно переходящий в прямолинейный наклонный участок с заданным положительным уклоном, до схода транспортного средства с направляющей в ее наивысшей точке. После схода с направляющей за счет сил инерции транспортное средство поднимают на заданную высоту опоры. Соударение с преградой и деформацию транспортного средства осуществляют путем последующего его падения. Упрощается моделирование падения с моста транспортного средства, условия испытаний приближаются к натурным. 2 з.п. ф-лы, 2 ил.
Изобретение относится к испытательной технике и может быть использовано для испытаний объектов в упаковках на воздействие при транспортных авариях.
Известен способ испытаний объектов на воздействие при транспортных авариях, описанный в авторском свидетельстве «Стенд для исследования прочности конструкций при ударе о воду», в котором при помощи универсального шарнира испытуемую конструкцию закрепляют на свободном конце стрелы регулируемой жесткости, а второй конец стрелы крепят на барабане, поворотно смонтированном на неподвижной оси и связанном через тормозное устройство с приводом и через муфту сцепления – с механизмом принудительного опускания стрелы, стрелу опускают с заданным темпом до удара испытуемой конструкции о воду (см. а.с. СССР №305381, МПК G01М 5/00, опубл. 04.06.1971 г. бюл. №18).
Моделирование аварийных ситуаций с крупногабаритными транспортными средствами (ТС), например падение железнодорожного вагона с объектами в упаковках, сошедшего со скоростью 70 км/час (средняя скорость движения ТС с опасными объектами) с моста высотой 40 м (максимальная высота мостов, по которым допускается движение ТС с опасными объектами), по данному способу потребует стрелу грузоподъемностью не менее 60 т. А с учетом того, что для обеспечения необходимого направления вектора скорости вагона удар о преграду должен произойти при наклоне стрелы 45°, длина стрелы должна быть около 65 м, а неподвижная ось ее выше преграды на 40 м (или длина стрелы около 140 м, а неподвижная ось ее ниже преграды на 100 м). Любой вариант существенно усложняет испытания и требует значительных материальных затрат.
Известен «Способ исследования прочности конструкции при ударе о преграду», заключающийся в том, что конструкцию (транспортное средство с закрепленным на нем объектом) разгоняют до расчетной скорости и деформируют ее на расчетную величину, соударяя с преградой, а затем в определенном интервале времени к конструкции прикладывают дополнительное усилие, направленное к преграде и обеспечивающее неизменность расчетной величины деформации конструкции (см. а.с. СССР №1755083, МПК 5 G01М 7/00, 17/00, опубл. 15.08.1992 г, бюл. №30).
Данный способ выбран в качестве прототипа
Применение данного способа для моделирования аварийных ситуаций с крупногабаритными транспортными средствами, например падения железнодорожного вагона с объектами в упаковках, сошедшего со скоростью 70 км/час с моста высотой 40 м, потребует разгон вагона производить на сооружении высотой 40 м над уровнем преграды, что также усложняет испытания и требует значительных материальных затрат.
Задачей предлагаемого изобретения является создание способа испытаний объектов на воздействие при транспортных авариях, обеспечивающего моделирование падения с моста высотой до 40 м транспортного средства с объектами в упаковках в воду или на грунт.
Технический результат – упрощение моделирования падения с моста транспортного средства с объектами в упаковках в воду или на грунт, уменьшение материальных затрат, возможность получения необходимой информации о процессе испытаний.
Поставленная задача решается тем, что по заявленному способу испытаний объекта на воздействие при транспортных авариях, включающему разгон транспортного средства (ТС) с закрепленным на нем объектом до расчетной скорости и деформацию ТС при соударении с преградой, разгон ТС осуществляют по крайней мере по одной направляющей переменной кривизны, имеющей горизонтальный прямолинейный участок, плавно переходящий в прямолинейный наклонный участок с заданным положительным уклоном, до схода ТС с направляющей в ее наивысшей точке со скоростью, горизонтальная составляющая которой равна скорости ТС в момент его схода с опоры заданной высоты, а вертикальная составляющая скорости равна значению, определяемому по формуле:

где Н – высота опоры;
h – высота схода ТС с направляющей;
g – ускорение свободного падения,
при этом после схода с направляющей за счет сил инерции ТС поднимают на заданную высоту опоры, а соударение с преградой осуществляют путем последующего падения ТС.
После схода ТС с направляющей ему могут придать заданную угловую скорость по крайней мере одним импульсным реактивным двигателем, закрепленным сзади ТС, при этом вектор тяги двигателя направляют назад по ходу движения под заданным углом к вертикали.
На закрепленном объекте могут устанавливать измерительную аппаратуру, информацию с которой передают на установленную на дистанции приемопередающую аппаратуру или записывают на сохраняемый запоминающий носитель информации, установленный на ТС.
От прототипа заявляемый способ отличается тем, что разгон ТС осуществляют по крайней мере по одной направляющей переменной кривизны, имеющей горизонтальный прямолинейный участок, плавно переходящий в прямолинейный наклонный участок с заданным положительным уклоном, до схода ТС с направляющей в ее наивысшей точке со скоростью, горизонтальная составляющая которой равна скорости ТС в момент его схода с опоры заданной высоты, а вертикальная составляющая скорости равна значению, определяемому по формуле:

где Н – высота опоры;
h – высота схода ТС с направляющей;
g – ускорение свободного падения,
при этом после схода с направляющей за счет сил инерции ТС поднимают на заданную высоту опоры, а соударение с преградой осуществляют путем последующего падения ТС.
После схода ТС с направляющей ему могут придать заданную угловую скорость по крайней мере одним импульсным реактивным двигателем, закрепленным сзади ТС, при этом вектор тяги двигателя направляют назад по ходу движения под заданным углом к вертикали.
На закрепленном объекте могут устанавливать измерительную аппаратуру, информацию с которой передают на установленную на дистанции приемопередающую аппаратуру или записывают на сохраняемый запоминающий носитель информации, установленный на ТС.
Осуществление разгона ТС с закрепленным на нем объектом по крайней мере по одной направляющей переменной кривизны, имеющей горизонтальный прямолинейный участок, плавно переходящий в наклонный участок с заданным положительным уклоном, до схода ТС с направляющей в ее наивысшей точке со скоростью, горизонтальная составляющая которой равна скорости ТС в момент его схода с опоры заданной высоты, а вертикальная составляющая скорости равна значению, определяемому по формуле:

где Н – высота опоры;
h – высота схода ТС с направляющей;
g – ускорение свободного падения,
позволяет снизить высоту расположения разгонного участка.
Сход ТС с направляющей, подъем после схода с направляющей за счет сил инерции ТС на заданную высоту опоры, последующее падение ТС, соударение его с преградой и деформация ТС при соударении с преградой позволяют по сравнению с прототипом упростить моделирование падения ТС с объектами в упаковках в воду или на грунт и уменьшить на порядок материальные затраты.
Придание ТС после схода его с направляющей заданной угловой скорости по крайней мере одним импульсным реактивным двигателем, закрепленным сзади ТС, вектор тяги которого направляют назад по ходу движения под заданным углом к вертикали, позволяет обеспечить требуемый угол подхода ТС к преграде, что приближает условия соударения к натурным.
Установка на объекте измерительной аппаратуры, информацию с которой передают на установленную на дистанции приемопередающую аппаратуру или записывают на сохраняемый запоминающий носитель информации, установленный на ТС, позволяет получить необходимую информацию о процессе испытаний.
Изобретение поясняется чертежами:
– на фиг.1 изображена схема проведения испытаний;
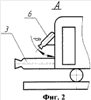
– на фиг.2 изображен фрагмент ТС с двигателями.
Проведение испытаний выполняется в следующем порядке.
ТС (1), например железнодорожный вагон с закрепленными в нем объектами (2) в упаковках, разгоняют до расчетной скорости. Разгон ТС (1) в данном примере осуществляют ракетным двигателем (3) по двум рельсовым направляющим (4) переменной кривизны, имеющим горизонтальный прямолинейный участок Б, плавно переходящий в прямолинейный наклонный участок В с заданным положительным уклоном . Далее производят сход ТС (1) с направляющих (4) в их наивысшей точке. Причем скорость разгона, угол наклонного участка В направляющих (4) и высота h этого участка выбираются такими, чтобы в момент схода ТС (1) горизонтальная составляющая скорости Vx его была равна скорости ТС в момент его схода с опоры заданной высоты Н (моста, с которого имитируют падение ТС), а вертикальная составляющая скорости была равна значению, определяемому по формуле:

где Н – высота опоры;
h – высота схода ТС с направляющей;
g – ускорение свободного падения.
После схода с направляющей за счет сил инерции ТС поднимается на заданную высоту Н опоры моста и далее свободно падает с горизонтальной составляющей скорости Vx, равной скорости ТС в момент его реального схода с опоры моста. После падения осуществляется соударение его (в данном примере с водной преградой (5)) и деформация.
После схода ТС (1) с направляющих (4) ему могут придать заданную угловую скорость одним импульсным реактивным двигателем (6), закрепленным сзади ТС (1). Вектор тяги двигателя (6) направляют назад по ходу движения под заданным углом к вертикали. Параметры импульсного реактивного двигателя (6) и направление вектора его тяги выбирают такими, чтобы угол подхода ТС к водной с преграде (5) был равен натурному. Кроме того, направление вектора тяги двигателя (6) выбирают таким, чтобы он не снижал скорость ТС после схода его с направляющих (4).
На закрепленные объекты (2) могут устанавливать измерительную аппаратуру, информацию с которой передают на установленную на дистанции приемопередающую аппаратуру или записывают на сохраняемый запоминающий носитель информации (не показаны), установленный на ТС (1). Это позволяет регистрировать необходимую информацию с объектов (2) в процессе испытаний.
При испытании объекта на падение при транспортных авариях с моста высотой Н=40 м со скоростью схода 70 км/ч (20 м/с) при массе ТС (1) с объектами, равной М60т, тяге реактивного двигателя, равной Т600 кН, положительном угле наклона =45° и высоте схода ТС с направляющих h=20 м нетрудно оценить параметры движения ТС (1) и требуемый путь его разгона. Вертикальная составляющая скорости ТС в конце схода с направляющих равна величине, определяемой по формуле:

Горизонтальная составляющая скорости Vx с учетом угла наклона направляющих (4) на участке В, равном =45°, также равна 20 м/сек (72 км/ч). Результирующая скорость ТС в момент схода с направляющих

Т.е. в момент схода с направляющих (4) горизонтальная составляющая скорости равна скорости схода ТС с моста, а вертикальная составляющая скорости обеспечивает подъем ТС еще на 20 м.
Отсюда определяем необходимую скорость разгона ТС V0 на участке Б (без учета потерь на трение):

Для разгона ТС с ускорением

требуется горизонтальный участок направляющих Б длиной

Очевидно, что реализация такого эксперимента с использованием прототипа потребует минимум на порядок больше затрат на установку направляющих на высоте 40 м.
Таким образом, предложенный способ по сравнению с прототипом позволяет упростить моделирование падения транспортного средства с объектами в воду или на грунт и уменьшить на порядок материальные затраты
Формула изобретения
1. Способ испытаний объекта на воздействие при транспортных авариях, включающий разгон транспортного средства с закрепленным на нем объектом до расчетной скорости и деформацию транспортного средства при соударении с преградой, отличающийся тем, что разгон транспортного средства осуществляют по крайней мере по одной направляющей переменной кривизны, имеющей горизонтальный прямолинейный участок, плавно переходящий в прямолинейный наклонный участок с заданным положительным уклоном, до схода транспортного средства с направляющей в ее наивысшей точке со скоростью, горизонтальная составляющая которой равна скорости транспортного средства в момент его схода с опоры заданной высоты, а вертикальная составляющая скорости равна значению, определяемому по формуле:

где Н – высота опоры;
h – высота схода транспортного средства с направляющей;
g – ускорение свободного падения,
при этом после схода с направляющей за счет сил инерции транспортное средство поднимают на заданную высоту опоры, а соударение с преградой осуществляют путем последующего падения транспортного средства.
2. Способ испытаний по п.1, отличающийся тем, что после схода транспортного средства с направляющей ему придают заданную угловую скорость, по крайней мере, одним импульсным реактивным двигателем, закрепленным сзади транспортного средства, при этом вектор тяги двигателя направляют назад по ходу движения под заданным углом к вертикали.
3. Способ испытаний по п.1 или 2, отличающийся тем, что на закрепленном объекте устанавливают измерительную аппаратуру, информацию с которой передают на установленную на дистанции приемопередающую аппаратуру или записывают на сохраняемый запоминающий носитель информации, установленный на транспортном средстве.
РИСУНКИ
|