|
|
(21), (22) Заявка: 2006101811/03, 23.01.2006
(24) Дата начала отсчета срока действия патента:
23.01.2006
(43) Дата публикации заявки: 27.07.2007
(46) Опубликовано: 27.06.2008
(56) Список документов, цитированных в отчете о поиске:
RU 2250950 С2, 27.04.2005. SU 669002 А, 25.06.1979. SU 588777 А, 17.07.1978. SU 960368 А, 23.09.1982. DE 2324994 А, 28.11.1974. DE 10322941 А1, 02.12.2004.
Адрес для переписки:
346421, Ростовская обл., г. Новочеркасск, пр. Баклановский, 188, кв.40, для Д.В.Кашарина
|
(72) Автор(ы):
Кашарин Денис Владимирович (RU)
(73) Патентообладатель(и):
Кашарин Денис Владимирович (RU)
|
(54) ГИДРОЭНЕРГЕТИЧЕСКОЕ СООРУЖЕНИЕ МНОГОРАЗОВОГО ИСПОЛЬЗОВАНИЯ (ВАРИАНТЫ)
(57) Реферат:
Изобретение относится к гидротехническому и гидроэнергетическому строительству. Сооружение содержит гидроагрегат, прикрепленный к гибкому понуру, гибкой рисберме и руслу с помощью русловых анкеров, и водоподпорную оболочку, прикрепленную к гидроагрегату с помощью жесткого узла крепления и к береговым анкерным опорам вантовой системой. В первом варианте для придания формы водоподпорной оболочке, обеспечивающей расчетное вертикальное сжатие потока и минимальные потери напора, вантовая система снабжена дополнительными продольными и поперечными вантами. Во втором варианте для обеспечения плавного бокового сжатия потока при подходе к гидроагрегату установлены гибкие пластины, прикрепленные к жесткому узлу крепления, откосам русла и гибкой рисберме с помощью анкеров с натяжными устройствами, обеспечивающими предварительное натяжение продольных вант. Для обеспечения устойчивости водоподпорной оболочки и устранения ее вибрации сооружение снабжено поперечными ребрами жесткости, повторяющими очертание расчетного поперечного сечения водоподпорной оболочки и закрепленными по периметру с помощью вант-оттяжек к русловым анкерам, водоподпорной оболочке со стороны верхнего бьефа и гидроагрегату за счет жесткого узла крепления, и продольными ребрами жесткости, закрепленными к гибким пластинам, продольным вантам, поперечным ребрам жесткости и водоподпорной оболочке с помощью гибких связей. В третьем варианте при небольших пролетах и устойчивых береговых откосах для придания формы водоподпорной оболочке, обеспечивающей расчетное вертикальное сжатие потока и минимальные потери напора, вантовая система снабжена дополнительными продольными вантами. В четвертом варианте для обеспечения большей устойчивости сооружения, лучшего натяжения продольных вант и быстроты возведения вдоль верхнего и нижнего края водоподпорной оболочки установлены раздвижные штанги, концы которых соединены с гибкими пластинами. В пятом варианте водоподпорная оболочка состоит из гибких полос или профилей, прикрепленных с двух сторон к эластичному полотнищу, сквозь которые продеты продольные ванты для придания оболочке формы веера, а для обеспечения расчетной формы водоподпорной оболочки гибкие полосы расположены под углом к потоку. В шестом варианте водоподпорная оболочка выполнена в виде замкнутой наполняемой оболочки, принимающей свою расчетную форму при заполнении водой или другим заполнителем через устройства для заполнения, и закреплена одной продольной вантой, проходящей по ее верху. В целях рыбоохранных мероприятий в одних вариантах в водоподпорной оболочке размещены рыбопропускные устройства, а в других по краям гидроагрегата устроены рыбопропускные каналы. Для защиты гидроагрегата и дополнительного крепления вантовой системы установлена защитная сетка. Изобретение позволяет создать временный водохозяйственный узел с решением локального энергообеспечения, орошения, водоснабжения, рыборазведения, пожаробезопасности. 6 н.п. ф-лы, 14 ил.
Изобретение относится к гидротехническому и гидроэнергетическому строительству и может быть использовано при строительстве водоподпорных сооружений, в том числе при чрезвычайных ситуациях, для создания небольших мобильных гидроэлектростанций.
Известно устройство плотины, включающее гибкие оболочки, выполненные по ширине водотока, по верхним кромкам соединенные вантовыми системами, причем нижние кромки закреплены неподвижно.
Причинами, препятствующими получению требуемого технического результата, являются громоздкость и большая точность при его строительстве /1/.
Известно устройство водосливной плотины, включающее гибкие незамкнутые водоподпорную и замкнутую водобойную оболочки, понур и рисберму, отверстия в средней части оболочки /2/.
Причинами, препятствующими получению требуемого технического результата, являются сложность в эксплуатации и отсутствие устройства турбины по использованию кинетической энергии потока.
Близким техническим решением является переносной погружной гидроагрегат с поперечно-струйной турбиной /3/.
Причиной, препятствующей получению требуемого технического результата, является невозможность его использования при малой глубине водотока.
Наиболее близким техническим решением является устройство, включающее оболочку и трубчатый элемент с отверстиями, образованными со стороны верхнего и нижнего бьефов /4/.
Причинами, препятствующими получению требуемого технического результата, являются наличие постоянного жесткого флютбета, отсутствие элемента для получения электрической энергии, а также форма оболочки, не обеспечивающая оптимальные условия подхода потока к гидроагрегату.
Близким способом возведения является способ возведения подпорно-аэрационного регулирующего сооружения, включающий сборку в русле водотока гибкого флютбета, состоящего из гибкого понура и гибкой рисбермы, подготовку траншеи, монтаж элементов и установку готового сооружения в русло [5].
Наиболее близким к предлагаемому является способ возведения подпорно-регулирующего гидроэнергетического сооружения, включающий сборку в русле водотока гибкого флютбета, состоящего из гибкого понура и гибкой рисбермы, его закрепление анкерами к дну водотока, отличающийся тем, что к гибкому понуру и гибкой рисберме прикрепляют жесткими связями водовыпускное устройство с установленным внутри гидроагрегатом, а затем на водовыпускном устройстве закрепляют связями водоподпорную оболочку совместно с вантовой системой, укрепляемой к береговым анкерным опорам [6].
Предлагаемое техническое решение позволит создать временный водохозяйственный узел с решением локального энергообеспечения, орошения, водоснабжения, рыборазведения, а также обеспечит локализацию распространения лесных пожаров.
Данный технический результат достигается за счет создания гидроэнергетического сооружения.
Отличительными признаками предлагаемого гидроэнергетического сооружения многоразового использования является наличие узлов ребер жесткости, придающих оболочке форму конфузора, обуславливающего минимальные потери воды и оптимальные условия сжатия потока при подходе к гидроагрегату, что повышает эффективность использования удельной энергии потока при получении электрической энергии, а также рыбопропускные устройства и защитная сетка, крепящаяся продольной вантой вдоль гидроагрегата для его защиты.
При определении параметров поперечного сечения водоподпорной оболочки исходят из очертания свободной поверхности струи, вытекающей из под тонкой стенки. Принимая поток жидкости идеальным и плоскопараллельным, допускается замена линий токов, найденных гидромеханическим путем, аппроксимирующими эллиптическими кривыми. На основании имеющихся данных для плоскопараллельного потока большая полуось эллипса, использующегося при аппроксимации поверхности потока и при истечении из под затвора, принимается равной глубине в верхнем бьефе hв.б., а малая полуось b=(1- )P, где – коэффициент сжатия струи, Р – высота оболочки. Тогда уравнение эллипса с началом координат, находящимся в нижнем бьефе на линии, проведенной по свободной поверхности воды в верхнем бьефе, принимает вид [7]:
.
Предлагаемые конструкции гидроэнергетического сооружения иллюстрируются чертежами, представленными на фиг.1-14.
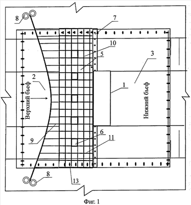
Гидроэнергетическое сооружение (фиг.1, 2) многоразового использования, содержащее гидроагрегат 1, прикрепленный к гибкому понуру 2, гибкой рисберме 3 и руслу с помощью русловых анкеров 4, водоподпорную оболочку 5, прикрепленную к гидроагрегату 1 и руслу с помощью жесткой связи 7 и к береговым анкерным опорам 8 вантовой системой 9, включающей сетку из продольных 10 и поперечных 11 вант, закрепленную жесткой связью 7, причем гибкий понур 2, гибкая рисберма 3 по периметру и водоподпорная оболочка 5 по краям закреплены креплениями, отличающееся тем, что для придания формы водоподпорной оболочке 5, обеспечивающей расчетное вертикальное сжатие потока и минимальные потери напора, вантовая система 9 снабжена дополнительными продольными 10 и поперечными 11 вантами, в целях рыбоохранных мероприятий в водоподпорной оболочке 5 размещены рыбопропускные устройства 6, а для защиты гидроагрегата и дополнительного крепления вантовой системы 9 установлена защитная сетка 12, крепящаяся к русловым анкерам 4 в нижней части и в верхней – ниже рыбопропускных устройств 6 к продольной 10 ванте вдоль гидроагрегата 1.
Гидроэнергетическое сооружение многоразового использования работает следующим образом. Под действием потока воды гибкий понур 2, укрепленный анкерами 4, прижимается к руслу и обеспечивает устойчивость сооружения. Затем водоподпорная оболочка 5, закрепленная вантовой системой 9 к русловым анкерам 8, создает повышение уровня воды в верхнем бьефе и за счет продольных 10 и поперечных 11 вант приобретает форму, обеспечивающую оптимальное сжатие потока и наименьшие потери его энергии при подходе к гидроагрегату 1. При прохождении водного потока через защитную сетку 12 на гидроагрегат 1 происходит выработка энергии. При выходе из гидроагрегата 1 вода поступает на гибкую рисберму 3, которая защищает русло в нижнем бьефе от размыва.
Гидроэнергетическое сооружение многоразового использования (фиг.3, 4), содержащее гидроагрегат 1, прикрепленный к гибкому понуру 2, гибкой рисберме 3 и руслу с помощью русловых анкеров 4, водоподпорную оболочку 5, прикрепленную к гидроагрегату 1 с помощью жесткого узла крепления и к береговым анкерным опорам 8 вантовой системой 9, включающей сетку из продольных 10 и поперечных вант 11, закрепленную жесткой связью 7, причем гибкий понур 2, гибкая рисберма 3 по периметру и водоподпорная оболочка 5 по краям закреплены креплениями, отличающееся тем, что для придания формы водоподпорной оболочке 5, обеспечивающей расчетное вертикальное сжатие потока и минимальные потери напора, вантовая система 9 снабжена дополнительными продольными 10 и поперечными 11 вантами, для обеспечения плавного бокового сжатия потока при подходе к гидроагрегату 1 установлены гибкие пластины 14, прикрепленные к жесткому узлу крепления, откосам русла и гибкой рисберме 3 с помощью анкеров с натяжными устройствами 15, обеспечивающими предварительное натяжение продольных 10 вант, а для обеспечения устойчивости водоподпорной оболочки 5 и устранения ее вибрации сооружение снабжено поперечными ребрами жесткости 16, повторяющими очертание расчетного поперечного сечения водоподпорной оболочки 5 и закрепленными по периметру с помощью вант-оттяжек к русловым анкерам 4, водоподпорной оболочке 5 со стороны верхнего бьефа и гидроагрегату 1 за счет жестокого узла крепления, и продольными ребрами жесткости 18, закрепленными к гибким пластинам 14, продольным 10 вантам, поперечным ребрам жесткости 16 и водоподпорной оболочке 5 с помощью гибких связей 19, в целях рыбоохранных мероприятий в водоподпорной оболочке 5 размещены рыбопропускные устройства 6, а для защиты гидроагрегата 1 и дополнительного крепления вантовой системы 9 установлена защитная сетка 12, крепящаяся к русловым анкерам 4 в нижней части и в верхней – ниже рыбопропускных устройств 6 к продольной 10 ванте вдоль гидроагрегата 1.
Гидроэнергетическое сооружение многоразового использования работает следующим образом. Под действием потока воды гибкий понур 2, укрепленный анкерами 4, прижимается к руслу и обеспечивает устойчивость сооружения. Затем водоподпорная оболочка 5, закрепленная вантовой системой 9 к русловым анкерам 8, создает повышение уровня воды в верхнем бьефе. Далее с помощью анкеров с натяжными устройствами 15 обеспечивается натяжение продольных 10 вант между гибкими пластинами 14, а также за счет поперечных 11 вант, поперечных ребер жесткости 16 и гибких связей 19 водоподпорной оболочке 5 придается форма, обеспечивающая оптимальное сжатие потока и наименьшие потери его энергии при подходе к гидроагрегату 1. При прохождении водного потока через защитную сетку 12 на гидроагрегат 1 происходит выработка энергии. На выходе из гидроагрегата 1 вода поступает на гибкую рисберму 3, которая защищает русло в нижнем бьефе от размыва.
Гидроэнергетическое сооружение многоразового использования (фиг.5, 6), содержащее гидроагрегат 1, прикрепленный к гибкому понуру 2, гибкой рисберме 3 и руслу с помощью русловых анкеров 4, водоподпорную оболочку 5, прикрепленную к гидроагрегату 1 с помощью жесткого узла крепления и к береговым анкерным опорам вантовой системой 8, включающей сетку из продольных вант 10, закрепленную жесткой связью, причем гибкий понур 2, гибкая рисберма 3 по периметру и водоподпорная оболочка 5 по краям закреплены креплениями, отличающееся тем, что при небольших пролетах и устойчивых береговых откосах для придания формы водоподпорной оболочке 5, обеспечивающей расчетное вертикальное сжатие потока и минимальные потери напора, вантовая система 9 снабжена дополнительными продольными 10 вантами, для обеспечения плавного бокового сжатия потока при подходе к гидроагрегату установлены гибкие пластины 14, прикрепленные к жесткому узлу крепления и непосредственно к береговым анкерным опорам 8, в целях рыбоохранных мероприятий в водоподпорной оболочке 5 размещены рыбопропускные устройства 6, а для защиты гидроагрегата и дополнительного крепления вантовой системы установлена защитная сетка, крепящаяся к русловым анкерам в нижней части и в верхней – ниже рыбопропускных устройств 6 к продольной 10 ванте вдоль гидроагрегата 1.
Гидроэнергетическое сооружение многоразового использования работает следующим образом. Под действием потока воды гибкий понур 2, укрепленный анкерами 4, прижимается к руслу и обеспечивает устойчивость сооружения. Затем водоподпорная оболочка 5 создает повышение уровня воды в верхнем бьефе. Далее с помощью анкеров с натяжными устройствами 15 обеспечивается натяжение продольных 10 вант между гибкими пластинами 14, которые прикрепляются непосредственно к анкерным опорам 8, а также за счет поперечных 11 вант, поперечных ребер жесткости 16 и гибких связей 19 водоподпорной оболочке 5 придается форма, обеспечивающая оптимальное сжатие потока и наименьшие потери его энергии при подходе к гидроагрегату 1. При прохождении водного потока через защитную сетку 12 на гидроагрегат 1 происходит выработка энергии. На выходе из гидроагрегата 1 вода поступает на гибкую рисберму 3, которая защищает русло в нижнем бьефе от размыва.
Гидроэнергетическое сооружение многоразового использования (фиг.7, 8), содержащее гидроагрегат 1, прикрепленный к гибкому понуру 2, гибкой рисберме 3 и руслу с помощью русловых анкеров 4, водоподпорную оболочку 5, прикрепленную к гидроагрегату 1 с помощью жесткого узла крепления и к береговым анкерным опорам 8 вантовой системой 9, включающей сетку из продольных 10 вант, закрепленную жесткой связью 7, причем гибкий понур 2, гибкая рисберма 3 по периметру и водоподпорная оболочка по краям закреплены креплениями, отличающееся тем, что при небольших пролетах и устойчивых береговых откосах для придания формы водоподпорной оболочке 5, обеспечивающей расчетное вертикальное сжатие потока и минимальные потери напора, вантовая система 9 снабжена дополнительными продольными вантами, для обеспечения плавного бокового сжатия потока при подходе к гидроагрегату установлены гибкие пластины, прикрепленные к жесткому узлу крепления и непосредственно к береговым анкерным опорам, а для обеспечения большей устойчивости сооружения, лучшего натяжения продольных вант и быстроты возведения вдоль верхнего и нижнего края водоподпорной оболочки установлены раздвижные штанги 20, концы которых соединены с гибкими пластинами 14, в целях рыбоохранных мероприятий в водоподпорной оболочке 5 размещены рыбопропускные устройства 6, а для защиты гидроагрегата 1 и дополнительного крепления вантовой системы 9 установлена защитная сетка 12, крепящаяся к русловым анкерам 4 в нижней части и в верхней ниже рыбопропускных устройств 6 к продольной ванте 10 вдоль гидроагрегата 1.
Гидроэнергетическое сооружение многоразового использования работает следующим образом. Под действием потока воды гибкий понур 2, укрепленный анкерами 4, прижимается к руслу и обеспечивает устойчивость сооружения. Затем водоподпорная оболочка 5 создает повышение уровня воды в верхнем бьефе. Далее с помощью раздвижных штанг 20, концы которых соединены с гибкими пластинами 14, которые обеспечивают лучшее натяжение водоподпорной оболочки 5, а также за счет поперечных 11 вант, поперечных ребер жесткости 16 и гибких связей 19 ей придается форма, обеспечивающая оптимальное сжатие потока и наименьшие потери его энергии при подходе к гидроагрегату 1. При прохождении водного потока через защитную сетку 12 на гидроагрегат 1 происходит выработка энергии. На выходе из гидроагрегата 1 вода поступает на гибкую рисберму 3, которая защищает русло в нижнем бьефе от размыва.
Гидроэнергетическое сооружение многоразового использования (фиг.9-12), содержащее гидроагрегат, прикрепленный к гибкому понуру, гибкой рисберме и руслу с помощью русловых анкеров 4, водоподпорную оболочку 5, прикрепленную к гидроагрегату 1 с помощью жесткого узла крепления и к береговым анкерным опорам 8 вантовой системой 9, включающей сетку из продольных 10 и поперечных 11 вант, закрепленную жесткой связью 7, причем гибкий понур 2, гибкая рисберма 3 по периметру и водоподпорная оболочка 5 по краям закреплены креплениями, отличающееся тем, что для придания формы водоподпорной оболочке 5, обеспечивающей расчетное вертикальное сжатие потока и минимальные потери напора, вантовая система 9 снабжена дополнительными продольными 10 вантами, для обеспечения плавного бокового сжатия потока при подходе к гидроагрегату 1 установлены гибкие пластины 14, прикрепленные к жесткому узлу крепления, откосам русла и гибкой рисберме 3 с помощью анкеров с натяжными устройствами 15, обеспечивающими предварительное натяжение продольных вант 10, при этом водоподпорная оболочка 5 состоит из гибких полос 21 или профилей 23, прикрепленных с двух сторон к эластичному полотнищу 22, сквозь которые продеты продольные ванты для придания оболочке формы веера, а для обеспечения расчетной формы водоподпорной оболочки 5 гибкие полосы 22 расположены под углом к потоку, в целях рыбоохранных мероприятий по краям гидроагрегата устроены рыбопропускные каналы 24, а для защиты гидроагрегата и дополнительного крепления вантовой системы установлена защитная сетка 12, крепящаяся к русловым анкерам 4 в нижней части и в верхней – к продольной 10 ванте вдоль гидроагрегата 1.
Гидроэнергетическое сооружение многоразового использования работает следующим образом. Под действием потока воды гибкий понур 2, укрепленный анкерами 4, прижимается к руслу и обеспечивает устойчивость сооружения. Затем водоподпорная оболочка 5, представляющая собой веер, создает повышение уровня воды в верхнем бьефе. Далее с помощью гибких пластин 14, а также гибких полос 21 или профилей 23 ей придается форма, обеспечивающая оптимальное сжатие потока и наименьшие потери его энергии при подходе к гидроагрегату 1. При прохождении водного потока через защитную сетку 12 на гидроагрегат 1 происходит выработка энергии. На выходе из гидроагрегата 1 вода поступает на гибкую рисберму 3, которая защищает русло в нижнем бьефе от размыва.
Гидроэнергетическое сооружение многоразового использования (фиг.13, 14), содержащее гидроагрегат 1, прикрепленный к гибкому понуру 2, гибкой рисберме 3 и руслу с помощью русловых анкеров 4, водоподпорную оболочку 5, прикрепленную к гидроагрегату 1 с помощью жесткого узла крепления и к береговым анкерным опорам 8 вантовой системой 9, включающей сетку из продольных 10 вант, закрепленную жесткой связью 7, причем гибкий понур 2, гибкая рисберма 3 по периметру и водоподпорная оболочка 5 по краям закреплены креплениями, отличающееся тем, что для обеспечения плавного бокового сжатия потока при подходе к гидроагрегату 1 установлены гибкие пластины 14, прикрепленные к жесткому узлу крепления и непосредственно к береговым анкерным опорам 8, водоподпорная оболочка 5 выполнена в виде замкнутой наполняемой оболочки, принимающей свою расчетную форму при заполнении водой или иным другим заполнителем через устройства для заполнения 25, и закреплена одной продольной 10 вантой, проходящей по ее верху, в целях рыбоохранных мероприятий по краям гидроагрегата устроены рыбопропускные каналы 24, а для защиты гидроагрегата и дополнительного крепления вантовой системы установлена защитная сетка 12, крепящаяся к русловым анкерам в нижней части и в верхней – к продольной 10 ванте вдоль гидроагрегата 1.
Гидроэнергетическое сооружение многоразового использования работает следующим образом. Под действием потока воды гибкий понур 2, укрепленный анкерами 4, прижимается к руслу и обеспечивает устойчивость сооружения. Затем водоподпорная оболочка 5, представляющая собой замкнутой наполняемой оболочки, создает повышение уровня воды в верхнем бьефе. Далее с помощью раздвижных штанг 20, концы которых соединены с гибкими пластинами 14, которые обеспечивают лучшее натяжение водоподпорной оболочки 5. Затем происходит наполнение водоподпорной оболочки 5 через устройства для заполнения 25 водой или иным другим заполнителем и ей придается форма, обеспечивающая оптимальное сжатие потока и наименьшие потери его энергии при подходе к гидроагрегату 1. При прохождении водного потока через защитную сетку 12 на гидроагрегат 1 происходит выработка энергии. На выходе из гидроагрегата 1 вода поступает на гибкую рисберму 3, которая защищает русло в нижнем бьефе от размыва.
При необходимости данное сооружение может быть перенесено в другой подобный створ и использоваться многократно при чрезвычайных ситуациях.
ИСТОЧНИКИ ИНФОРМАЦИИ
1. Авторское свидетельство СССР №943376, кл. Е02В 7/20, 1976.
2. Авторское свидетельство СССР №1708009, кл. Е02В 7/20,1991.
3. Рекламный проспект фирмы «Энерго-альянс», «Переносной погружной гидроагрегат с поперечно-струйной турбиной», 2002 г.
4. Авторское свидетельство СССР №643583, кл. Е02В 7/20, 1978.
5. Патент на изобретение RU №2141552, Е02В 7/20, 1999.
6. Патент на изобретение RU №2250950, Е02В 7/02, 2005.
Формула изобретения
1. Гидроэнергетическое сооружение многоразового использования, содержащее гидроагрегат, прикрепленный к гибкому понуру, гибкой рисберме и руслу с помощью русловых анкеров, водоподпорную оболочку, прикрепленную к гидроагрегату и руслу с помощью жесткого узла крепления и к береговым анкерным опорам вантовой системой, включающей сетку из продольных и поперечных вант, закрепленную жесткой связью, причем гибкий понур, гибкая рисберма по периметру и водоподпорная оболочка по краям закреплены креплениями, отличающееся тем, что для придания формы водоподпорной оболочке, обеспечивающей расчетное вертикальное сжатие потока и минимальные потери напора, вантовая система снабжена дополнительными продольными и поперечными вантами, в целях рыбоохранных мероприятий в водоподпорной оболочке размещены рыбопропускные устройства, а для защиты гидроагрегата и дополнительного крепления вантовой системы установлена защитная сетка, крепящаяся к русловым анкерам в нижней части и в верхней – ниже рыбопропускных устройств к продольной ванте вдоль гидроагрегата.
2. Гидроэнергетическое сооружение многоразового использования, содержащее гидроагрегат, прикрепленный к гибкому понуру, гибкой рисберме и руслу с помощью русловых анкеров, водоподпорную оболочку, прикрепленную к гидроагрегату с помощью жесткого узла крепления и к береговым анкерным опорам вантовой системой, включающей сетку из продольных и поперечных вант, закрепленную жесткой связью, причем гибкий понур, гибкая рисберма по периметру и водоподпорная оболочка по краям закреплены креплениями, отличающееся тем, что для придания формы водоподпорной оболочке, обеспечивающей расчетное вертикальное сжатие потока и минимальные потери напора, вантовая система снабжена дополнительными продольными и поперечными вантами, для обеспечения плавного бокового сжатия потока при подходе к гидроагрегату установлены гибкие пластины, прикрепленные к жесткому узлу крепления, откосам русла и гибкой рисберме с помощью анкеров с натяжными устройствами, обеспечивающими предварительное натяжение продольных вант, а для обеспечения устойчивости водоподпорной оболочки и устранения ее вибрации сооружение снабжено поперечными ребрами жесткости, повторяющими очертание расчетного поперечного сечения водоподпорной оболочки и закрепленными по периметру с помощью вант-оттяжек к русловым анкерам, водоподпорной оболочке со стороны верхнего бьефа и гидроагрегату за счет жесткого узла крепления, и продольными ребрами жесткости, закрепленными к гибким пластинам, продольным вантам, поперечным ребрам жесткости и водоподпорной оболочке с помощью гибких связей, в целях рыбоохранных мероприятий в водоподпорной оболочке размещены рыбопропускные устройства, а для защиты гидроагрегата и дополнительного крепления вантовой системы установлена защитная сетка, крепящаяся к русловым анкерам в нижней части и в верхней – ниже рыбопропускных устройств к продольной ванте вдоль гидроагрегата.
3. Гидроэнергетическое сооружение многоразового использования, содержащее гидроагрегат, прикрепленный к гибкому понуру, гибкой рисберме и руслу с помощью русловых анкеров, водоподпорную оболочку, прикрепленную к гидроагрегату с помощью жесткого узла крепления и к береговым анкерным опорам вантовой системой, включающей сетку из продольных вант, закрепленную жесткой связью, причем гибкий понур, гибкая рисберма по периметру и водоподпорная оболочка по краям закреплены креплениями, отличающееся тем, что при небольших пролетах и устойчивых береговых откосах для придания формы водоподпорной оболочке, обеспечивающей расчетное вертикальное сжатие потока и минимальные потери напора, вантовая система снабжена дополнительными продольными вантами, для обеспечения плавного бокового сжатия потока при подходе к гидроагрегату установлены гибкие пластины, прикрепленные к жесткому узлу крепления и непосредственно к береговым анкерным опорам, в целях рыбоохранных мероприятий в водоподпорной оболочке размещены рыбопропускные устройства, а для защиты гидроагрегата и дополнительного крепления вантовой системы установлена защитная сетка, крепящаяся к русловым анкерам в нижней части и в верхней – ниже рыбопропускных устройств к продольной ванте вдоль гидроагрегата.
4. Гидроэнергетическое сооружение многоразового использования, содержащее гидроагрегат, прикрепленный к гибкому понуру, гибкой рисберме и руслу с помощью русловых анкеров, водоподпорную оболочку, прикрепленную к гидроагрегату с помощью жесткого узла крепления и к береговым анкерным опорам вантовой системой, включающей сетку из продольных вант, закрепленную жесткой связью, причем гибкий понур, гибкая рисберма по периметру и водоподпорная оболочка по краям закреплены креплениями, отличающееся тем, что при небольших пролетах и устойчивых береговых откосах для придания формы водоподпорной оболочке, обеспечивающей расчетное вертикальное сжатие потока и минимальные потери напора, вантовая система снабжена дополнительными продольными вантами, для обеспечения плавного бокового сжатия потока при подходе к гидроагрегату установлены гибкие пластины, прикрепленные к жесткому узлу крепления и непосредственно к береговым анкерным опорам, а для обеспечения большей устойчивости сооружения, лучшего натяжения продольных вант и быстроты возведения вдоль верхнего и нижнего края водоподпорной оболочки установлены раздвижные штанги, концы которых соединены с гибкими пластинами, в целях рыбоохранных мероприятий в водоподпорной оболочке размещены рыбопропускные устройства, а для защиты гидроагрегата и дополнительного крепления вантовой системы установлена защитная сетка, крепящаяся к русловым анкерам в нижней части и в верхней – ниже рыбопропускных устройств к продольной ванте вдоль гидроагрегата.
5. Гидроэнергетическое сооружение многоразового использования, содержащее гидроагрегат, прикрепленный к гибкому понуру, гибкой рисберме и руслу с помощью русловых анкеров, водоподпорную оболочку, прикрепленную к гидроагрегату с помощью жесткого узла крепления и к береговым анкерным опорам вантовой системой, включающей сетку из продольных и поперечных вант, закрепленную жесткой связью, причем гибкий понур, гибкая рисберма по периметру и водоподпорная оболочка по краям закреплены креплениями, отличающееся тем, что для придания формы водоподпорной оболочке, обеспечивающей расчетное вертикальное сжатие потока и минимальные потери напора, вантовая система снабжена дополнительными продольными вантами, для обеспечения плавного бокового сжатия потока при подходе к гидроагрегату установлены гибкие пластины, прикрепленные к жесткому узлу крепления, откосам русла и гибкой рисберме с помощью анкеров с натяжными устройствами, обеспечивающими предварительное натяжение продольных вант, при этом водоподпорная оболочка состоит из гибких полос или профилей, прикрепленных с двух сторон к эластичному полотнищу, сквозь которые продеты продольные ванты для придания оболочке формы веера, а для обеспечения расчетной формы водоподпорной оболочки гибкие полосы расположены под углом к потоку, в целях рыбоохранных мероприятий по краям гидроагрегата устроены рыбопропускные каналы, а для защиты гидроагрегата и дополнительного крепления вантовой системы установлена защитная сетка, крепящаяся к русловым анкерам в нижней части и в верхней – к продольной ванте вдоль гидроагрегата.
6. Гидроэнергетическое сооружение многоразового использования, содержащее гидроагрегат, прикрепленный к гибкому понуру, гибкой рисберме и руслу с помощью русловых анкеров, водоподпорную оболочку, прикрепленную к гидроагрегату с помощью жесткого узла крепления и к береговым анкерным опорам вантовой системой, включающей сетку из продольных вант, закрепленную жесткой связью, причем гибкий понур, гибкая рисберма по периметру и водоподпорная оболочка по краям закреплены креплениями, отличающееся тем, что для обеспечения плавного бокового сжатия потока при подходе к гидроагрегату установлены гибкие пластины, прикрепленные к жесткому узлу крепления и непосредственно к береговым анкерным опорам, водоподпорная оболочка выполнена в виде замкнутой наполняемой оболочки, принимающей свою расчетную форму при заполнении водой или другим заполнителем через устройства для заполнения, и закреплена одной продольной вантой, проходящей по ее верху, в целях рыбоохранных мероприятий по краям гидроагрегата устроены рыбопропускные каналы, а для защиты гидроагрегата и дополнительного крепления вантовой системы установлена защитная сетка, крепящаяся к русловым анкерам в нижней части и в верхней – к продольной ванте вдоль гидроагрегата.
РИСУНКИ
|
|