|
|
(21), (22) Заявка: 2005129701/04, 16.06.2005
(24) Дата начала отсчета срока действия патента:
16.06.2005
(30) Конвенционный приоритет:
16.06.2004 (пп.1-20) JP 2004-178900
(43) Дата публикации заявки: 27.03.2007
(46) Опубликовано: 20.06.2008
(56) Список документов, цитированных в отчете о поиске:
ЕР 1167486 А, 02.01.2002. JP 2003-249131 А, 05.09.2003. KR 1020040049921 А, 14.06.2004. DE 10206083 А1, 21.06.2003. JP 60-159625 А, 21.08.1985. JP 1-2233245 А, 06.09.1989. RU 2215672 С2, 11.10.2003.
(85) Дата перевода заявки PCT на национальную фазу:
22.09.2005
(86) Заявка PCT:
JP 2005/011024 (16.06.2005)
(87) Публикация PCT:
WO 2005/123869 (29.12.2005)
Адрес для переписки:
103735, Москва, ул. Ильинка, 5/2, ООО “Союзпатент”, пат.пов. Ю.В.Пинчуку, рег.№ 656
|
(72) Автор(ы):
ТОДА Микио (JP), НИСИ Тосиро (JP), Ока Нобуки (JP), ЦУТАЯ Хироюки (JP), АРА Куниаки (JP), ОХИРА Хироаки (JP), КУРОМЕ Казуя (JP), ЁСИОКА Наоки (JP)
(73) Патентообладатель(и):
ДЖАПЭН НЬЮКЛИАР САЙКЛ ДИВЕЛОПМЕНТ ИНСТИТЬЮТ (JP)
|
(54) ВЫСОКОЭФФЕКТИВНАЯ ЖИДКАЯ СРЕДА С РАСПРЕДЕЛЕННЫМИ НАНОЧАСТИЦАМИ, СПОСОБ И УСТРОЙСТВО ДЛЯ ИЗГОТОВЛЕНИЯ СРЕДЫ И СПОСОБ ОБНАРУЖЕНИЯ УТЕЧКИ СРЕДЫ
(57) Реферат:
Изобретение относится к высокоэффективной жидкой среде с распределенными наночастицами для охлаждения ядерного реактора в качестве основного материала, с которым смешаны наночастицы, к способу и устройству для изготовления жидкой среды и к способу обнаружения утечки жидкой среды. Высокоэффективная жидкая среда представляет собой жидкий натрий в качестве основного материала, в котором равномерно распределены предварительно обработанные наночастицы для удаления оксидной пленки на поверхностях наночастиц. В качестве наночастиц используют, по меньшей мере, сверхмелкие частицы никеля в количестве не менее 10 млн-1. Разработаны способы реализации состояния, в котором наночастицы не имеют оксидной пленки на своей поверхности. Во-первых, путем удаления оксидной пленки перед смешиванием наночастиц с жидким натрием в атмосфере газа водорода. Во-вторых, путем удаления оксидной пленки посредством подмешивания и взбалтывания поглотителя кислорода до или после подмешивания наночастиц в жидкий натрий. В третьих, путем покрытия поверхности наночастиц атомами натрия перед образованием оксидной пленки на их поверхности посредством устройства, которое содержит испарительную камеру, камеру молекулярного пучка и коллекторную камеру, последовательно соединенные между собой. Полученная альтернативная жидкая среда обладает высокими рабочими характеристиками при низкой стоимости. Кроме того, добавление наночастиц в вышеуказанную жидкую среду приводит к резкому увеличению яркости света, имеющего линейный спектр, что позволяет обнаружить утечку жидкой среды невооруженным глазом в темноте. 6 н. и 14 з.п. ф-лы, 9 ил.
Область техники, к которой относится изобретение
Данное изобретение относится к высокоэффективной жидкой среде с распределенными наночастицами, содержащей жидкую среду, такую как жидкий натрий, для охлаждения ядерного реактора в качестве основного материала, с которым смешаны наночастицы и распределены в нем для улучшения рабочих характеристик жидкой среды. Данное изобретение относится также к способу изготовления жидкой среды, устройству для изготовления жидкой среды и к способу обнаружения утечки жидкой среды.
Уровень техники
В качестве жидкой среды, используемой в различных областях техники, имеется множество жидких сред, начиная, например, с жидкого натрия, используемого в качестве охлаждающего средства для реакторов-размножителей на быстрых нейтронах, носителя тепла для теплообменника, применяемого в различных установках, и несжимаемой среды для гидравлических машин. Эти жидкие среды имеют несколько свойств, специфичных для их материалов. Если исходить из цели применения, то некоторые свойства желательно дополнительно улучшить, а некоторые свойства желательно дополнительно подавить. Например, жидкий натрий для охлаждения имеет такую интенсивную реактивность, что происходит взрыв при его контакте с воздухом или водой.
Соотношение между свойством, специфичным для такой жидкой среды, и свойством, желательным с учетом цели использования, дополнительно обсуждается ниже на примере жидкого натрия для охлаждения.
Причина, по которой натрий используют в качестве охлаждающего средства для реактора-размножителя на быстрых нейтронах, заключается в превосходных свойствах, которые имеет жидкий натрий, как например, (i) теплопроводность натрия примерно в 100 раз превышает теплопроводность воды, и натрий способен эффективно отводить тепло; (ii) натрий почти не замедляет нейтроны и имеет хорошую совместимость с материалами ядерного реактора; (iii) натрий имеет высокую температуру кипения около 880°С, и поэтому, когда тепловая энергия преобразуется в пар на конце отвода тепла, то можно получать пар с высокой температурой около 480°С, что обеспечивает генерирование электрической энергии с более высокой тепловой эффективностью; (iv) поскольку температура кипения натрия (около 880°С) превышает 500°С, которая является рабочей температурой реактора-размножителя на быстрых нейтронах, то жидкий натрий можно сохранять в жидком состоянии без приложения давления, и поэтому нет необходимости в приложении высокого давления к ядерному реактору и трубопроводам, и поэтому, даже если возникает утечка натрия, то он не вырывается наружу быстро, и нет опасности потери охлаждающей способности для ядерного реактора (непатентный документ 1).
С другой стороны, натрий имеет свойство такой высокой реактивности, что происходит взрыв при контакте натрия с водой или воздухом. Однако с учетом цели применения натрия в качестве охлаждающего средства для реактора-размножителя на быстрых нейтронах, это свойство является свойством, которое необходимо подавлять, поскольку имеется возможность вхождения натрия в контакт с воздухом или водой при его утечке из трубопровода или т.п.
Непатентный документ 1: Kiso Kousokuro Kougaku Henshu linkai (редакция): Kiso Kousokuro Kougaku, издательство Nikkan Kogyo Shimbun, Ltd. (октябрь 1993).
Раскрытие изобретения
Как указывалось выше, в различных жидких средах, начиная с жидкого натрия для охлаждения реактора-размножителя на быстрых нейтронах, имеются некоторые свойства, которые желательно улучшить, и некоторые свойства, которые желательно подавлять, среди различных свойств, которые имеют составляющие жидкой среды, и эти свойства существуют одновременно. Когда можно в соответствии с пожеланием реализовать улучшение или подавление этих свойств, то считается, что обеспечивается большой вклад в различные области техники. Однако такая технология не реализована до настоящего времени.
Данное изобретение выполнено с учетом указанных обстоятельств, и задачей изобретения является создание технологии, в которой в жидких средах, используемых в различных областях техники, свойства, желательные для улучшения, и свойства, желательные для подавления, среди других свойств, которые имеют их составляющие, улучшаются или подавляются по желанию в соответствии с целью применения (в последующем, улучшение рабочих характеристик).
В результате тщательных исследований с целью решения задачи изобретателями данной заявки было установлено следующее.
А именно, (1) было подтверждено, что когда сверхмелкие частицы материала нанометрового размера (например, сверхмелкие частицы никеля) смешиваются с целью распределения в жидкой среде, например жидком натрии, то происходят изменения реологических свойств жидкого натрия с распределенными наночастицами, резко уменьшается реактивность относительно воздуха и воды, жидкий натрий с распределенными наночастицами трудно проходит через узкие трещины, такие как разрывы трубопровода или т.п., и т.д. Кроме того, в других жидких средах происходят изменения, такие как уменьшение токсичности и улучшение свойств теплопроводности.
Следует отметить, что в данном случае наночастицы являются по меньшей мере одним видом, выбранным из металлов или неметаллов. Примеры металлов включают одноэлементные металлы, такие как медь (Cu), никель (Ni), титан (Ti) и кобальт (Со), их металлические соединения, такие как оксиды, нитриды и силициды; и сплавы, такие как нержавеющая сталь, хромомолибденовая сталь и т.п. Кроме того, примеры неметаллов включают кремний, углерод и т.п. Наночастицы можно получать посредством дробления металла или неметалла на частицы с диаметром частиц не более 1000 нм, предпочтительно от 0,1 нм до 500 нм, более предпочтительно от 1 нм до 100 нм, так что получаются наночастицы. Дополнительно к этому, в настоящее время коммерчески доступны материалы в виде нанопорошка. Например, “мелкий порошок никеля”, “мелкий порошок меди” и “мелкий порошок кобальта”, изготавливаемые фирмой Sumimoto Electric Industries Ltd., “металлический нанопорошок никеля”, “металлический нанопорошок меди” и “металлический нанопорошок кобальта”, изготавливаемые фирмой Japan Nanotech Co, Ltd. и т.п.
(2) Поскольку были сначала обнаружены некоторые изменения этих известных результатов, то изобретатели провели дополнительные исследования с помощью экспериментов с целью получения результатов, стабильных и повторяемых. В результате было установлено, что равномерное распределение наночастиц в жидкой среде является необходимым для улучшения повторяемости явлений. Было установлено, что для обеспечения этого равномерного распределения важным фактором является отсутствие оксидной пленки на поверхности наночастиц. Когда на поверхности наночастиц присутствует оксидная пленка, то их сродство с жидким натрием, который является основным материалом (лиофильное свойство), не является известным. В соответствии с этим, даже при смешивании наночастиц при достаточном перемешивании жидкого натрия, наночастицы частично объединяются в жидком натрии, что приводит к плохой равномерности распределения. С другой стороны, когда наночастицы переводятся в состояние, в котором оксидная пленка не присутствует на их поверхности, посредством удаления или уменьшения оксидных пленок, то сродство с жидким натрием, который является основным материалом, становится лучше. В результате, при смешивании наночастиц при одновременном перемешивании жидкого натрия, они распределяются не только легче, но и равномернее.
(3) Затем был исследован специальный способ для реализации состояния, в котором наночастицы не имеют оксидной пленки на своей поверхности. Во-первых, было установлено, что способы можно грубо классифицировать на: (а) способ удаления оксидной пленки перед смешиванием наночастиц с жидким натрием; (b) способ удаления оксидной пленки во время смешивания; и (с) способ покрытия поверхности частиц атомами натрия во время изготовления наночастиц, другими словами, способ покрытия поверхности наночастиц атомами натрия перед образованием оксидной пленки на их поверхности.
А именно, способ (а) можно обеспечить посредством помещения наночастиц, имеющих образованную оксидную пленку, в атмосферу газа водорода. Способ (b) можно обеспечить посредством подмешивания и взбалтывания поглотителя кислорода перед или после подмешивания наночастиц в жидкий натрий. Оксидная пленка восстанавливается во время процесса перемешивания. Последний способ (с) можно обеспечить с помощью нового устройства. То есть, можно использовать устройство, состоящее по меньшей мере из одной испарительной камеры, в которой натрий и материал наночастиц испаряется и смешивается в атмосфере инертного газа; камеры молекулярного пучка, соединенной с испарительной камерой через небольшое отверстие, в которой испаренная внутри испарительной камеры смесь, прошедшая через небольшое отверстие, попадает в атмосферу вакуума, и комплекс наночастица/натрий в виде, когда атомы натрия адсорбированы на поверхности наночастиц в испаренной смеси, отделяется от других атомов натрия и наночастиц в зависимости от разницы массы; и коллекторной камеры, соединенной с камерой молекулярного пучка, в которой отделенный комплекс наночастица/натрий собирается в атмосфере вакуума. С помощью этого устройства можно получать наночастицы, поверхность которых покрыта атомами натрия, без поверхностной оксидной пленки.
(4) После выполнения ряда указанных экспериментальных исследований было, наконец, подтверждено, что было значительно улучшено другое специфичное свойство жидкой среды. Имеется конкретный материал, который включает составляющий атом, который излучает свет, имеющий линейный спектр, после приложения заданной энергии в виде, например, пламени или электрического разряда. Было установлено, что добавление наночастиц в жидкую среду, содержащую по меньшей мере указанный выше конкретный материал, приводит к резкому увеличению яркости света, имеющего линейный спектр. Например, при равномерном распределении наночастиц в жидком натрии в атмосфере инертного газа наблюдалось, что излучение линии D натрия увеличивало яркость так, что его можно было видеть невооруженным глазом в темноте.
Свет, который может видеть невооруженный глаз человека, так называемый видимый свет является светом в диапазоне длин волн от около 400 нм до 800 нм, при этом длина волны излучения линии D натрия равна 589,6 нм, и излучение можно распознавать невооруженным глазом как желтый свет, если он имеет достаточную яркость. Однако излучение линии D натрия нельзя обнаруживать даже с помощью фотодетектора, не говоря уже о невооруженном глазе, поскольку его яркость является чрезвычайно низкой без возбуждения с помощью пламени или электрического разряда. Как показано на фиг.9, обычно для обнаружения наличия или отсутствия утечки жидкого натрия из непрозрачной стенки 1 трубопровода, резервуара или т.п. в реакторе-размножителе на быстрых нейтронах, лазерными лучами из настраиваемого лазера 3 облучали создаваемый газ (газ натрия) 2 в точке контроля для возбуждения и усиления слабого излучения линии D натрия утекающего газа 2 натрия, и его возбужденную атомную люминесценцию 4 конденсировали с помощью линзы 5 и обнаруживали с помощью фотодетектора 9. В таком обычном детекторе утечек фотодетектор 6 состоит из спектроскопа 6а и детектора 6b изображения с устройством с интенсивной зарядовой связью (ICCD). Синхронизацию облучения настраиваемым лазером 3 и управление затвором для открывания и закрывания детектора 6b ICCD осуществляет контроллер 7. Это необходимо потому, что газ атмосферы инертного газа в точке контроля возбуждается лазерным облучением настраиваемого лазера 3 с излучением света и длительность излучения этого газа атмосферы и длительность атомной люминесценции 4 газа 2 натрия отличаются друг от друга. Другими словами, поскольку излучение газа атмосферы инертного газа после облучения лазером затухает в первую очередь, а атомная люминесценция 4 газа 2 натрия затухает позже, то необходимо открывание затвора детектора 6b ICCD после затухания излучения газа атмосферы.
С другой стороны, при увеличении яркости до уровня, когда излучение линии D натрия можно обнаруживать невооруженным глазом, лишь за счет равномерного распределения наночастиц в жидком натрии, как указывалось выше, нет необходимости в использовании настраиваемого лазера, и не происходит одновременного возбуждения газа атмосферы инертного газа, и поэтому становится возможным простое обнаружение утечки газа с помощью детектора утечек простой конструкции, включающей фотодетектор и оптическую систему. В соответствии с этим, когда используется высокоэффективная жидкая среда с распределенными наночастицами, согласно данному изобретению, вместо обычной жидкой среды, то становится возможным значительное уменьшение стоимости устройства и текущих расходов для обнаружения утечек. Это приводит к простому подтверждению утечки и ее местоположения (например, скорости движения и скорости распространения) не только жидкого натрия для охлаждения, но также обычных жидких сред, а преимущества для промышленности относительно снижения стоимости, простоты использования и т.п., связанные с использованием этих свойств, становятся огромными.
Данное изобретение выполнено на основе указанных выше открытий.
Другими словами, высокоэффективная жидкая среда с распределенными наночастицами является высокоэффективной жидкой средой с распределенными наночастицами, свойства которой улучшены посредством смешивания и равномерного распределения наночастиц в жидкой среде в качестве основного материала, и характеризуется тем, что на поверхностях наночастиц отсутствует оксидная пленка в основном материале жидкой среды, а наночастицы равномерно распределены в основном материале жидкой среды.
Высокоэффективная жидкая среда с распределенными наночастицами характеризуется тем, что наночастица является по меньшей мере одним видом сверхмелких частиц, выбранных из металла или неметалла, в высокоэффективной жидкой среде с распределенными наночастицами.
Высокоэффективная жидкая среда с распределенными наночастицами характеризуется тем, что размер наночастицы не превышает 1000 нм в диаметре в высокоэффективной жидкой среде с распределенными наночастицами.
Высокоэффективная жидкая среда с распределенными наночастицами характеризуется тем, что улучшение рабочих характеристик представляет уменьшение специфической реактивности жидкой среды в качестве основного материала в высокоэффективной жидкой среде с распределенными наночастицами.
Высокоэффективная жидкая среда с распределенными наночастицами характеризуется тем, что жидкая среда, которая является основным материалом, является жидким натрием в высокоэффективной жидкой среде с распределенными наночастицами.
Высокоэффективная жидкая среда с распределенными наночастицами характеризуется тем, что улучшение рабочих характеристик представляет уменьшение реактивности к воздуху и воде жидкого натрия, который является основным материалом, в высокоэффективной жидкой среде с распределенными наночастицами.
Высокоэффективная жидкая среда с распределенными наночастицами характеризуется тем, что улучшение рабочих характеристик представляет уменьшение свойства проникновения в небольшие трещины жидкого натрия, который является основным материалом, в высокоэффективной жидкой среде с распределенными наночастицами.
Высокоэффективная жидкая среда с распределенными наночастицами характеризуется тем, что улучшение рабочих характеристик представляет повышение яркости излучения линии D, специфичной для жидкого натрия, который является основным материалом, в высокоэффективной жидкой среде с распределенными наночастицами.
Способ изготовления высокоэффективной жидкой среды с распределенными наночастицами и характеризуется тем, что после обработки наночастиц с целью недопущения существования оксидной пленки на поверхностях наночастиц, улучшают рабочие характеристики жидкой среды посредством равномерного распределения наночастиц в жидкой среде.
Способ изготовления высокоэффективной жидкой среды с распределенными наночастицами характеризуется тем, что удаление оксидных пленок на поверхностях наночастиц выполняют посредством помещения наночастиц в атмосферу газа водорода на заданное время.
Способ изготовления высокоэффективной жидкой среды с распределенными наночастицами характеризуется тем, что улучшение рабочих характеристик жидкой среды выполняют посредством смешивания наночастиц с жидкой средой, одновременного уменьшения оксидных пленок на поверхностях наночастиц и равномерного распределения наночастиц в жидкой среде.
Способ изготовления высокоэффективной жидкой среды с распределенными наночастицами характеризуется тем, что восстановление оксидных пленок на поверхностях наночастиц выполняют посредством помещения в жидкую среду поглотителя кислорода перед или после добавлением наночастиц в жидкую среду.
Способ изготовления высокоэффективной жидкой среды с распределенными наночастицами характеризуется тем, что в способе изготовления используют в качестве поглотителя кислорода материал, при этом стандартная свободная энергия образования оксида материала меньше стандартной свободной энергии образования оксидов других материалов, образующих наночастицы и жидкую среду.
Способ изготовления высокоэффективной жидкой среды с распределенными наночастицами характеризуется тем, что материал жидкой среды и материал наночастиц испаряют и смешивают друг с другом в атмосфере инертного газа, комплекс атомов наночастиц/среды в виде, когда атомы, образующие материал жидкой среды, адсорбированы на поверхностях наночастиц, созданных посредством испарения и смешивания, отделяют от других составляющих атомов жидкой среды и наночастиц посредством выпускания этой испаренной смеси из небольшого отверстия в атмосфере вакуума в зависимости от разницы масс, и отделенные комплексы атомов наночастиц/среды распределяют в жидкой среде в качестве основного материала.
Способ изготовления высокоэффективной жидкой среды с распределенными наночастицами характеризуется тем, что наночастица является по меньшей мере одним видом сверхмелких частиц, выбранных из металла или неметалла.
Способ изготовления высокоэффективной жидкой среды с распределенными наночастицами характеризуется тем, что размер наночастиц не превышает 1000 нм в диаметре.
Способ изготовления высокоэффективной жидкой среды с распределенными наночастицами характеризуется тем, что улучшение рабочих характеристик представляет уменьшение специфической реактивности жидкой среды в качестве основного материала.
Способ изготовления высокоэффективной жидкой среды с распределенными наночастицами характеризуется тем, что жидкая среда, которая является основным материалом, является жидким натрием.
Способ изготовления высокоэффективной жидкой среды с распределенными наночастицами характеризуется тем, что улучшение рабочих характеристик представляет уменьшение реактивности к воздуху или воде жидкого натрия, который является основным материалом.
Способ изготовления высокоэффективной жидкой среды с распределенными наночастицами характеризуется тем, что улучшение рабочих характеристик представляет уменьшение свойства проникновения в мелкие трещины жидкого натрия, который является основным материалом.
Способ изготовления высокоэффективной жидкой среды с распределенными наночастицами характеризуется тем, что улучшение рабочих характеристик представляет увеличение яркости излучения линии D, специфичной для жидкого натрия, который является основным материалом.
Устройство для изготовления высокоэффективной жидкой среды с распределенными наночастицами является устройством для изготовления высокоэффективной жидкой среды с распределенными наночастицами, свойства которой улучшены посредством смешивания и распределения наночастиц в жидкой среде в качестве основного материала, и характеризуется тем, что имеет по меньшей мере: испарительную камеру, в которой материал жидкой среды и материал наночастиц испаряется и смешивается в атмосфере инертного газа; камеру молекулярного пучка, соединенную с испарительной камерой через небольшое отверстие, в которой испаренная внутри испарительной камеры смесь, прошедшая через небольшое отверстие, попадает в атмосферу вакуума, и комплекс наночастица/жидкая среда, образующая комплекс атомов в виде, когда атомы, составляющие материал жидкой среды (в последующем комплекс атомов наночастиц/среды), адсорбированы на поверхности наночастиц, образованных в испаренной смеси, отделяется от других составляющих жидкую среду атомов и наночастиц в зависимости от разницы массы; и коллекторную камеру, соединенную с камерой молекулярного пучка, в которой отделенный комплекс атомов наночастиц/среды собирается в атмосфере вакуума.
Устройство для изготовления высокоэффективной жидкой среды с распределенными наночастицами характеризуется тем, что предусмотрен блок равномерного смешивания по потоку за коллекторной камерой для смешивания и распределения комплекса атомов наночастиц/среды в жидкой среде.
Устройство для изготовления высокоэффективной жидкой среды с распределенными наночастицами характеризуется тем, что наночастица является по меньшей мере одним видом сверхмелких частиц, выбранных из металла или неметалла.
Устройство для изготовления высокоэффективной жидкой среды с распределенными наночастицами характеризуется тем, что размер образованной наночастицы не превышает 1000 нм в диаметре.
Устройство для изготовления высокоэффективной жидкой среды с распределенными наночастицами характеризуется тем, что улучшение рабочих характеристик представляет уменьшение специфической реактивности жидкой среды в качестве основного материала.
Устройство для изготовления высокоэффективной жидкой среды с распределенными наночастицами характеризуется тем, что жидкая среда, которая является основным материалом, является жидким натрием.
Устройство для изготовления высокоэффективной жидкой среды с распределенными наночастицами характеризуется тем, что улучшение рабочих характеристик представляет уменьшение специфической реактивности к воздуху или воде жидкого натрия, который является основным материалом.
Устройство для изготовления высокоэффективной жидкой среды с распределенными наночастицами характеризуется тем, что улучшение рабочих характеристик представляет уменьшение свойства проникновения в небольшие трещины жидкого натрия, который является основным материалом.
Устройство для изготовления высокоэффективной жидкой среды с распределенными наночастицами характеризуется тем, что улучшение рабочих характеристик представляет увеличение яркости излучения линии D, специфичного для жидкого натрия, который является основным материалом.
Способ обнаружения утечки жидкой среды характеризуется тем, что утечку обнаруживают просто и быстро посредством равномерного распределения наночастиц в жидкой среде, содержащей по меньшей мере один материал, имеющий реакцию в пламени, для увеличения яркости излучения света жидкой средой, и обнаружения излучения света с увеличенной яркостью жидкой среды утечки, когда жидкая среда протекает через непрозрачную стенку.
Способ обнаружения утечки жидкой среды характеризуется тем, что жидкая среда является жидким натрием.
Преимущества изобретения
Жидкая среда с распределенными наночастицами, согласно данному изобретению, является высокоэффективной жидкой средой с распределенными наночастицами, рабочие характеристики которой улучшены посредством смешивания и равномерного распределения наночастиц в жидкой среде в качестве основного материала и которая характеризуется тем, что на поверхностях наночастиц не существует оксидной пленки в основном материале жидкой среды и наночастицы равномерно распределены в основном материале жидкой среды. За счет такого состава становится возможным желательное улучшение или подавление свойства, желательного для улучшения, или свойства, желательного для дополнительного подавления среди различных специфичных свойств жидкой среды, в зависимости от цели ее использования. Поэтому, согласно данному изобретению, поскольку можно обеспечивать альтернативную жидкую среду с высокими рабочими характеристиками при низкой стоимости посредством лишь примешивания наночастиц в жидкую среду, обычно используемую в различных областях техники, в состоянии, в котором на поверхностях наночастиц не существует оксидной пленки, с последующим равномерным распределением, то эффект ее применения в промышленности является огромным. В частности, при применении наночастиц в жидкой среде, имеющей свойство излучения, яркость излучаемого света можно значительно повышать, что делает возможным простое обнаружение утечки жидкой среды, подтверждение ее местоположения (измерение скорости движения, измерение скорости распространения и т.п.) и т.д.
Краткое описание чертежей
На чертежах изображено:
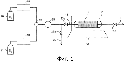
фиг.1 – схема для пояснения первого варианта выполнения данного изобретения, представляющая блок-схему устройства для восстановления с помощью водорода с целью уменьшения оксидных пленок на поверхностях наночастиц;
фиг.2 – схема для пояснения второго варианта выполнения данного изобретения, представляющая блок-схему устройства для изготовления высокоэффективной жидкой среды с распределенными наночастицами, которое осуществляет уменьшение оксидных пленок на поверхностях наночастиц и одновременно равномерное распределение наночастиц в жидкой среде;
фиг.3 – график стандартной свободной энергии образования оксидов в зависимости от температуры, которая становится стандартной при выборе поглотителя кислорода, используемого в устройстве для изготовления, показанном на фиг.2;
фиг.4 – схема для пояснения третьего варианта выполнения данного изобретения, представляющая блок-схему устройства для изготовления высокоэффективной жидкой среды с распределенными наночастицами, которое характеризуется тем, что получение наночастиц и прикрепление атомов материала, составляющего жидкую среду, которая является основным материалом, к поверхностям образованных наночастиц, выполняется одновременно;
фиг.5 – детальная схема испарительной камеры, составляющей часть устройства изготовления, показанного на фиг.4;
фиг.6 – схема, поясняющая повышение яркости излучаемого света высокоэффективной жидкой среды с распределенными наночастицами, согласно данному изобретению, и представляющая в изометрической проекции состояние, в котором находящаяся в тигле высокоэффективная жидкая среда с распределенными наночастицами излучает свет;
фиг.7 – график, представляющий яркость излучаемого света, полученную при отображении зоны излучения, показанной на фиг.6;
фиг.8 – схема для пояснения третьего варианта выполнения данного изобретения, представляющая блок-схему способа обнаружения утечки жидкой среды, согласно данному изобретению; и
фиг.9 – блок-схема обычного способа обнаружения утечки жидкой среды.
Осуществление изобретения
Ниже приводится описание вариантов выполнения данного изобретения со ссылками на чертежи. Следует отметить, что варианты выполнения, описание которых приведено ниже, являются лишь иллюстрацией для соответствующего пояснения данного изобретения и не ограничивают данное изобретение.
(Первый вариант выполнения)
На фиг.1 показана блок-схема устройства для восстановления с помощью водорода наночастиц с целью получения наночастиц, которые не имеют оксидных пленок на поверхностях, образующих высокоэффективную жидкую среду с распределенными наночастицами, согласно данному изобретению. Позицией 10 обозначена стеклянная трубка для размещения наночастиц 11, и эта стеклянная трубка 10 закреплена в печи 12 для золота. Со стеклянной трубкой 10 соединены труба 13 ввода газа и труба 14 вывода газа, и в каждой трубе 13, 14 предусмотрены, соответственно, клапаны 13а и 14а открывания и закрывания. Расходомер 15 расположен по потоку перед трубой 13 ввода газа, а газовый смеситель 16 расположен перед расходомером 15. Со смесителем 16 соединены две трубы подачи газа, и контроллеры 18 и 19 включены, соответственно, в обе трубы подачи газа. Баллон 20 с газом водородом соединен с одной из труб, а баллон 21 с газом азотом соединен с другой трубой. Стеклянную трубку 10 можно изымать в герметичном состоянии из пути прохождения потока с помощью пробок (не изображены). Позицией 22 на фиг.1 обозначена труба ответвления и в этой трубе 22 ответвления предусмотрен клапан 22а открывания и закрывания.
Процесс восстановления оксидных пленок на поверхностях наночастиц с помощью устройства для восстановления водородом выполняется следующим образом. Сначала наночастицы, на поверхностях которых образовались оксидные пленки, помещают в стеклянную трубку. Клапаны 13а и 14а открывают, открывают заглушки баллона 20 водорода и баллона 21 азота, соответственно, и регулируют каждый из контроллеров 18 и 19 массового расхода для подготовки газовой смеси водорода и азота в желаемом соотношении в смесителе 16. Эту газовую смесь подают в стеклянную трубку 10 с заданной скоростью потока при одновременном контроле с помощью расходомера 15. Наночастицы в стеклянной трубке 10 подвергают воздействию газовой смеси водорода и азота при заданной скорости потока, и оксидные пленки на поверхностях наночастиц восстанавливаются с образованием наночастиц, не имеющих оксидных пленок на поверхностях. После истечения времени восстановления, определяемого экспериментальным путем, открывают не только клапан 22а для отвода газа, но также закрывают клапан 14а, а затем закрывают и клапан 13а. Затем стеклянную трубку 10 герметизируют с использованием пробок (не изображены) для извлечения из пути прохождения потока газа и передают в процесс распределения в жидкой среде, такой как жидкий натрий.
Специальный пример восстановления водородом с помощью указанного устройства показывает, что при концентрации водорода 10% температура обработки составляет 180°С, скорость потока составляет от 100 до 200 мл/мин, а время обработки составляет от 6 до 60 секунд для выполнения обработки восстановления 0,1 г наночастиц.
В процессе распределения в жидкой среде наночастицы выливают из стеклянной трубки 10 в жидкую среду, находящуюся в резервуаре, таком как тигель, при одновременном перемешивании жидкой среды. Желаемый эффект достигается при содержании наночастиц в жидкой среде по меньшей мере 10 млн-1. Предпочтительно смешивание при 50 млн-1 является хорошим и смешивание при 100 млн-1 является достаточным. Наночастицы обрабатывают в процессе восстановления водородом до состояния, в котором нет оксидных пленок на их поверхностях, и поэтому сродство с жидкой средой является высоким и наночастицы легко смешиваются и равномерно распределяются. Для улучшения этого равномерного распределения предпочтительно, чтобы распределение наночастиц было возможно тесным.
(Второй вариант выполнения)
На фиг.2 показан пример выполнения устройства для изготовления высокоэффективной жидкой среды с распределенными наночастицами в лабораторных условиях. Это устройство используется тогда, когда жидкой средой является жидкий натрий.
На фиг.2 позицией 30 обозначен тигель, выполненный из керамического материала и расположенный в нагревающей оболочке 31, при этом тигель заполнен жидким натрием 32 при температуре 250-350°С под инертным газом. Примерно в середине тигля 30 установлен пропеллер 33а мешалки 33, и вблизи стенки установлена термопара 34 для измерения температуры. Кроме того, внутри тигля 30 размещена алюминиевая проволока 35 в виде спирали вдоль внутренней стенки в качестве поглотителя кислорода.
Удаление оксидной пленки с поверхностей наночастиц с помощью устройства для изготовления высокоэффективной жидкой среды с распределенными наночастицами выполняется следующим образом.
В качестве наночастиц используются, например, сверхмелкие частицы никеля. Поскольку обычно, непосредственно после изготовления этих сверхмелких частиц никеля на них уже образуется оксидная пленка, то частицы используются при условии наличия поверхностной оксидной пленки. Эти наночастицы постепенно добавляют в жидкий натрий 32 в тигле 30, пока они не составят от 20 мас.% до 30 мас.% общей массы натрия (это избыточное количество, но за счет равномерного распределения концентрация в конечном итоге устанавливается между 10 и 100 млн-1, а избыточные частицы выпадают в осадок). Во время этого добавления пропеллер 33а мешалки постоянно вращается для достаточного перемешивания жидкого натрия 32. Поскольку стандартная свободная энергия образования оксида алюминия, образующего алюминиевую проволоку 35, ниже чем у натрия и никеля, как показано на графике на фиг.3, то кислород, связанный с никелем, освобождается от никеля и затем связывается с алюминием. В результате, поверхностная оксидная пленка сверхмелких частиц никеля восстанавливается, за счет чего образуется состояние, в котором на поверхности сверхмелких частиц никеля отсутствует оксидная пленка. Сверхмелкие частицы никеля, не имеющие оксидной пленки на своей поверхности, имеют большое сродство с жидким натрием 32, и поэтому они легко диспергируются и равномерно распределяются в жидком натрии 32. Для большей точности можно выполнять отбор проб с использованием трубки для отбора проб, выполненной из нержавеющей стали (не изображена), и после охлаждения пробы наблюдать срез затвердевшего блока, что позволяет подтверждать равномерное распределение посредством наблюдения наличия осадков или скоплений сверхмелких частиц никеля.
Таким образом, при предварительном размещении поглотителя кислорода в жидкой среде и равномерном распределении наночастиц при постоянном перемешивании, удаляют тем самым поверхностную оксидную пленку с наночастиц и равномерно распределяют наночастицы, так что можно эффективно изготавливать высокоэффективную жидкую среду с распределенными наночастицами.
Следует отметить, что в этом втором варианте выполнения алюминиевую проволоку (поглотитель кислорода) размещают заранее в тигле перед заполнением жидкого натрия, однако аналогичное действие достигается даже при размещении алюминиевой проволоки после начала добавления и перемешивания сверхмелких частиц никеля.
(Третий вариант выполнения)
На фиг.4 и 5 показан другой вариант выполнения устройства для изготовления высокоэффективной жидкой среды с распределенными наночастицами. Это устройство состоит из испарительной камеры 40, камеры 41 молекулярного пучка и коллекторной камеры 42, соединенных последовательно друг с другом.
Испарительная камера 41 является камерой, в которой материал, служащий в качестве жидкой среды (например, натрий), и материал, служащий в качестве наночастиц (например, никель), испаряются и смешиваются в атмосфере инертного газа.
Камера 41 молекулярного пучка является камерой, соединенной с испарительной камерой 40 через небольшое отверстие 43, в которой испаренная внутри испарительной камеры 40 смесь 44, прошедшая через небольшое отверстие 43, попадает в атмосферу вакуума и образуется комплекс 45 атомов наночастиц/жидкой среды в виде, когда составляющие жидкую среду атомы адсорбированы на поверхности наночастиц в испаренной смеси (в последующем комплекс атомов наночастица/жидкая среда), отделяется от других атомов, составляющих жидкую среду, и наночастиц 46 в зависимости от разницы массы.
Коллекторная камера 42 является камерой, соединенной с камерой 41 молекулярного пучка, в которой отделенный комплекс 45 атомов наночастиц/жидкой среды собирается в атмосфере вакуума.
Детальная конструкция испарительной камеры 40 показана на фиг.5. Блок 47 открывания/закрывания расположен на стороне, противоположной небольшому отверстию 43 камеры 40, и инертный газ, такой как газовая смесь гелия (Не) и аргона (Ar) вводится внутрь камеры 40. Дополнительно к этому, в камере 40 расположены с возможностью вращения блок, составляющий жидкую среду, например, стержень 48 из металла натрия, и блок, составляющий наночастицы, например, стержень 49 из никеля. Стержень 48 из металла натрия и стержень 49 из никеля можно снаружи облучать импульсными лазерными лучами 50 и 51, соответственно.
В камере 40 указанной конструкции два вида металлических стержней (стержень 48 из металла натрия и стержень 49 из никеля), которые желательно смешивать, испаряют посредством облучения импульсными лазерными лучами 50 и 51. Газовая смесь гелия и аргона выходит в качестве несущего газа из небольшого отверстия 43 в атмосферу вакуума в смежной камере 41 молекулярного пучка с образованием молекулярного пучка 52. С помощью этого лазерного способа испарения можно испарять металл мишени, даже если его температура плавления является достаточно высокой, что является преимуществом этого способа. В качестве указанных импульсных лазерных лучей 50 и 51 используется, например, вторая гармоника лазера на иттрий-алюминиевом гранате (длина волны 532 нм, выходная энергия 300 мДж) с парами меди с последующим сжиманием лазерных лучей с помощью конденсорных линз. При испарении металла с использованием импульсного лазера обычно образуется молекулярный пучок 52 в виде импульсов для уменьшения нагрузки вытяжного вентилятора вакуумной системы. В молекулярном пучке 52 смешаны атомы 46 металлов, полученных в результате испарения каждого металла, и комплекс 45 атомов наночастиц/среды в состоянии (молекулярном состоянии), в котором атомы натрия адсорбированы на поверхностях наночастиц (сверхмелких частиц никеля).
В указанной вакуумной камере 41 в направлении потока молекулярного пучка 52 последовательно расположены разделительные лопатки 53 и 54, и вакуумная камера 41 разделена на две камеры этими разделительными лопатками 53 и 54. В каждой из частичных камер сифоны 55 и 56, соответственно, соединены с вакуумными насосами (не изображены). Атомные материалы в молекулярном пучке 52 захватываются в каждой камере этими разделительными лопатками 53 и 54 и отводятся через сифоны наружу из системы. Остающийся комплекс атомов наночастиц/среды проходит в смежную коллекторную камеру 42 без захвата разделительными лопатками 53 и 54.
Коллекторная камера 42 соединена с сифоном 57, который также соединен с вакуумным насосом (не изображен), а внутри камеры создается вакуум. В этой коллекторной камере 42 расположена коллекторная пластина 58 с образованием препятствия, перпендикулярного молекулярному пучку 52. Большая часть молекулярного пучка 52, достигающего пластину, практически состоит из комплекса 45 атомов наночастиц/среды. Имеющий высокую скорость поток комплекса 45 ударяется в коллекторную пластину, и комплекс 45 собирается в камере 42.
Комплекс 45 атомов наночастиц/среды, полученный и собранный указанным образом, становится частицами в состоянии, в котором атомы натрия адсорбированы на поверхности наночастиц (сверхмелких частиц никеля) или множествами (скоплениями) частиц, и части поверхности покрыты натрием, и поэтому когда частицы или скопления частиц добавляются в жидкий натрий, который является основным материалом жидкой среды, и перемешиваются, то они легко смешиваются и мгновенно переходят в состояние равномерного распределения. В соответствии с устройством и способом изготовления, согласно этому варианту выполнения, получение наночастиц и защиту их поверхности можно осуществлять одновременно. Таким образом оксидная пленка не образуется. Дополнительно к этому, поскольку атомы, защищающие поверхность, являются атомами, составляющими жидкую среду, то сродство полученных частиц или скоплений частиц комплекса с жидкой средой, которая является основным материалом, становится очень большим. В соответствии с этим, можно получать высокоэффективную жидкую среду с распределенными наночастицами высокого качества с низкой стоимостью.
Типичные свойства, которые улучшают рабочие характеристики высокоэффективной жидкой среды с распределенными наночастицами, полученной с помощью указанных трех способов удаления оксидных пленок, кратко поясняются ниже.
Считается, что эффект улучшения свойств является результатом достаточного удаления оксидных пленок с помощью устройств, согласно данному изобретению, и равномерного распределения наночастиц в жидкой среде.
Во-первых, в качестве улучшения рабочих характеристик, подтвержденных с начала исследования, можно привести следующее.
(1) При использовании высокоэффективной жидкой среды с распределенными наночастицами в трубопроводе или резервуаре, имеющем утечку, действительный объем утечки жидкой среды, которая является основным материалом, становится меньше на объем, занимаемый наночастицами, по сравнению с обычной жидкой средой, при предположении, что объем утечки, содержащий наночастицы, и объем утечки, не содержащий наночастицы, равны друг другу, и поэтому реактивность или токсичность самой жидкой среды, которая является основным материалом, уменьшается.
(2) Когда в трубопроводе, резервуаре или т.п. возникает трещина, то равномерно распределенные наночастицы служат препятствием потоку жидкой среды, которая является основным материалом, и поэтому объем утечки значительно уменьшается по сравнению с обычной жидкой средой.
(3) Поскольку жидкая среда, которая является основным материалом, захватывается слоями на наружных периферийных поверхностях наночастиц, которые равномерно распределены в высокоэффективной жидкой среде с распределенными наночастицами, то возникновение аварийной ситуации вследствие реактивности жидкой среды, которая является основным материалом, можно относительно задерживать.
(4) Становится возможным значительно улучшать свойство переноса тепла по сравнению с обычной средой переноса тепла посредством выбора сверхмелких частиц металла, имеющего теплопроводность, подходящую для наночастиц, и их равномерного распределения в жидкой среде, которая является средством переноса тепла в обычном теплообменнике.
В ходе дальнейшего изучения изобретателями данной заявки свойств высокоэффективной жидкой среды с распределенными наночастицами, имеющей чрезвычайно высокое равномерное распределение, полученное с помощью данного изобретения, ими было неожиданно установлено, что происходит изменение свойства, кажущегося противоположным указанному уменьшению реактивности.
А именно, это изменение было подтверждено в середине процесса, в котором жидкий натрий 32 в качестве основного материала заполняли в тигель 30, показанный на фиг.6, и подвергали перемешиванию при нагревании с целью равномерного распределения сверхмелких частиц никеля в качестве наночастиц в этом основном материале. Было подтверждено, что когда окружение было затемнено в состоянии, когда наночастицы были равномерно распределены в тигле 30, нагреваемого под атмосферой инертного газа, жидкий натрий в тигле 30 излучает свет с яркостью, достаточной для обнаружения невооруженным глазом. Поскольку жидкий натрий без смешивания с наночастицами не имеет яркости, достаточной для обнаружения невооруженным глазом, как будет описано применительно к фиг.9, то утечку жидкого натрия из трубопровода нельзя обнаруживать даже с помощью фотодетектора, пока не будет возбуждено излучение линии D натрия с использованием системы настраиваемого лазера, которая является трудной в обслуживании и занимает много места. Однако лишь с помощью равномерного распределения наночастиц яркость излучения жидкого натрия можно увеличивать настолько, что его можно обнаруживать невооруженным глазом.
Изобретатели поместили тигель 30 в темноту, и получали изображение зоны 60 излучения и прилегающей к ней зоны в виде пламени из высокоэффективной жидкой среды с распределенными наночастицами в тигле 30 с помощью устройства получения изображения с использованием приборов с зарядовой связью (CCD). Яркость пикселей его изображения анализировали и переводили в цифровую форму, за счет чего получили график, в котором расстояние от центра подобной пламени зоны излучения света представлена по горизонтальной оси, а яркость излучаемого света – по вертикальной оси. График показан на фиг.7. Этот график показывает число пикселей в качестве меры яркости излучаемого света. При аналогичном наблюдении лишь обычного жидкого натрия, который не содержит наночастиц, пиксели яркости не возникали, и поэтому построение графика было невозможно. При отображении яркости на фиг.7, линия накладывалась бы на базовую линию этого графика. График на фиг.7 подтверждает, что степень увеличения относительной яркости в зоне излучения света является чрезвычайно высокой в случае натрия с распределенными наночастицами.
(Четвертый вариант выполнения)
Этот четвертый вариант выполнения является вариантом выполнения, в котором используется указанное выше явление увеличения яркости жидкой среды. Этот вариант выполнения служит для реализации устройства и способа для обнаружения утечки высокоэффективной жидкой среды с распределенными наночастицами, полученной в результате равномерного распределения наночастиц в жидком натрии в качестве охлаждающего средства для реактора-размножителя на быстрых нейтронах.
Ниже приводится описание этого варианта выполнения со ссылками на фиг.8. Одинаковые с фиг.9 компоненты обозначены одинаковыми позициями для упрощения пояснений. Когда происходит утечка, вызванная трещиной или т.п. в непрозрачной стенке 1 трубопровода, резервуара или т.п., то утечку легко обнаружить простым фотодетектором 73 посредством лишь измерения излучения 71 с помощью сжатия с помощью конденсорной линзы 72, поскольку вытекающий высокоэффективный жидкий натрий 70 с распределенными наночастицами излучает свет с яркостью, достаточной для обнаружения невооруженным глазом в темноте, когда охлаждающая среда внутри трубопровода является высокоэффективным жидким натрием с распределенными наночастицами, согласно данному изобретению.
В этом случае яркость света, излучаемого высокоэффективным натрием 70 с распределенными наночастицами, увеличивается без приложения извне энергии возбуждения, такой как лазерный луч. Таким образом, окружающая атмосфера находится в нормальном состоянии и не возбуждена, и поэтому не возникает явление излучения. То есть, когда подтверждается излучение в точке измерения, то это означает, что излучение вызвано лишь высокоэффективным натрием (парами натрия) 70 с распределенными наночастицами. В соответствии с этим, нет необходимости в измерении после задержки во времени с помощью контроллера с использованием устройства с зарядовой связью для получения изображения, имеющего функцию затвора, и можно в реальном времени узнавать о возникновении утечки, когда свет в точке наблюдения мгновенно измеряется с помощью простого фотодетектора 73.
В этом случае устройство для обнаружения утечки может состоять из простой системы фотоизмерения, которая является комбинацией конденсорных линз 72 и простого фотодетектора 73, и поэтому можно наблюдать за утечками без больших затрат и в небольшом пространстве.
Промышленная применимость
Как указывалось выше, жидкая среда с распределенными наночастицами, согласно данному изобретению, характеризуется тем, что на поверхностях наночастиц не существует оксидной пленки в основном материале жидкой среды и наночастицы равномерно распределены в основном материале жидкой среды. За счет такого состава становится возможным желательное улучшение или подавление свойства, желательного для улучшения, или свойства, желательного для дополнительного подавления, среди различных специфических свойств жидкой среды в зависимости от цели ее использования. Поэтому, согласно данному изобретению, можно обеспечивать альтернативную жидкую среду с высокими рабочими характеристиками при низкой стоимости посредством лишь примешивания наночастиц в жидкую среду, обычно используемую в различных областях техники, в состоянии, в котором на поверхностях наночастиц не существует оксидной пленки. Таким образом, преимущества промышленного применения являются огромными. В частности, при применении наночастиц в жидкой среде, имеющей свойство излучения, яркость излучаемого света можно значительно повышать, что делает возможным простое обнаружение утечки жидкой среды, подтверждение ее местоположения (измерение скорости движения, измерение скорости распространения и т.п.) и т.д.
Формула изобретения
1. Способ изготовления высокоэффективной жидкой среды для охлаждения ядерного реактора с распределенными наночастицами, отличающийся тем, что рабочие характеристики жидкой среды улучшают путем равномерного распределения в жидкой среде предварительно обработанных наночастиц для недопущения существования оксидной пленки на поверхностях наночастиц, причем удаление оксидных пленок на поверхностях наночастиц выполняют посредством помещения наночастиц в атмосферу газа водорода на заданное время, при этом жидкая среда, которая является основным материалом, представляет собой жидкий натрий, а в качестве наночастиц используют, по меньшей мере, сверхмелкие частицы никеля в количестве не менее 10 млн-1.
2. Способ по п.1, отличающийся тем, что размер наночастиц не превышает 1000 нм в диаметре.
3. Способ изготовления высокоэффективной жидкой среды для охлаждения ядерного реактора с распределенными наночастицами, отличающийся тем, что улучшение рабочих характеристик жидкой среды осуществляют смешиванием наночастиц с жидкой средой и одновременного уменьшения оксидных пленок на поверхностях наночастиц путем их восстановления и равномерного распределения наночастиц в жидкой среде, при этом восстановление оксидных пленок на поверхностях наночастиц выполняют посредством помещения в жидкую среду поглотителя кислорода перед или после добавления наночастиц в жидкую среду, при этом жидкая среда, которая является основным материалом, представляет собой жидкий натрий, в качестве наночастиц используют, по меньшей мере, сверхмелкие частицы никеля в количестве не менее 10 млн-1, а в качестве поглотителя кислорода используют материал, представляющий собой алюминий и имеющий стандартную свободную энергию образования оксида алюминия меньше стандартной свободной энергии образования оксидов других материалов, образующих наночастицы и жидкую среду.
4. Способ по п.3, отличающийся тем, что размер наночастиц не превышает 1000 нм в диаметре.
5. Способ изготовления высокоэффективной жидкой среды для охлаждения ядерного реактора с распределенными наночастицами, отличающийся тем, что материал жидкой среды, представляющий собой металл натрия, и материал наночастиц, представляющий собой никель, испаряют и смешивают друг с другом в атмосфере инертного газа с образованием комплексов атомов наночастиц/среды в виде, в котором атомы, образующие материал жидкой среды, адсорбированы на поверхностях наночастиц, после чего комплексы атомов наночастиц/среды отделяют в зависимости от разницы их масс от других составляющих атомов жидкой среды и наночастиц посредством выпускания этой испаренной смеси из небольшого отверстия испарительной камеры в атмосферу вакуума, с последующим распределением отделенных комплексов атомов наночастиц/среды в жидкой среде в качестве основного материала.
6. Способ по п.5, отличающийся тем, что размер наночастиц не превышает 1000 нм в диаметре.
7. Способ по одному из пп.5 и 6, отличающийся тем, что улучшение рабочих характеристик представляет собой увеличение яркости излучения линии D, специфичной для жидкого натрия, который является основным материалом, в способе изготовления.
8. Устройство для изготовления высокоэффективной жидкой среды для охлаждения ядерного реактора с распределенными наночастицами, свойства которой улучшены посредством смешивания и распределения наночастиц в жидкой среде в качестве основного материала, отличающееся тем, что оно имеет, по меньшей мере, испарительную камеру, в которой материал жидкой среды и материал наночастиц испаряется и смешивается в атмосфере инертного газа, камеру молекулярного пучка, соединенную с испарительной камерой посредством небольшого отверстия, через которое испаренная внутри испарительной камеры смесь попадает в атмосферу вакуума, при этом образованные в испаренной смеси комплексы атомов наночастиц/жидкой среды в виде, в котором атомы, составляющие материал жидкой среды, адсорбированы на поверхностях наночастиц, отделяют от других составляющих атомов жидкой среды и наночастиц, в зависимости от разницы их массы и собирают в атмосфере вакуума коллекторной камеры, соединенной с камерой молекулярного пучка.
9. Устройство по п.8, отличающееся тем, что оно содержит блок равномерного смешивания, расположенный по потоку за коллекторной камерой для смешивания и распределения комплекса атомов наночастиц/среды в жидкой среде.
10. Устройство по п.8, отличающееся тем, что наночастица является, по меньшей мере, одним видом сверхмелких частиц, выбранных из металла или неметалла.
11. Устройство по п.8, отличающееся тем, что размер образованной наночастицы не превышает 1000 нм в диаметре.
12. Устройство по п.8, отличающееся тем, что жидкая среда, которая является основным материалом, является жидким натрием.
13. Устройство по п.12, отличающееся тем, что в нем улучшение рабочих характеристик представляет собой увеличение яркости излучения линии D, специфичного для жидкого натрия, который является основным материалом.
14. Способ обнаружения утечки жидкой среды при его вытекании из трубопровода, отличающийся тем, что утечку обнаруживают по излучению света жидкой средой при ее протекании через непрозрачную стенку, при этом жидкая среда представляет собой жидкий натрий, в среде которого равномерно распределены наночастицы, в качестве которых используют, по меньшей мере, сверхмелкие частицы никеля, имеющие реакцию горения ярким пламенем, для увеличения яркости излучения света жидкой средой и обнаружения излучения света с увеличенной яркостью жидкой среды утечки при протекании жидкой среды через непрозрачную стенку.
15. Высокоэффективная жидкая среда для охлаждения ядерного реактора с распределенными наночастицами, свойства которой улучшены посредством подмешивания и равномерного распределения наночастиц в жидкой среде в качестве основного материала, отличающаяся тем, что на поверхностях наночастиц отсутствует оксидная пленка в основном материале жидкой среды, а наночастицы равномерно распределены в основном материале жидкой среды, при этом указанная жидкая среда получена в соответствии со способом по п.3.
16. Среда по п.15, отличающаяся тем, что размер наночастицы не превышает 1000 нм в диаметре.
17. Среда по п.15, отличающаяся тем, что улучшение рабочих характеристик представляет уменьшение специфической реактивности жидкой среды в качестве основного материала.
18. Среда по п.15, отличающаяся тем, что улучшение рабочих характеристик представляет уменьшение реактивности к воздуху и воде жидкого натрия, который является основным материалом.
19. Среда по п.15, отличающаяся тем, что улучшение рабочих характеристик представляет уменьшение свойства проникновения в небольшие трещины жидкого натрия, который является основным материалом.
20. Среда по п.15, отличающаяся тем, что улучшение рабочих характеристик представляет повышение яркости излучения линии D, специфичной для жидкого натрия, который является основным материалом.
РИСУНКИ
|
|