|
(21), (22) Заявка: 2003133385/09, 18.11.2003
(24) Дата начала отсчета срока действия патента:
18.11.2003
(30) Конвенционный приоритет:
18.11.2002 DE 20217877.3
(43) Дата публикации заявки: 10.05.2005
(46) Опубликовано: 27.05.2008
(56) Список документов, цитированных в отчете о поиске:
US 6078653 A, 20.06.2000. RU 2146420 A1, 10.03.2000. DE 19548744, 05.09.1996. DE 19836457, 20.01.2000.
Адрес для переписки:
121087, Москва, а/я 33, пат.пов. В.В.Курышеву, рег.№ 0006
|
(72) Автор(ы):
ГАЙНБАХ Гартмут (DE), ДОРНЗАЙФФ Андре (DE)
(73) Патентообладатель(и):
ГИРА Гирзипен ГмбХ унд Ко. КГ (DE)
|
(54) СИСТЕМА ДОМАШНЕЙ СИГНАЛИЗАЦИИ С ДВУХПРОВОДНЫМ ПОДКЛЮЧЕНИЕМ ПОТРЕБИТЕЛЯ
(57) Реферат:
Изобретение относится к системе домашней сигнализации, имеющей по меньшей мере один дверной блок и по меньшей мере один квартирный блок. По меньшей мере, квартирный блок/каждый квартирный блок подключен или выполнен с возможностью подключения при помощи двухпроводной цепи для передачи сигналов управления и/или связи, а также напряжения питания. При этом по меньшей мере одна секция имеющихся дверного и/или квартирного блока имеет модульную конструкцию, причем каждый имеющий модульную конструкцию блок состоит по меньшей мере из двух модулей (М), которые соединены или выполнены с возможностью соединения между собой при помощи внутренней шины. При этом один из модулей (М) образует устройство присоединения шины в виде связующего звена между наружной двухпроводной цепью и внутренней шиной. Внутренняя шина состоит по меньшей мере из трех проводников, а именно из заземляющей шины (GND), одной системной шины (EXTBUS), ведущей дальше вместе с заземляющей шиной (GND) наружную двухпроводную цепь (6), а также из шины для передачи данных (COMBUS), служащей вместе с заземляющей шиной (GND) для связи между микроконтроллерами ( С) отдельных модулей (М). Техническим результатом является упрощение подключения усовершенствованных компонентов. 6 з.п. ф-лы, 8 ил.
Предложенное изобретение относится к системе домашней сигнализации, имеющей по меньшей мере один дверной блок и по меньшей мере один квартирный блок, причем все блоки соединены или выполнены с возможностью соединения посредством общей двухпроводной системной шины для передачи сигналов управления и связи, а также, в частности, напряжения питания (двухпроводная шинная система).
Далее изобретение относится в принципе к так называемым устройствам “1+n”, причем дверной блок выполняет функцию коммутационного пункта. Каждый квартирный блок связан при этом через свою собственную шину с дверным блоком, а также с общей заземляющей шиной. “1” в “1+n” обозначает при этом заземляющую шину, п обозначает число квартирных блоков и тем самым количество отдельных жил. Напряжение питания из источника питания от сети идет при этом к дверному блоку, а оттуда к отдельным квартирным блокам каждый раз по двум линиям.
Таким образом, в обоих случаях по меньшей мере каждый квартирный блок подключен как потребитель через двухпроводную линию для передачи (аудио)сигналов связи и напряжения питания.
Устройства домашней сигнализации или так называемые дверные переговорные устройства с двухпроводной шинной системой описаны, например, в патентах DE № 19548744 С2, DE № 19716598 C1, DE № 19716599 С2 и DE № 3023988 А1. В этих известных устройствах имеющиеся дверные и квартирные устройства состоят из различных приборов для внутренней и наружной областей, причем каждый прибор специально предназначен для соответствующего предопределенного применения, например, в качестве дверного блока или квартирного блока. Обычно речь идет об объединенных приборах с корпусом, устанавливаемым на монтажную поверхность (например, стену), т.е. на слой штукатурки. Установка под слой штукатурки возможна при наличии очень больших специальных коробок и сопряжена с большими материальными затратами. В случае дополнительной установки в здании необходимы дорогостоящие долбежные работы. Поэтому эти известные устройства требуют больших расходов на изготовление отдельных приборов, их хранение на складе (заблаговременная подготовка различных приборов), а также монтаж. В более ранней предварительно неопубликованной заявке заявителя № 10160813 была предложена модульная конструкция блока, причем определенные модули связаны посредством внутренней шины. Однако техническая реализация соединения посредством внутренней шины в указанной заявке не раскрыта. В предложенном изобретении стоит задача создания такой системы домашней сигнализации, которая позволит с небольшими затратами на изготовление, хранение и монтаж добиться большого числа вариантов при установке, в частности в отношении «совместимости в будущем», т.е. возможности последующего подключения возможно усовершенствованных компонентов.
Согласно изобретению это достигается за счет того, что по меньшей мере одна секция имеющихся дверного и/или квартирного блоков имеет модульную конструкцию, причем каждый такой модульный блок состоит по меньшей мере из двух модулей, соединенных или выполненных с возможностью соединения между собой посредством внутренней шины, причем один из модулей образует устройство присоединения шины в виде соединительного элемента между наружной двухпроводной линией и внутренней шиной, а внутренняя шина состоит по меньшей мере из трех шинных проводников, а именно из заземляющей шины, системной шины, которая вместе с заземляющей шиной дальше ведет наружную двухпроводную линию, а также из шины для передачи данных, которая вместе с заземляющей шиной служит для связи между микроконтроллерами отдельных модулей. В предпочтительной форме выполнения внутренняя шина в качестве четвертой линии имеет аудиосигнальный проводник, относящийся также к заземляющей шине.
Согласно изобретению устройство присоединения шины образует в качестве двух/многопроводного преобразователя ступень связи между наружной двухпроводной линией, в частности наружной двухпроводной системной шиной, и многопроводной (по меньшей мере трехпроводной) внутренней шиной.
Устройство присоединения шины при необходимости и при известных условиях при преобразовании формата и уровня передает данные с внутренней шины для передачи данных на системную шину или передает полученные данные после обратного преобразования из системной шины на внутреннюю шину для передачи данных. Благодаря этому каждый модуль может посыпать не только данные на другие модули относящегося к нему блока, но и собственно на системную шину. Таким образом, устройство присоединения шины представляет собой не “орган, контролирующий все”, а прежде всего подключатель шины, преобразователь уровня и обработчик адресных данных. Это делает заявленную систему выгодной с точки зрения “будущей совместимости”, так как дальнейшее усовершенствование модулей не нужно учитывать в имеющихся устройствах присоединения шины с точки зрения программирования. Более современные модули могут управлять собой сами и используют лишь устройство присоединения шины для передачи и приема данных, а также для обеспечения напряжения, связи и двух/многопроводного преобразования.
В предпочтительной форме выполнения изобретения с аудиосигнальной шиной эти речевые сигналы могут генерировать все модули, которые могут осуществлять речевую передачу. Устройство присоединения шины передает далее при необходимости (для речевой связи) сигналы с аудиосигнальной шины на системную шину. При этом устройство присоединения шины работает как двух/четырехпроводный преобразователь, который в системной шине делит имеющиеся речевые сигналы на принятые и посылаемые.
Другие выгодные признаки изобретения представлены в зависимых пунктах формулы и содержатся далее в описании.
Изобретение поясняется более подробно при помощи чертежей, где на
фиг.1 представлено схематичное изображение системы домашней сигнализации в выгодном исполнении в виде шинной системы и в примерном демонтированном состоянии;
фиг.2 – различные модули, которые можно применять в рамках заявленной системы, схематичный вид сбоку;
фиг.3 – пример дверного блока, вид спереди (сторона обслуживания);
фиг.4 – схематичный вид сбоку отдельных компонентов дверного блока в направлении стрелки IV согласно фиг.3;
фиг.5 – блок-схема модуля-устройства присоединения шины;
фиг.6 – блок-схема аудиомодуля;
фиг.7 – блок-схема кнопочного модуля;
фиг.8 – блок-схема блока питания от сети или устройства управления шины.
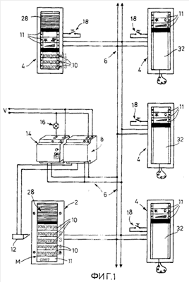
На фиг.1 представлено примерное устройство системы домашней сигнализации (дверное переговорное устройство), выполненной в виде шинной системы. Обычно предусмотрен (по меньшей мере) один дверной блок 2, который устанавливается в наружной области двери, а также по меньшей мере один квартирный блок 4, который устанавливается обычно во внутренней области рядом со входом в квартиру. В примере, представленном на фиг.1, предусмотрены четыре квартирных блока 4. Система, однако, может быть построена по-разному. Блоки 2, 4 связаны общей двухпроводной системной шиной 6. С помощью этой системной шины 6 передаются все сигналы и команды, необходимые для коммуникации и установления связи. К тому же системная шина 6 служит также для обеспечения напряжением отдельных блоков 2, 4. К тому же предусмотрено центральное устройство управления 8, также подключенное к системной шине 6, которое, в частности, имеет источник питания (ср. также фиг.8). Таким образом прибор управления 8 вырабатывает из напряжения питания V, обычно напряжение сети 230 V, рабочее напряжение для всех блоков 2, 4. По меньшей мере дверной блок 2 имеет определенное количество вызывных кнопок 10. При срабатывании вызывной кнопки 10 посылается цифровой адресный код через системную шину 6. Он вызывает определенный квартирный блок 4, который до этого при установке был запрограммирован на этот адресный код. Квартирный блок 4 с согласованным адресным кодом создает по получении вызывной тон. Благодаря этому можно создать речевую связь для дверного блока 2. Голосовые сигналы передаются предпочтительно аналогично через системную шину 6. Каждый блок 2, 4 может иметь к тому же по меньшей мере командную кнопку 11 для определенной функции включения или управления. При срабатывании кнопки открытия двери в соответствующем квартирном блоке 4 передается цифровой код в виде сигнала команды через системную шину 6, благодаря чему с помощью прибора управления 8 приводится в активное состояние открыватель дверей 12. Данные (адресный код) модулированы при этом предпочтительно в неслышимый частотный диапазон (например 50 кГц). Оптимально видеосигнал может передаваться между камерой и монитором через системную шину 6. Он промодулирован затем на высокочастотный носитель (например 10 МГц), чтобы не нарушить диапазоны частот речи и данных.
Кроме того, к примеру выполнения, представленному на фиг.1, относится предпочтительно актуатор света 14 для управления освещением, например на лестницах больших домов. Актуатор света 14 принимает для этого индивидуальный кодированный сигнал, посылаемый при помощи кнопочного переключателя света одного из блоков 2,4, в качестве командного сигнала для подачи освещения. К тому же актуатор света 14 можно активизировать также при помощи особой кнопки, установленной, к примеру, на лестнице в доме. Управляемое освещение представлено на фиг.1 в качестве примера при помощи лампы 16. Кроме того, с каждым квартирным блоком 4 связана обычно этажная вызывная кнопка 18, установленная при входной двери квартиры.
Согласно изобретению блоки 2, 4 сконструированы по меньшей мере частично модульными. Предпочтительно все блоки, дверной блок 2 и каждый квартирный блок 4 состоят соответственно по меньшей мере из двух модулей М (см. также фиг.2), которые связаны между собой или выполнены с возможностью связи между собой с помощью особой внутренней шины 20. Для каждого блока 2, 4 один из модулей М представляет собой устройство присоединения шины 22 в качестве связующего элемента между внешней системной шиной 6 и внутренней шиной 20, т.е. устройство присоединения шины 22 конвертирует системную шину 6 или ее сигналы во внутреннюю шину 20 в передаваемые через нее внутренние сигналы между отдельными модулями М. При этом внутренняя шина 20 состоит согласно изобретению по меньшей мере из трех проводников.
Для этого обратимся сначала к блок-схеме устройства присоединения шины 22, представленной на фиг.5. Устройство присоединения шины 22 имеет первое устройство сопряжения CN1 для системной шины 6 (BUS-А, BUS-B). Внутренняя шина 20 состоит по меньшей мере из одной заземляющей шины GND (Ground), одного проводника системной шины EXTBUS, относящегося к заземляющей шине, а также одной шины для передачи данных COMBUS, также относящейся к заземляющей шине. Через проводник системной шины EXTBUS системная шина 6 связана со всеми модулями. Шина для передачи данных CCMBUS служит для сообщения между микроконтроллерами C отдельных модулей М.
Предпочтительно внутренняя шина 20 имеет в качестве четвертого проводника аудиосигнальную шину AUDIOBUS, также относящуюся к заземляющей шине GND.
В следующем выгодном варианте выполнения изобретения внутренняя шина 20 может иметь еще два дополнительных проводника ZV+ и ZV- для дополнительного обеспечения напряжением. К тому же внутри внутренней шины 20 можно предусмотреть два дополнительных проводника VIDEO-A и VIDEO-B для передачи видеосигналов.
На фиг.2 представлены различные типы модулей М, которые могут быть предусмотрены внутри заявленной системы домашней сигнализации в любых комбинациях для получения дверных или квартирных блоков 2,4. Первый модуль М образован устройством присоединения шины 22. Кроме того, представлен базовый кнопочный модуль 24, который может быть связан с кнопочным модулем 26 электрическим или механическим способом. Кнопочные модули 26 выполнены предпочтительно в виде насадок, которые можно быстро и просто насаживать на базовый модуль 24, выполненный в виде вставки. Кроме того, кнопочный модуль 26 можно насаживать выгодным образом также и на модуль устройства присоединения шины 22, причем последний в этом случае берет на себя функцию базового кнопочного модуля. Согласно фиг.2 для аудиомодуля 28 можно предусмотреть, кроме прочего, речевую функцию и/или слуховой модуль 30 для подключения телефонной трубки 32 (см. фиг.1). Кроме того, можно предусмотреть и другие модули, не представленные на фиг.2, например видеомодуль с камерой и/или дисплеем (монитором), и/или звукозаписывающее устройство для восприятия на слух, и/или видеозаписывающее устройство для восприятия изображения.
Согласно схемной части одни указанные модули выполнены предпочтительно в виде вставок для помещения их в электроустановочную коробку, а другие – в виде насадок для насаживания на вставки. Более подробно это описано в упомянутом выше немецком патенте № 10160813.
Согласно изобретению каждый модуль М имеет по меньшей мере одно устройство сопряжения 34 с внутренней шиной 20 в виде подходящего штекерного разъема. Между каждой насадкой и связанной с ней вставкой устройства сопряжения 34 соединены напрямую при помощи штекерного соединения. Для соединения с внутренней шиной между вставками предусмотрены подходящие соединительные проводники 36 с необходимыми по меньшей мере тремя-шестью или восьмью жилами. Эти соединительные проводники 36 имеют подходящие штекерные разъемы 38 для подключения к устройству сопряжения 34. Модуль устройства присоединения шины 22 имеет к тому же соединительные элементы 40 для внешней системной шины 6, а также соединительные элементы 42 для одного из этажных вызывных выключателей 18 и предпочтительно соединительные элементы 44 для дополнительного питающего провода 46.
Далее описываются подробности, касающиеся в особенности выполнения внутренней шины 20.
Для получения простой конструкции модульных блоков 1, 4 и сохранения количества сигнальных жил во внутренней шине 20 ограниченным в самом простом варианте выполнения для внутренней шины 20 формируются следующие сигналы:
– Системная шина 6 связана со всеми модулями через шину EXTBUS. Эти модули берут от этой шины постоянное напряжение для собственного питания и принимают в зависимости от специфики прибора речь и при необходимости также сигналы, передающие данные. Вторая жила системной шины 20 реализуется с помощью заземляющей шины GND (Ground).
– Посылаемые речевые сигналы, которые формируются в приборе, например, когда говорят в микрофон трубки 32, накапливаются в шине, обозначенной как AUDIOBUS. Эти сигналы необязательно должны быть посланы в системную шину 20, их можно также менять между модулями одного блока, например передача речевых сообщений рекордера на аудиомодуль 28. Эта шина относится с точки зрения заземления к заземляющей шине GND.
– Все модули М с более высокой степенью сложности содержат микроконтроллер С. Обмен данными между микроконтроллерами происходит через дополнительную коммуникационную шину CQMBUS. Эта шина относится с точки зрения заземления также к заземляющей шине GND.
Шины EXTBUS, GND формируются в аппаратной части в устройстве присоединения шины 22.
Сигналы для шины COMBUS формируются во всех модулях с помощью микроконтроллеров. При этом речь идет о последовательной шине с доминантным и рецессивным уровнями (так называемая I2С-шина, т.е. шина для соединения ИС). Рецессивные уровни могут при этом перезаписываться доминантными уровнями. Таким образом передающие ступени двух модулей, одновременно посыпающих сигналы, не могут быть нарушены. Рецессивный уровень формируется при этом с помощью резистора, “утягивающего вверх” (нагрузочного резистора), в устройстве присоединения шины 22.
Речевые сигналы на шине AUDIOBUS формируются всеми модулями, которые имеют возможность посылать голосовые сигналы (звуковоспринимающий модуль, звуковой модуль, речевой рекордер). Устройство присоединения шины 22 транслирует при необходимости (речевая связь) сигналы шины AUDIOBUS на системную шину 6. Устройство присоединения шины 22 работает как двух/четырехпроводный преобразователь, который делит речевые сигналы, присутствующие в системной шине 6, на полученные и посылаемые и транслирует на отдельные жилы или принимает от шины AUDIOBUS.
Устройство присоединения шины 22 транслирует при необходимости и при преобразовании формата и уровня данные от шины COMBUS на системную шину 6 или передает полученные данные после обратного преобразования от системной шины 6 на шину COMBUS. Так каждый модуль может посылать не только данные на другие модули прибора, но и посылать самостоятельно на системную шину 6. Устройство присоединения шины 22 не является, таким образом, всеконтролирующей инстанцией, а скорее всего устройством присоединения шины, преобразователем уровня и коммутационной ступенью (использование адресных кодов). Это делает систему “совместимой в будущем”, так как новые разработки модулей с точки зрения средств программирования еще не могут быть учтены в уже существующих устройствах присоединения шины. Поэтому новые модули управляют собой сами и используют устройство присоединения шины 22 для передачи и приема данных, а также для питания напряжением, коммутации и для двух/четырех-проводного преобразования.
Далее описываются отдельные компоненты и тот способ, при помощи которого они формируют или используют сигналы.
Устройство присоединения шины (фиг.5)
Устройство присоединения шины 22 в качестве базового модуля имеется в каждом блоке 2, 4, участвующем в системе. Устройство присоединения шины 22 подключено через выводы 40 (BUS-A и BUS-B) к системной шине 6. Она дает постоянное напряжение (например, 28V). Выпрямитель 48 делает возможным полярно-нейтральное соединение. Если на системную шину 6 передаются также видеосигналы, то видеофильтр 50 (высокочастотные дроссели) препятствует попаданию видеосигналов в устройство присоединения шины 22. Они разрушаются обычно благодаря входному сопротивлению устройства присоединения шины 22, которое является незначительным в высокочастотной области.
Регулятор напряжения 52, подключенный к выпрямителю 48, создает благодаря положительному выводу относительно высокого постоянного напряжения системной шины 6 более низкое напряжение, необходимое для устройства подключения шины 22 (например, 10V, 5V), для микроконтроллеров и усилительной схемы. Отрицательный вывод системной шины 6 создает потенциал заземления GND.
Между выпрямителем 48 и регулятором напряжения 52 находится предпочтительно еще одна электронная индуктивность 54 (гиратор). Она отвечает за высокое сопротивление на входе регулятора напряжения 52 и устраняет колебания нагрузки системной шины 6, вызванные регулятором напряжения 52. Высокое сопротивление на входе избегает нагрузки или снижения уровня речевых сигналов или сигналов, передающих данные. Колебания нагрузки образуются, например, в процессе включения или на стадии задействования усилителя и, не будь гиратора 54, применились бы в виде треска или искажений к речевым сигналам на системной шине 6, а затем были бы слышны во время разговора.
Выход выпрямителя 48 можно переключать через переключатель шины ENBUS на сигнал EXTBUS, т.е. сигнал EXTBUS соответствует тогда положительному сигналу проводника системной шине 6, освобожденному от видеосигнала. Сигнал шины EXTBUS поступает по заземляющей шине на три штекерных разъема устройства подключения шины наружу на другие модули.
Переключатель шины ENBUS замыкает контакт только в активном состоянии компонентов шины (речевая связь, прослушивание речевого рекордера), когда он должен воспринимать большую мощность и принимать трансляционные речевые сигналы других участников разговора с системной шины 6 и передавать. В таком состоянии снижается также и полное сопротивление на входе в потребителях, так как гиратор 54 перекрывается для всех нагрузок, которые имеются на шине EXTBUS.
В пассивном состоянии переключатель размыкает контакт. В этом случае шина EXTBUS получает меньшее напряжение с незначительной отдачей мощности через развязывающий диод 56 от выхода гиратора 54. Это напряжение служит затем только для питания других микроконтроллеров, находящихся внутри модуля (если необходимо, то, например, для оценки срабатывания кнопки). Полное сопротивление на входе в потребитель соответствует полному сопротивлению локального гиратора. Речевые сигналы больше не транслируются с системной шины 6.
Поступившие с системной шины 6 в виде сигналов данные проходят через имеющийся при необходимости видеофильтр 50 и выпрямитель 48 и попадают через устройство подготовки данных 58 (фильтр, усилитель, регулятор уровня) для обработки в микроконтроллер (DATAIN). Сигналы, содержащие данные, представляют собой, например, команду вызова дверного блока 2 с содержащимся адресом абонента. Устройство подключения шины 22 определяет этот адрес и при совпадении его с заранее запрограммированным адресом выдает тон вызова через шину CQMBUS. Шина CCMBUS также проведена к другим модулям через штекерный разъем.
Через шину COMBUS микроконтроллер устройства подключения шины 22 принимает, например, от кнопочного модуля команду привести в действие открыватель двери. Эту команду он транслирует при преобразовании уровня и формата через ступень передачи 60 (усилитель, фильтр, преобразователь уровня), выпрямитель 48 и, если таковой имеется, то через видеофильтр 50 на системную шину 6. Прежде всего он должен задействовать ступень передачи 60 через сигнал ENOUT. В результате отключения сопротивление на выходе ступени передачи высокое, вследствие чего на уровень сигнала на системной шине 6 в пассивном состоянии абонента нагрузка не поступает.
При активной речевой связи с другим шинным потребительским блоком включается шина AUDIOBUS, идущая от микроконтроллера через переключатель ENAUDIO на ступень передачи 60. Ступень передачи 60 находится в активном состоянии и передает речевые сигналы шины AUDIOBUS, поступившие со звуковоспринимающего модуля или аудиомодуля после регулировки уровня, на системную шину 6. Если речевые сигналы передаются только внутри потребителя, например, от речевого рекордера на аудио-модуль, то переключатель ENAUDIO размыкает контакт и отделяет шину AUDIOBUS от ступени передачи 60. Таким образом и во время внутренней передачи речевых сигналов сигналы с данными можно посылать без речевых сигналов через ступень передачи 60 на системную шину 6.
Рядом с выходом ступени передачи 60 находится местный рабочий резистор (соответствующий телефонной петле), который позволяет одновременную передачу сигналов для двух потребителей от ступени передачи 60, имекщей низкое сопротивление, на шину 6. В результате получающегося деления напряжения рабочего сопротивления на системной шине 6 затем создается полууровень.
Для соединения модульных компонентов шинного абонентского блока согласно описанию, приведенному выше, достаточно наличия предпочтительно четырехжильного кабеля. Устройство присоединения шины 22 имеет к тому же три устройства сопряжения (CN3, CN4, CN5 в соответствии с позицией 34 на фиг.2 и 4), к которым можно подключать другие модули.
В случае, если отдельные модули потребляют больше тока, который в больших установках нельзя больше взять из системной шины 6, возможно присоединение дополнительного источника питания (ZV-A, ZV-B). Большее потребление тока требуется, например, для кнопки вызова освещения. Устройство присоединения шины 22 имеет к тому же клемму CN2 с ZV-A и ZV-B, к которой подключается постоянное напряжение с любой полярностью. При этом в малых установках можно брать дополнительное питание от системной шины 6, присоединив шинный провод одновременно (дополнительно) к клеммам CN1 и CN2. Второй выпрямитель 62 снова делает возможным полярно-нейтральное соединение. Второй видеофильтр 64 устраняет видеосигналы на входе. Устройство присоединения шины 22 не требует дополнительного питания. Выходные провода ZV+ и ZV- выпрямителя 62 идут прямо к местам сопряжения устройства присоединения шины к другим подключенным модулям. В этом случае к четырем имеющимся до сих пор жилам внутренней шины 20 добавляют еще от 2 до 6 жил.
Имеется дополнительное устройство сопряжения CN6, когда через системную шину 6 передаются также видеосигналы. При этом системная шина 6 в устройстве присоединения шины 22 проведена прямо к этим устройствам сопряжения. В этих местах наряду с шестиполюсным устройством сопряжения проведен дополнительный кабель к видеомодулю (камера или дисплей). Устройство сопряжения необязательно должно быть выполнено отдельным. Его две жилы могут находиться в устройствах сопряжения CN3, CN4 и CN5, так что здесь получается восьмиполюсное устройство сопряжения. В представленном примере оно выполнено не так, так как имеется очень небольшое количество дверных переговорных устройств с передачей видеосигналов, имеется только один видеопередатчик/видеоприемник на одного абонента и массовое использование восьмиполюсного кабеля было бы очень дорого.
Аудиомодуль (эвуковоспринимающий/речевой модуль; фиг.6)
Для конструкции речевого устройства к внутренней шине 20 подключают модуль обработки речевых сигналов 28 или 30. Этот модуль представляет собой звуковоспринимающий блок 30, имеющий слуховую трубку 32 с речевым микрофоном, звуковоспринимающую капсулу и вызывной громкоговоритель, или речевое устройство-вставка 28, к которому должно быть подключено речевое устройство-насадка 33 (ср. фиг.4) с микрофоном и громкоговорителем. На блок-схеме показано, как используются сигналы внутренней шины 20.
Шина EXTBUS проходит прямо к первому регулятору напряжения 66, который регулирует напряжение питания микроконтроллера. Выходная мощность микроконтроллера очень незначительна и может отбираться из гиратора 54 в устройстве присоединения шины 22 (переключатель шины ENBUS выключен). Регулятор напряжения 66 имеет особую конструкцию, которая имеет на входе высокоомное сопротивление для чередующихся сигналов. Это необходимо для активного состояния (переключатель шины ENBUS в устройстве присоединения шины 22 включен), при котором регулятор 66 находится чуть ли не на самой системной шине 6.
Микроконтроллер связан шиной COMBUS с микроконтроллерами в устройстве присоединения шины 22 и в других модулях. От микроконтроллера устройства присоединения шины 22 он получает – например как это было описано выше – команду сформировать тон вызова. Для этого микроконтроллер включает через POWERON местный гиратор 68 с подключенным вторым регулятором напряжения 70. Из этого регулятора 70 выходит ток большой силы, необходимый для вызывного тока и последующего звукового выхода. Устройство присоединения шины 22 включает для этого – с целью подачи необходимого тока к регулятору 70 – через переключатель шины ENBUS системную шину 6 на EXTBUS.
Местный гиратор 68 (т.к. теперь гиратор 54 в устройстве присоединения шины 22 перемкнут) способствует тому, что коммутационный и питающий ток местных усилителей поступает не сразу на шину 6, а перед этим сглаживаются его пульсации.
Усилитель громкоговорителя и микрофона 72 питается от второго регулятора напряжения 70. Через VOLCON микроконтроллер устанавливает необходимую или заданную пользователем громкость вызова или речи и формирует через RUETON самостоятельную вызывную мелодию. Она подается в суммирующую точку 74, находящуюся перед усилителем громкоговорителя 72, усиливается с помощью усилителя громкоговорителя 72 и поступает через вызывной громкоговоритель в звуковоспринимающий или речевой модуль.
Если в случае с звуковоспринимающим модулем снять слуховую трубку 32, то на микроконтроллер поступает сообщение через не представленный здесь так называемый вильчатый переключатель. Он выключает вызывной громкоговоритель и снижает силу звука усилителя. При помощи переключателя шины ENEXTBUS шина EXTBUS переключается в соответствии с чередованием сигналов на суммирующую точку 74. Речевые сигналы, посланные с корреспондирующей станции на системную шину 6, настраиваются таким образом в усилителе громкоговорителя 72 на желаемую выходную громкость и передаются на активную теперь звуковоспринимающую капсулу в слуховой трубке или на громкоговоритель в речевом модуле.
Собственные речевые сигналы преобразуются от микрофона в слуховой трубке 32 или речевом устройстве-насадке 33 и поступают в усилитель микрофона 72, который передает их дальше по шине AUDIOBUS при включенном переключателе DISAUDIO в устройство присоединения шины 22, который их снова транслирует на системной шине 6 в корреспондирующую станцию. Для снижения силы звука самоформирующихся речевых сигналов в собственном громкоговорителе, которые возвращаются через шину EXTBUS в усилитель громкоговорителя 72, шина AUDIOBUS связана инвертно с суммирующей точкой 74 (подавление местного эффекта). В идеальном случае это приводит к исчезновению или по меньшей мере подавлению обратных речевых сигналов в громкоговорителе.
Если речь идет о речевом модуле (речевом устройстве), которое позволяет говорить без кнопки для полудуплексной связи, то блок громкоговоритель/усилитель микрофона 72 имеет дополнительно специальную переключающую схему (ИС). Она препятствует местной обратной связи контура “микрофон AUDIOBUS системная шина EXTBUS громкоговоритель” и отвечает за переключение направления разговора (речевое равновесие, двусторонняя связь).
Шина AUDIOBUS сама может также переключаться на суммирующую точку 74. Это необходимо, когда, например, нужно прослушать местный речевой рекордер через громкоговоритель звуковоспринимающего или речевого модуля. Для этого переключатель ENAUDIO включают, а переключатель DISAUDIO выключают.
Речевой рекордер имеет в принципе ту же конструкцию, что и звуковоспринимающий/речевой модуль. Он имеет, однако, ленту для звукозаписи или цифровую среду для записи голоса (ИС). Так как речевой рекордер посылает сигналы только на шину AUDIOBUS или принимает сигналы только от нее, переключатель ENEXTBUS не нужен. Также отпадает необходимость в подавлении местного эффекта, так как идет либо только передача (прослушивание), либо только прием (разговор). При передаче включен только переключатель DISAUDIO, при приеме включен только переключатель ENAUDIO.
Кнопочный модуль (кнопочная насадка; фиг.7)
Кнопочный модуль 26 позволяет посылать вызов от дверного блока 2 или внутренний вызов от квартирного блока 4 к другому блоку или реализовать определенные функции дверного или квартирного блока (прием вызова, кнопка открывателя дверей, свет, сила звука и т.д.). Этот модуль 26 также имеет регулятор напряжения 76 для местного микроконтроллера с высокоомным сопротивлением на входе для чередующихся сигналов, который питается от шины EXTBUS через гиратор 54 в устройстве присоединения шины 22.
Микроконтроллер оценивает срабатывание местных кнопок 10, 11 и посылает после их срабатывания кодированное сообщение через шину CCMBUS в микроконтроллер устройства присоединения шины 22 или другого модуля (например, установку силы звука в звукозаписывакщем модуле 30). Микроконтроллер включает или выключает возможно имеющиеся светодиоды состояния (например, показания режима/ поступления вызова или квиттирования).
Представленное далее на фиг.7 освещение вызывной кнопки является дополнительным и питается от дополнительного источника (ZV+, ZV-). Предвключенный источник тока 80 создает постоянный, независящий от напряжения шины ток, от которого питаются светодиоды. Таким образом яркость светодиодов при изменении напряжения в шине не меняется (например, при падении напряжения во время формирования вызывного тона).
Кнопочный базовый модуль (кнопочная вставка)
Кнопочный базовый модуль 24 (ср. фиг.2 и 4) не содержит электроники, а содержит только трансляцию сигналов внутренней шины 20 на три штекерных разъема (2 – для модуля-вставки, 1 – для модуля-насадки).
Видеомодули
Не представленные здесь видеомодули (камера и дисплей) также используют сигналы шин EXTBUS, GND и COMBUS. Шина AUDIOBUS не используется. Вместо нее имеется пара жил VIDEO-A и VIDEO-B (соответствует проводнику системной шины). Кроме этого, видеоустройство в виде вставки может получать свое напряжение питания. Прежде всего оно принимает или посылает видеосигналы. Оно передает их, в частности, в виде симметричного сигнала (двухтактного сигнала) на обе проводниковые жилы шины. Благодаря этому видеосигналы становятся нечувствительными к помехам от заземления системы, так как оба сигнала захватываются и при вычитании сигнала в приемном устройстве помехи затухают.
Прибор управления.
На фиг.8 представлена блок-схема прибора управления или блока питания от сети. Постоянное напряжение в шине (предпочтительно примерно 26V) формируется трансформатором 82 из сетевого напряжения 230V с дополнительным подключением выпрямителя 84 и регулятора напряжения 86. Гиратор 88, находящийся между регулятором 86 и системной шиной 6, увеличивает полное сопротивление на выходе регулятора 86 для чередующихся сигналов, таких как речь и данные. Их уровень вследствие незначительного полного сопротивления на выходе регулятора напряжения 86 очень сильно бы снизился. Но полное сопротивление на выходе для постоянного тока остается малым.
С помощью видеофильтра, здесь не представленного, на выходе можно устранить возможные высокочастотные видеосигналы на системной шине 6, поступающие от выхода гиратора 88, которые имеет в этом частотном диапазоне низкоомное сопротивление.
Дополнительно устройство управления 8 или блок питания от сети содержит в соответствии с устройством присоединения шины 22 микроконтроллер, имеющий здесь не представленную ступень подготовки данных и передающую ступень. Микроконтроллер при приеме специального кодированного сообщения, поступившего от квартирного блока (кнопка открывателя двери), настраивает реле 90 для открывателя двери. Открыватель двери питается от другой вторичной обмотки сетевого трансформатора.
Кроме этого, прибор управления 8 имеет дополнительно другие источники постоянного напряжения для подготовки дополнительного питания. Его получают из третьей вторичной обмотки, имеющей подключенный выпрямитель 92 и регулятор 94. В качестве альтернативы можно, однако, отбирать возможно необходимое дополнительное питание также из отдельного, не представленного здесь блока питания (без гиратора) (например, простой шинный источник питания).
Преимущества предпочтительного выполнения
– Любое расширение абонентского блока в отношении кнопочных модулей (вызывные кнопки). Каждая вызывная кнопка-насадка имеет собственный интеллект и не должна срабатывать или запрашиваться от устройства присоединения шины через индивидуальные сигнальные жилы. Выход из строя вызывной кнопки-насадки не приводит к выходу из строя всего абонентского блока;
– Любое расширение абонентского блока в отношении других модулей с обработкой или без обработки речевых сигналов (речевой рекордер или ручной переключатель); ограничено только отдачей мощности устройства присоединения шины;
– Необходима только одна ступень передачи на системной шине в устройстве присоединения шины;
– 2/4-Проводное преобразование в устройстве присоединения шины формирует два пути для принятых и посылаемых речевых сигналов и делает возможным присоединение других модулей, например речевого рекордера с отдельным входом и выходом для речевого сигнала;
– Механика: любая конструкция квартирного/дверного блока путем различной установки в ряд модулей друг над другом или рядом друг с другом, также в сочетании с другими компонентами электрической установки (переключатель, датчик системы оповещения…).
Альтернативное выполнение:
В одной из возможных конструкций нет шины AUDIOBUS. Посланные речевые сигналы поступают при этом от звуковоспринимающего/речевого модуля на шину EXTBUS и при речевой связи (переключатель шины ENBUS в устройстве присоединения шины включен) прямо на системную шину 6. Выгода заключается в уменьшении внутренней шины 20 на одну жилу. Здесь, однако, каждый модуль, обрабатывающий сигналы речи, такой как устройство присоединения шины, должен иметь собственную отключаемую ступень передачи с рабочим сопротивлением к шине EXTBUS. 2/4-проводное преобразование пути речевого сигнала происходит затем в звуковоспринимающем/речевом модуле.
Далее следует еще раз упомянуть, что в отношении системы домашней сигнализации, отойдя от конкретного описания выше, речь может идти также о так называемом устройстве “1+n”. При этом устройство присоединения шины 22 в каждом квартирном блоке 4 служит в качестве связующего звена между заявленной внутренней шиной 20 и внешней двухпроводной линией, причем дверной блок 2 имеет соответственно многожильное подключение (для каждого подключенного квартирного блока 4 один отдельный провод плюс общая заземляющая шина). Изобретение не ограничивается представленными и описанными примерами выполнения, а охватывает также в смысле изобретения равнодействующие формы выполнения. Кроме того изобретение не ограничивается также комбинацией признаков, определенных в п.1 формулы, а может быть охарактеризовано также с помощью любой другой комбинации всех раскрытых отдельных признаков. Это означает, что в принципе практически каждый отдельный признак п.1 формулы может быть исключен или заменен по меньшей мере одним отдельным признаком, раскрытым в другом месте заявки. В этом отношении п.1 формулы следует понимать лишь как первую попытку сформулировать изобретение.
Формула изобретения
1. Система домашней сигнализации по меньшей мере с одним дверным блоком (2) и по меньшей мере с одним квартирным блоком (4), причем по меньшей мере квартирный блок/каждый квартирный блок (4) подключен или выполнен с возможностью подключения при помощи двухпроводной цепи (6) для передачи сигналов управления и/или связи, отличающаяся тем, что по меньшей мере одна секция имеющихся дверного и/или квартирного блока (2, 4) выполнена модульной, причем каждый блок (2, 4), выполненный модульным, состоит по меньшей мере из двух модулей (М), которые соединены или выполнены с возможностью соединения между собой при помощи внутренней шины (20), причем один из модулей (М) образует устройство присоединения шины (22) в качестве связующего звена между внешней двухпроводной цепью (6) и внутренней шиной (20), а внутренняя шина (20) состоит по меньшей мере из трех проводников, а именно из одной заземляющей шины (GND), одной системной шины (EXTBUS), ведущей дальше вместе с заземляющей шиной (GND) наружную двухпроводную цепь (6), а также из шины для передачи данных (CQMBUS), служащей вместе с заземляющей шиной (GND) для связи между микроконтроллерами ^С) отдельных модулей (М).
2. Система по п.1, отличающаяся тем, что внутренняя шина (20) имеет в качестве четвертого проводника аудиосигнальную шину (AUDIOBUS), относящуюся к заземляющей шине (GND).
3. Система по п.1 или 2, отличающаяся тем, что внутренняя шина (20) имеет два дополнительных проводника (ZV+/-) для дополнительного питания напряжением.
4. Система по п.1, отличающаяся тем, что внутренняя шина (20) имеет два дополнительных проводника (VIDEO-A/B) для передачи видеосигналов.
5. Система по п.1, отличающаяся тем, что в качестве модулей для каждого блока (2, 4) предусмотрено устройство присоединения шины (22), а также по меньшей мере один кнопочный модуль (26) по меньшей мере с одной электрической переключающей кнопкой (10/11), и/или по меньшей мере один кнопочный базовый модуль (24), и/или по меньшей мере один аудиомодуль (28) с речевой функцией, и/или по меньшей мере один звуковоспринимающий модуль (30) для подключения телефонной трубки (32), и/или по меньшей мере один видеомодуль с камерой и/или дисплеем, и/или по меньшей мере один модуль в виде речевого рекордера для акустической индикации, и/или по меньшей мере один модуль в виде отображающего рекордера для изобразительной индикации.
6. Система по п.1 отличается выполнением в виде двухпроводной шинной системы, причем все блоки (2, 4) связаны при помощи общей двухпроводной цепи, образующей системную шину (6).
7. Система по п.1 отличается выполнением в виде так называемого устройства “1+n”, причем все блоки (2, 4) связаны при помощи общей заземляющей шины, а каждый квартирный блок (4) связан с дверным блоком (2) при помощи отдельного проводника.
РИСУНКИ
|