|
|
(21), (22) Заявка: 2004139118/09, 22.05.2003
(24) Дата начала отсчета срока действия патента:
22.05.2003
(30) Конвенционный приоритет:
31.05.2002 (пп.1-15) US 10/159,718
(43) Дата публикации заявки: 27.05.2005
(46) Опубликовано: 27.05.2008
(56) Список документов, цитированных в отчете о поиске:
WO 0031925 A1, 02.06.2000. RU 13524 U1, 20.04.2000. WO 9713344 А1, 10.04.1997. GB 2133952 А, 01.08.1984.
(85) Дата перевода заявки PCT на национальную фазу:
31.12.2004
(86) Заявка PCT:
IB 03/02242 (22.05.2003)
(87) Публикация PCT:
WO 03/103223 (11.12.2003)
Адрес для переписки:
129010, Москва, ул. Б. Спасская, 25, стр.3, ООО “Юридическая фирма Городисский и Партнеры”, пат.пов. Ю.Д.Кузнецову, рег.№ 595
|
(72) Автор(ы):
СИММОНС Ян М. (GB), ВУЛГЭР Дэвид Дж. (GB), АЙГЕЛЬДИНГЕР Норберт (DE), ЦВИНГ Райнер Г. (DE), ВОЛФ Пол Д. (US)
(73) Патентообладатель(и):
КОНИНКЛЕЙКЕ ФИЛИПС ЭЛЕКТРОНИКС Н.В. (NL), ТОМСОН ЛАЙСЕНСИНГ С.А. (GB), СИЛИКОН ИМЭДЖ, ИНК. (GB)
|
(54) ОПРЕДЕЛЕНИЕ И КОНФИГУРИРОВАНИЕ ПУТИ ПЕРЕДАЧИ ДАННЫХ В СЕТИ
(57) Реферат:
Изобретение относится к области сетей передачи данных. Технический результат заключается в оптимизации нагрузки трафика. Сущность изобретения заключается в том, что сеть связи (600) содержит главный узел (602) и один или несколько подчиненных узлов (614, 618, 622), связанных друг с другом с использованием однонаправленных каналов (610, 628, 634) передачи данных. Главный узел (602) обеспечивает доступность данных для следующих узлов, и подчиненный узел (622) считывает данные с предшествующего узла (618), причем считанные данные содержат информацию пути от главного узла к подчиненному узлу. Раскрыт также способ конфигурирования пути посредством отправки данных с подчиненного узла (622) на все узлы на пути через двунаправленные каналы (628, 612, 632) передачи данных между узлами. Согласно предпочтительному варианту осуществления, домашняя развлекательная система (600), в которой применяется HDMI, является подходящей сетью и содержит компонент представления, например, телевизор (602), способный функционировать как главный узел; причем узлы сети соединены друг с другом кабелями (608, 624, 616) HDMI. Спецификация HDMI содержит шину DDC для поддержки вышеупомянутых однонаправленных каналов (610, 628, 634) передачи данных и шину СЕС для поддержки вышеупомянутых двунаправленных каналов (628, 612, 632) передачи данных. 7 н. и 8 з.п. ф-лы, 6 ил.
Настоящее изобретение относится к сети связи и, в частности, к способам определения и конфигурирования пути, пролегающего в сети домашних развлекательных компонентов.
Сети привлекательны тем, что позволяют совместно использовать ресурсы, подключенные к сети, между другими узлами сети. Это справедливо не только для рынка ИТ (информационных технологий), но также для бытовой электроники (БЭ), где, например, телевизор обычно совместно используется (путем включения в сеть или «кластеризации» с несколькими компонентами, например проигрывателем DVD, телевизионной приставкой, видеомагнитофоном ВМ, каждый из которых способен обеспечивать содержимое, представляемое посредством телевизора.
В сетях, используемых в ИТ, обычно применяются схемы управления маршрутизацией в целях оптимизации длин, времен путей и/или преодоления сбоев узла/соединения. На рынке бытовой электроники (БЭ) основной задачей является минимизация стоимости реализации, и решения, используемые для ИТ, могут быть слишком универсальными и дорогостоящими, из-за чего обычно не применяются. В кластере (сети) БЭ требуется средство, позволяющее подключать или отключать компонент к/от сети особым образом (т.н. «горячая коммутация») и легко идентифицировать путь сигнала от компонента к главному узлу, каковым обычно является устройство представления, например телевизор.
Для определения топологии сети, содержащей набор соединенных между собой узлов, основное требование состоит в идентификации узлов и соединений между узлами с последующим распространением этой информации. Некоторые способы предусматривают двунаправленную связь между узлами, благодаря которой узлы могут обнаруживать своих соседей и, таким образом, способствовать определению топологии сети. В международной заявке WO 00/31925, права на которую принадлежат Net Insight, раскрыт способ определения топологии сети, узлы которой связаны между собой посредством однонаправленных соединений. Привлекательность такого подхода заключается в снижении стоимости реализации по сравнению со схемами, где используются двунаправленные соединения.
Способ согласно WO 00/31925 раскрывает процесс выявления топологии, который предусматривает определение наличия одного или нескольких контуров в сети узлов, где узел передает сообщение выявления топологии, вариант которого он затем принимает (в результате передачи через один или несколько промежуточных узлов). На основании этой обратной связи узел может сделать вывод о наличии пути от себя к любому из идентифицированной совокупности промежуточных узлов. Однако недостатком этого способа является то, что узел-отправитель должен принимать сообщение обратной связи для определения наличия пути и всех узлов на нем. Еще один недостаток состоит в том, что узел-отправитель должен затем распространить эту информацию на эти узлы на пути, чтобы способствовать любому последующему установлению пути. Еще один недостаток состоит в том, что, если при распространении используются однонаправленные соединения, то это приводит к дополнительной служебной нагрузке передачи сообщений. Кроме того, в случае разрыва однонаправленного соединения в каком-либо месте пути (например, вследствие горячей коммутации компонента) может исчезнуть возможность связи со всеми узлами на пути и их оповещения.
Способ согласно WO 00/31925 также раскрывает способ автоматического обнаружения разрыва на ранее определенном пути, с помощью узла, передающего регулярные сообщения проверки для прохождения обнаруженного пути; наличие разрыва определяется, если узлу не удается принять сообщение проверки по истечении определенного периода времени. Недостатки этого способа состоят в том, что служебная нагрузка трафика сообщений возрастает, и не удается установить, в каком месте пути произошел разрыв.
Задачей настоящего изобретения является решение этих и других проблем с использованием способов определения топологии домашней развлекательной системы и конфигурирования пути между компонентами этой системы.
Настоящее изобретение предусматривает способ определения топологии сети, содержащей главный узел и, по меньшей мере, один подчиненный узел, связанные друг с другом посредством однонаправленных каналов передачи данных, причем главный узел способен подключаться через первый порт к первому непосредственно следующему подчиненному узлу и обеспечивать доступность данных для считывания первым непосредственно следующим подчиненным узлом, причем данные адаптированы в зависимости от идентификационной информации первого порта, способ содержит этапы, на которых подчиненный узел, способный подключаться через второй порт ко второму непосредственно следующему узлу:
а) считывает данные из непосредственно предшествующего узла,
b) адаптирует данные в зависимости от идентификационной информации второго порта, и
с) обеспечивает доступность адаптированных данных для считывания вторым непосредственно следующим узлом так,
что позволяет следующему узлу сети определять, на основании адаптированных данных, путь от предшествующего узла сети до подчиненного узла включительно.
Сети, в которых можно реализовать способ, отвечающий настоящему изобретению, включают в себя сети, содержащие главный узел и один или несколько подчиненных узлов. Подходящие сетевые топологии включают в себя, но без ограничения, звезду (с концентратором в качестве главного узла), дерево и ветвь (с корнем в качестве главного узла), кольцо и комбинации дерева и звезды; причем сеть предусматривает одностороннюю связь от главного узла к подчиненному узлу (в том числе через промежуточные подчиненные узлы).
Подчиненный узел считывает данные с непосредственно предшествующего узла. Подчиненный узел может иметь один или несколько непосредственно предшествующих узлов. Считываемые данные могут включать в себя идентификационную информацию соединения между подчиненным узлом и непосредственно предшествующим узлом; кроме того, может также обеспечиваться идентификационная информация непосредственно предшествующего узла. Предпочтительно для минимизации данных, когда подчиненный узел имеет только один непосредственно предшествующий узел, данные могут содержать идентификационную информацию выходного порта непосредственно предшествующего узла, и этого достаточно для идентификации соединения. В общем случае данные могут содержать упорядоченный набор идентификационной информации выходных портов, соответствующий всем узлам на пути, по которому проходят данные, поступающие на подчиненный узел. Затем подчиненный узел адаптирует данные для каждого выходного порта, который может подключаться к непосредственно следующему узлу, посредством присоединения к данным (упорядоченному набору идентификационной информации выходных портов) идентификационной информации соответствующего выходного порта и обеспечения доступности адаптированных данных для считывания непосредственно следующим узлом через соответствующий порт подчиненного узла.
Преимущество настоящего изобретения состоит в том, что подчиненный узел, присутствующий в подходящей сети, выявляет информацию топологии посредством опроса (считывания) непосредственно предшествующего узла. Согласно описанному выше и в нормальном режиме использования считываемая информация содержит данные, описывающие весь путь между главным узлом и подчиненным узлом. Однако в отличие от способов, отвечающих уровню техники, непосредственно предшествующий узел не передает информацию на подчиненный узел, но опирается (полагается) на запрашиваемую информацию; таким образом, благодаря этому механизму подчиненный узел может определить, что он не способен считывать с непосредственно предшествующего узла, и это позволяет подчиненному узлу прийти к выводу, что непосредственно предшествующий узел не подключен и/или что существует проблема соединения между непосредственно предшествующим узлом и подчиненным узлом. Он может пересылать эту информацию для использования другими узлами сети. Когда подчиненный узел обнаруживает такую проблему соединения, он может заменить данные, которые не может считать данными, которым присвоено по умолчанию пустое (null) значение. Затем это значение можно обычным способом распространить на узлы, следующие за подчиненным узлом. Считав данные, содержащие пустое значение, следующий узел может определить наличие разрыва и его местонахождение. В случае, когда этот узел в данный момент активен в системе (например, передает поток аудио-видео-содержимого на главный узел), узел может иметь возможность сигнализировать другим узлам сети о наличии и местонахождении разрыва; другие узлы, в свою очередь, имеют возможность переконфигурировать путь, чтобы восстановить соединение с главным узлом и тем самым продолжить обслуживание с минимальным прерыванием и/или участием пользователя. В любом случае пользователя можно информировать о местонахождении разрыва. Этот механизм дополнительно рассмотрен ниже.
Еще один аспект настоящего изобретения предусматривает способ конфигурирования пути между главным узлом и подчиненным узлом сети, причем топология узлов в сети ранее определена, способ содержит этапы, на которых подчиненный узел:
а) считывает данные с непосредственно предшествующего узла,
b) отправляет данные на, по меньшей мере, каждый узел по пути, определенному этими данными,
и каждый такой узел вдоль пути
а) принимает данные и
b) конфигурирует часть пути в зависимости от данных.
Согласно некоторым способам, отвечающим уровню техники, подчиненный узел просто пересылает данные, считанные с непосредственно предшествующего узла, на главный узел, чтобы конфигурировать путь, определяемый данными, а затем пересылает данные на каждый узел на пути. Такие способы опираются на целостность пути. Подчиненный узел, согласно настоящему изобретению, может считывать данные с непосредственно предшествующего узла, а затем может отправлять данные непосредственно на каждый узел на пути, определяемом данными. Для достижения непосредственного соединения с узлами на пути можно использовать различные схемы соединения, в том числе, но без ограничения, для проводной связи, project50, IEEE1394 и Ethernet, а для беспроводной связи – ZigBee, HomeRF, WiFi, 802.11, инфракрасное дистанционное управление (включая RC5/6, импульсную позицию) и IrDA. Все эти схемы хорошо известны специалистам в данной области и в дальнейшем не будут рассматриваться. Для непосредственного соединения с узлами на пути предпочтительно использовать шину CEC по спецификации HDMI. Преимущество способа непосредственного соединения состоит в том, что для пересылки информации конфигурации однонаправленные соединения между узлами не используются, что упрощает способ благодаря тому, что применение однонаправленных соединений между узлами ограничивается задачей обнаружения топологии.
Вышеозначенный способ конфигурирования пути можно применять после использования вышеописанного способа определения топологии узлов; это дает преимущество в повышении возможности обработки разрывов на пути. При конфигурировании пути, узел на пути принимает данные от подчиненного узла и конфигурирует часть пути в зависимости от этих данных. Например, в нормальном режиме работы, когда данные описывают путь от главного узла к подчиненному узлу, принимающий узел может переключать свои соответствующие входные и выходные порты в соответствии с принятыми данными. Альтернативно, когда данные свидетельствуют о разрыве на пути, узел, принимающий данные, может конфигурировать самого себя иначе, чтобы совместно с другими узлами способствовать установлению нового пути между главным узлом и подчиненными узлами в обход разрыва. Например, узел, следующий за разрывом, может иметь доступ к альтернативному пути, ведущему к главному узлу, и может обеспечивать доступные данные в соответствии с этим альтернативным путем на своих выходных портах. Последующие узлы, лежащие на оставшейся нетронутой части первоначального пути к подчиненному узлу, могут повторно считать данные с предшествующих узлов и, таким образом, предоставить на подчиненный узел данные нового нетронутого пути к главному узлу. Чтобы задействовать новый путь, подчиненный узел отправляет данные на узлы нового пути обычным образом, как описано выше. Таким образом, можно повторно установить путь между главным узлом и подчиненным узлом. Предпочтительно подчиненный узел отправляет данные, считанные с предшествующего узла, на все остальные узлы сети.
Еще один аспект настоящего изобретения предусматривает сеть, содержащую главный узел и, по меньшей мере, один подчиненный узел, связанные между собой однонаправленными каналами передачи данных, благодаря чему поток данных осуществляется в направлении от главного узла к, по меньшей мере, одному подчиненному узлу, причем узел обеспечивает на выходном порте данные, доступные для считывания непосредственно следующим узлом, причем данные адаптированы в зависимости от идентификационной информации выходного порта, так что, когда подчиненный узел считывает данные с непосредственно предшествующего узла, упомянутые данные содержат идентификационную информацию выходного порта непосредственно предшествующего узла.
Применительно к бытовой электронике подходящая система согласно настоящему изобретению может содержать компонент представления, играющий роль главного узла, например, но без ограничения, дисплей, аудио-усилитель или телевизор. Подчиненные узлы могут быть подключены к главному узлу непосредственно или через один или несколько промежуточных подчиненных узлов. Примеры подчиненных узлов включают в себя, но без ограничения, телевизионную приставку, проигрыватель DVD, устройство записи DVD, ВМ, записывающие видеокамеры, кассетный аудиомагнитофон и проигрыватель CD. Предпочтительно однонаправленные каналы передачи данных соответствуют шине DDC, заданной в спецификации HDMI. Узлы системы могут дополнительно соединяться между собой через общую двунаправленную линию связи. Эта линия связи может быть проводной, беспроводной или комбинированной. Подходящие примеры включают в себя, но без ограничения, для проводной связи, project50, IEEE1394 и Ethernet, а для беспроводной связи – ZigBee, HomeRF, WiFi, 802.11, инфракрасное дистанционное управление (включая RC5/6, импульсная позиция) и IrDA. Предпочтительно общая двунаправленная линия связи соответствует шине CEC, заданной в спецификации HDMI.
Главный узел может содержать первый порт для соединения с непосредственно следующим узлом, процессор данных для обеспечения доступных данных в зависимости от первого порта для считывания непосредственно следующим узлом и второй порт для приема данных от подчиненного узла сети. Предпочтительно главный узел подключен к сети с использованием HDMI, причем первый и второй порты сопряжены, соответственно, с шиной DDC и шиной CEC HDMI.
Подчиненный узел может содержать первый порт, предназначенный для соединения с непосредственно предшествующим узлом, второй порт, предназначенный для соединения с непосредственно следующим узлом, и процессор данных, способный считывать данные из непосредственно предшествующего узла через первый порт, адаптировать эти данные в зависимости от идентификационной информации второго порта и обеспечивать доступность адаптированных данных для считывания непосредственно следующим узлом. Подчиненный узел может также содержать третий порт для обмена данными с еще одним узлом сети. Предпочтительно подчиненный узел подключен к сети с использованием HDMI, причем первый порт и второй порт сопряжены с шиной DDC HDMI, а третий порт сопряжен с шиной CEC HDMI.
Дополнительные признаки и преимущества описаны ниже, исключительно в иллюстративных целях, со ссылкой на прилагаемые чертежи, где:
фиг.1 – блок-схема операций первого способа, отвечающего изобретению;
фиг.2 – блок-схема операций второго способа, отвечающего изобретению;
фиг.3 – схема первой сети, отвечающей изобретению;
фиг.4 – блок-схема подчиненного узла сети, отвечающего изобретению;
фиг.5 – схема второй сети, отвечающей изобретению;
фиг.6 – блок-схема системы домашних развлекательных компонентов, отвечающей изобретению.
В данном описании термин «узел» означает элемент сети. Термин ‘HDMI’ относится к всплывающему «мультимедийному интерфейсу высокой четкости» и любым его производным. В отношении подчиненного узла термин «непосредственно предшествующий узел» означает узел, подключенный к узловому входу подчиненного узла, причем «предшествующий узел» подключен к соответствующему узловому входу непосредственно предшествующего узла (возможно через один или несколько промежуточных узлов); аналогично термин «непосредственно следующий узел» относится к узлу, подключенному к узловому выходу подчиненного узла, причем «следующий узел» подключен к соответствующему узловому выходу непосредственно следующего узла (возможно, через один или несколько промежуточных узлов).
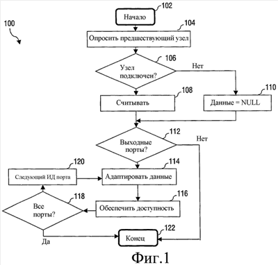
На фиг.1 показана блок-схема последовательности операций первого способа согласно изобретению, который обозначен в целом позицией 100. Способ применяется подчиненным узлом сети и начинается с этапа 102. Подчиненный узел опрашивает 104 непосредственно предшествующий узел. В зависимости от успеха или неудачи опроса подчиненный узел может определять на этапе 106, подключен ли непосредственно предшествующий узел (или соединение с узлом может быть разорвано). В случае удачного опроса подчиненный узел считывает 108 данные с непосредственно предшествующего узла; в случае неудачного опроса подчиненный узел загружает 110 значение NULL для замены отсутствующих считанных данных. На этапе 112 подчиненный узел проверяет свои выходные порты и для каждого порта адаптирует 114 считанные данные (или данные NULL), например, присоединяя соответствующий идентификатор (ИД) порта, и обеспечивает доступность 116 адаптированных данных для считывания (непосредственно следующим узлом) на соответствующем порте. Затем он проверяет 118 все ли выходные порты были обработаны, и, если нет, переходит к обработке 120 следующего ИД порта. Способ оканчивается этапом 122.
На фиг.2 показана блок-схема последовательности операций второго способа, отвечающего изобретению, который в целом обозначен позицией 200. Способ относится к конфигурированию ранее идентифицированного пути между главным узлом и подчиненным узлом. Способ начинается с этапа 203, и на этапе 204 подчиненный узел считывает данные с непосредственно следующего узла. Затем подчиненный узел отправляет 206 эти данные на, по меньшей мере, все остальные узлы на пути (идентифицированного данными) между главным узлом и подчиненным узлом. Узел на пути принимает 208 данные и осуществляет конфигурирование 210 части пути в зависимости от данных. Способ оканчивается этапом 212.
На фиг.3 схематически представлена первая сеть, согласно изобретению. Сеть обозначена в целом позицией 300 и содержит главный узел 302, связанный однонаправленными соединениями с 312 и 314 с подчиненными узлами 304 и 306 соответственно. Подчиненный узел 304 дополнительно связан однонаправленными соединениями 316 и 318 с подчиненными узлами 308 и 310 соответственно. На схеме показан общий поток данных от главного узла.
На фиг.4 схематически представлен подчиненный узел сети согласно изобретению. Подчиненный узел обозначен в целом позицией 400 и содержит первый порт 402 для соединения с непосредственно предшествующим узлом, блок обработки данных (содержащий ЦП 404, программное ПЗУ 406, ОЗУ 408, связанные между собой посредством шины 412, как известно специалистам в данной области), хранилище 410, второй порт 414 для соединения с непосредственно следующим узлом и третий порт 416 для обмена данными с другими узлами сети. В ходе работы блок обработки данных считывает данные с непосредственно предшествующего узла через первый порт, сохраняет данные в хранилище 410, адаптирует и сохраняет 410 адаптированные данные и обеспечивает доступность адаптированных данных для считывания непосредственно следующим узлом через второй порт. По мере необходимости блок обработки данных отправляет считанные данные на другие узлы сети через третий порт.
На фиг.5 схематически представлена вторая сеть, воплощающая изобретение, обозначенная в целом позицией 500. Сеть имеет древовидную топологию и содержит главный узел 502, подчиненный узел а 514, подчиненный узел b 512, подчиненный узел с 520 и подчиненный узел Х 528. Подчиненный узел a 514 считывает данные 508 с главного узла 502, причем данные 508 содержат параметр «2», соответствующий ИД порта №2 504 главного узла 502. Аналогично подчиненный узел b 512 считывает данные 510 с главного узла 502, причем данные 510 содержат параметр «1», соответствующий ИД порта №1 506 главного узла 502. Подчиненный узел 520 считывает данные 518 с подчиненного узла 514, причем данные 518 содержат параметр «2.1», соответствующий данным 508, адаптированным согласно ИД порта №1 516 подчиненного узла 514. Аналогично подчиненный узел Х 528 считывает данные 526 с подчиненного узла с 520, причем данные 526 содержат параметр «2.1.1», соответствующий данным 518, адаптированным согласно ИД порта №1 530, и обеспечивает доступность этих адаптированных данных для любого подчиненного узла, который может подключиться к порту №1 530 подчиненного узла Х 528; аналогично подчиненный узел с 520 адаптирует данные 518 для порта № 2 524.
Если подчиненный узел Х хочет сконфигурировать путь к главному узлу, он просто отправляет параметр “2.1.1” на, по меньшей мере, главный узел 502, подчиненный узел а 514 и подчиненный узел с 520. Каждый из этих узлов принимает параметр и может конфигурировать свою часть пути, просто декодируя и действуя на соответствующей части параметра. Например, главный узел распознает самую левую цифру и, соответственно, выбирает свой порт №2 504. Аналогичным образом подчиненный узел а 514 распознает комбинацию самой левой и средней цифр (т.е. 2.1) как относящуюся к нему, поскольку она содержит принятые данные 508, адаптированные согласно его выходному порту №1; таким образом, он, соответственно, выбирает свой порт №1 516. Наконец, подчиненный узел с 520 распознает комбинацию всех цифр (т.е. 2.1.1) как относящуюся к нему, и, соответственно, выбирает свой порт №1 522.
На фиг.6 схематически представлена система домашних развлекательных компонентов, отвечающая изобретению. Система в целом обозначена позицией 600 и содержит телевизор 602, проигрыватель DVD 618, телевизионную приставку (ПР) 614 и ВМ 622. Компоненты связаны между собой кабелями 608, 616 и 624. Телевизор 602 является главным узлом, а остальные компоненты выступают в роли подчиненных узлов. Телевизор обеспечивает доступность данных, в зависимости от ИД своих портов, для считывания на своих выходных портах 604 и 606, соответственно. Данные, доступные на телевизионном порте №2 604, считываются DVD-проигрывателем 618 с использованием линии DDC 610 в кабеле 608 HDMI. Данные, считываемые DVD-проигрывателем 618, имеют значение параметра «2», соответствующее порту №2 главного узла (что рассматривалось выше в отношении фиг.5). (Аналогично данные, доступные на телевизионном порте №1 606, считываются ПР 614 через кабель 616 HDMI.) ВМ 622 считывает данные с DVD-поигрывателя 618 с использованием линии DDC 626 кабеля 624 HDMI; считываемые данные имеют значение параметра «2.1» 630, соответствующее данным, считываемым DVD-проигрывателем и адаптированным согласно порту №1 DVD-проигрывателя. Чтобы задать путь к телевизору 602, ВМ 622 просто вещает параметр «2.1» 630 на телевизор 602 и DVD-проигрыватель 618 с использованием шины СЕС (628, 612, 632 кабелей 624, 608 и 616 HDMI, соответственно). Телевизор и DVD-проигрыватель конфигурируют свои входные и выходные порты согласно параметру «2.1» принятых данных, как описано выше.
Вышеописанные реализации и способы представлены исключительно в иллюстративных целях и представляют выбор из диапазона реализаций, которые особенно ярко выражают специалисту в данной области преимущества настоящего изобретения.
В вышеприведенном описании и со ссылкой на фиг.6 раскрыт способ определения топологии сети 600, содержащей главный узел 602 и один или несколько подчиненных узлов 614, 618, 622, связанных друг с другом с использованием однонаправленных каналов 610, 628, 634 передачи данных. Главный узел 602 обеспечивает доступные данные для следующих узлов, и подчиненный узел 622 считывает данные с предшествующего узла 618, причем считанные данные содержат информацию о пути от главного узла к подчиненному узлу. Кроме того, раскрыт способ конфигурирования пути посредством отправки данных с подчиненного узла 622 на все узлы на пути по двунаправленным каналам 628, 612, 632 передачи данных между узлами. Согласно предпочтительному варианту осуществления домашняя развлекательная система 600, в которой применяется HDMI, представляет собой подходящую сеть и содержит компонент представления, например телевизор 602, способный функционировать как главный узел; узлы сети соединены между собой кабелями 608, 624, 616 HDMI. Спецификация HDMI содержит шину DDC для поддержки вышеупомянутых однонаправленных каналов 610, 628, 634 передачи данных и шину CEC для поддержки вышеупомянутых двунаправленных каналов 628, 612, 632 передачи данных.
Формула изобретения
1. Способ определения топологии сети, содержащей главный узел и, по меньшей мере, один подчиненный узел, связанные друг с другом посредством однонаправленных каналов передачи данных, причем главный узел способен подключаться через первый порт к первому непосредственно следующему подчиненному узлу и обеспечивать доступность данных для считывания упомянутым первым непосредственно следующим подчиненным узлом, причем данные адаптированы в зависимости от идентификационной информации первого порта, при этом способ содержит этапы, на которых подчиненный узел, способный подключаться через второй порт ко второму непосредственно следующему узлу:
a) считывает (108) данные из непосредственно предшествующего узла,
b) адаптирует (114) данные в зависимости от идентификационной информации второго порта, и
c) обеспечивает (116) доступность адаптированных данных для считывания вторым непосредственно следующим узлом,
так что позволяет следующему узлу сети определять, на основании адаптированных данных, путь от предшествующего узла сети до подчиненного узла включительно.
2. Способ по п.1, отличающийся тем, что в случае, когда подчиненный узел не соединен с непосредственно предшествующим узлом вместо этапа а) осуществляется этап
b) присваивания данным пустого (null) значения, заданного по умолчанию.
3. Способ конфигурирования пути между главным узлом и подчиненным узлом сети, причем топология узлов в сети ранее определена, способ содержит этапы, на которых подчиненный узел
a) считывает (204) данные с непосредственно предшествующего узла,
b) отправляет (206) данные на, по меньшей мере, каждый узел вдоль пути, определенного этими данными, и каждый такой узел вдоль пути
a) принимает (208) данные и
b) конфигурирует (210) часть пути в зависимости от данных.
4. Способ по п.3, отличающийся тем, что топология узлов сети ранее определена способом по п.1.
5. Сеть связи, содержащая узлы, в том числе главный узел (302) и, подчиненные узлы (304, 306, 308, 310), причем подчиненные узлы непосредственно или опосредованно взаимосвязаны с главным узлом однонаправленными каналами (312, 314, 316, 318) передачи данных, благодаря чему поток данных осуществляется в направлении от главного узла к одному из подчиненных узлов, причем узел обеспечивает на выходном порте данные, доступные для считывания непосредственно следующим одним из подчиненных узлов, причем данные адаптированы в зависимости от идентификационной информации выходного порта, так что, когда один из подчиненных узлов считывает данные с непосредственно предшествующего одного из узлов, причем данные содержат идентификационную информацию выходного порта непосредственно предшествующего одного из узлов.
6. Сеть по п.5, отличающаяся тем, что однонаправленные соединения соответствуют шине DDC, определенной в спецификации HDMI.
7. Сеть по п.5, отличающаяся тем, что все узлы дополнительно связаны между собой общей двунаправленной линией связи.
8. Сеть по п.7, отличающаяся тем, что общая двунаправленная линия связи соответствует шине СЕС, определенной в спецификации HDMI.
9. Домашняя развлекательная система, сконфигурированная как сеть по п.6 и содержащая компонент представления, способный функционировать как главный узел.
10. Домашняя развлекательная система, сконфигурированная как сеть по п.9 и содержащая компонент представления, способный функционировать как главный узел.
11. Главный узел в сети по п.5, причем главный узел содержит первый порт, предназначенный для соединения с непосредственно следующим узлом, процессор данных, способный обеспечивать доступность данных в зависимости от первого порта для считывания непосредственно следующим узлом, и второй порт, предназначенный для считывания данных с подчиненного узла сети.
12. Главный узел по п.11, отличающийся тем, что первый порт предназначен для сопряжения с шиной DDC по спецификации HDMI, и второй порт предназначен для сопряжения с шиной СЕС по спецификации HDMI.
13. Подчиненный узел в сети по п.5, причем подчиненный узел содержит первый порт, предназначенный для соединения с непосредственно предшествующим узлом, второй порт, предназначенный для соединения с непосредственно следующим узлом, и процессор данных, способный считывать данные с непосредственно предшествующего узла через первый порт, адаптировать данные в зависимости от идентификационной информации второго порта и обеспечивать доступность адаптированных данных для считывания непосредственно следующим узлом.
14. Подчиненный узел по п.13, отличающийся тем, что дополнительно содержит третий порт, предназначенный для обмена данными с еще одним узлом сети.
15. Подчиненный узел по п.14, отличающийся тем, что первый порт и второй порт предназначены для сопряжения с шиной DDC по спецификации HDMI, и третий порт предназначен для сопряжения с шиной СЕС по спецификации HDMI.
РИСУНКИ
|
|