|
|
(21), (22) Заявка: 2005122920/09, 05.12.2003
(24) Дата начала отсчета срока действия патента:
05.12.2003
(30) Конвенционный приоритет:
20.12.2002 DE 10261838.0
(43) Дата публикации заявки: 27.02.2006
(46) Опубликовано: 27.05.2008
(56) Список документов, цитированных в отчете о поиске:
DE 1191458 В, 22.04.1965. SU 543068 А1, 09.03.1977. SU 1649620 А1, 15.05.1991. DE 4328241 А, 23.02.1995.
(85) Дата перевода заявки PCT на национальную фазу:
20.07.2005
(86) Заявка PCT:
DE 03/04090 (05.12.2003)
(87) Публикация PCT:
WO 2004/057718 (08.07.2004)
Адрес для переписки:
129010, Москва, ул. Б. Спасская, 25, стр.3, ООО “Юридическая фирма Городисский и Партнеры”, пат.пов. Ю.Д.Кузнецову, рег.№ 595
|
(72) Автор(ы):
ЗОРГАЛЛА Майк (DE), ЦИКМАНТЕЛЬ Матиас (DE)
(73) Патентообладатель(и):
СИМЕНС АКЦИЕНГЕЗЕЛЛЬШАФТ (DE)
|
(54) УСТРОЙСТВО ДЛЯ ЗАЩИТЫ ОТ АВАРИЙНОЙ ЭЛЕКТРИЧЕСКОЙ ДУГИ СИСТЕМЫ СБОРНЫХ ШИН
(57) Реферат:
Изобретение относится к устройству для защиты от аварийной электрической дуги системы сборных шин, которая содержит по крайней мере первую и вторую сборные шины с по крайней мере закрепленным на первой сборной шине первым электродом аварийной электрической дуги и закрепленным на второй сборной шине вторым электродом аварийной электрической дуги, причем первая кромка первого электрода аварийной электрической дуги противостоит второй кромке второго электрода аварийной электрической дуги так, что возникающая при коротком замыкании первой и второй токопроводящей шины электрическая дуга горит между первой и второй кромками. Чтобы в основном избежать обгорания сборных шин, предусмотрено, что ширина в свету между кромками электрода аварийной электрической дуги является меньше, чем ширина в свету между сборными шинами, причем первый и второй электроды аварийной дуги в области первой и второй кромки соответственно выполнены двухслойными, в частности, посредством фальцовки. Изобретение позволяет избежать обгорания сборных шин. 15 з.п. ф-лы, 10 ил.
Изобретение относится к устройству для защиты от аварийной электрической дуги системы сборных шин, которая содержит по крайней мере первую и вторую сборные шины, с по крайней мере закрепленным на первой сборной шине первым электродом аварийной электрической дуги и вторым закрепленным на второй сборной шине электродом аварийной электрической дуги, причем первая кромка первого электрода аварийной электрической дуги противостоит второй кромке второго электрода аварийной электрической дуги таким образом, что электрическая дуга, возникающая при коротком замыкании первой и второй токопроводящих шин, горит между первой и второй кромками.
Подобное устройство для защиты от аварийной электрической дуги системы сборных шин является известным, например, из публикации DE-1191458. В этом известном устройстве электроды аварийной электрической дуги выполнены в виде разрядных рогов, имеющих приблизительно форму почти полной окружности, чтобы удерживать электрическую дугу между электродами аварийной электрической дуги во вращательном движении и предотвратить прохождение в соседние камеры распределительного устройства и уменьшать обгорание материала электродов аварийной электрической дуги. В частности, участок сборных шин, граничащий непосредственно с имеющими форму полной окружности разрядными рогами, подвержен при этом в основном такому же обгоранию, что и разрядные рога.
Исходя из устройства с признаками ограничительной части пункта 1 формулы изобретения (DE-1191458) в основе изобретения лежит задача такого выполнения устройства, чтобы в основном избежать обгорания сборных шин.
Эта задача решается согласно изобретению за счет того, что ширина в свету между кромками электродов аварийной электрической дуги является меньше, чем ширина в свету между сборными шинами. При подобном выполнении устройства обеспечено, что электрическая дуга горит исключительно между электродами аварийной электрической дуги.
В предпочтительной форме выполнения изобретения предусмотрено, что в направлении движения электрической дуги за электродами аварийной электрической дуги расположена изоляционная стенка, причем изоляционная стенка прилегает к электродам аварийной электрической дуги. За счет прилегания изоляционной стенки к электродам аварийной электрической дуги аварийная электрическая дуга не может снова зажигаться на прилегающей к изоляционной стенке стороне сборных шин и тем самым находит идеальные условия горения только на противоположных кромках электродов аварийной электрической дуги.
Для того чтобы обеспечить в случае аварийной электрической дуги достаточное время службы электродов аварийной электрической дуги, в форме дальнейшего развития изобретения предусмотрено, что первый электрод аварийной электрической дуги в области первой кромки и второй электрод аварийной электрической дуги в области второй кромки выполнены двухслойными, в частности посредством фальцовки. При этом электроды аварийной электрической дуги могут быть просто и экономично изготовлены из листового материала, например из металлического или стального листа.
Для направления электрической дуги может быть предусмотрено, что первый электрод аварийной электрической дуги в области первой кромки и второй электрод аварийной электрической дуги в области второй кромки снабжены проходящим предпочтительно вертикально к соответствующей кромке направляющим элементом для электрической дуги. Эти направляющие элементы могут быть выполнены в виде кромок материала. Кромки материала могут быть, например, кромками шлицов, пазов, выдавленных углублений или дополнительно установленных элементов предпочтительно с острыми кромками.
Для удобства монтажа при креплении электродов аварийной электрической дуги к токопроводящим шинам в предпочтительной форме выполнения предусмотрено, что каждый из электродов аварийной электрической дуги и каждая из токопроводящих шин, которым они присвоены, снабжены выемками для крепления. Выемки предпочтительно выполнены таким образом, что они позволяют крепление электродов аварийной электрической дуги к первой и второй сборным шинам при различных ширинах в свету между сборными шинами.
Изобретение поясняется в последующем более подробно с помощью примеров выполнения, представленных на фиг.1-10. При этом показывают:
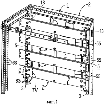
фиг.1: верхнюю часть каркаса камеры распределительного устройства с расположенной на нем первой формой выполнения системы сборных шин, которая имеет первую ширину в свету между сборными шинами,
фиг.2: нижнюю часть выполненного согласно Фиг.1 каркаса с расположенной на нем второй формой выполнения системы сборных шин,
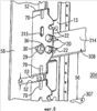
фиг.3: шинодержатель,
фиг.4 и 5: вырез из фиг.1,
фиг.6 и 7: вырез из фиг.2,
фиг.8: верхнюю часть выполненного согласно фиг.1 или соответственно 2 каркаса с третьей формой выполнения системы сборных шин, которая имеет вторую ширину в свету между сборными шинами, и с устройством для защиты от аварийной электрической дуги системы сборных шин, и
фиг.9 и 10: две сборные шины четвертой формы выполнения системы сборных шин соответственно с электродом аварийной электрической дуги.
На фиг.1, 2 и 8 показан каркас 1 камеры 2 распределительного устройства. Множество подобных камер 2 распределительного устройства могут быть расположены рядом друг с другом согласно фиг.5, 7 и 10 и соединены друг с другом. Отогнутые кромки 3 каркаса 2 служат для крепления систем сборных шин, которые могут быть расположены как в верхней, так также и в нижней части каркаса и при этом зеркально симметрично относительно центра каркаса.
Так, фиг.1 показывает первую форму выполнения 4 системы сборных шин, которая расположена в верхней части каркаса, фиг.2 показывает вторую форму выполнения 104 системы сборных шин, которая расположена в нижней части каркаса. Третья форма выполнения системы сборных шин 204, которая, как и первая форма выполнения 4, расположена в верхней части каркаса фиг.1, показана на фиг.8.
Каждая из форм выполнения системы сборных шин содержит соответственно четыре проходящие параллельно друг к другу сборные шины 7, 8, 9, 10; 107, 108, 109, 110; 207, 208, 209, 210 и два шинодержателя 5. Первая и вторая формы выполнения 4; 104 системы сборных шин имеют первую ширину в свету 55 между сборными шинами 7, 8, 9, 10; 107, 108, 109, 110 и третья форма выполнения имеет вторую ширину в свету 56 между сборными шинами 207, 208, 209, 210, отличающуюся от первой ширины в свету 55. Первая, вторая и третья из сборных шин 7, 8, 9; 107, 108, 109; 207, 208, 209 являются фазными проводами, в то время как четвертая из сборных шин 10; 110; 210 является нейтральным проводом (N-провод), который может быть токопроводяще соединен с каркасом 1 (нулевой PEN-провод). Известно, что посредством совместного прохождения нейтрального провода с фазными проводами в случае несимметрии в электрической сети, при которой также нейтральный провод обтекается током, получается слабое электромагнитное поле так, что через каркас текут только малые рабочие токи.
Каждая из сборных шин согласно фиг.1, 2 и 8 содержит по крайней мере одну прилегающую к поверхности приложения 13 шинодержателя 5 первую частичную шину 14; 114; 214 и вторую частичную шину. Первая частичная шина 15; 115; 215 простирается в основном по всей ширине камеры 2 распределительного устройства. Вторая частичная шина является соединительной шиной, которая проходит от одной камеры распределительного устройства к другой показанной на фиг.5, 7 и 10 камере распределительного устройства. Концы первых частичных шин закреплены на шинодержателях 5 через первые крепежные средства 16. Для этого первые крепежные средства 16 выполнены в виде снабженных гайками 17 болтов 18, причем стержень 19 болтов 18 проходит через первые выемки 20, 21 первых частичных шин 14; 114; 214 и шинодержателя 5. Головка болта 25 опирается на обращенную от шинодержателя 5 сторону 26 первых частичных шин 14; 114; 214, в то время как гайка 17 опирается на обращенную к отогнутой кромке каркаса сторону 27 шинодержателя 5. Каждая из вторых частичных шин 15; 115; 215 прикреплена через вторые крепежные средства 28 к соответствующей первой частичной шине 14; 114; 214. Для этого вторые крепежные средства 28 выполнены в виде снабженных гайками 29 крепежных болтов 30, стержень 31 которых проходит через соответствующий конец первой частичной шины 14; 114; 214 и соответствующий конец второй частичной шины 15; 115; 215 в области двух выемок 34, 35. Гайка 29 при этом согласно фиг.1 и 8 опирается в случае применения следующей первой частичной шины 14; 114; 214 на сборную шину на следующую первую частичную шину 14; 114; 214 или в случае только одной первой частичной шины на вторую частичную шину 15; 115; 215. Головка болта 31 опирается на прилегающую к шинодержателю первую частичную шину.
Согласно фиг.4 и 5 или соответственно 6 и 7 первые выемки 20 первых частичных шин 14; 114; 214 имеют для компенсации допусков квадратное поперечное сечение, которое выбрано большим, чем согласованная с внешним диаметром болта 18 первая выемка 21 шинодержателя 5. Вторые выемки 34, 35 первых 14; 114; 214 и вторых частичных шин 15; 115; 215 выполнены в виде открытых в направлении обращенных свободных концов удлинненных отверстий таким образом, что первая частичная шина 14; 114; 214 и вторая частичная шина 15; 115; 215 могут быть надвинуты на стержень соответствующего крепежного болта 30 с противоположных направлений. Шинодержатель 5 имеет противоположные первым частичным шинам 14; 114; 214 расположенные по соседству с плоскостями приложения 13 для сборных шин односторонне открытые углубления 41, в которых расположена головка болта 33 крепежных болтов 30. За счет односторонне открытого выполнения углублений 41 соединительная шина с крепежным болтом 30 в случае закрепленного на каркасе шинодержателя 5 может быть легко введена путем бокового вдвигания головки болта 33 в углубление 41. При этом глубина 42 углублений 41 выбрана так, что выпадение крепежного болта 30 из вторых выемок 34, 35 надежно предотвращено. Крепежные болты имеют примыкающий к головке болта выполненный в виде квадратного профиля 32 участок стержня 31, который удерживается без прокручивания в одном из удлиненных отверстий 34. Для крепления второй частичной шины к первой частичной шине тем самым не требуется предохранять второе крепежное средство 28 вручную от потери или прокручивания.
Каждая из форм выполнения 4, 104, 204, 304 системы сборных шин может быть снабжена устройством 50 для зашиты от аварийной электрической дуги.
Это устройство 50 содержит согласно фиг.8 три электрода аварийной электрической дуги 51, один из которых соответственно закреплен посредством первых 16 и вторых 28 крепежных средств на трех фазных проводах. Также нейтральный N-провод или соответственно нулевой PEN-провод может быть снабжен электродом аварийной электрической дуги 51. Электроды аварийной электрической дуги 51 выполнены в виде детали из металлического или стального листа, которые имеют более высокую теплоту плавления по сравнению с состоящими из меди сборными шинами 7, 8, 9, 10; 107, 108, 109, 110; 207, 208, 209, 210. Они имеют согласно фиг.9 и 10 первую и вторую выполненную с помощью фальцовки двухслойной кромку 52, 53. Эти электроды аварийной электрической дуги расположены так, что соответственно между двумя соседними сборными шинами первая кромка 52 закрепленного на одной сборной шине 207; 407 электрода аварийной электрической дуги и вторая кромка закрепленного на другой сборной шине электрода аварийной электрической дуги противостоят с шириной в свету 54, которая является больше, чем ширина в свету 55, 56 между токопроводящими шинами таким образом, что возникающая в случае короткого замыкания обеих токопроводящих шин электрическая дуга, распространяющаяся в направлении движения 57 вдоль продольной оси токопроводящих шин, горит между первой 52 и второй 53 кромками. На этих кромках в соединении с изоляционной стенкой 58 электрическая дуга находит идеальные условия горения и останавливается там. Дальнейшее разрушение распределительного устройства, в частности разрушение соседней камеры распределительного устройства таким образом надежно предотвращается. Так как ширина в свету 54 между противоположными кромками 52, 53 электродов аварийной электрической дуги 51 является меньше, чем ширина в свету 55, 56 между сборными шинами, обгорание происходит на электродах аварийной электрической дуги. Тем самым обеспечено, что после появления электрической дуги, в частности при кратком времени горения, сборные шины не разрушаются и поэтому не должны заменяться. Электроды аварийной электрической дуги в случае появления аварийной электрической дуги обтекаются током так, что возможными являются регистрация аварийной электрической дуги, например с помощью катушки без ферромагнитного сердечника и преобразователя, и оценка аварийной электрической дуги, например отключение питания тока.
Для направления электрической дуги в направлении кромок 52, 53, которые проходят параллельно к средней оси токопроводящих шин, могут быть предусмотрены направляющие элементы в виде кромок материала 70, которые представлены на фиг.9 штриховой линией. Кромки материала могут, например, быть кромками шлицов, пазов, тисненных углублений или дополнительно введенных элементов, предпочтительно с острыми кромками.
Для крепления электродов аварийной электрической дуги 51 на токопроводящих шинах электроды аварийной электрической дуги 51 содержат первые выемки 22, приданные в соответствие первым выемкам токопроводящих шин и шинодержателю, и вторые выемки 36, приданные в соответствие вторым выемкам 34, 35 сборных шин.
Согласно фиг.10 дальнейшее прохождение электрической дуги на сборной шине в соседнюю камеру распределительного устройства дополнительно препятствуется за счет того, что в направлении прохождения 57 электрической дуги сзади электродов аварийной электрической дуги 51 расположена изоляционная стенка 58 из твердого мата. Этот твердый мат прилегает к электродам аварийной электрической дуги. За счет этого прилегания удерживаются и охлаждаются, во-первых, возникающие при горении электрической дуги ионизированные, электрически сильно проводящие газы. Во-вторых, обеспечивается, что электрическая дуга не может снова зажигаться на сборных шинах. Так как он дополнительно увеличивает воздушный промежуток подлежащих заземлению деталей, надежно избегается также новое зажигание электрической дуги на этих заземленных деталях. Твердый мат способствует также снижению возникающего за счет обгорания загрязнения в соседней камере распределительного устройства.
Согласно фиг.3 для позиционирования шинодержателей 5 на отогнутой кромке 3 каркаса 1 предусмотрено дальнейшее углубление 60 в области третьих выемок 61 шинодержателя 5. Третьи выемки 61 взаимодействуют с третьими крепежными средствами 62, которые служат для крепления шинодержателей 5 на отогнутой кромке 3 каркаса 1. Расстояние третьих выемок 61 при этом согласовано с растром отверстий 63 отогнутых кромок 3. Кроме того, предусмотрены утоньшения материала 71 для экономии материала.
Согласно фиг.3 на каждом из шинодержателей 5 предусмотрены четыре раза по три, то есть двенадцать первых выемок 21 и четыре углубления 41 на обращенной к сборным шинам стороне. Эти первые выемки 21 и эти углубления 41 расположены зеркально симметрично в продольном направлении шинодержателя таким образом, что все шинодержатели выполнены одинаковыми и, в частности, каждый из этих одинаково выполненных шинодержателей может быть расположен как на левой стороне, так и с поворотом на 180° на правой стороне каркаса 1.
Электроды аварийной электрической дуги 51 в основном являются зеркально симметричными, а именно относительно плоскости, которая проходит параллельно к обеим кромкам 52, 53 и перпендикулярно к плоской стороне сборных шин.
Как делает наглядным сравнение фиг.1 или соответственно 2 с фиг.8, количество и взаимное расстояние выемок и углублений сборных шин и электродов аварийной электрической дуги выбрано так, что шинодержатели позволяют крепление различно широких сборных шин и таким образом крепление сборных шин при различных ширинах в свету 55, 56 между сборными шинами и что также одинаково выполненные электроды аварийной электрической дуги 51 могут легко применяться и дооснащаться для защиты от аварийной электрической дуги различных форм выполнения 4, 104, 204 системы сборных шин. Расстояния по средней оси сборных шин являются при этом одинаковыми во всех формах выполнения 4, 104, 204 системы сборных шин.
Формула изобретения
1. Устройство (50) для защиты от аварийной электрической дуги системы сборных шин (4; 104; 204; 304), которая содержит по крайней мере первую и вторую сборные шины (7, 8; 107, 108; 207, 208; 307, 308), с по крайней мере закрепленным на первой сборной шине (7; 107; 207; 307) первым электродом аварийной электрической дуги (51) и закрепленным на второй сборной шине (8; 108; 208; 308) вторым электродом аварийной электрической дуги (51), причем первая кромка (52) первого электрода аварийной электрической дуги (51) противостоит второй кромке (53) второго электрода аварийной электрической дуги (51) таким образом, что возникающая при коротком замыкании первой и второй токопроводящей шины электрическая дуга горит между первой и второй кромками, отличающееся тем, что ширина в свету (54) между кромками электродов аварийной электрической дуги является меньше, чем ширина в свету (55, 56) между сборными шинами (7, 8; 107, 108; 207, 208; 307, 308) и первый электрод аварийной электрической дуги (51) в области первой кромки (52) и второй электрод аварийной электрической дуги (51) в области второй кромки (53) выполнены двухслойными, в частности, посредством фальцовки.
2. Устройство по п.1, отличающееся тем, что в направлении движения (57) электрической дуги за электродами аварийной электрической дуги (51) расположена изоляционная стенка (58), причем изоляционная стенка (58) прилегает к электродам аварийной электрической дуги (51).
3. Устройство по п.1, отличающееся тем, что первый электрод аварийной электрической дуги (51) в области первой кромки (52) и второй электрод аварийной электрической дуги (51) в области второй кромки (53) снабжены проходящим предпочтительно вертикально к соответствующей кромке направляющим элементом (70) для электрической дуги.
4. Устройство по п.2, отличающееся тем, что первый электрод аварийной электрической дуги (51) в области первой кромки (52) и второй электрод аварийной электрической дуги (51) в области второй кромки (53) снабжены проходящим предпочтительно вертикально к соответствующей кромке направляющим элементом (70) для электрической дуги.
5. Устройство по п.1, отличающееся тем, что первый электрод аварийной электрической дуги (51) в области первой кромки (52) и второй электрод аварийной электрической дуги (51) в области второй кромки (53) снабжены проходящим предпочтительно вертикально к соответствующей кромке направляющим элементом (70) для электрической дуги, и направляющий элемент (70) выполнен в виде кромки материала.
6. Устройство по п.2, отличающееся тем, что первый электрод аварийной электрической дуги (51) в области первой кромки (52) и второй электрод аварийной электрической дуги (51) в области второй кромки (53) снабжены проходящим предпочтительно вертикально к соответствующей кромке направляющим элементом (70) для электрической дуги, и направляющий элемент (70) выполнен в виде кромки материала.
7. Устройство по п.1, отличающееся тем, что каждый из электродов аварийной электрической дуги (51) и каждая из сборных шин, которым они присвоены, снабжены выемками (22, 21, а также 34, 35, 36) для крепления.
8. Устройство по п.1, отличающееся тем, что в направлении движения (57) электрической дуги за электродами аварийной электрической дуги (51) расположена изоляционная стенка (58), причем изоляционная стенка (58) прилегает к электродам аварийной электрической дуги (51),и каждый из электродов аварийной электрической дуги (51) и каждая из сборных шин, которым они присвоены, снабжены выемками (22, 21, а также 34, 35, 36) для крепления.
9. Устройство по п.1, отличающееся тем, что первый электрод аварийной электрической дуги (51) в области первой кромки (52) и второй электрод аварийной электрической дуги (51) в области второй кромки (53) снабжены проходящим предпочтительно вертикально к соответствующей кромке направляющим элементом (70) для электрической дуги, и каждый из электродов аварийной электрической дуги (51) и каждая из сборных шин, которым они присвоены, снабжены выемками (22, 21, а также 34, 35, 36) для крепления.
10. Устройство по п.1, отличающееся тем, что первый электрод аварийной электрической дуги (51) в области первой кромки (52) и второй электрод аварийной электрической дуги (51) в области второй кромки (53) снабжены проходящим предпочтительно вертикально к соответствующей кромке направляющим элементом (70) для электрической дуги, направляющий элемент (70) выполнен в виде кромки материала, и каждый из электродов аварийной электрической дуги (51) и каждая из сборных шин, которым они присвоены, снабжены выемками (22, 21, а также 34, 35, 36) для крепления.
11. Устройство по п.1, отличающееся тем, что каждый из электродов аварийной электрической дуги (51) и каждая из сборных шин, которым они присвоены, снабжены выемками (22, 21, а также 34, 35, 36) для крепления, причем выемки (22, 21, а также 34, 35, 36) выполнены таким образом, что они позволяют крепление электродов аварийной электрической дуги (51) к первой и второй сборной шине (7, 8; 107, 108; 207, 208; 307, 308) при различных ширинах в свету (55, 56) между сборными шинами.
12. Устройство по п.1, отличающееся тем, что в направлении движения (57) электрической дуги за электродами аварийной электрической дуги (51) расположена изоляционная стенка (58), причем изоляционная стенка (58) прилегает к электродам аварийной электрической дуги (51), каждый из электродов аварийной электрической дуги (51) и каждая из сборных шин, которым они присвоены, снабжены выемками (22, 21, а также 34, 35, 36) для крепления, причем выемки (22, 21, а также 34, 35, 36) выполнены таким образом, что они позволяют крепление электродов аварийной электрической дуги (51) к первой и второй сборной шине (7, 8; 107, 108; 207, 208; 307, 308) при различных ширинах в свету (55, 56) между сборными шинами.
13. Устройство по п.1, отличающееся тем, что первый электрод аварийной электрической дуги (51) в области первой кромки (52) и второй электрод аварийной электрической дуги (51) в области второй кромки (53) снабжены проходящим предпочтительно вертикально к соответствующей кромке направляющим элементом (70) для электрической дуги, каждый из электродов аварийной электрической дуги (51) и каждая из сборных шин, которым они присвоены, снабжены выемками (22, 21, а также 34, 35, 36) для крепления, причем выемки (22, 21, а также 34, 35, 36) выполнены таким образом, что они позволяют крепление электродов аварийной электрической дуги (51) к первой и второй сборной шине (7, 8; 107, 108; 207, 208; 307, 308) при различных ширинах в свету (55, 56) между сборными шинами.
14. Устройство по п.2, отличающееся тем, что первый электрод аварийной электрической дуги (51) в области первой кромки (52) и второй электрод аварийной электрической дуги (51) в области второй кромки (53) снабжены проходящим предпочтительно вертикально к соответствующей кромке направляющим элементом (70) для электрической дуги, каждый из электродов аварийной электрической дуги (51) и каждая из сборных шин, которым они присвоены, снабжены выемками (22, 21, а также 34, 35, 36) для крепления, причем выемки (22, 21, а также 34, 35, 36) выполнены таким образом, что они позволяют крепление электродов аварийной электрической дуги (51) к первой и второй сборной шине (7, 8; 107, 108; 207, 208; 307, 308) при различных ширинах в свету (55, 56) между сборными шинами.
15. Устройство по п.1, отличающееся тем, что первый электрод аварийной электрической дуги (51) в области первой кромки (52) и второй электрод аварийной электрической дуги (51) в области второй кромки (53) снабжены проходящим предпочтительно вертикально к соответствующей кромке направляющим элементом (70) для электрической дуги, направляющий элемент (70) выполнен в виде кромки материала, каждый из электродов аварийной электрической дуги (51) и каждая из сборных шин, которым они присвоены, снабжены выемками (22, 21, а также 34, 35, 36) для крепления, причем выемки (22, 21, а также 34, 35, 36) выполнены таким образом, что они позволяют крепление электродов аварийной электрической дуги (51) к первой и второй сборной шине (7, 8; 107, 108; 207, 208; 307, 308) при различных ширинах в свету (55, 56) между сборными шинами.
16. Устройство по п.2, отличающееся тем, что первый электрод аварийной электрической дуги (51) в области первой кромки (52) и второй электрод аварийной электрической дуги (51) в области второй кромки (53) снабжены проходящим предпочтительно вертикально к соответствующей кромке направляющим элементом (70) для электрической дуги, направляющий элемент (70) выполнен в виде кромки материала, каждый из электродов аварийной электрической дуги (51) и каждая из сборных шин, которым они присвоены, снабжены выемками (22, 21, а также 34, 35, 36) для крепления, причем выемки (22, 21, а также 34, 35, 36) выполнены таким образом, что они позволяют крепление электродов аварийной электрической дуги (51) к первой и второй сборной шине (7, 8; 107, 108; 207, 208; 307, 308) при различных ширинах в свету (55, 56) между сборными шинами.
РИСУНКИ
|
|