|
|
(21), (22) Заявка: 2006126759/06, 21.07.2006
(24) Дата начала отсчета срока действия патента:
21.07.2006
(43) Дата публикации заявки: 27.01.2008
(46) Опубликовано: 27.05.2008
(56) Список документов, цитированных в отчете о поиске:
RU 46614 U1, 10.07.2005. Журнал «За рулем», №10 (892), октябрь 2005, с.220-230. СА 2088032 А, 25.07.1993. US 4023058 А, 10.05.1977. WO 00/19570 A1, 06.04.2000.
Адрес для переписки:
397160, Воронежская обл., г. Борисоглебск, ул. Чайковского, 7, кв.2, А.Ф.Никульникову
|
(72) Автор(ы):
Гайнуллин Тимур Ирикович (RU), Никульников Александр Федорович (RU)
(73) Патентообладатель(и):
Гайнуллин Тимур Ирикович (RU), Никульников Александр Федорович (RU)
|
(54) СВЕЧА ЗАЖИГАНИЯ ДЛЯ ДВИГАТЕЛЕЙ ВНУТРЕННЕГО СГОРАНИЯ
(57) Реферат:
Изобретение относится к электротехнике, в частности к системам зажигания двигателей внутреннего сгорания. Свеча зажигания для ДВС содержит корпус, изолятор, боковой электрод, на нерабочей поверхности торца которого выполнен щелеобразный пропил, который проходит через диаметр сквозного, соосного с центральным электродом, отверстия, и составляет не более 10% ширины пластины бокового электрода. В торце центрального электрода выполнены две пересекающиеся по оси вращения свечи прорези (выемки) так, что каждая из них в поперечном разрезе свечи образует с щелеобразным торцевым пропилом бокового электрода угол скрещивания в 45 градусов. Техническим результатом является повышение стабильности и надежности работы ДВС, облегчение его запуска, обеспечение полного сгорания топлива, снижение себестоимости свечи за счет обеспечения гарантированного долговременного и стабильного фокусирования энергии искрового пробоя межэлектродного промежутка. 5 ил.
Изобретение относится к электротехнике, в частности к элементам электрооборудования двигателей внутреннего сгорания (ДВС), и может быть использовано преимущественно в автомобилестроении. Изобретение касается конструкции свечи зажигания для ДВС.
Как известно, эффективность работы ДВС, надежность его запуска, полнота сгорания горючей смеси определяются мощностью искрового разряда. Последняя определяется силой тока разряда, напряжением, величиной разрядного промежутка, длительностью разряда [1]. Отдельные факторы системы зажигания ДВС можно отнести к постоянным, например, напряжение бортовой сети автомобиля 12 В. В то же время напряжение на искровом промежутке, сила тока разряда могут меняться в значительных пределах.
Известно, что разрядный промежуток с плоскопараллельными противолежащими поверхностями электродов является неблагоприятным для мощного искрообразования. Поверхностная плотность электрических зарядов у проводников различной формы для разных участков поверхности не одинакова. В частности, наибольшая плотность наблюдается на выступающих остриях или острых кромках тех или иных конструктивных элементов противолежащих поверхностей электродов.
Известна свеча зажигания для ДВС по патенту [2] (аналог), содержащая центральный электрод, размещенный в отверстии изолятора и охватывающий изолятор корпус с боковым электродом, в котором выполнено сквозное конусообразное отверстие, соосное с центральным электродом, и дополнительные конусообразные отверстия, расположенные на окружности, радиус которой равен радиусу центрального электрода, в центре торцевой поверхности которого выполнен конусообразный выступ, а по его периметру – буртик, имеющий треугольное поперечное сечение. В этом изобретении сделана попытка исключить нагарообразование путем создания в межэлектродном пространстве кистевого разряда и повысить стабильность работы ДВС в процессе пуска за счет плазменной струи за пределами межэлектродного пространства. Недостатком данной свечи является сложность ее конструктивно-технологической реализации, что является причиной ее отсутствия на потребительском рынке.
Известна также свеча по патенту [3] (аналог), имеющая металлический корпус, изолятор с встроенным центральным электродом, общий «массовый» боковой электрод, закрепленный на корпусе и установленный относительно центрального электрода с некоторым зазором, в которой, для повышения стабильности работы ДВС, облегчения его запуска, обеспечения полного сгорания горючей смеси с одновременным упрощением конструктивно-технологической реализации, противолежащие поверхности электродов выполнены с острыми поверхностными элементами типа выступов, бугорков, прорезей, величина которых составляет 10-20% от толщины общего электрода. Недостатками такого технического решения являются: а) распыление энергии искрового пробоя из-за разброса конструктивных элементов с острыми кромками по всей площади каждой из противолежащих поверхностей электродов, в результате чего фокусирование энергии искрового пробоя не происходит и, как следствие, увеличивается вероятность неполного сгорания горючей смеси, а значит – появления нагара на электродах с вытекающими последствиями; б) выполнение на обеих противолежащих поверхностях электродов по всей их площади упомянутых конструктивных элементов с острыми кромками требует многократного прохождения режущего инструмента (более четырех раз на каждый электрод), или же требует использования специального дорогостоящего кузнечно-прессового оборудования, что увеличивает себестоимость таких свечей и снижает вероятность появления их на потребительском рынке.
Известна также свеча зажигания для ДВС (изготовитель Япония) NGK V-line 6E (4), (аналог), содержащая корпус, изолятор, центральный электрод с V-образной выемкой (прорезью) в его торце, боковой электрод С-образного поперечного профиля с образованием на его рабочей поверхности продольного углубления (канавки) с острыми кромками. На оригинале этой свечи V-образная выемка центрального электрода выполнена параллельно продольному углублению бокового электрода. Острые кромки конструктивных элементов (выемок, углублений) на противолежащих поверхностях обоих электродов расположены против друг друга. Недостатком этой конструкции является то, что энергия искрового пробоя делится на две части, расположенные по диаметру центрального электрода против друг друга, ведь максимальная напряженность электрического поля возникает в пространстве между сегментными выступами центрального электрода и буртиками С-образного профиля бокового электрода, то есть отсутствует фокусирование энергии искрового пробоя, а значит мощность отдельной составляющей разряда в два раза уменьшается и если в целом такая свеча зарекомендовала себя неплохо, то при больших нагрузках и при работе ДВС на обедненных смесях искра все же теряет свою стабильность, что является существенным недостатком такого технического решения. В то же время изготовление бокового электрода здесь требует применения дорогостоящего кузнечно-прессового оборудования, что также сказывается на высокой себестоимости свечи.
Самым близким по своей сути и достигаемому результату техническим решением (прототипом) является конструкция свечи Bosch Platium WR 7 DP (изготовитель Германия), [4], в которой гарантированное фокусирование энергии искрового разряда достигается за счет значительного уменьшения диаметра центрального электрода с применением на нем напыления из дорогостоящей платины, что определяет ее высокую себестоимость. Эксперты журнала «За рулем» дали наивысшую оценку этим свечам, однако признали, что они хорошо работают только при использовании высококачественного топлива, что делает их непригодными для сегодняшней ситуации с качеством топлива в России.
Целью заявляемого изобретения является повышение стабильности и надежности работы ДВС, облегчение его запуска и обеспечение полного сгорания топлива за счет гарантированного долговременного фокусирования энергии искрового пробоя межэлектродного промежутка при одновременном снижении себестоимости свечи.
Это достигается тем, что в свече зажигания, имеющей металлический корпус, изолятор, установленные с воздушным промежутком центральный электрод с двумя пересекающимися прорезями (выемками) на его рабочей поверхности и один боковой пластинчатый электрод со сквозным соосным с центральным электродом отверстием и имеющий одну прорезь (выемку), при этом все конструктивные элементы (прорези, выемки, отверстие) противолежащих поверхностей электродов выполнены с острыми кромками, прорезь (выемка) бокового электрода выполнена с пересечением по диаметру упомянутого сквозного отверстия, соосного с центральным электродом, и в виде щелеобразного торцевого пропила, ширина которого не превышает диаметр упомянутого выше отверстия и составляет не более 10% ширины пластины бокового электрода, а каждая из двух пересекающихся прорезей (выемок) центрального электрода выполнена с пересечением и оси вращения свечи так, что в поперечном разрезе свечи образует с щелеобразным торцевым пропилом бокового электрода угол скрещивания в 45 градусов.
Несмотря на то, что выполнение сквозных соосных с центральным электродом отверстий в боковом электроде, а также отверстий, выемок, прорезей и т.п. конструктивных элементов с острыми кромками на противолежащих поверхностях электродов известно по целому ряду приведенных выше примеров, предлагаемое техническое решение является новым и существенно отличающимся от известных тем, что впервые предложено выполнить прорезь на нерабочей поверхности бокового электрода, при том в виде щелеобразного торцевого пропила, ширина которого не превышает диаметр сквозного соосного с центральным электродом отверстия и составляет не более 10% ширины пластины бокового электрода, а каждая из двух пересекающихся прорезей (выемок) центрального электрода выполнена с пересечением и оси вращения свечи так, что в поперечном разрезе ее образует с щелеобразным торцевым пропилом бокового электрода угол скрещивания в 45 градусов, так как именно такое решение позволяет обеспечить стабильность и надежность работы ДВС, облегчить запуск двигателя и обеспечить максимальную полноту сгорания топлива за счет гарантированного долговременного и стабильного фокусирования энергии искрового пробоя межэлектродного промежутка и не вытекает явно из известных ранее технических решений.
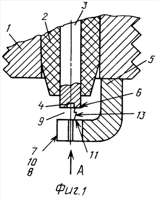
На фиг.1 представлен фрагмент продольного разреза свечи зажигания ДВС. Свеча имеет металлический корпус 1, изолятор 2, боковой электрод 5, с нерабочей поверхностью 7 торца 10, в котором выполнен щелеобразный пропил 8, между острой кромкой 11 которого и острой кромкой 6 торцевой прорези 4 центрального электрода 3 в межэлектродном промежутке 9 показан сфокусированный разряд 13.
На фиг.2 показан увеличенный вид А фигуры 7, где изображены сквозное соосное с центральным электродом 3 отверстие 72 в боковом электроде 5 и пересекающийся с ним щелеобразный торцевой пропил 8 с шириной с, а также угол скрещивания в 45 градусов, показанный по осям симметрии между одной из пересекающихся прорезей 4 центрального электрода 3 и торцевым щелеобразным пропилом 8 бокового электрода 5 с шириной пластины В.
На фиг.3 показан увеличенный фрагмент I фигуры 2, где изображен сфокусированный разряд 13 в месте пересечения острых кромок 6 прорези 4 центрального электрода 3 и сквозного соосного с центральным электродом 3 отверстия 12 диаметром d бокового электрода 5.
На фиг.4 показан увеличенный фрагмент I фигуры 2, где изображен вариант выполнения сквозного соосного с центральным электродом 3 отверстия 72 в виде квадрата 14 с диагональю g; отверстие 72 выполнено здесь пересеченным с щелеобразным торцевым пропилом 8 шириной с в боковом электроде 5, а острые кромки 6 торцевой прорези 4 центрального электрода 3 образуют с острыми кромками 15 отверстия 72 в виде квадрата 14 идеальной для искрообразования угол скрещивания в 90 градусов; ширина с щелевидного пропила 8 в боковом электроде 5 здесь меньше диагонали g квадрата 14.
На фиг.5 показан увеличенный вид А фигуры 1, где изображены: а) центральный электрод 3 с прорезями 4 и с острыми кромками 6; б) на боковом электроде 5 щелеобразный пропил 8, ширина которого с совпадает по величине с габаритными размерами d и g сквозного соосного с центральным электродом отверстия 72 (14) и больше ширины е каждой из прорезей 4 центрального электрода 3, в) одна из восьми возможных точек расположения 16 сфокусированного разряда 13.
Свеча работает следующим образом.
Высокое напряжение на электродах 3 и 5 ионизирует воздушный промежуток 9 между ними и вызывает проскакивание искры, которая нагревает некоторое, небольшое по объему, количество смеси до температуры воспламенения. Далее пламя распространяется по всему объему камеры сгорания. Для достижения отмеченной выше цели изобретения энергия искрового пробоя гарантированно фокусируется в узком пространстве, ограниченном в поперечном разрезе свечи диаметром d сквозного соосного с центральным электродом 3 отверстия 12, выполненного в боковом электроде 5. Каждая из восьми острых кромок 6 прорезей 4 центрального электрода 3 работает поочередно. Риск отказа работы двигателя уменьшается во столько же раз, сколько раз острые кромки щелеобразного пропила (когда c=d=g, см. фиг.5) или острые кромки сквозного соосного с центральным электродом отверстия (когда c
Авторами модернизировано и установлено на различные автомобили разных возрастов и степеней износа, с различными типами двигателей (карбюраторные и с инжекцией топлива), более ста комплектов свечей. Работа ДВС сразу становилась ровной. Расход топлива снизился при ощутимом увеличении мощности. В течение полутора лет эксплуатации этих автомобилей ни одного случая отказа работы свечей зажигания не зафиксировано.
Источники информации
1. Райков И.Я., Рытвинский Г.Н. Автомобильный двигатель внутреннего сгорания. – М.: Высшая школа, 1970. с.335.
2. Патент RU 2043684, 6 H 01 T 13/20, 10.09.95. Бюл. №25.
3. Патент RU 2084998, 6 H 01 T 13/20, 20.07.97.
4. За рулем. Октябрь 2005, №10(892), с.220-222.
Формула изобретения
Свеча зажигания двигателя внутреннего сгорания (ДВС), содержащая металлический корпус, изолятор, установленные с воздушным промежутком центральный электрод, по крайней мере, с двумя пересекающимися прорезями (выемками) на его рабочей поверхности и один боковой пластинчатый электрод со сквозным, соосным с центральным электродом, отверстием и имеющий хотя бы одну прорезь (выемку), при этом все конструктивные элементы (прорези, выемки, отверстие) противолежащих поверхностей электродов выполнены с острыми кромками, отличающаяся тем, что, с целью повышения стабильности и надежности работы ДВС, облегчения его запуска и обеспечения полного сгорания топлива за счет гарантированного долговременного и стабильного фокусирования энергии искрового пробоя межэлектродного промежутка, при одновременном снижении себестоимости свечи, прорезь (выемка) бокового электрода выполнена с пересечением по диаметру с упомянутым сквозным отверстием, соосным с центральным электродом, и в виде щелеобразного торцевого пропила, ширина которого не превышает диаметр упомянутого выше отверстия и составляет не более 10% ширины пластины бокового электрода, а каждая из двух пересекающихся прорезей (выемок) центрального электрода выполнена с пересечением к оси вращения свечи так, что в поперечном разрезе свечи образует с щелеобразным торцевым пропилом бокового электрода угол скрещивания в 45°.
РИСУНКИ
|
|