|
|
(21), (22) Заявка: 2005134013/09, 05.04.2004
(24) Дата начала отсчета срока действия патента:
05.04.2004
(30) Конвенционный приоритет:
04.04.2003 AU 2003901612
(43) Дата публикации заявки: 10.09.2006
(46) Опубликовано: 27.05.2008
(56) Список документов, цитированных в отчете о поиске:
AU 40728/85 А, 17.10.1985. SU 980195 А, 07.12.1982. DE 2502204 А1, 22.07.1976. WO 98/015037 А1, 09.04.1998. AU 35321/00 А1, 08.02.2001. AU 93330/01 А1, 30.05.2002.
(85) Дата перевода заявки PCT на национальную фазу:
07.11.2005
(86) Заявка PCT:
AU 2004/000443 (05.04.2004)
(87) Публикация PCT:
WO 2004/088796 (14.10.2004)
Адрес для переписки:
107023, Москва, ул. Б.Семеновская, 49, оф.404, Фирма патентных поверенных ООО “ИННОТЭК”, пат.пов. Т.А.Вахниной
|
(72) Автор(ы):
УЭЛЛС Марк (AU)
(73) Патентообладатель(и):
ХЕД ЭЛЕКТРИКАЛ ИНТЕРНЭШНЛ ПТИ ЛТД (AU)
|
(54) ЭЛЕКТРИЧЕСКОЕ СОЕДИНИТЕЛЬНОЕ УСТРОЙСТВО
(57) Реферат:
Изобретение касается электрического соединительного устройства для машинного кабеля, которое содержит первый соединитель, имеющий первый контакт, и второй соединитель, имеющий второй контакт, причем эти соединители являются подвижными между расцепленным положением, в котором первый и второй контакты удалены друг от друга, и сцепленным положением, в котором первый и второй контакты являются электрически соединенными. Устройство также содержит привод для приложения движущей силы для приведения в движение первого и второго соединителей относительно друг друга, благодаря которой первый соединитель и второй соединитель движутся между расцепленным и сцепленным положениями. Привод выполнен с возможностью распределения движущей силы вокруг, по меньшей мере, части, по меньшей мере, одного первого соединителя, или второго соединителя, что снижает или даже исключает вероятность заклинивания, кантования или захватывания между поверхностями соединителей, ограничивающими минимальный механический зазор для обеспечения узкого пути факела. 3 н. и 31 з.п. ф-лы, 7 ил.
ОБЛАСТЬ ТЕХНИКИ, К КОТОРОЙ ОТНОСИТСЯ НАСТОЯЩЕЕ ИЗОБРЕТЕНИЕ
Настоящее изобретение в широком смысле относится к электрическому соединительному устройству для машинного кабеля. Используемый в этой заявке термин “машинный кабель” используют для любой машины, любого намоточного или передвижного кабеля, который пригоден для подачи электропитания к транспортным средствам, например, оборудованию в нефтяной или горной промышленности. Термин “соединитель” используют для любой штепсельной вилки, наконечника (проводника кабеля), электрической переходной муфты (для кабеля), соединителя или розетки.
ПРЕДПОСЫЛКИ ДЛЯ СОЗДАНИЯ НАСТОЯЩЕГО ИЗОБРЕТЕНИЯ
Машинные кабели, как правило, используют для обеспечения электрического соединения для мобильных электрических машин. Например, в горной или нефтяной промышленности часто используют крупное оборудование, и может оказаться необходимым, чтобы каждый машинный кабель обеспечивал подачу электропитания от порядка нескольких сот киловатт до нескольких мегаватт. Как правило, такую мощность подают с напряжением порядка одного или более киловольт. Такие кабели, как правило, имеют множество жил, и их соединяют при использовании соединителей, включающих в себя розеточные части и штыревые контакты.
Например, во взрывоопасной среде должна быть предусмотрена особая мера предосторожности, и для уменьшения вероятности взрывов между двумя соединителями может потребоваться путь факела. Путь факела, как правило, образуется между штепсельной вилкой и розеткой посредством расположения цилиндрической поверхности, которая окружает контакты и/или электрические выводы вилки внутри соответствующей цилиндрической поверхности розетки. Механический допуск между цилиндрическими поверхностями невелик (как правило, 0,2-0,4 мм). Вследствие небольшого механического допуска может иметь место кантование или захватывание, которое затрудняет сцепление или расцепление вилки и розетки.
Из предшествующего уровня техники известно приспособление, состоящее из защелки и прорези на стороне вилки и розетки, которое может быть использовано для сведения вилки и розетки вместе для сцепления штыревых контактов и розеточных частей и поверхностей, которые образуют путь факела.
СУЩНОСТЬ НАСТОЯЩЕГО ИЗОБРЕТЕНИЯ
В первом аспекте настоящее изобретение обеспечивает получение электрического соединительного устройства для машинного кабеля, причем устройство содержит
первый соединитель, имеющий первый контакт,
второй соединитель, имеющий второй контакт, причем первый соединитель и второй соединитель являются подвижными между расцепленным положением, в котором первый и второй контакты удалены друг от друга, и сцепленным положением, в котором первый и второй контакты являются электрически соединенными, и
привод для приложения движущей силы для приведения в движение первого и второго соединителей относительно друг друга, в соответствии с чем первый соединитель и второй соединитель движутся между расцепленным и сцепленным положениями, причем привод содержит зубчатое приспособление и выполнен с возможностью распределения движущей силы вокруг, по меньшей мере, части, по меньшей мере, одного первого соединителя или второго соединителя.
Первый и второй соединители каждый, как правило, содержит корпус. Первый и второй соединители, как правило, также содержат первую и вторую поверхности пути факела, которые расположены так, чтобы одна из поверхностей пути факела окружала другую поверхность пути факела, когда соединители движутся в сцепленное положение, с тем чтобы ограничить путь факела между первой и второй поверхностями пути факела. Первая и вторая поверхности пути факела, как правило, расположены так, чтобы, когда первый и второй соединители движутся в сцепленное положение, поверхности пути факела сопрягались между собой с допуском менее 0,4 мм, как правило, менее 0,2 мм.
Из предшествующего уровня техники известно приспособление типа защелка и прорезь, которое прикладывает движущую силу только в одном особом местоположении. Следовательно, механическое заклинивание, кантование или захватывание между соединителями, особенно тесно сопрягающихся металлических поверхностей пути факела, может иметь место, и часто требуются большие усилия для соединения соединителей и сопряжения поверхностей пути факела. На практике эти большие усилия могут даже привести к изгибу одного из металлических корпусов соединителей. Однако в настоящем изобретении движущая сила распределяется, по меньшей мере, вокруг части первого и/или второго соединителя и вероятность заклинивания, кантования или захватывания между первым и вторым соединителем, следовательно, уменьшается или даже исключается.
Привод, как правило, имеет первую часть привода, связанную с первым соединителем, и вторую часть привода, связанную со вторым соединителем. Первая часть привода и вторая часть привода могут быть выполнены так, чтобы движущая сила распределялась по существу одинаково вокруг первого и/или второго соединителя. Первая часть привода, как правило, содержит кольцеобразный элемент, а второй соединитель, как правило, содержит поверхность зацепления, которая проходит, по меньшей мере, частично вокруг второго соединителя. Поверхность зацепления, как правило, окружает второй соединитель полностью, а кольцеобразный элемент, как правило, окружает при использовании поверхность зацепления полностью. Кольцеобразный элемент и поверхность зацепления, как правило, выполнены с возможностью вхождения в зацепление друг с другом и распределения движущей силы по существу одинаково вокруг, по меньшей мере, первого или второго соединителя. В альтернативном варианте привод может быть выполнен с возможностью распределения движущей силы в дискретных положениях так, чтобы, по меньшей мере, частично окружать, по меньшей мере, первый или второй соединитель.
Первая часть привода и вторая часть привода, как правило, выполнены так, чтобы первый и второй соединители могли приводиться в движение относительно друг друга вдоль по существу линейного пути.
Зубчатое приспособление привода может содержать резьбовой привод и резьбовой участок. Первая часть привода может быть резьбовым приводом, а вторая часть привода может быть резьбовым участком.
Резьбовой участок зубчатого приспособления, как правило, образует поверхность зацепления. Резьбовой участок, как правило, образует часть внешней поверхности второго соединителя. Резьбовой участок зубчатого приспособления может содержать винтовую канавку, которая расположена так, чтобы воображаемая ось, вокруг которой ориентирована винтовая канавка, была по существу параллельна движению первого соединителя и второго соединителя относительно друг друга.
Например, кольцеобразный элемент может быть зубчатым колесом резьбового привода, а резьбовой привод может дополнительно содержать зубчатый вал. Зубчатое колесо, как правило, имеет зубчатую внутреннюю периферийную поверхность и зубчатую внешнюю периферийную поверхность. Зубчатое приспособление может быть выполнено так, что зубчатый вал входит в зацепление с внешней периферийной зубчатой поверхностью кольцеобразного зубчатого колеса. Внутренняя периферийная зубчатая поверхность кольцеобразного зубчатого колеса, как правило, выполнена с возможностью зацепления с винтовой канавкой. Зубчатый вал может поддаваться вращению, но, как правило, захватывается в определенном положении относительно первого соединителя. Зубчатое приспособление может быть выполнено так, чтобы вращательное движение зубчатого вала преобразовывалось зубчатым колесом в поступательное относительное движение соединителей.
Первый соединитель или второй соединитель может иметь удлиненную канавку, например шпоночный паз, на своей внешней периферийной поверхности, то есть ориентированную вдоль воображаемой оси. В этом случае другой соединитель может иметь выступ, например шпонку, которая выполнена с возможностью скольжения в удлиненной канавке. Удлиненная канавка и выступ могут быть расположены так, чтобы при использовании предотвращалось вращение первого соединителя относительно второго соединителя.
Первый контакт может быть штыревым контактом, а второй контакт может быть гнездом. В альтернативном варианте первый контакт может быть гнездом, а второй контакт может быть штыревым контактом. Штыревой контакт может быть одним из множества штыревых контактов, а гнездо может быть одним из множества гнезд.
Электрическое соединительное устройство, как правило, пригодно для передачи мощности более 100 кВт или даже более 1 МВт.
Во втором аспекте настоящее изобретение обеспечивает способ соединения первого электрического соединителя со вторым электрическим соединителем, причем первый электрический соединитель имеет первый контакт, а второй электрический соединитель имеет второй контакт, при этом первый соединитель и второй соединитель являются подвижными между расцепленным положением, в котором первый контакт и второй контакт удалены друг от друга, и сцепленным положением, в котором первый контакт и второй контакт находятся в электрическом контактном взаимодействии, причем указанный способ предусматривает
распределение движущего усилия вокруг, по меньшей мере, первого соединителя или второго соединителя и
приведение первого соединителя и второго соединителя в движение относительно друг друга при использовании зубчатого приспособления так, чтобы первый соединитель и второй соединитель двигались между расцепленным положением и сцепленным положением.
В третьем аспекте настоящее изобретение обеспечивает получение первого электрического соединителя для машинного кабеля, причем соединитель содержит первый контакт и часть привода, содержащую зубчатое приспособление и выполненную с возможностью вхождения в зацепление с другой частью привода другого соединителя, который имеет второй контакт, так чтобы первый соединитель и второй соединитель были подвижными между расцепленным положением, в котором первый и второй контакты удалены друг от друга, и сцепленным положением, в котором первый и второй контакты находятся в электрическом контактном взаимодействии, в котором при использовании, по меньшей мере, первая часть привода или вторая часть привода прикладывает движущую силу, которая распределяется вокруг, по меньшей мере, одного из соединителей.
Настоящее изобретение станет более понятым из следующего описания характерных вариантов осуществления настоящего изобретения. Это описание сделано со ссылкой на сопроводительные чертежи.
КРАТКОЕ ОПИСАНИЕ ЧЕРТЕЖЕЙ
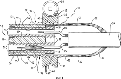
Фиг.1 – схематическая иллюстрация (с частичным сечением) соединителя, соответствующего характерному варианту осуществления настоящего изобретения.
Фиг.2 – схематическое сечение соединителя, соответствующего другому характерному варианту осуществления настоящего изобретения.
Фиг.3 – схематическое сечение соединителя, соответствующего дополнительному характерному варианту осуществления настоящего изобретения.
Фиг.4(а) и фиг.4(b) – изометрические изображения зубчатых колес.
Фиг.4(с) – сечение зубчатого вала.
Фиг.4(d) – изометрическое изображение зубчатого вала, соответствующее вариантам осуществления настоящего изобретения.
ПОДРОБНОЕ ОПИСАНИЕ ХАРАКТЕРНЫХ ВАРИАНТОВ ОСУЩЕСТВЛЕНИЯ НАСТОЯЩЕГО ИЗОБРЕТЕНИЯ
Электрическое соединительное устройство, соответствующее характерным вариантам осуществления настоящего изобретения, описано со ссылками на сопроводительные чертежи, приведенные на фиг.1 – 4. В этом варианте осуществления электрическое соединительное устройство содержит соединитель 10 и соединитель 50 или соединитель 10 и соединитель 70.
В этом варианте осуществления элементы соединителей 10, 50 и 70 имеют такие размеры и конструкции, чтобы электрическое соединительное устройство было пригодно для передачи нескольких сотен киловатт или нескольких мегаватт мощности. Соединитель 10 предназначен для соединения многожильного машинного кабеля, например, трехфазного кабеля, имеющего три многостренговые жилы. Соединитель 50 является сдвоенной розеткой (удерживающим соединительным устройством), предназначенной для соединения двух соединителей 10. Соединитель 70 является розеткой для соединения соединителя 10 с электрической машиной.
Соединитель 10 является вилкой, которая содержит изоляционный корпус 11, который имеет по существу цилиндрическую форму и внешнюю оболочку 12, образованную из металлического и/или изоляционного полимерного материала. Соединитель 10 имеет торцевую поверхность 13, которая имеет три апертуры (на фиг.1 показано только две апертуры), которые ограничены муфтами, например муфтами 14 и 16. Из каждой апертуры внутрь выступает изоляционная втулка 18. Штыревой контакт 20 соединен с наконечником 22, который соединен с отдельной жилой 24 многожильного машинного кабеля 26. Дополнительная жила 26 многожильного машинного кабеля также показана (не соединенной).
Внешняя оболочка 12 содержит винтовую канавку 34. На фиг.1-4 также показано кольцеобразное зубчатое колесо 36 и зубчатый вал 38. Внутренняя зубчатая поверхность 40 зубчатого колеса 36 выполнена с возможностью зацепления с винтовой канавкой 34, внешняя зубчатая поверхность 42 выполнена с возможностью зацепления с зубчатым валом 38.
На фиг.2 иллюстрируется розетка 50, содержащая внешнюю оболочку 51. Внешняя оболочка 51 устанавливает зубчатый вал 38 и зубчатое колесо 36 так, чтобы зубчатое колесо 36 поддавалось вращению вокруг воображаемой продольной центральной оси розетки 50, а зубчатый вал 38 поддавался вращению вокруг направления, перпендикулярного этой воображаемой продольной оси. Розетка 50 также содержит гнезда 52, выполненные с возможностью сцепления со штыревыми контактами, например штыревым контактом 20, показанным на фиг.1. Пары гнезд 52 электрически соединены и удерживаются в определенном положении изоляционным корпусом 53. Изоляционный корпус 53 также содержит заземления 54.
Розетка 70, иллюстрированная на фиг.3, относится к розетке, иллюстрируемой на фиг.2, но в этом случае содержит наконечники 52а, причем каждый наконечник выполнен с возможностью приема электрического проводника (не показано), которые при использовании направляются в корпусе электрической машины (не показано). Фланец выполнен с возможностью механического соединения с корпусом электрической машины.
Если вилка 10 сцепляется с розетками 50 или 70, то путь факела ограничен между поверхностью 55 (см. фиг.2 или фиг.3) и поверхностью 56 (см. фиг.1). Поверхности 55 и 56 профилированы так, чтобы механический допуск между сопряженными поверхностями имел порядок 0,2-0,4 мм. В этом характерном примере поверхность 55 имеет диаметр 92,3-92,4 мм, а поверхность 56 имеет диаметр 92,0-92,1 мм. Поверхности 55 и 56 являются металлическими и расположенными так, чтобы в том случае, если электрический факел имеет место с соединенными соединителями 10 и 50 или 10 и 70, то газообразное вещество может выходить вдоль узкого пути факела, ограниченного между поверхностями 55 и 56 для снятия давления из соединенных соединителей 10 и 50 или 10 и 70. Однако вследствие малых допусков и металлической природы поверхностей 55 и 56 пути факела газообразное вещество охлаждается, когда оно покидает поверхности пути факела, так что вероятность взрыва уменьшается. В этом варианте осуществления поверхности 55 и 56 имеют длину порядка 100 мм.
На фиг.4(b) иллюстрируется зубчатое колесо 36 в более крупном масштабе. На фиг.4(а) иллюстрируется зубчатое колесо 60, соответствующее разновидности этого варианта осуществления. В этом случае зубчатое колесо содержит внутреннюю зубчатую часть для вхождения в зацепление с винтовой канавкой 34, а внешняя периферия имеет ряд углублений 42а для приема рычага (не показан). Этот рычаг может использоваться для вращения зубчатого колеса 60. В этом случае не требуется ни зубчатого вала, например зубчатого вала 38, ни зубчатой поверхности 42.
Зубчатое колесо 36 и зубчатый вал 38 образуют червячный привод, а вращательное движение зубчатого вала 38 преобразуется во вращательное движение зубчатого колеса 36. Вращательное движение зубчатого колеса 36 преобразуется в линейное движение розетки 50 относительно вилки 10, благодаря чему штыревые контакты, например штыревой контакт 20, и гнезда 52, а также металлические поверхности 55 и 56 пути факела движутся между положением расцепления и сцепления.
В этом варианте осуществления вилка 10 имеет также шпоночный паз 62 в виде канавки, которая проходит на внешней оболочке 12 через винтовую канавку 34 в направлении, параллельном воображаемой оси, вокруг которой образована винтовая канавка 34. Розетки 50 и 70 имеют шпонку 64 в виде выступа, который выполнен с возможностью скольжения в шпоночном пазу 62. Следовательно, шпоночный паз 62 и шпонка 64 предотвращают вращение вилки 10 относительно розетки 50 или 70. Шпоночный паз 62 и шпонка 64 могут быть расположены на соединителях 10 и 50 или 70, соответственно, так что могут быть соединены только соединители предварительно определенного типа. Например, соединители для соответствующих применений могут иметь шпоночные пазы и шпонки в соответствующих положениях на соединителях, так что только шпонки и шпоночные пазы обеспечивают возможность соединения соответствующих соединителей. Кроме того, каждый соединитель может иметь более чем одну шпонку или шпоночный паз.
Хотя настоящее изобретение было описано со ссылкой на конкретные примеры, квалифицированным в этой области специалистам будет очевидно, что настоящее изобретение может быть реализовано во многих других формах. Например, устройство может содержать вилку и розетку, а множество по существу равномерно разнесенных приводных приспособлений может окружать вилку и розетку. В этом случае приводные устройства могут быть размещены для приложения движущих сил в отстоящих друг от друга положениях. Кольцеобразное зубчатое колесо также может иметь зубчатую часть на одной из ее боковых поверхностей, предназначенных для вхождения в зацепление с зубчатым валом, например валом 38. Кроме того, должно быть очевидным, что устройство не ограничено одним соединителем, являющимся вилкой, и другим соединителем, являющимся розеткой. Например, оба соединителя могут быть соответствующими вилками или один из них может быть наконечником.
Формула изобретения
1. Электрическое соединительное устройство для машинного кабеля, содержащее первый соединитель, имеющий первый контакт, второй соединитель, имеющий второй контакт, причем первый соединитель и второй соединитель являются подвижными между расцепленным положением, в котором первый и второй контакты удалены друг от друга, и сцепленным положением, в котором первый и второй контакты являются электрически соединенными, и привод для приложения движущей силы для приведения в движение первого и второго соединителей относительно друг друга, благодаря которой первый соединитель и второй соединитель движутся между расцепленным и сцепленным положениями, причем привод содержит зубчатое приспособление и выполнен с возможностью распределения движущей силы вокруг, по меньшей мере, части, по меньшей мере, одного первого соединителя или второго соединителя.
2. Электрическое соединительное устройство по п.1, в котором каждый первый соединитель и второй соединитель содержит корпус и в котором первый соединитель содержит первую поверхность пути факела, а второй соединитель содержит вторую поверхность пути факела, причем поверхности пути факела расположены так, что одна из поверхностей пути факела окружает другую поверхность пути факела, когда соединители движутся в сцепленное положение, с тем чтобы ограничить путь факела между поверхностями пути факела.
3. Электрическое соединительное устройство по п.2, в котором допуск между первой и второй поверхностями пути факела устанавливают таким, чтобы они сопрягались с допуском менее 0,4 мм между ними.
4. Электрическое соединительное устройство по п.3, в котором допуск составляет менее 0,2 мм.
5. Электрическое соединительное устройство по п.1, в котором привод имеет первую часть привода, связанную с первым соединителем, и вторую часть привода, связанную со вторым соединителем.
6. Электрическое соединительное устройство по п.5, в котором первая часть привода и вторая часть привода выполнены так, что движущая сила распределяется по существу одинаково вокруг, по меньшей мере, одного первого соединителя или второго соединителя, и в котором первая часть привода содержит кольцеобразный элемент.
7. Электрическое соединительное устройство по п.6, в котором второй соединитель содержит поверхность зацепления, которая проходит, по меньшей мере, частично вокруг второго соединителя.
8. Электрическое соединительное устройство по п.7, в котором поверхность зацепления окружает второй соединитель полностью, а кольцеобразный элемент первого соединителя полностью окружает поверхность зацепления.
9. Электрическое соединительное устройство по п.7, в котором кольцеобразный элемент и поверхность зацепления выполнены с возможностью зацепления друг с другом и распределения движущей силы по существу одинаково вокруг, по меньшей мере, одного первого или второго соединителя.
10. Электрическое соединительное устройство по п.8, в котором кольцеобразный элемент и поверхность зацепления выполнены с возможностью зацепления друг с другом и распределения движущей силы по существу одинаково вокруг, по меньшей мере, одного первого или второго соединителя.
11. Электрическое соединительное устройство по п.1, в котором привод выполнен с возможностью распределения движущей силы в дискретных положениях так, чтобы, по меньшей мере, частично окружать, по меньшей мере, один первый или второй соединитель.
12. Электрическое соединительное устройство по п.5, в котором первая часть привода и вторая часть привода выполнены так, чтобы соединители могли приводиться в движение относительно друг друга по существу по линейному пути.
13. Электрическое соединительное устройство по п.5, в котором зубчатое приспособление содержит резьбовой привод и резьбовой участок и в котором первая часть привода является резьбовым приводом, а вторая часть привода является резьбовым участком.
14. Электрическое соединительное устройство по п.7, в котором зубчатое приспособление содержит резьбовой привод и резьбовой участок и в котором первая часть привода является резьбовым приводом, а вторая часть привода является резьбовым участком и в котором резьбовой участок зубчатого приспособления образует поверхность зацепления.
15. Электрическое соединительное устройство по п.14, в котором резьбовой участок зубчатого приспособления образует часть внешней поверхности второго соединителя.
16. Электрическое соединительное устройство по п.15, в котором резьбовой участок зубчатого приспособления содержит винтовую канавку, которая окружает второй соединитель и расположена так, чтобы воображаемая ось, относительно которой образована винтовая канавка, была по существу параллельна движению первого контакта и второго контакта относительно друг друга.
17. Электрическое соединительное устройство по п.16, в котором кольцеобразный элемент является зубчатым колесом резьбового привода, содержащего зубчатый вал.
18. Электрическое соединительное устройство по п.17, в котором зубчатое колесо зубчатого приспособления имеет зубчатую внутреннюю периферийную поверхность и зубчатую внешнюю периферийную поверхность.
19. Электрическое соединительное устройство по п.18, в котором зубчатое приспособление выполнено так, что зубчатый вал входит в зацепление с внешней периферийной зубчатой поверхностью кольцеобразного зубчатого колеса.
20. Электрическое соединительное устройство по п.17, в котором кольцеобразное зубчатое колесо имеет зубчатый участок на одной из своих боковых поверхностей, выполненный с возможностью зацепления с зубчатым валом.
21. Электрическое соединительное устройство по п.16, в котором кольцеобразное зубчатое колесо содержит внутренний зубчатый участок для зацепления с винтовой канавкой, а внешняя периферия кольцеобразного зубчатого колеса имеет ряд углублений для размещения рычага.
22. Электрическое соединительное устройство по п.18, в котором внутренняя периферийная зубчатая поверхность кольцеобразного зубчатого колеса выполнена с возможностью зацепления с винтовой канавкой.
23. Электрическое соединительное устройство по п.16, в котором зубчатый вал зубчатого приспособления установлен с возможностью вращения, но захватывается в определенном положении относительно первого соединителя.
24. Электрическое соединительное устройство по п.16, в котором зубчатое приспособление выполнено так, чтобы вращательное движение зубчатого вала преобразовывалось зубчатым колесом в поступательное относительное движение соединителей.
25. Электрическое соединительное устройство по любому из предыдущих пунктов, в котором первый соединитель или второй соединитель имеет удлиненную канавку на своей внешней периферийной поверхности, ориентированную вдоль воображаемой оси, а другой соединитель имеет выступ, который выполнен с возможностью скольжения в удлиненной канавке.
26. Электрическое соединительное устройство по п.25, в котором удлиненная канавка и выступ расположены так, что при использовании предотвращается вращение первого соединителя относительно второго соединителя.
27. Электрическое соединительное устройство по п.1, в котором первый контакт является штыревым контактом, а второй контакт является гнездом.
28. Электрическое соединительное устройство по п.1, в котором первый контакт является гнездом, а второй контакт является штыревым контактом.
29. Электрическое соединительное устройство по п.26, в котором гнездо является одним из множества гнезд, а штыревой контакт является одним из множества штыревых контактов.
30. Электрическое соединительное устройство по п.27, в котором гнездо является одним из множества гнезд, а штыревой контакт является одним из множества штыревых контактов.
31. Электрическое соединительное устройство по п.1, являющееся пригодным для передачи мощности более 100 кВт.
32. Электрическое соединительное устройство по п.1, являющееся пригодным для передачи мощности более 1 МВт.
33. Способ соединения первого электрического соединителя со вторым электрическим соединителем, причем первый электрический соединитель имеет первый контакт, а второй электрический соединитель имеет второй контакт, первый соединитель и второй соединитель являются подвижными между расцепленным положением, в котором первый контакт и второй контакт удалены друг от друга, и сцепленным положением, в котором первый контакт и второй контакт находятся в электрическом контактном взаимодействии,
предусматривающий распределение движущей силы вокруг, по меньшей мере, одного первого соединителя или второго соединителя и приведение первого соединителя и второго соединителя в движение относительно друг друга при использовании зубчатого приспособления так, чтобы первый соединитель и второй соединитель двигались между расцепленным положением и сцепленным положением.
34. Первый электрический соединитель для машинного кабеля, содержащий первый контакт и часть привода, содержащую зубчатое приспособление и выполненную с возможностью зацепления с другой частью привода другого соединителя, который имеет второй контакт, так чтобы первый соединитель и второй соединитель были подвижными между расцепленным положением, в котором первый и второй контакты удалены друг от друга, и сцепленным положением, в котором первый и второй контакты находятся в электрическом контактном взаимодействии, в котором при использовании, по меньшей мере, одна первая часть привода или вторая часть привода прикладывает движущую силу, которая распределяется вокруг, по меньшей мере, одного из соединителей.
РИСУНКИ
|
|