|
|
(21), (22) Заявка: 2007106866/09, 31.05.2005
(24) Дата начала отсчета срока действия патента:
31.05.2005
(30) Конвенционный приоритет:
26.07.2004 KR 10-2004-0058356
(46) Опубликовано: 27.05.2008
(56) Список документов, цитированных в отчете о поиске:
US 6524739 B1, 24.02.2003. SU 1771035 A1, 23.10.1992. US 6432575 B1, 13.08.2002. JP 2000-311667 А, 07.11.2000. JP 2003-017025 А, 17.01.2003.
(85) Дата перевода заявки PCT на национальную фазу:
26.02.2007
(86) Заявка PCT:
KR 2005/001617 (31.05.2005)
(87) Публикация PCT:
WO 2006/011710 (02.02.2006)
Адрес для переписки:
129010, Москва, ул. Б.Спасская, 25, стр.3, ООО “Юридическая фирма Городисский и Партнеры”, пат.пов. А.В.Мицу
|
(72) Автор(ы):
МООН Ки Еоб (KR)
(73) Патентообладатель(и):
ЭЛ ДЖИ КЕМ, ЛТД. (KR)
|
(54) СОЕДИНИТЕЛЬНАЯ СТРУКТУРА ДЛЯ ЭЛЕКТРИЧЕСКОГО СОЕДИНЕНИЯ МОДУЛЯ ЗАЩИТНОЙ СХЕМЫ И ЭЛЕМЕНТА АККУМУЛЯТОРНОЙ БАТАРЕИ И БЛОК АККУМУЛЯТОРНОЙ БАТАРЕИ
(57) Реферат:
Изобретение относится к блоку аккумуляторной батареи с модулем защитной схемы (МЗС) и соединительной структурой. Техническим результатом изобретения является упрощение технологии и времени сборки. Согласно изобретению раскрыта структура, обеспечивающая электрическое соединение, и блок аккумуляторной батареи. Структура содержит электрическую соединительную деталь, которая включает изоляционный корпус для изоляции МЗС от элемента аккумуляторной батареи, и катодный и анодный выводы, установленные на изоляционном корпусе в изолированном друг от друга положении. Один или оба из катодного и анодного выводов привариваются к соответствующим электродным клеммам элемента аккумуляторной батареи. Катодный и анодный выводы соединяются в контактном положении с соответствующими электродными отпайками МЗС, когда МЗС сцепляется с элементом аккумуляторной батареи. Структура соединения обеспечивает возможность сварки только электродных выводов к элементу аккумуляторной батареи и обеспечивает возможность соединения электродных клемм с электродными отпайками посредством контакта без дополнительной сварочной операции. 3 н. и 9 з.п. ф-лы, 5 ил.
Область техники, к которой относится изобретение
Настоящее изобретение относится к структуре, обеспечивающей электрическое соединение между модулем защитной схемы (МЗС) и элементом аккумуляторной батареи, и к блоку аккумуляторной батареи, содержащему то же самое. В частности, настоящее изобретение относится к структуре, обеспечивающей электрическое соединение для модуля защитной схемы и элемента аккумуляторной батареи, которая содержит электрическую соединительную деталь, имеющую особую структуру, включающую электродные выводы для соединения электродных отпаек модуля защитной схемы, который подавляет избыточную зарядку, чрезмерную разрядку и сверхток элемента аккумуляторной батареи, с электродными клеммами элемента аккумуляторной батареи так, чтобы предоставить возможность сварки только электродных выводов электрической соединительной детали к элементу аккумуляторной батареи и предоставить возможность соединения электродных клемм с электродными отпайками через контакт между ними посредством сцепления между МЗС и элементом аккумуляторной батареи, тем самым значительно сокращая количество стадий сборочного процесса, и к блоку аккумуляторной батареи, содержащему то же самое.
Уровень техники
Вследствие развития мобильной технологии и быстрого роста спроса на мобильные приложения также быстро возрос спрос на аккумуляторные батареи, и, в частности, в настоящее время литиевые аккумуляторные батареи широко используются в качестве источника питания для различных электронных устройств, включая мобильные устройства, из-за своих свойств, таких как высокая удельная энергия, высокое рабочее напряжение и отличные стойкость и срок службы.
Тем не менее, поскольку литиевые аккумуляторные батареи содержат различные огнеопасные материалы, существуют недостатки, такие как тепловыделение и взрывоопасность, вызываемые избыточной зарядкой, сверхтоком и внешним физическим ударом, приводящие к потере устойчивости аккумуляторной батареи. Для решения этой проблемы литиевая аккумуляторная батарея имеет модуль защитной схемы (МЗС), который встроен в нее и соединен с элементом аккумуляторной батареи для того, чтобы эффективно противодействовать отклонениям в работе аккумуляторной батареи, таким как избыточная зарядка.
МЗС содержит полевой транзистор, действующий как переключающее устройство для управления электрическим током, и различные пассивные устройства, такие как измеритель напряжения, резистор и конденсатор. МЗС подавляет избыточную зарядку, чрезмерную разрядку и сверхток аккумуляторной батареи, таким образом предотвращая взрыв или перегрев аккумуляторной батареи, утечку жидкости и ухудшение свойств зарядки и разрядки. В дополнение, МЗС подавляет ухудшение электрических свойств, а также физические и механические аномалии аккумуляторной батареи. Как результат, МЗС действует для увеличения срока службы аккумуляторной батареи, одновременно ликвидируя ее потенциальные опасности.
На фиг.1 проиллюстрирован способ сборки для электрического соединения МЗС с элементом аккумуляторной батареи в обычной литиевой аккумуляторной батарее.
Как показано на фиг.1, элемент 1 аккумуляторной батареи содержит выступающую анодную (отрицательную) или катодную (положительную) клемму 1а (здесь проиллюстрирована анодная клемма), сформированную на его верхнем торце, наружный корпус, составляющий катодную или анодную клемму как электрод противоположной полярности. Элемент 1 аккумуляторной батареи, кроме того, содержит два электродных вывода 2 и 3 для электрического соединения между элементом 1 аккумуляторной батареи и МЗС 4. Катодный вывод 2 приварен к верхнему торцу элемента 1 аккумуляторной батареи, и катодная отпайка (не показана) предоставлена на нижнем торце МЗС 4, тогда как анодный вывод 3 соединен с анодной клеммой 1а элемента 1 аккумуляторной батареи, и анодная отпайка (не показана) предоставлена на нижнем торце МЗС 4. С целью предотвращения возникновения электрического замыкания через контакт между другими частями анодного вывода 3, соединенного с анодной отпайкой и МЗС 4, между ними вставлена изоляционная бумага 5.
В этой структуре для обеспечения электрического соединения между элементом аккумуляторной батареи и МЗС требуется несколько стадий сварки. То есть, необходимо приварить соответствующие электродные выводы 2 и 3 к электродным клеммам элемента 1 аккумуляторной батареи и после чего приварить электродные выводы 2 и 3 к электродным отпайкам МЗС 4. Более того, вследствие малого веса и компактности аккумуляторной батареи компоненты аккумуляторной батареи дополнительно уменьшены в размерах и соответственно сварка таких мелких компонентов требует наличия искусной техники или высокоточного оборудования, таким образом усложняя процесс сборки. Как результат, для процесса сборки требуется много времени и увеличивается частота дефектной сборки. Более того, для того чтобы приварить электродные выводы 2 и 3, приваренные к элементу 1 аккумуляторной батареи, к электродным отпайкам нижнего торца МЗС, на боковой поверхности крышки (не показана) аккумуляторной батареи должна быть сформирована выемка для того, чтобы предоставить подступ к связанным позициям со стороны боковой поверхности. Однако выемка также является входным каналом для посторонних веществ (например, воды), что приводит к неисправности или повреждению аккумуляторной батареи.
Раскрытие изобретения
Настоящее изобретение было разработано с учетом вышеупомянутых проблем, и целью настоящего изобретения является предоставление структуры, обеспечивающей электрическое соединение, которая предоставляет возможность сокращения количества сварочных операций и компонентов для электрического соединения элемента аккумуляторной батареи и МЗС, таким образом сокращая количество стадий сборки блока аккумуляторной батареи и время сборки.
Еще одной целью изобретения является предоставление новой электрической соединительной детали, которая используется для вышеупомянутой структуры, обеспечивающей электрическое соединение.
Еще одной целью изобретения является предоставление блока аккумуляторной батареи, в которой используется структура, обеспечивающая электрическое соединение, для электрического соединения между элементом аккумуляторной батареи и МЗС для того, чтобы исключить боковую сварочную выемку, требуемую для процесса сборки обычной аккумуляторной батареи, таким образом предотвращая неисправность или повреждение аккумуляторной батареи, вызываемые попаданием посторонних веществ через эту выемку.
В соответствии с одной особенностью настоящего изобретения, вышеупомянутые и другие цели могут быть достигнуты путем предоставления структуры, обеспечивающей электрическое соединение, для соединения модуля защитной схемы (МЗС) и элемента аккумуляторной батареи, содержащей: электрическую соединительную деталь, используемую для электрического соединения МЗС и элемента аккумуляторной батареи, где электрическая соединительная деталь включает изоляционный корпус для изоляции модуля защитной схемы от элемента аккумуляторной батареи, и катодный вывод и анодный вывод, установленные на изоляционном корпусе в электрически изолированном друг от друга положении, где один или оба из катодного вывода и анодного вывода приварены к соответствующим электродным клеммам элемента аккумуляторной батареи, и где катодный и анодный выводы соединены в контактном положении с соответствующими электродными отпайками МЗС, когда МЗС сцеплен с элементом аккумуляторной батареи.
Соответственно, когда выполняется сборка блока аккумуляторной батареи, используя структуру, обеспечивающую электрическое соединение, изобретения, так как сварка выполняется только для прикрепления электродных выводов электрической соединительной детали к электродным клеммам элемента аккумуляторной батареи, и электрическая соединительная деталь электрически соединена с МЗС через физический контакт между ними, например путем механической сцепки между ними, представляется возможность значительно сократить количество сварочных операций и удалить боковую выемку для сварки электродных выводов к электродной отпайке. Дополнительно, когда используется структура, обеспечивающая электрическое соединение, изобретения, так как не нужно предоставлять дополнительные детали (например, изоляционную бумагу по предшествующему уровню техники) для изоляции других частей, кроме частей электродных клемм элемента аккумуляторной батареи, электрически соединенных с электродными отпайками МЗС, представляется возможным значительно сократить количество сборочных процессов блока аккумуляторной батареи.
Предпочтительно, изоляционный корпус имеет прямоугольную форму, и катодный и анодный выводы установлены на изоляционном корпусе, протягиваясь от двух сторон изоляционного корпуса, и расположены с предопределенным зазором от верхнего и нижнего торцов изоляционного корпуса на обеих сторонах изоляционного корпуса, соответственно. При такой структуре, когда соединительная деталь установлена между элементом аккумуляторной батареи и МЗС, элемент аккумуляторной батареи и МЗС могут быть электрически изолированы посредством изоляционного корпуса, за исключением заданной части электродных выводов.
Предпочтительно, в этой структуре часть катодного вывода и/или анодного вывода загнута вниз в направлении электродной клеммы элемента аккумуляторной батареи для того, чтобы без труда соприкасаться со связанной электродной клеммой элемента аккумуляторной батареи, а другая его часть загнута вверх в направлении электродной отпайки МЗС так, чтобы без труда соприкасаться с соответствующей отпайкой МЗС. Соответственно, электродные выводы и электродные клеммы могут быть без труда сварены, и электрическое соединение между ними может быть без труда достигнуто.
Предпочтительно, изоляционный корпус сформирован с расположенным в его центре открытым снизу проемом или сквозным отверстием, один (а) из двух электродных выводов имеет загнутую вниз часть, сформированную рядом с изоляционным корпусом, и загнутую вверх часть, сформированную на внешнем конце электродного вывода, а другой (б) электродный вывод имеет внутренний конец, тянущийся к открытому снизу проему или сквозному отверстию изоляционного корпуса, и загнутую вверх часть, сформированную на внешнем конце другого электродного вывода. При этой структуре загнутый вниз внешний конец электродного вывода (а) соприкасается со связанной электродной клеммой элемента аккумуляторной батареи и внутренний конец электродного вывода (б) соприкасается с другой связанной электродной клеммой (например, выступающей электродной клеммой) элемента аккумуляторной батареи сквозь открытый снизу проем или сквозное отверстие. Кроме того, загнутые вверх внешние концы электродных выводов соединены со связанными электродными отпайками МЗС, соответственно.
Сварка соединительной детали к электродным клеммам элемента аккумуляторной батареи может быть выполнена на одном или обоих электродных выводах и может быть выполнена посредством, например, лазерной сварки, контактной электросваркой и т.п. Тем не менее, в некоторых случаях соединительная деталь может быть присоединена к электродным клеммам элемента аккумуляторной батареи посредством пайки, вместо сварки, и следует понимать, что эти модификации не выходят за рамки объема изобретения.
Предпочтительно, загнутые вверх части двух электродных выводов, соприкасающиеся с электродными отпайками МЗС, расположены на внешних концах двух электродных выводов, и внешние концы двух электродных выводов загнуты внутрь в дугообразной форме так, чтобы ввестись в упругий контакт с электродными отпайками МЗС. Электродные отпайки, сформированные на нижнем торце МЗС, имеют направленные вниз перпендикулярные части, так что дугообразно загнутые части электродных выводов могут ввестись в упругий контакт с направленными вниз перпендикулярными частями электродных отпаек.
Более того, перпендикулярные части электродных отпаек имеют выпуклые структуры, выдающиеся в сторону электродных выводов соединительной детали так, что может быть осуществлен более упругий контакт между электродными отпайками и электродными выводами.
В особенности, как в случае вышеописанных вариантов осуществления, когда внешние концы электродных выводов имеют дугообразно загнутые структуры, и/или когда перпендикулярные части электродных отпаек имеют выдающиеся внутрь выпуклые структуры, возникает полезный эффект, заключающийся в том, что МЗС может быть установлен на элементе аккумуляторной батареи более устойчиво.
В структуре, обеспечивающей электрическое соединение, по изобретению электродные отпайки МЗС могут быть электрически соединены с электродными выводами соединительной детали посредством физического контакта между ними. Физический контакт обеспечивается посредством сцепления между МЗС и элементом аккумуляторной батареи. Сцепление МЗС к элементу аккумуляторной батареи может быть выполнено различными способами, включая особые механические сцепляющие структуры МЗС, элемента аккумуляторной батареи или иных деталей (например, корпуса крышки), склеивание, сварку или пайку между ними.
Предпочтительно, МЗС имеет структуру, сформированную путем литья под давлением, для подложки защитной схемы со сформированной на ней защитной схемой и электродных отпаек вместе с корпусом крышки, для предохранения внешних поверхностей подложки защитной схемы и электродных отпаек. В некоторых случаях литье под давлением может выполняться с включением устройств безопасности, таких как МЗС и т.п. Подробные описания МЗС, сформированных путем литья под давлением, раскрыты в корейских патентных заявках №№ 2003-88528, 2004-2625 и 2005-6886 заявителя, которые включены в настоящее описание для сведения. Так как структура сформирована посредством литья под давлением корпуса крышки с внедренной в нее подложкой защитной схемы, нижний конец корпуса крышки сочленяется с элементом аккумуляторной батареи, тем самым обеспечивая возможность выполнения механического сцепления между ними.
Как описано выше, изобретение предоставляет новую электрическую соединительную деталь для структуры, обеспечивающей электрическое соединение. Ее подробное описание изложено выше.
В соответствии с еще одной особенностью изобретения, предоставлен блок аккумуляторной батареи, выполненный с использованием структуры, обеспечивающей электрическое соединение. Блок аккумуляторной батареи изготавливается путем установки МЗС на элемент аккумуляторной батареи, имеющий электродную сборку из катода/разделительной мембраны/анода, посредством вышеописанной структуры, обеспечивающей электрическое соединение.
Элемент аккумуляторной батареи изобретения может быть использован в любом элементе, способном заряжаться и разряжаться, и, предпочтительно, защитная бумага прикреплена на внешнюю поверхность сцепления между элементом аккумуляторной батареи и МЗС, чтобы удерживать МЗС относительно элемента аккумуляторной батареи в поперечном направлении.
Краткое описание чертежей
Вышеупомянутые и другие цели, отличительные черты и другие преимущества настоящего изобретения будут очевидны из следующего подробного описания вместе с сопутствующими чертежами, в которых:
на фиг.1 показан вид в перспективе, иллюстрирующий способ сборки для электрического соединения МЗС к элементу аккумуляторной батареи в обычной литиевой аккумуляторной батарее;
на фиг.2 показан вид в перспективе, иллюстрирующий структуру соединения МЗС для аккумуляторной батареи согласно одному варианту осуществления настоящего изобретения;
на фиг.3 показан вертикальный разрез и его частично увеличенный вид, иллюстрирующие блок аккумуляторной батареи согласно одному варианту осуществления настоящего изобретения, в котором электрическая соединительная деталь и МЗС установлены на элементе аккумуляторной батареи;
на фиг.4 показана схема последовательности операций, иллюстрирующая процесс сборки блока аккумуляторной батареи, используя структуру, обеспечивающую электрическое соединение, согласно настоящему изобретению; и
на фиг.5 показана схема, иллюстрирующая блок аккумуляторной батареи согласно одному варианту осуществления настоящего изобретения.
Осуществление изобретения
Ниже будут описаны предпочтительные варианты осуществления изобретения со ссылкой на чертежи. Следует отметить, что варианты осуществления раскрыты с целью иллюстрации, и они не ограничивают объем настоящего изобретения.
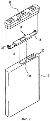
На фиг.2 показан вид в перспективе, иллюстрирующий структуру соединения МЗС для аккумуляторной батареи в соответствии с одним вариантом осуществления настоящего изобретения.
Ссылаясь на фиг.2, элемент 11 аккумуляторной батареи содержит выступающую анодную клемму 11а, сформированную в центре ее верхнего торца, и наружный корпус, составляющий катодную клемму.
Электрическая соединительная деталь 14 для электрического соединения между МЗС 17 и элементом 11 аккумуляторной батареи содержит прямоугольный изоляционный корпус 14, катодный вывод 12 и анодный вывод 13, соответственно протягивающиеся от обеих сторон изоляционного корпуса 14. Внутренние концы катодного вывода 12 и анодного вывода 13 разделены друг от друга внутри изоляционного корпуса 14 так, чтобы катодный вывод 12 и анодный вывод 13 были электрически изолированы друг от друга.
Катодный вывод 12 протягивается от изоляционного корпуса 14 на определенное расстояние и далее загибается вниз. Соответственно, когда соединительная деталь 14 устанавливается на верхнем торце элемента 11 аккумуляторной батареи, загнутая вниз часть катодного вывода 12 вводится в контакт с верхним торцом элемента 11 аккумуляторной батареи (то есть катодной клеммой). Дополнительно, внешний конец катодного вывода 12 загнут внутрь в виде дуги. Таким образом, внешний конец катодного вывода 12 может быть введен в упругий контакт с катодной отпайкой (не показана), выступающей от нижнего торца МЗС 17.
Изоляционной корпус 14 сформирован со сквозным отверстием в его центре, на месте, соответствующем анодной клемме 11а элемента аккумуляторной батареи 11. Так как внутренний конец анодного вывода 13 протягивается к сквозному отверстию изоляционного корпуса 14, он соприкасается с анодной клеммой 11а элемента аккумуляторной батареи 11 с соединительной деталью 14, установленной на верхнем торце элемента 11 аккумуляторной батареи. Между тем, в отличие от катодного вывода 12, анодный вывод 13 сформирован без загнутой вниз части. Вместо этого, к связанному верхнему торцу элемента 11 аккумуляторной батареи прикрепляется изоляционный материал 20 для того, чтобы предотвратить возникновение электрического замыкания, когда часть, за исключением внутреннего конца анодного вывода, соприкасается с верхним торцом элемента 11 аккумуляторной батареи. Дополнительно, как и в случае катодного вывода 12, внешний конец анодного вывода 13 имеет загнутую внутрь дугообразную структуру так, чтобы внешний конец анодного вывода 13 мог быть введен в упругий контакт с анодной отпайкой (не показана), выступающей от нижнего торца МЗС 17.
МЗС 17 имеет интегральную структуру, сформированную путем литья под давлением крышки корпуса с внедренной в нее подложкой защитной схемы (не показана). Электродные отпайки отливаются под давлением вместе с подложкой защитной схемы, в соединенном с ней положении, и тогда, по меньше мере, некоторые части электродных отпаек обнажаются со стороны нижнего торца МЗС 17 так, что электродные отпайки соединяются с электродными выводами 12 и 13 электрической соединительной детали 14.
Когда электрическая соединительная деталь 14 устанавливается на верхнем торце элемента 11 аккумуляторной батареи, загнутая вниз часть катодного вывода 12 вводится в контакт с верхним торцом элемента 11 аккумуляторной батареи, а внутренний конец анодного вывода 13 вводится в контакт с анодной клеммой 11а элемента 11 аккумуляторной батареи через сквозное отверстие изоляционного корпуса 14. Таким образом, когда одна или обе из этих контактных частей сварены с соответствующими частями, электрическая соединительная деталь 14 устанавливается на элементе 11 аккумуляторной батареи с электродными выводами 12 и 13, электрически соединенными с соответствующими электродными клеммами элемента 11 аккумуляторной батареи (то есть с катодной клеммой верхней поверхности элемента аккумуляторной батареи и с выступающей анодной клеммой 11а). После чего, когда МЗС 17 сцепляется с элементом 11 аккумуляторной батареи, накрывая электрическую соединительную деталь 14, электродные выводы 12 и 13 электрической соединительной детали 14 могут быть соединены со связанными электродными отпайками МЗС 17 без дополнительных сварочных операций.
На фиг.3 показан вертикальный разрез и его частично увеличенный вид, где электрическая соединительная деталь и МЗС установлены на верхнем торце элемента аккумуляторной батареи.
Как показано на фиг.3, когда электрическая соединительная деталь 14 и МЗС 17 установлены и собраны на верхнем торце элемента 11 аккумуляторной батареи, катодный вывод 12 электрической соединительной детали 14 соединен с катодной отпайкой 15 МЗС 17, а анодный вывод 13 электрической соединительной детали 14 соединен с анодной отпайкой 16 МЗС 17. Например, в состоянии прикрепления к подложке защитной схемы МЗС 17 анодная отпайка 16 загибается для образования направленной вниз перпендикулярной части 18, сформированной на одной ее поверхности. Загнутая вверх часть (внешний конец) анодного вывода 13 электрической соединительной детали 14 вводится в контакт с перпендикулярной частью 18 анодной отпайки 16. В частности, перпендикулярная часть 18 анодной отпайки 16 имеет выдающуюся внутрь выпуклую структуру 24 так, что перпендикулярная часть 18 анодной отпайки 16 может быть введена в упругий контакт с загнутой вверх частью анодного вывода 13. Упругий контакт между ними обеспечивает эффект улучшения сцепления между МЗС 17 и элементом 11 аккумуляторной батареи.
На фиг.4 показана схема последовательности операций, иллюстрирующая процесс сборки блока аккумуляторной батареи, используя структуру электрического соединения изобретения, а на фиг.5 показана схема, иллюстрирующая блок аккумуляторной батареи, собранный посредством процесса.
Как показано на этих чертежах, после прикрепления изоляционного материала 20 на верхнюю поверхность элемента 11 аккумуляторной батареи (Стадия a) электрическая соединительная деталь 14, включающая катодный вывод 12 и анодный вывод 13, устанавливается на верхнюю поверхность элемента 11 аккумуляторной батареи и контактные части между катодным выводом 12 и/или анодным выводом 13 и элементом 11 аккумуляторной батареи свариваются (Стадия b). Далее МЗС 17 устанавливается на элемент 11 аккумуляторной батареи так, чтобы накрывать электрическую соединительную деталь 14, и электрическое соединение между ними достигается без дополнительной сварочной операции (Стадия c). В течение стадии установки нижняя губа 17а защелки МЗС 17 окружает верхний наружный периметр элемента 11 аккумуляторной батареи так, что МЗС 17 сцепляется с элементом 11 аккумуляторной батареи, и поверхность верхнего наружного периметра элемента 11 аккумуляторной батареи, включая наружную поверхность губы 17а защелки МЗС 17, окружается защитной бумагой 19, изготовленной из прозрачного тефлонового материала (Стадия d). Далее нижняя крышка 23 прикрепляется к нижнему торцу элемента 11 аккумуляторной батареи, используя двустороннюю клейкую ленту (не показана) (Стадия e), и ярлык 21 прикрепляется к нижней наружной периферийной поверхности элемента 11 аккумуляторной батареи и МЗС 17 (Стадия f). Ярлык 21 действует не только для усиления сцепляющей силы между МЗС 17 и элементом аккумуляторной батареи, а также для защиты элемента 11 аккумуляторной батареи. Дополнительно, ярлык 21 также действует как средство для записи сведений об аккумуляторной батарее или ее изготовителе.
Промышленная применимость
Как ясно из вышеизложенного описания, при изготовлении блока аккумуляторной батареи, используя структуру, обеспечивающую электрическое соединение, количество сварочных операций и компонентов для электрического соединения между элементом аккумуляторной батареи и МЗС сокращается вместе с количеством стадий и временем для сборочного процесса блока аккумуляторной батареи, таким образом сокращая производственные затраты и частоту дефектной сборки. Дополнительно, настоящее изобретение не требует боковой выемки для сварочной операции, которая требовалась согласно уровню техники, таким образом предотвращая неисправность или повреждение батареи, вызываемые попаданием через нее посторонних веществ.
Несмотря на то, что предпочтительные варианты осуществления настоящего изобретения были раскрыты с целью иллюстрации, сведущие в определенной области техники оценят, что возможно осуществление различных модификаций, дополнений и замещений, не выходя за рамки объема и сущности изобретения, которые раскрыты в прилагаемой формуле изобретения.
Формула изобретения
1. Структура, обеспечивающая электрическое соединение для электрического соединения модуля защитной схемы (МЗС) и элемента аккумуляторной батареи, содержащая
электрическую соединительную деталь, используемую для электрического соединения МЗС и элемента аккумуляторной батареи, где электрическая соединительная деталь включает изоляционный корпус для изолирования модуля защитной схемы от элемента аккумуляторной батареи, и катодный вывод и анодный вывод, установленные на изоляционном корпусе в изолированном друг от друга положении, где один или оба из катодного вывода и анодного вывода приварены к соответствующей электродной клемме элемента аккумуляторной батареи, и где катодный и анодный выводы соединены в положении контакта с соответствующими электродными отпайками, когда МЗС сцепляется с элементом аккумуляторной батареи.
2. Структура по п.1, в которой изоляционный корпус имеет прямоугольную форму, и катодный и анодный выводы установлены на изоляционном корпусе, протягиваясь от двух сторон изоляционного корпуса, и расположены с заданным зазором относительно верхнего и нижнего торцов изоляционного корпуса на обеих сторонах изоляционного корпуса, соответственно.
3. Структура по п.2, в которой часть катодного вывода и/или анодного вывода загнута вниз в направлении электродной клеммы элемента аккумуляторной батареи для обеспечения возможности контакта с соответствующей электродной клеммой элемента аккумуляторной батареи, а его другая часть загнута вверх в направлении электродной отпайки МЗС для обеспечения возможности контакта с соответствующей электродной отпайкой МЗС.
4. Структура по п.3, в которой изоляционный корпус сформирован с расположенным в его центре открытым снизу проемом или сквозным отверстием, один из двух электродных выводов имеет загнутую вниз часть, сформированную рядом с изоляционным корпусом, и загнутую вверх часть, сформированную на внешнем конце электродного вывода, а другой имеет внутренний конец, тянущийся к открытому снизу проему или сквозному отверстию изоляционного корпуса, и загнутую вверх часть, сформированную на внешнем конце другого электродного вывода.
5. Структура п.4, в которой загнутые вверх части двух электродных выводов, соприкасающиеся с электродными отпайками МЗС, расположены на внешних концах двух электродных выводов, и внешние концы двух электродных выводов загнуты внутрь в виде дуги с возможностью формирования упругого контакта с электродными отпайками МЗС.
6. Структура по п.1, в которой электродные отпайки МЗС содержат направленные вниз перпендикулярные части, а также выпуклые структуры, выдающиеся в стороны электродных выводов соединительной детали, соответственно.
7. Структура по п.1, в которой сцепление МЗС к элементу аккумуляторной батареи выполняется посредством особых механических структур сцепления МЗС, элемента аккумуляторной батареи или иных деталей, склеивания, сварки или пайки.
8. Структура по п.1, в которой МЗС имеет структуру, сформированную путем литья под давлением, для подложки защитной схемы со сформированной на ней защитной схемой и электродных отпаек вместе с корпусом крышки, для предохранения внешних поверхностей подложки защитной схемы и электродных отпаек.
9. Электрическая соединительная деталь для электрического соединения МЗС и элемента аккумуляторной батареи, содержащая прямоугольный изоляционный корпус для изолирования МЗС от элемента аккумуляторной батареи и катодный вывод и анодный вывод, установленные на прямоугольном корпусе в изолированном друг от друга положении.
10. Блок аккумуляторной батареи, выполненный, используя структуру, обеспечивающую электрическое соединение по любому из пп.1-8.
11. Блок аккумуляторной батареи по п.10, в котором на внешнюю поверхность сцепления между элементом аккумуляторной батареи и МЗС прикреплена защитная бумага, чтобы плотно удерживать МЗС относительно элемента аккумуляторной батареи в поперечном направлении.
РИСУНКИ
|
|